この GeoLink™ スプレーシステムキットは、芝生に液剤を散布する専用装置のための補助装置(アタッチメント)であり、そのような業務に従事するプロのオペレータが運転操作することを前提として製造されています。この製品は、集約的で高度な管理を受けている公園やゴルフ場、スポーツフィールド、商用目的で使用される芝生に対して液剤を散布することを主たる目的として製造されております。この機械は本来の目的から外れた使用をすると運転者本人や周囲の人間に危険な場合があります。
この説明書を読んで製品の運転方法や整備方法を十分に理解し、他人に迷惑の掛からないまた適切な方法でご使用ください。この製品を適切かつ安全に使用するのはお客様の責任です。
製品の安全や取り扱い講習、アクセサリなどに関する情報、代理店についての情報の入手、お買い上げ製品の登録などをネットで行っていただくことができます:www.Toro.com
整備について、また純正部品についてなど、分からないことはお気軽に弊社代理店またはカスタマーサービスにおたずねください。お問い合わせの際には、必ず製品のモデル番号とシリアル番号をお知らせください。図 1 にモデル番号とシリアル番号を刻印した銘板の取り付け位置を示します。いまのうちに番号をメモしておきましょう。
Important: シリアル番号プレートに QR コードがついている場合は、スマートフォンやタブレットでスキャンすると、製品保証、パーツその他の製品情報にアクセスできます。

この説明書では、危険についての注意を促すための警告記号(図 2)を使用しております。これらは死亡事故を含む重大な人身事故を防止するための注意ですから、必ずお守りください。

この他に2つの言葉で注意を促しています。重要「重要」は製品の構造などについての注意点を、注はその他の注意点を表しています。
この散布装置で取り扱う農薬は人体や動植物、土壌などに危険を及ぼす可能性があるので取り扱いには十分注意すること。
自分自身の安全を守るために、農薬を取り扱う前に、容器に張ってあるラベルや安全データシート(SDS)など取り扱い上の注意をよく読んで理解し、薬剤メーカーの指示を守りましょう。たとえば、保護めがね(ゴグル)、手袋など、薬剤との接触を防止し危険から身を守ることのできる適切な保護対策を講じる。
散布する薬剤は一種類とは限らないので、取り扱っているそれぞれの薬剤について注意事項を必ず確認する。
上記安全確保に必要な情報が手に入らない場合には、この装置の運転を拒否してください。
散布装置の整備や修理をする時は、その前に必ず、その装置が薬剤メーカーの指示通りに3回のすすぎ洗いや必要な中和処理を実行済みであること、さらに、すべてのバルブにそれぞれ 3 回の開閉操作洗浄が実施されていることを確認する。
十分な量の水と石鹸を身近に常備し、薬剤が皮膚に直接触れた場合には、直ちに洗い流してください。
マシンを停止させたら、(キー付きの機種では)キーを抜き取り、各部の動作が完全に停止したのを確認してから運転位置を離れるようにしてください。調整、整備、清掃、格納などは、車両が十分に冷えてから行ってください。
間違った使い方や整備不良は負傷などの人身事故につながります。事故を防止するため、以下に示す安全上の注意や安全注意標識
のついている遵守事項は必ずお守りください
「注意」、「警告」、および「危険」 の記号は、人身の安全に関わる注意事項を示しています。これらの注意を怠ると死亡事故などの重大な人身事故が発生する恐れがあります。
![]() |
以下のラベルや指示は危険な個所の見やすい部分に貼付してあります。破損したりはがれたりした場合は新しいラベルを貼付してください。 |




スプレーヤを洗浄する;オペレーターズマニュアルの「スプレーヤの洗浄」を参照。
Important: このキットの取り付けを行う前に、タンクを完全に空にしてください。
すすぎキット(オプション)を搭載している場合には、以下の作業を行う:
すすぎタンクから液剤タンクへ水を移動させる;すすぎキットの取り付け要領書 の「すすぎキットの使用方法」を参照。
液剤タンクを空にする;散布車のオペレーターズマニュアルの「スプレーヤの洗浄」を参照。
左右のブームを散布位置に降下させる。
平らな場所に駐車し、駐車ブレーキを掛け、エンジンを停止させてキーを抜き取る; オペレーターズマニュアルを参照。
Important: ジオリンクキットを取り付ける前に、平らな場所に移動する。
座席ラッチのハンドルを後ろに押して座席のラッチを解除する(図 3)。

座席と座席プレートを前に倒す;支え棒の端部がブラケットのスロットの一番下までくるように、座席を完全に前に倒す(図 3)。
エンジンが完全に冷えるのを待つ。
バッテリーのマイナスケーブルをバッテリーのマイナス端子に固定しているボルトとナットを外す。
バッテリーケーブルの接続手順が不適切であるとケーブルがショートを起こして火花が発生する。それによって水素ガスが爆発を起こし人身事故に至る恐れがある。
ケーブルを取り外す時は、必ずマイナス(黒)ケーブルから取り外し、次にプラス(赤)ケーブルを外す。
ケーブルを取り付ける時は、必ずプラス(赤)ケーブルから取り付け、それからマイナス(黒)ケーブルを取り付ける。
バッテリーの端子に金属製品や車体の金属部分が触れるとショートを起こして火花が発生する。それによって水素ガスが爆発を起こし人身事故に至る恐れがある。
バッテリーの取り外しや取り付けを行うときには、端子と金属を接触させないように注意する。
バッテリーの端子と金属を接触させない。
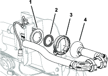
バッテリーのプラスケーブルのカバーを外し、プラスケーブルをバッテリーのプラス端子に固定しているボルトとナットを外す(図 4)。
Note: 外したケーブルの端子部分がバッテリー端子に触れないように十分注意してください。

左前フェンダを ROPS のチャネル部に固定している押し込みファスナー(2本)を外す(図 10)。
Note: 取り外した押し込みファスナーは廃棄する。

フェンダを車体フレーム(5/16 x 1")3本とワッシャ(5/16")3枚を取り外す(図 11)。

機体からフェンダを外す。
Note: 取り外した押し込みファスナーは廃棄する。;外したフェンダ、ねじ、ワッシャは 左右の前フェンダを取り付けるで使用します。
内側フェンダのシュラウドを車体フレームに固定している押し込みファスナー 6 本とワッシャ(9/16 x ½")5 枚を取り外す(図 12)。

機体からフェンダを外す(図 13)。
Note: 取り外した押し込みファスナーは廃棄する。

機体の反対側のフェンダと内側フェンダ用シュラウドについても 1から5 の作業を行う。
この作業に必要なパーツ
| チューブアセンブリ(Toro P/N 114–9553) | 2 |
| ケーブルタイ | 8 |
左ブーム用の泡液剤チューブと空気チューブ、および右ブーム用の液剤チューブと空気チューブを区別できるようにテープなどでマーキングする。
左右のブームで、泡ノズルからチューブを外し、ブームの支点近くにある R クランプから抜き出す(図 19)。

センターブーム延長キット が装着されているマシンでは、外したチューブの端部を右または左ブームに仮止めし、以下の作業は行わない:フォームマーカーのノズル用の新しいチューブアセンブリの準備を行う および 新しいチューブアセンブリを取りつける。
フォームマーカーの透明チューブと青色チューブを左右のブームに固定しているケーブルタイを外す(図 20)。

フォームマーカーのノズル部で、ノズルの青色圧縮フィッティングに青色チューブ(水)を固定している圧縮ナットをゆるめる(図 21)。

フォームマーカーのノズルの白色圧縮フィッティングに透明チューブ(空気)を固定している圧縮ナットをゆるめる(図 21)。
機体から原液チューブと空気チューブを取り外す。
チューブの両端にある圧縮ナットを取り外す(図 21)。
Note: 外した圧縮ナットは、ステップ 1(新しいチューブアセンブリを取りつける)で使用します。
古い原液チューブと空気チューブ(図 22)を新しいチューブアセンブリ(Toro P/N 114–9553)に合わせて並べる。

古い原液チューブと空気チューブに合わせて新しいチューブアセンブリにテープで印をつける。
ステップ 7で新しいチューブアセンブリに付けたマークから 26cm の所にマーキングを施し、この位置(長さを増やした方のマーク)でチューブアセンブリを切断する(図 22)。
古い原液チューブと空気チューブにケーブルタイでマーキングが施されている場合には、新しいチューブアセンブリにも同じようにマーキングするが、マーキングされていない場合には、ステップ 10へ進む。
Note: 古い原液チューブと空気チューブは、これで不要になりました。
チューブアセンブリの各チューブの端部から、外被覆を 77-102 mm はぎ取る(図 22)。
機体の反対側のチューブについても 1から10 の作業を行う。
青色チューブに青色圧縮ナットを取り付け、透明チューブに白色圧縮ナットを取り付ける (図 23)。

フォームマーカーのノズルの白色圧縮フィッティングに透明チューブの白色圧縮ナットを嵌め、ナットを手締めする(図 23)。
フォームマーカーのノズルの青色圧縮フィッティングに青色チューブの青色圧縮ナットを嵌め、ナットを手締めする(図 23)。
図 24に示すように、ブームの上側サポートポールの後ろ側に沿ってチューブアセンブリを配設する。
Important: 間違えてブームの上側サポートポールの前側に沿ってチューブアセンブリを配設してしまうと、ブームを折りたたんだ時にブームとクレードルとの間にチューブが挟まれてしまいます。

図 25に示すように、ケーブルタイを使ってチューブアセンブリをノズルサポートの穴に固定する。

図 24に示すように、ケーブルタイを使ってチューブアセンブリをブームに固定する。
チューブアセンブリの自由端を、ブームに仮止めする。
マシンの反対側でも、ステップ 1-6 の作業を行う。
ウルトラソニックブームレベリングキットのワイヤハーネスの 3 ピンコネクタを、車両のワイヤハーネスの 3 ソケットコネクタから外す(図 26)。

マシンの反対側のウルトラソニックブームのワイヤハーネスの 3 ピンコネクタにも、ステップ 1の作業を行う。
センターセクションカバー(11ノズル)を支えておいて、このカバーをカバーサポートブラケットに固定しているフランジヘッドボルト(5/16 x 1¼")4本とカバーストラップ2本を外す(図 27)。

機体からセンターセクションカバーを外す(図 28)。
Note: 外したカバー、カバーストラップ、フランジヘッドボルトは、ステップ 1と2(センターブーム用カバーを取り付ける)で使用します。

Note: スプレーガンキット(オプション)を搭載している車両では、水圧検知チューブと散布ホースを外すを参照してください。
3つの散布バルブアクチュエータのそれぞれについている 3 ピンコネクタから、車両用ワイヤハーネスの 3 ソケットコネクタ(それぞれLEFT SPRAY VALVE、CENTER SPRAY VALVE、RIGHT SPRAY VALVEというラベルがついている)を外す(図 31)。

車両用ワイヤハーネスのうち、RATE VALVEというラベルのついた 4 ソケットコネクタを、レートバルブのアクチュエータの 4 ピンコネクタから外す(図 32)。

車両用ワイヤハーネスのうち、MASTER SPRAY VALVEというラベルのついた 3 ソケットコネクタを、マスター散布バルブのアクチュエータの 3 ピンコネクタから外す(図 32)。
この作業に必要なパーツ
| ケーブルタイ | 1 |
| スイッチのプラグ | 1 |
3 スイッチパネルを制御コンソールに固定しているフランジヘッドねじ(¼ x ½")4 本を外す (図 33)。

レート制御スイッチのロックタブをつまんで、スイッチを 3 スイッチパネルから押し出す(図 34)。

車両用ワイヤハーネスのうち、Rate Switchというラベルのついた 8 ソケットコネクタを、スイッチの 8 ピンコネクタから外す(図 33)。
Note: 機体から外したレートスイッチは、もう使用しません。
前ハーネスの、レートスイッチ用の枝線を、3 スイッチパネルの穴に通し、電気コードをケーブルタイで近くの電気コードに縛り付ける。
3 スイッチパネルを制御コンソールに組み付ける(図 34);ステップ 1で取り外したフランジヘッドねじ(¼ x ½")4本を使用する。
3 スイッチパネルの穴に、スイッチプラグを合わせる(図 33)。
3 スイッチパネルにスイッチプラグを押し込む。プラグがパチンと音を立てて嵌るまで押し込む(図 33)。
左右のブームで、給液ホースをバーブ付き T 字フィッティングに固定しているホースクランプを外す(図 35)。

T字フィッティングからホースを取り外す(図 35)。
ホース端部をRクランプから外す (図 35)。
機体の反対側のブームでも、ステップ 1-3 の作業を行う。
センターブームの下で、センターブームに給液しているホースをバーブ付き T 字フィッティングに固定しているクランプを外す(図 36)。

左、中央、右ブームバルブでそれぞれクイックカップラ固定しているリテーナを外す(図 37)。
Note: リテーナは 各ホースをノズルバルブ7-10 番に取り付ける。で使用します。

各ブームバルブのクイックカップラから、左、中央、右の各ブーム給液ホースを外し、車両からホースを外す(図 37)。
Note: 左、中央、右ブーム用の給液ホースは廃棄して構いません。
吊り上げ装置に必要な能力: 91kg
Note: 廃棄するように明記されていない限り、外したボルト・ナット類はすべて延長キットの取り付けに利用しますから捨てないでください。
所定の能力のあるホイストなどを使って、左または右のブームを支える。
昇降シリンダをピボットブラケットに固定しているヘアピンとクレビスピンを取り外す(図 40)。
Note: ヘアピンとクレビスピン昇降シリンダを組み立てるで取り付けに使用します。

ピボットピンをシリンダマウントに固定しているフランジロックナット(5/16")とフランジヘッドボルト(5/16 x ¾")を取り外す(図 41)。

機体から、ピボットピンと昇降シリンダを外す(図 41)。
ステップ左右のブームを取り外すの手順を行う。
吊り上げ装置に必要な能力: 91kg
Note: 飛散防止カバーを搭載している車両では、左右のブームから飛散防止カバーを取り外す必要はありません。
重量物の吊り上げは危険を伴う作業であり、最悪の場合は死亡事故を招く。
重量のある装置やアタッチメントを吊り上げる(持ち上げる)場合には、必ずそれに適した装置を用い、チェーンなどで確実に吊ること。
Note: 廃棄するように明記されていない限り、外したボルト・ナット類はすべて延長キットの取り付けに利用しますから捨てないでください。
ピボットピンをピボットブラケットに固定しているフランジボルト(5/16 x 1") とフランジロックナット(5/16")を取り外す(図 42)。

センターブーム用のピボットブラケット、および、左右ブーム用のピボットフィッティングからピボットピンを抜き取る(図 42)。
Note: フランジボルト、フランジナット、ピボットピンは左右のブームを機体に取り付けるで使用します。
センターブームから外側(左または右)ブームを切り離し、外側ブームを機体から外す(図 42)。
外側ブームのピボットフィッティングからナイロン製フランジブッシュ(2個)を外す(図 42)。
Note: ブッシュは廃棄してください。
マシンの反対側の外側(左または右)ブームにも、ステップ 1-3(昇降シリンダを取り外す) の作業を行う。
マシンの反対側の外側(左または右)ブームにも、この項のステップ 1-4の作業を行う。
以下の手順で、シリンダマウントからブームマニホルドを取り外す:
オプションのウルトラソニックブームレベリングキットを搭載していない車両:ブーム昇降マニホルド用サポートブラケットをシリンダマウントに固定しているフランジロックナット(5/16")2個とフランジヘッドボルト(5/16 x 1")2本を外して、マウントからマニホルドとブラケット外す(図 43)。

オプションのウルトラソニックブームレベリングキットを搭載している車両:ブーム昇降マニホルド用サポートブラケットととTECコントロール用ブラケットをシリンダマウントに固定しているフランジロックナット(5/16")2個とフランジヘッドボルト(5/16 x 1")2本を外して、マウントからマニホルドとブラケット外す(図 44)。

ロープを使って、ブーム昇降マニホルドを散布バルブマニホルドに縛り付けて固定する。
Note: サポートブラケット、昇降マニホルド、ボルト、ナットは、ステップ昇降シリンダマニホルドをシリンダマウントに取り付けるで使用します。
吊り上げ装置に必要な能力: 41kg
飛散防止カバーを搭載している車両では、センターブームから飛散防止カバーを取り外してください。
所定の能力のあるホイストなどを使って、センターブームを支える(図 45)。

フランジヘッドボルト(½ x 1¼")4本とフランジロックナット(½")4個でセンターブームのサポートブラケットを機体の取り付けプレートに固定している穴の位置を、テープなどでマーキングする(図 46)。

センターブーム用サポートブラケットを機体フレームの取り付けプレートに固定しているフランジヘッドボルト(½ x 1¼")とフランジロックナット(½")4個とを外して、センターブームを機体から外す (図 47)。
Note: ボルトとロックナットは、新しいセンターブームの取り付けに再使用します。

この作業に必要なパーツ
| フランジヘッドボルト(⅜ x 1") | 2 |
| フランジロックナット(⅜") | 2 |
| センターブームエクステンション | 1 |
| シリンダマウント(ワイド) | 1 |
| タイプレート(ワイド) | 1 |
| キャリッジボルト(½ x 1¼") | 4 |
| フランジロックナット(½") | 4 |
センターブーム部で、ノズルをノズルマウントに固定しているフランジロックナット外す(図 48と図 49)。
Note: 外したロックナットは、ステップ 6とノズルとホースをセンターブームに取り付けるで使用します。


片側(または両側)バーブ付きホースシャンク(¾")とそのクランプの上半分とをスプレーノズルのボディに固定しているステンレスねじ(#12 x 1¼")を外してバーブ付きホースシャンクとホースをノズルから外す(図 50)。
Note: クランプを分離する時に上側クランプから外れてくる六角ヘッドボルト(5/16 x ¾"—ステンレス)は再利用しますから捨てないでください。

他の2個のノズルについても、上記の手順1と2を行う。
Note: 外したノズル、ステンレスねじ、六角ヘッドボルトは、ステップ 6と7(センターブーム用のノズルとホースを組み立てる)で使用します。
センターブームから、ホース(内径 ¾")、バーブ付きホースシャンク、クランプ、バーブ付きT字フィッティングを外す(図 48)。
Note: ホース、ホースシャンク、クランプ、T字フィッティングは、もう使用しません。
吊り上げ装置に必要な能力: 41kg
所定の能力のあるホイストなどを使って、センターブームを支える。
サポートブラケットをセンターブームに固定しているフランジヘッドボルト(⅜ x 1")2本とフランジロックナット(⅜")2個を外して、ブラケットを取り外す(図 51)。

もうひとつのサポートブラケットをセンターブームに固定しているフランジヘッドボルト(⅜ x 1")2本とフランジロックナット(⅜")2個を外して、ブラケットを取り外す(図 51)。
Note: サポートブラケット、ボルト、ロックナットは、ステップ3と4(サポートブラケットをセンターブームに取り付ける)で使用します。
左右のトラスフレームの垂直フランジを固定しているフランジヘッドボルト(⅜ x 1") 2本とロックナット(⅜")2個を取り外す(図 52)。

幅狭のシリンダマウント、左右のトラスフレーム、幅狭のタイプレートを固定しているキャリッジボルト(½ x 1¼") 2本とロックナット(½") 2個を取り外す(図 53)。

Note: フランジヘッドボルト、キャリッジボルト、ロックナットは、ステップ2と7(センターブームエクステンションを取り付ける)で使用します。幅狭シリンダマウントと幅狭のタイプレートは、もう使用しません。
左右のトラスフレームを分離する。
センターブームエクステンションの垂直フランジについている穴を、トラスフレームの穴に合わせる(図 54)。

センターブームエクステンションをトラスフレームに仮組み付けする(図 54);ステップ 1(センターブームのトラスを取り外す)で取り外したフランジヘッドボルト (⅜ x 1") 2本とフランジロックナット(⅜")を使用する。
センターブームエクステンションの垂直フランジについている穴を、もうひとつのトラスフレームについている穴に合わせる(図 54)。
センターブームエクステンションをこのトラスフレームに仮組み付けする(図 54);ジオリンクスプレーシステム仕上げキットに入っているフランジヘッドボルト(⅜ x 1")2本とフランジロックナット(⅜")2個を使用する(図 54)。
シリンダマウントの穴を、トラスフレームのセンターラインの穴とセンターブームエクステンションの穴に合わせる(図 55)。

タイプレートを、トラスフレームとセンターブームエクステンションの中に入れ、タイプレートの穴を、トラスフレームのセンターラインの穴とセンターブームエクステンションの穴に合わせる(図 55)。
シリンダマウント、トラス、センターブームエクステンション、タイプレートの組み付けを行う;ステップ2(センターブームのトラスを取り外す)で外したキャリッジボルト(½ x 1¼")2本とフランジロックナット(½")2個と、ジオリンクスプレーシステム仕上げキットに入っているキャリッジボルト(½ x 1¼")4本とフランジロックナット (½") 4個を使用する(図 55)。
フランジヘッドボルトとフランジロックナット(⅜")を37-45 N·m (3.7-4.6 kg.m = 27-33 ft-lb) にトルク締めする。
フランジロックナット(½")を、91-113 N·m (9.3-11.5 kg.m = 67-83 ft-lb)にトルク締めする。
この作業に必要なパーツ
| スプレーノズル | 2 |
| ホースアセンブリ(スプレーバルブ5または6) | 2 |
| フランジロックナット(5/16") | 2 |
吊り上げ装置に必要な能力: 55kg
所定の能力のあるホイストなどを使って、センターブームを支える。
図 56に示すように、右サポートブラケットの穴を右トラスフレームの穴に合わせる。

右側サポートブラケットを右側トラスフレームに取り付ける(図 56);ステップ 2と3(センターブームからサポートブラケットを外す)で取り外したフランジヘッドボルト (⅜ x 1") 2本とフランジロックナット(⅜")2個を使用する。
左トラスフレームの左サポートブラケットにも、ステップ 2と3 の作業を行う(図 56)。
フランジヘッドボルトとフランジロックナットを37-45 N·m (3.7-4.6 kg.m = 27-33 ft-lb) にトルク締めする。
適当な吊り上げ装置を使って、新しいセンターブームを作業しやすい高さまで吊り上げる。
ジオリンクスプレーシステム仕上げキットに入っているノズル(2本)の、クランプの上半分をサドルに固定しているステンレスねじを外す(図 57)。

センターブーム(スプレーバルブ5または6)用のホースアセンブリ(25cm)の端部についている片側バーブ付きホースシャンクの側面にある穴を探し出す(図 57 と 図 58)。

ノズルのサドルに付いているトランスファチューブ(図 57)を、片側バーブ付きホースシャンク(½")の穴に合わせる。
バーブ付きホースシャンクにホースクランプの上半分をセットし、クランプとノズルボディ(図 57)を、ステンレスねじ(#12 x 1¼")で固定し、14-18 N∙m(0.25-0.3 kg.m = 20-25 in-lb)にトルク締めする。
Important: ステンレスねじは、ステップ 5に示されている以上の力で締め付けないでください。
Note: クランプの上半分のくぼみに六角ヘッドボルト(5/16 x ¾")がきちんとはまっていることを確認してください。
ステップ 1 と 2(スプレーヤのノズルを取り外す)で外したノズル、六角ボルト、ステンレスねじを使って、ステップ 3-5 を、もう一方のホース(25 cm)の片側バーブ付きホースシャンク(図 57 と 図 58)に対しても行う。
ステップ 4(スプレーヤのノズルを取り外す)で外した2つのノズルについて、もう一方のホースアセンブリ(スプレーバルブ5または6)の片側バーブ付きホースシャンクに対してステップ 3 - 5 を、行う(図 57 と 図 58)。
ホース(13 mm)(長さ25cm)とノズルのアセンブリを、外側トラスのブレースの間に通す(図 59)。

ホースとノズルをトラスのブレースの上側に沿って、ブーム先端側のノズルマウントへ導く(図 59)。
ノズルの六角ヘッドボルト(5/16 x ¾")をノズルマウントの穴に通してノズルをマウントに仮止めする;ジオリンクスプレーシステム仕上げキットにあるフランジロックナット(5/16")を使用する(図 60)。

もう一方のホース(13 mm)(長さ25cm)とノズルのアセンブリを、外側トラスのブレースの間に通す(図 59)。
ホースとノズルをトラスのブレースの上側に沿って、ブーム根元側のノズルマウントへ導く(図 59)。
ノズルの六角ヘッドボルト(5/16 x ¾")をノズルマウント(図 60)の穴に通してノズルをマウントに仮止めする;ステップ1と4(スプレーヤのノズルを取り外す)で外したフランジロックナット(5/16")を使用する。
フランジロックナットを、19.78-25.42 N·m (2.0-2.6 kg.m = 175-225 in-lb)にトルク締めする。
ホースとバーブ付きカップラ 13 x 810 mm(½ x 32")を、センターブームの左右のサポートブラケットのある側へ導く(図 59)。
この作業に必要なパーツ
| キャップ(クイックカップラ) | 3 |
| リテーナ | 3 |
以下の手順で、バイパスホースの上端部を外す:
オプションのスプレースティックキットや電動ホースリールを搭載していない車両:バイパスホースのクイックディスコネクトフィッティングを右ブーム用バイパスバルブのクイックティスコネクトフィッティングに固定している小さいリテーナを外す(図 61)。

オプションのスプレースティックキットや電動ホースリールを搭載している車両では、以下の作業を行う:
シャットオフバルブのクイックコネクトフィッティングを右ブーム用バイパスバルブのクイックディスコネクトソケットに固定しているリテーナを外して、ソケットからバルブを取り出す(図 62)。

シャットオフバルブのクイックコネクトフィッティングをバーブ付き 90° フィッティングのクイックディスコネクトソケットに固定しているリテーナを外して、ソケットからバルブを取り出す(図 62)。
Note: シャットオフバルブとリテーナは シャットオフバルブをバイパスホースに取り付けるで再取り付けするので廃棄しないでください。
バイパスホースの下端にあるバーブ付き90°フィッティングを液剤タンクのバルクヘッドフィッティングに固定している大きいリテーナを取り外す (図 63)。
Note: 大きいリテーナは バイパスホースをタンクに組み付けるで使用します。

機体からバイパスホースを取り外す。
Note: パイパスホースと小さいリテーナは廃棄して構いません。
左ブームバルブ、中央ブームバルブ、右ブームバルブにある全部で 3 つのバルブアクチュエータを固定しているリテーナ(3個)を外す(図 64)。

左ブームバルブ、中央ブームバルブ、右ブームバルブから、バルブアクチュエータを外す(図 64)。
バイパスマニホルドのクイックディスコネクトフィッティングにキャップを固定しているリテーナを外してキャップを外す(図 65)。
Note: キャップは不要です。

左ブームバルブ、中央ブームバルブ、右ブームバルブにある全部で 3 つのバイパスバルブを固定しているリテーナ(3個)を外す(図 66)。

各ブームバルブからバイパスバルブを一旦外し(図 66)、
バイパスバルブを180°回転させてブームバルブのクイックディスコネクトフィッティングに組み付ける(図 66)。
ステップ 4 (図 66) で外したリテーナ(3個)を使用して、バイパスバルブ(3個)をそれぞれのブームバルブに固定する。
バイパスバルブのクイックコネクトソケットに、プラグを組み付ける(図 67)。

ステップ 3 (図 67) で外したリテーナを使用して、プラグをクイックコネクトソケットに固定する。
左ブーム、中央ブーム、右ブームのそれぞれのバルブに、バルブアクチュエータ(全部で 3 個)を取り付ける (図 64);ステップ 1で外したリテーナを使用する。
Note: 取り外したブームバルブは、 ブームバルブ 3 個をバルブマウントに取り付けるでジオリンクの10バルブシステムに取り付けます。
左側ブームバルブをマニホルドマウントに固定しているフランジヘッドボルト(¼ x ¾") 2本とロックナット(¼")2個を取り外す(図 68)。
Note: 外したフランジヘッドボルト(2本)とロックナットは不要です。

右側ブームバルブをマニホルドマウントに固定しているフランジヘッドボルト(¼ x ¾") 2本とロックナット(¼")2個を取り外す(図 68)。
左側ブームバルブのフランジ部をアダプタに固定しているフランジクランプ(40-64 mm)とガスケット(25 x 35 mm)を取り外す(図 68)。
Note: 外したフランジヘッドボルト(2本)、ロックナット(2個)、フランジクランプとガスケットはブームバルブ 3 個をバルブマウントに取り付けるで使用します。

機体からブームバルブ(3個)を外す(図 69)。
各ブームバルブ(3個)についているデカルを取り外す(図 70)。

アダプタのフランジ部をフローメータのフランジに固定しているフランジクランプ(51mm)とガスケット(38mm)を取り外す(図 71)。
Note: 外したフランジクランプとガスケットはマニホルドをフローメータに取り付けるで取り付けに使用します。

この作業に必要なパーツ
| フローメータのマウント | 1 |
| サポートクランプハーフ | 4 |
| ボルト(¼ x 4½") | 4 |
| フランジロックナット(¼") | 4 |
フローメータの 3 ピンコネクタから、車両用ワイヤハーネスの中のFLOW METERというラベルのついた 3 ソケットコネクタを外す(図 72)。

ブームバルブ用ブラケットの下側フランジから、車両用ワイヤハーネス固定している押し込みファスナー(2個)を外す(図 72)。
ブームバルブブラケットをバルブマウントに固定しているフランジヘッドねじ(5/16 x ¾")4本を取り外して、バルブブラケットを外す(図 73)。
Note: 外したフランジヘッドねじはステップ フローメータのマウントとクランプを取り付けるで使用しますが、バルブブラケットは廃棄して構いません。

フローメータのブラケットについている穴を、バルブマウントに合わせる(図 74)。

バルブマウントにフローメータのブラケットを取り付ける;ステップ 3(ブームバルブブラケットを取り外す)で取り外したフランジヘッドボルト(4本)を使用し、19.78-25.42 N·m(2.0-2.6 kg.m = 175-225 in-lb)にトルク締めする。
フローメータとフローメータブラケットとの間にサポートクランプ(2個)を入れ、ブラケットの穴に合わせる(図 75)。

フローメータの裏側部分で、サポートクランプハーフを、ステップ3(図 75)で組み付けたクランプハーフに合わせる。
クランプハーフ(2個で1組)をフローメータのブラケットに固定する(図 75);ボルト(¼ x 4½")2本とフランジロックナット(¼")2個を使用する。
ステップ4-5 を、もう1個のハーフ(ステップ3で組み付けたもの)に対しても行う。
ボルトとナットを10.17-12.43 N·m(2.0-2.6 kg.m = 90-110 in-lb)にトルク締めする。
この作業に必要なパーツ
| 後方ワイヤハーネス | 1 |
| ケーブルタイ | 7 |


84cm の枝線、60cm の枝線、66cm の枝線を、車両左側にある車両用ワイヤハーネスに沿って配設する(図 78と図 79)。


84cm の枝線、60cm の枝線、66cm の枝線を、車両左側のチャネル部材に沿って車両前方に導く(図 81と図 82)。



84cm の枝線、60cm の枝線、66cm の枝線を、車両用ワイヤハーネスに沿って車体外方、駐車ブレーキの外側へ導く(図 83)。

84cm の枝線、60cm の枝線、66cm の枝線を、図 84に示すように、ショックサポートチューブに交差させる。

車両後部で、89cm の枝線を、図 85に示すように昇降マニホルドの前方かつフローメータの右側に配設する。

102cm の枝線を、図 85に示すように昇降マニホルドの後方かつ右側に配設する。
89cm の枝線についている 3 ピンコネクタ(LEFT SPRAYというラベルがついているもの)を車両のワイヤハーネスのLEFT SPRAY VALVEというラベルがついている 3 ソケットコネクタに接続する(図 86)。

キットの枝線についている 3 ピンコネクタ(CENTER SPRAYというラベルがついているもの)を車両のワイヤハーネスのCENTER SPRAY VALVEというラベルがついている 3 ソケットコネクタに接続する(図 86)。
キットの枝線についている 3 ピンコネクタ(RIGHT SPRAYというラベルがついているもの)を車両のワイヤハーネスのRIGHT SPRAY VALVEというラベルがついている 3 ソケットコネクタに接続する(図 86)。.
キットの枝線の押し込み型ファスナを、フローメータのブラケットのフランジについている穴に差し込む(図 86)。
89cm の枝線の 3 ソケットコネクタ(FLOW METERというラベルのついたもの)をフローメータの 3 ピンコネクタに接続する(図 87)。

89cm の枝線についている 3 ピンコネクタ(MASTER VALVEというラベルがついているもの)を車両のワイヤハーネスのMASTER SPRAY VALVEというラベルがついている 3 ソケットコネクタに接続する(図 88)。

マスター散布バルブ用アクチュエータの 3 ピンコネクタを、89cm の枝線のMASTER VALVEというラベルの付いた 3 ソケットコネクタに接続する(図 88)。
レートバルブ用アクチュエータの 4 ピンコネクタを、89cm の枝線のRATE VALVEというラベルの付いた 4 ソケットコネクタに接続する(図 89)。

この作業に必要なパーツ
| ストレートバーブ (1 x 2") | 1 |
| ホースクランプ(¾-1½") | 3 |
| ホース(1 x 5¾"=15 cm) | 1 |
| マニホルド | 1 |
| ホース(1 x 16") | 1 |
ストレートバーブ(1 x 2")を、フローメータのフランジに取り付ける;ステップ 6(マニホルドマウントからブームバルブを外す)で取り外したガスケット(38 mm)とフランジクランプ(51 mm)を使用する。

フランジクランプを手締めする(図 91)。
この作業に必要なパーツ
| バイパスホースアセンブリ | 1 |
| 燃料バルブ | 1 |
図 92に示すように、90° クイックコネクトフィッティングからリテーナを外す。

クイックディスコネクトフィッティングのソケットに、シャットオフバルブを取り付ける(図 92)。
ステップ 1 で取り外したリテーナを使って、バルブをフィッティングに固定する。
シャットオフバルブとリテーナ(1、ブームバイパスホースを取り外すで外したもの)を、もう一方のクイックディスコネクトフィッティングソケットに取り付ける(図 92)。
バイパスホースアセンブリを液剤タンクにセットする(図 93)。


バーブ付き90°フィッティングを、液剤タンクのバルクヘッドフィッティングに取り付け、ステップ 2(ブームバイパスホースを取り外す)で取り外したリテーナで固定する。
吊り上げ装置に必要な能力: 55kg
所定の能力のある吊り上げ装置を使ってセンターブームを吊り上げ、サポートブラケットについているブーム用の穴(図 94)を、車両のフレームの取り付けプレートの穴(ステップ3(センターブームを取り外す)で探しておいたもの)に合わせる。

センターブームを取り付け用チャネル部材に組み付ける(図 94);ステップ 4(センターブームを取り外す)で取り外したフランジヘッドボルト(½" x 1¼")4本とフランジロックナット(½")4個を使用する。
ボルトとナットを 91-113 N·m (9.3-11.5 kg.m = 67-83 ft-lb) にトルク締めする。
バルブ取り付けブラケットから昇降マニホルドを外す。
以下の手順で、ブームマニホルドをシリンダマウントに取り付ける:
オプションのウルトラソニックブームレベリングキットを搭載していない車両:
サポートブラケットにあるブーム昇降マニホルド用の穴を、シリンダマウントの穴に合わせる(図 95)。

サポートブラケットをシリンダマウントに取り付ける(図 95);ステップ 1(センターブームからブーム昇降マニホルドを外す)で取り外したフランジヘッドボルト(5/16" x 1")2本とフランジロックナット(5/16")を使用する。
オプションのウルトラソニックブームレベリングキットを搭載している車両:
サポートブラケットにあるブーム昇降マニホルド用とTECコントローラブラケット用の穴を、シリンダマウントの穴に合わせる。

サポートブラケットとTECブラケットをシリンダマウントに取り付ける(図 96);ステップ 1(センターブームからブーム昇降マニホルドを外す)で取り外したフランジヘッドボルト(5/16" x 1")2本とフランジロックナット(5/16")を使用する。
ボルトとナットを 19.78-25.42 N·m(2.0-2.6 kg.m = 175-225 in-lb)にトルク締めする。
この作業に必要なパーツ
| バルブマウント&スプレーバルブアセンブリ | 1 |
| ボルト(4 x 10mm) | 3 |
| ASC 10 スプレーヤコントローラ | 1 |
| フランジロックナット(4mm) | 3 |
| キャップ(クイックディスコネクトフィッティング) | 2 |
| フランジヘッドボルト(5/16" x ¾") | 8 |
| フランジロックナット(5/16") | 8 |
| ホースクランプ | 1 |
| プッシュインファスナー(ケーブルタイ) | 1 |
| プッシュインファスナー(コネクタアンカー) | 3 |
ノズルバルブ 1-7 用のバルブアクチュエータを固定しているリテーナを外す(図 98)。

ノズルバルブ 1-7 からバルブアクチュエータを外す(図 98)。
ノズルバルブ 5 番と 6 番のところのクイックディスコネクトフィッティングのソケットにプラグを固定しているリテーナを外して、プラグを外す(図 99)。
Note: プラグは廃棄します。リテーナは ブームバイパスホースを取り付ける(オプションのスプレースティックキットまたは電動ホースリールキットを搭載している車両)で使用します。

ノズルバルブ 1-7 にバイパスバルブを固定しているリテーナを外す(図 100)。

ノズルバルブ 1-5 からのバイパスバルブを一旦外し(図 100)、
バイパスバルブを180°回転させてブームバルブのクイックディスコネクトフィッティングに組み付ける(図 101)。

バイパスバルブをそれぞれのブームバルブに固定する;リテーナ(図 101;ステップ4で外したもの)を使用
ノズルバルブ 6 番と 7 番のバイパスバルブについてもステップ 5-7 の作業を行う(図 102)。

ノズルバルブ 6 番と 7 番のバイパスバルブのクイックディスコネクトフィッティングにキャップを取り付ける;キャップに付属しているリテーナを使用する(図 101)。

ノズルバルブ 1-7 にバルブアクチュエータを取り付ける (図 98);ステップ 1で外したリテーナを使用する。
ブームバルブ 3 個(図 104; ステップS8(マニホルドマウントからブームバルブを外す)で外したもの)を、バルブ 7 番のフランジに取り付ける;ステップ4(マニホルドマウントからブームバルブを外す)で取り外したフランジクランプとガスケットを使用する。
Important: ジオリンク散布システムの左ブーム、センターブーム、右ブームは以下のように識別されます:左ブームのバルブ - ノズルバルブ 8 番;センターブームのバルブ - ノズルバルブ 9 番;右ブームのバルブ - ノズルバルブ 10 番。

ノズルバルブ 8 番のクイックディスコネクトカップリングのソケットを、ノズルバルブ 7 番のバイパスバルブのクイックディスコネクトカップリングに固定する;ステップ8(マニホルドマウントからブームバルブを外す)で外したリテーナを使う。

ノズルバルブ10番をバルブマウントに取り付ける(図 106または図 107);ステップ 2 (マニホルドマウントからブームバルブを外す)で取り外したフランジヘッドボルト(¼ x ¾")2本とロックナット(¼")2個を使用する。


フランジヘッドボルトとロックナットを 10.17-12.43 N·m (1.0-1.4 kg.m = 90-120 in-lb) にトルク締めする。
吊り上げ装置に必要な能力: 23kg
所定の能力のある昇降装置を使ってバルブマウント&スプレーバルブアセンブリを吊り上げ、センターブームに合わせる(図 108)。

バルブマウントの取り付けブラケットの穴を、センターブームのトラスフレームの穴に合わせる(図 109)。

バルブマウントをトラスフレームに固定する(図 109 と 図 110);ボルト(5/16" x ¾")4本とフランジロックナット(5/16")4個を使用する。

もう一方のトラスフレームの取り付けブラケットにも、ステップ 2-3 の作業を行う。
フランジヘッドボルトとフランジロックナットを 1978-2542 N·cm (2.0-2.6 kg.m = 175-225 in-lb) にトルク締めする。
バイパスシャットオフバルブのクイックディスコネクトフィッティングを、バイパスバルブのクイックディスコネクトフィッティングに取り付ける(図 113)。

バイパスシャットオフバルブおよびバイパスバルブ用のクイックディスコネクトフィッティングを、リテーナで固定する(図 113);ステップ 3(バイパスバルブの位置替えをする:オプションのスプレースティックキットや電動ホースリールキットを搭載していない車両)で外したリテーナを使用する。
車体の反対側のバイパスシャットオフバルブおよびバイパスバルブにも、ステップ 1-2の作業を行う。
コネクタアンカー用押し込みファスナーをバルブマウント穴に取り付ける(図 114)。


キットのワイヤハーネスの 89cm の枝線についている 3 ピンコネクタ(図 115;NOZZLE VALVE 1というラベルがついているもの)を一番左のバルブアクチュエータ(ポジション 1)の 3 ピンコネクタに接続する。
Note: バルブアクチュエータのポジション 1-10 は、車両の後ろから見たときに左から右へ順に数えた位置です。
キットのワイヤハーネスの 89cm の枝線についている 3 ピンコネクタ(図 115;NOZZLE VALVE 2というラベルがついているもの)をバルブアクチュエータ(ポジション 2)の 3 ピンコネクタに接続する。
キットのワイヤハーネスの 89cm の枝線に残っている 3 ソケットコネクタを、バルブアクチュエータの 3 ピンコネクタに接続する(図 115)。
Note: 各 3 ソケットコネクタとバルブアクチュエータが正しく対応していることを確認してください。
この作業に必要なパーツ
| 油圧ホース (¼" x 24¾") | 4 |
ステップ 3(昇降シリンダを取り外す)で取り外した昇降シリンダの固定側端部を、シリンダマウントの 16mm の穴にセットする(図 116)。
Note: 延びる側のポートと縮む側のポートを間違えないように整列させてください。

シリンダをマウントに組み付ける;ピボットピン、フランジヘッドボルト、フランジナットを使用する(図 116)。
ボルトとナットを 1978-2542 N·cm(2.0-2.6 kg.m = 175-225 in-lb)にトルク締めする。
機体の反対側の昇降シリンダについても 1-3 の作業を行う。
左側ブーム昇降シリンダの延長動作用ポートとブーム昇降マニホルドのポート C3 との間に、新しい油圧ホース(¼ x 24¾")を仮止めする(図 117)。

左側ブーム昇降シリンダの収縮動作用ポートとブーム昇降マニホルドのポート C4 との間に、新しい油圧ホース(¼" x 24¾")を仮止めする(図 117)。
右側ブーム昇降シリンダの延長動作用ポートとブーム昇降マニホルドのポート C1 との間に、新しい油圧ホース(¼" x 24¾")を仮止めする (図 118)。

右側ブーム昇降シリンダの収縮動作用ポートとブーム昇降マニホルドのポート C2 との間に、新しい油圧ホース(¼" x 24¾")を仮止めする(図 118)。
昇降シリンダの延長動作用および収縮動作用のポートのホースフィッティング(図 117 と 図 118)を 21-26 N·m(2.1-2.6 kg.m = 15-19 ft-lb) にトルク締めする。
昇降マニホルドのホースのスイベルナット(図 117 と 図 118)を 24-30 N·m(2.4-3.0 kg.m = 17-22 ft-lb)にトルク締めする。
この作業に必要なパーツ
| ナイロン製フランジブッシュ | 4 |
| ケーブルタイ | 1 |
| 給液ホースアセンブリ(188cm) | 1 |
| 給液ホースアセンブリ(234cm) | 1 |
| 給液ホースアセンブリ(279cm) | 1 |
ふたつのノズルの間でホースを切断する(図 119)。

ノズルをノズルサポートに固定しているフランジロックナット(5/16")を外す(図 119)。
他の3個のノズルについても、上記の手順2と1を行う。
Note: 外したフランジロックナットとノズルは左右のブームの散布ノズルを取り付けるで使用しますので捨てないでください。
Note: 機体から外したホース、クランプ、T字フィッティングは廃棄してください。
反対側のブームについても、2-3の作業を行う。
ステップ1で取り外した8個のノズル全部について:片側(または両側)バーブ付きホースシャンク(3/4")とそのクランプの上半分とを各ノズルのボディに固定しているステンレスねじ(#12 x 1¼")を外してバーブ付きホースシャンクをから外す(図 120)。
Note: クランプを分離する時に上側クランプから外れてくる六角ヘッドボルト(5/16" x ¾"—ステンレス)は再利用しますから捨てないでください。

吊り上げ装置に必要な能力: 91kg
所定の能力のあるホイストなどを使って、左または右のブームを吊り上げる。
ピボットフィッティングの両側にある 31.8mm の穴に、ナイロン製のフランジブッシュを入れる(図 121)。

ピボットフィッティングのブッシュを、センターブームの端部にあるピボットブラケットのフランジについている穴に合わせる(図 122)。

ピボットフィッティングをピボットブラケットに取り付ける;ステップ 2(左右のブームを取り外す)で取り外したピボットピン、フランジボルト(5/16" x 1")とフランジロックナット(5/16")を使用する。
ボルトとナットを 19.78-25.42 N·m(2.0-2.6 kg.m = 175-225 in-lb)にトルク締めする。
昇降シリンダのロッドの先端を、ピボットフィッティングのホーン(ツノ)の穴(25mm)に合わせる(図 123)。

昇降シリンダをピボットフィッティングに固定する; クレビスピンとヘアピン(図 123)(ステップ2;昇降シリンダを取り外すで外したもの)を使用する。
機体の反対側のブームにも、ステップ 1-7 の作業を行う。
この作業に必要なパーツ
| 給液ホース(279cm) | 2 |
| 給液ホース(234cm) | 2 |
| 給液ホース(188cm) | 4 |
| 給液ホース(81cm) | 2 |
各ホースの取り付け位置をホースの長さで確認する(図 124):
| ノズルの位置:左ブーム | ノズルの位置:センターブーム | ノズルの位置:右ブーム |
|---|---|---|
| 散布ノズル 1(ノズルバルブ 1):給液ホース 279cm | 散布ノズル 5と6(ノズルバルブ 5):給液ホース 81cm(枝ホース2本付き) | 散布ノズル 9(ノズルバルブ 7):給液ホース 188cm |
| 散布ノズル 2(ノズルバルブ 2):給液ホース 234cm | 散布ノズル 7と8(ノズルバルブ 6):給液ホース 81cm(枝ホース2本付き) | 散布ノズル 10(ノズルバルブ 8):給液ホース 188cm |
| 散布ノズル 3(ノズルバルブ 3):給液ホース 188cm | 散布ノズル 11(ノズルバルブ 9):給液ホース 234cm | |
| 散布ノズル 4(ノズルバルブ 4):給液ホース 188cm | 散布ノズル 12(ノズルバルブ 10):給液ホース 279cm |
Note: ノズルバルブの位置については 図 125(各ホースをノズルバルブ1~4 番に取り付ける。)、図 126(ホースをノズルバルブ5および6 番に取り付ける。)、および図 127(各ホースをノズルバルブ7-10 番に取り付ける。) を参照してください。

給液ホース(279cm)のバーブ付きストレートフィッティングを、ノズルバルブ1番のカップラに組み付ける(図 125)。
Note: バーブ付きフィッティングはカップラに完全に差し込んでください。

リテーナを使って、バーブ付きフィッティングをバルブに固定する(図 125)。
給液ホース(234cm)のバーブ付きストレートフィッティングを、ノズルバルブ2番のカップイラに組み付ける(図 125)。
Note: バーブ付きフィッティングはカップラに完全に差し込んでください。
リテーナを使って、バーブ付きフィッティングをバルブに固定する(図 125)。
給液ホース(188cm)のバーブ付きストレートフィッティングを、ノズルバルブ3番のカップラに組み付ける(図 125)。
Note: バーブ付きフィッティングはカップラに完全に差し込んでください。
リテーナを使って、バーブ付きフィッティングをバルブに固定する(図 125)。
給液ホース(188cm)のバーブ付きストレートフィッティングを、ノズルバルブ4番のカップラに組み付ける(図 125)。
Note: バーブ付きフィッティングはカップラに完全に差し込んでください。
リテーナを使って、バーブ付きフィッティングをバルブに固定する(図 125)。
Note: 給液ホースアセンブリ(81cm)には T字フィッティング、枝ホース2本、バーブ付きホースシャンク2本が付きます。
給液ホース(188cm)のバーブ付きストレートフィッティングを、ノズルバルブ7番のカップラに組み付ける(図 127)。
Note: バーブ付きフィッティングはカップラに完全に差し込んでください。

リテーナを使って、バーブ付きフィッティングをバルブに固定する(図 127)。
給液ホース(188cm)のバーブ付きストレートフィッティングを、ノズルバルブ8番のカップラに組み付ける(図 127)。
Note: バーブ付きフィッティングはカップラに完全に差し込んでください。
リテーナを使って、バーブ付きフィッティングをバルブに固定する(図 127)。
給液ホース(234cm)のバーブ付きストレートフィッティングを、ノズルバルブ9番のカップイラに組み付ける(図 127)。
Note: バーブ付きフィッティングはカップラに完全に差し込んでください。
リテーナを使って、バーブ付きフィッティングをバルブに固定する(図 127)。
給液ホース(279cm)のバーブ付きストレートフィッティングを、ノズルバルブ10番のカップラに組み付ける(図 127)。
Note: バーブ付きフィッティングはカップラに完全に差し込んでください。
リテーナを使って、バーブ付きフィッティングをバルブに固定する(図 127)。
散布ノズル1、2、3、4番用のホースを、センターブームの左端にあるR クランプに通す(図 128と図 129)。


図 128と図 129のように、給液ホース(279 cm)とバーブ付きホースシャンク(¾")をブームに沿って散布ノズル1-10番へ配設する。
図 128と図 129のように、給液ホース(234 cm)とバーブ付きホースシャンク(¾")をブームに沿って散布ノズル4-9番へ配設する。
図 128と図 129のように、給液ホース(188 cm)とバーブ付きホースシャンク(¾")をブームに沿って散布ノズル3-8番へ配設する。
Note: 各ホースを、チューブフレームブラケットの下側後部のグロメットに通す。
図 128と図 129のように、給液ホース(188 cm)とバーブ付きホースシャンク(¾")をブームに沿って散布ノズル4-7番へ配設する。
Note: 各ホースを、チューブフレームブラケットの下側後部のグロメットに通す。
散布ノズル用のホース(4本)をケーブルタイで 図 129のようにまとめる。
ノズルのサドルに付いているトランスファチューブ(図 130)を、片側バーブ付きホースシャンク(½")の穴に合わせる。

バーブ付きホースシャンクにホースクランプの上半分をセットし、クランプとノズルボディ(図 130)を、ステンレスねじ(#12 x 1¼")で固定し、14-18 N∙m(0.25-0.3 kg.m = 20-25 in-lb)にトルク締めする。
Note: クランプの上半分のくぼみに六角ヘッドボルト(5/16 x ¾")がきちんとはまっていることを確認してください。
以下の要領で、左右のブームにスプレーノズルを取り付ける:
ノズル位置1番と4番で、ノズルマウントにノズルを組み付ける(図 131のA);ステップ2(左右のブームからスプレーノズルを外す)で外したフランジロックナット(5/16")を使用する。
ノズル位置2番と3番で、ノズルマウントにノズルを組み付ける(図 131のAとB);ステップ2(左右のブームからスプレーノズルを外す)で外したフランジロックナット(5/16")を使用する。

フランジロックナットを、19.78-25.42 N·m (2.0-2.6 kg.m = 175-225 in-lb)にトルク締めする。
このブームの他のノズルについても、1-4の手順を行う。
機体の反対側のブームにも、ステップ 1-5 の作業を行う。
この作業に必要なパーツ
| ケーブルタイ | 6 |
ステップ 9(フォームマーカーのノズル用の新しいチューブアセンブリの準備を行う)でケーブルタイを使ってマーキングしたチューブのうち、右側ブーム用の青色チューブを右側ブーム用給水部の圧縮フィッティングに取り付ける(図 142)。

チューブの圧縮ナットをフィッティングに嵌め、ナットを手締めする(図 142)。
右側ブーム用の透明チューブを右側ブーム用エア供給部の圧縮フィッティングに取り付ける(図 142)。
チューブの圧縮ナットをフィッティングに嵌め、ナットを手締めする(図 142)。
マークの付いていない(ケーブルタイの付いていない)チューブ束で、左側ブーム用の青色チューブを左側ブーム用給水部の圧縮フィッティングに取り付ける(図 143)。

チューブの圧縮ナットをフィッティングに嵌め、ナットを手締めする(図 143)。
左側ブーム用の透明チューブを左側ブーム用エア供給部の圧縮フィッティングに取り付ける(図 143)。
チューブの圧縮ナットをフィッティングに嵌め、ナットを手締めする(図 143)。
ケーブルタイ2本を使って、フォームマーカーのチューブを液剤ホースに固定する(図 139)。
この作業に必要なパーツ
| カバーエクステンションアセンブリ(12ノズル用:Toro P/N 120-0621) | 1 |
| ポップリベット(Toro P/N 114439) | 22 |
| サポートブラケット(センターブーム用カバー:Toro P/N 13-3703-03) | 4 |
| クリップナット(Toro P/N 94-2413) | 4 |
| フランジヘッドボルト(⅜ x 1¼":Toro P/N 110-5050) | 16 |
| フランジロックナット(⅜":Toro P/N 104-8301) | 16 |
| カバーストラップ(Toro P/N 120-0629) | 2 |
| フランジヘッドボルト(5/16" x 1¼":Toro P/N 323-36) | 4 |
補強プレート(リベット1列)とゴム製カバーを11ノズル用センターブームのカバーに固定している11本のポップリベット(図 145)(ステップ 2(カバー付きブームキット(オプション)のセンターセクションカバー(11ノズル)を外す)で外しておいたカバーについているリベット) を、直径 5mm のドリルビットを使って取り外す。


11 ノズルブーム用カバーから、補強版、ワッシャ(3/16")11枚、ゴム製カバーを取り外す(図 145)。
Note: 外した補強版、ワッシャ、ゴム製カバーは、ステップ 5 と 6で使用します。
カバーエクステンションに取り付けられている補強プレート(2列穴)の穴に、11 ノズルブーム用カバーの穴を合わせる(図 146)。

ポップリベット(11本:Toro P/N 114439)を使って、カバーエクステンションを11 ノズルブーム用カバーに固定する(図 147)。

ステップ2で取り外したゴム製カバーと補強版(1列穴)の穴を、カバーエクステンションの穴に合わせる(図 148)。

補強版とゴムカバーを、カバーエクステンションに固定する;ポップリベット(Toro P/N 114439)11本と、ステップ5で外したワッシャ(3/16")11枚を使用する。
Note: ワッシャ(3/16")は、カバーエクステンションの内面に当たるように取り付けてください。
図 149 のように、センターカバー(Toro P/N 131–3703–03)用のサポートブラケット(2個)に、クリップナット(Toro P/N 94-2413)4個を取り付ける。

センターブームエクステンションにある 2 組の穴(トラスフレームの垂直面に 25mm 間隔で開いている穴)を探し出す(図 150)。


サポートブラケット(Toro P/N 131–3703–03)の穴を、センターブームエクステンションの穴(ステップ 2 で探し出した穴)に合わせる;ブラケットの広いフランジが左側になるように合わせること;図 150を参照。
サポートブラケットをトラスフレームに固定する(図 150);フランジヘッドボルト(⅜" x 1¼", Toro P/N 110-5050)4本、フランジロックナット(⅜", Toro P/N 104-8301)4個を使用する。
残りの2組の穴についても、ステップ 2-4 を行い、さらに、もう一方のサポートブラケット、フランジヘッドボルト、フランジロックナットについても同様に作業を行う。
ボルトとナットを 37-45 N·m (9.3-11.5 kg.m = 27-33ft-lb) にトルク締めする。
センターブームカバーの穴を、サポートブラケットにある取り付け用の穴に合わせる(図 151)。

ステップ1(カバー付きブームキット(オプション)のセンターセクションカバー(11ノズル)を外す)で取り外した2本のカバーストラップの穴を、ゴム製カバーと補強版(1列穴)の穴を、カバーエクステンションの穴に合わせる(図 151)。
カバーストラップとカバーを、サポートブラケットに取り付ける;ステップ 1(カバー付きブームキット(オプション)のセンターセクションカバー(11ノズル)を外す)で取り外したフランジヘッドボルト(5/16" x 1¼")4本を使用する。
2本のカバーストラップ(Toro P/N 120–0629)の穴を、カバーにある残り4つの穴とサポートブラケットにある残り4つの穴に合わせる(図 151)。
カバーストラップとカバーを、サポートブラケットに取り付ける(図 151);フランジヘッドボルト(5/16" x 1¼", Toro P/N 323-36)4本を使用する。
ボルトを 1978-2542 N·cm(3.1-3.8 kg.m = 175-225 in-lb)にトルク締めする。
この作業に必要なパーツ
| 受けプレート | 1 |
| スペーサ(⅜" x 1") | 1 |
| 受信機用マウント | 1 |
| ボルト(⅜" x 3¼") | 1 |
| ロックワッシャ(⅜") | 1 |
| ワッシャ(⅜" x 13/16") | 1 |
| フランジロックナット(⅜") | 1 |
| フランジヘッドボルト(5/16" x ¾") | 1 |
| フランジロックナット(5/16") | 1 |
| フランジヘッドボルト (⅜" x 1½") | 2 |
| スペーサ(⅜" x 7/16") | 2 |
| ナビゲーション受信機:X25 ジオリンク高精度散布システムキット、ベース、WAAS(モデル 41630) | 1 |
| 六角ヘッドボルト(5 x 16mm) | 3 |
| ワッシャ(5mm) | 3 |
| バルクヘッドアダプタ(オプションの CDMA RTK 修正モデムキットまたは GSM RTK 修正モデムキット) | 1 |
| 携帯電話アンテナ(オプションの CDMA RTK 修正モデムキットまたは GSM RTK 修正モデムキット) | 1 |
| 同軸ケーブル(オプションの CDMA RTK 修正モデムキットまたは GSM RTK 修正モデムキット) | 1 |
受信機マウントとスペーサ(⅜" x 7/16")を ROPS に取り付ける;フランジヘッドボルト(⅜" x 1½")で図 153のように取り付ける。

受信機プレートを少し抵抗があるが回せる程度にボルトを締め付ける。
受信機プレートを左右水平にする(図 154)。

フランジヘッドボルト(5/16" x ¾")とフランジロックナット(5/16")を 19.78-25.42 N·m (2.0-2.6 kg.m = 175-225 in-lb) にトルク締めする。
受信機プレートを前後水平にする(図 154)。
ボルト(⅜" x 3¼")とフランジロックナット(⅜")を 37-45 N·m (3.7-4.6 kg.m = 27-33 ft-lb)にトルク締めする。
Note: CDMA RTK または GSM RTK 修正モデムを搭載している車両では、RTKを取り付けます。
同軸カップラのねじ部分を下に向けて RTK アンテナ用フランジの開口部に通す(図 156)。
Note: 同軸ケーブルコネクタのねじの平たい部分をフランジの開口部の平たい部分に合わせて入れてください。

ロックワッシャとジャムナットで同軸カップラを受信機プレートのフランジに組み付け、ジャムナットを手締めする(図 156)。
同軸カップラの上側フィッティングに RTK アンテナを組み付け、アンテナに付いているナットを手締めする(図 157)。

同軸カップラの下側フィッティングにアンテナ線を仮留めする(図 157)。
ケーブルを、ナビゲーション受信機の後ろを通して、CDMA または GSM 携帯電話用モデムの同軸コネクタまで導く(図 157)。
アンテナ線を、同軸コネクタ(CDMA または GSM 携帯電話用モデム)に接続する(図 157)。
アンテナ線のナットを手締めする。
この作業に必要なパーツ
| モニタマウント | 1 |
| フランジヘッドボルト (6 x 12 mm) | 3 |
| Uボルト(5/16") | 2 |
| フランジロックナット(5/16") | 8 |
| ボールマウント | 1 |
| フランジヘッドボルト(5/16" x ¾") | 4 |
| モニタ:X25 ジオリンク高精度散布システムキット、ベース、WAAS(モデル 41630) | 1 |
| モニタアーム:X25 ジオリンク高精度散布システムキット、ベース、WAAS(モデル 41630) | 1 |
図 159に示すようにモニタマウントを配置する。

モニタマウントをステアリングバルブのハウジングに取り付ける(図 160);フランジヘッドボルト(6 x 12mm)3本を使用する。

モニタマウントのプレートを車両のシャーシのサポートチューブに取り付ける(図 161);Uボルト(2本)とフランジロックナット(5/16")4 個を使用する。

ステアリングバルブの所のフランジヘッドボルト(6 x 12 mm)3本を 9.72-11.98 N∙m ( 1.0-1.2 kg.m = 86-106 in-lb)にトルク締め、サポートチューブのところのフランジロックナットを19.78-25.42 N·m (2.0-2.6 kg.m = 175-225 in-lb) にトルク締めする。
車両用ワイヤハーネスのうち、SPRAY PUMP COILというラベルのついた 2 ソケットコネクタを、オルタネータの 2 ピンコネクタから外す(図 165)。

キットのハーネスの枝線についている 2 ピンコネクタ(84cm の長さでPUMP CLUTCHというラベルがついているもの)を車両のワイヤハーネスのSPRAY PUMP COILというラベルがついている 2 ソケットコネクタに接続する(図 166)。

キットのワイヤハーネスのうち、PUMP CLUTCHというラベルのついた 2 ソケットコネクタを、オルタネータの 2 ピンコネクタに接続する(図 166)。
ワイヤハーネスの枝線(84cm)を、エンジンと散布用ポンプに向けて配線する。オルタネータベルトから十分に離して配設すること(図 167)。

この作業に必要なパーツ
| バッテリー用ブラケット | 1 |
| ボルト(5/16" x 1¾") | 1 |
| ワッシャ(5/16") | 1 |
| バッテリー (540A) | 1 |
| バッテリーリテーナ | 1 |
| フランジロックナット(5/16") | 1 |
| オルタネータ用ブラケット | 1 |
| 駆動プーリ(279mm) | 1 |
| ボルト(¼" x 2¼") | 4 |
| ロックワッシャ(¼") | 4 |
| オルタネータ(60A) | 1 |
| フランジヘッドボルト (8 x 25 mm) | 1 |
| フランジヘッドボルト (⅜" x 1½") | 1 |
| V ベルト | 1 |
バッテリーを車体のバッテリーブラケットに固定している J ボルトから、フランジロックナットと押さえ棒を取り外す(図 168)。

機体からバッテリーを外す(図 168)。
Note: 外したフランジナット、押さえ棒、バッテリー(300A)は廃棄して構いません。
ヒューズブロックをバッテリーブラケットに固定しているボルト(10-24 x ¾")とナット (10-24)を取り外す(図 169)。
Note: 外したボルト(10-24 x ¾")とナット (10-24)は バッテリーブラケットとバッテリー(540A)を取り付けるで使用します。

バッテリーブラケットを車体のショックサポートチューブに固定しているフランジヘッドボルト(⅜" x ¾")2本を取り外す(図 169)。
Note: フランジヘッドボルト(⅜" x ¾")はバッテリーブラケットとバッテリー(540A)を取り付けるで使用します。
バッテリーブラケットから、J ボルト(2本)とバッテリートレイを取り出す(図 170)。

車体からバッテリーブラケットを外す(図 171)。
Note: J ボルト、バッテリートレイ、バッテリーブラケットは廃棄して構いません。

新しいバッテリーブラケットを、車両のショックサポートチューブに合わせる(図 172)。

バッテリーブラケットをショックサポートチューブに組み付ける(図 173);ステップ 4 (バッテリー(300A)とバッテリーブラケットを取り外す)で外したフランジヘッドボルト(⅜" x ¾")2本を使用する。

フランジヘッドボルトを 37-45 N·m (4.6-6.2 kg.m = 27-33 ft-lb)にトルク締めする。
ヒューズブロックをバッテリーブラケットに取り付ける(図 173);ステップ 3(バッテリー(300A)とバッテリーブラケットを取り外す)で取り外したボルト(10-24 x ¾")とナット(10-24)を使用する。
バッテリーをバッテリーブラケットに固定する;ボルト(5/16" x 1¾")ワッシャ(5/16")、バッテリーリテーナ、フランジロックナット(5/16")を使用して図 174のように取り付ける。

ボルトとナットを 19.78-25.42 N·m(2.0-2.6 kg.m = 175-225 in-lb)にトルク締めする。
アイドラプーリのシャフトのナットをゆるめる(図 177)。
Note: ベルトに張力がかかっていないことを確認してください。

ベルトテンションボルトをゆるめてポンプベルトの張りを完全になくす(図 177)。
プーリを散布用ポンプに固定しているボルト(¼ x 1")4 本とロックワッシャ(¼")4枚を取り外す(図 178)。
Important: プーリは外さないでください。
Note: 外したボルトとロックワッシャは廃棄して構いません。

オルタネータブラケットを用プーリ(キット)の穴を、ポンプ用プーリの穴に合わせる(図 179)。

オルタネータブラケットを用プーリをポンプ用プーリに組み付ける;ボルト (¼" x 2¼")4本とロックワッシャ(¼")4個を使用する。
ボルトを 1017-1243 N·m(1.0-1.4 kg.m = 90-110 in-lb)にトルク締めする。
ベルトテンションボルトを回してベルトに張りを出す;エンジンスプロケットとポンプスプロケットとの間を 4.5kg の力で押したときに 9.5mm のたわみが出るように調整する。

アイドラプーリのシャフトのナットを 37-44 N·m(5.3-6.6 kg.m=27-33 ft-lb)にトルク締めする。
オルタネータ(60A)を、オルタネータブラケットのねじ山付きボスに取り付ける(図 181);フランジヘッドボルト(⅜" x 1½")を使用する。

オルタネータのねじ山付きフランジを、オルタネータブラケットスロット付きフランジに取り付ける(図 181);フランジヘッドボルト(8 x 25mm)を使用する。
駆動 プーリとオルタネータのプーリにベルトを掛ける(図 182)。

オルタネータ(図 183)をずらしてベルトに張りを出す;オルタネータのプーリと駆動プーリ(279mm)との間を 4.5kg の力で押したときに 9.5mm のたわみが出るように調整する。

フランジヘッドボルト(8 x 25 mm)を 23-29 N·m (2.4-2.9 kg.m = 17-21 ft-lb)にトルク締めする。
フランジヘッドボルト(⅜" x 1½")を37-45 N·m (3.7-4.6 kg.m = 27-33 ft-lb)にトルク締めする。
この作業に必要なパーツ
| リレー | 1 |
| プッシュインファスナー | 1 |
| ヒューズ (15 A) | 1 |
| ヒューズ (50 A) | 1 |
キットのワイヤハーネスのうち、57cm のピンク線の端についている 2 ソケットコネクタ(図 184)を、オルタネータ(50A)の 2 ピンコネクタに接続する。

ピンクの検知線を、オルタネータベルトから十分に離して、ケーブルタイで固定する。
オルタネータの端子(図 185)からナットを外す。

オルタネータのワイヤ(赤、6ゲージ)を、オルタネータ(50 A)の端子に、ナットで接続する(図 185)。
オルタネータの赤線を、バッテリー端子に導く;プーリやオルタネータから十分に離して配設すること。
ナットを 47-57 N·m(9.3-11.5 kg.m = 34-42 ft-lb)にトルク締めする。
オルタネータの端子(図 185)に絶縁カバーを取り付ける。
マルチメータを、導通試験用にセットする。
車両のヒューズブロック 3 で、ヒューズソケット 2 のコンタクト 4 (右列)に図 187のようにマルチメータの検針を差し込む。

ヒューズブロックの表側で、マルチメータのもう一本の検針を使って、ヒューズソケット 2 のコンタクト 4 に導通している赤い 10 ゲージワイヤのブレードコネクタを探し出す。

ステップ 3(図 188)で探し出したコネクタとその導線に、テープでマーキングする。
ステップ4でマーキングしたブレードコネクタを、キットのワイヤハーネスの 51mm ピンク線のソケットコネクタに接続する(図 189)。

ヒューズブロック 3 で、ヒューズソケット 2 に、ヒューズ(15A)を挿入して一番奥まで押し込む(図 190)。

インラインヒューズブロックに、ヒューズ(50A)を挿入して一番奥まで押し込む(図 191)。

この作業に必要なパーツ
| データ用ハーネス(ナビゲーションシステム):ジオリンク高精度散布システムキット(モデル 41630) | 1 |
| バッテリー用ハーネス(ナビゲーションシステム):ジオリンク高精度散布システムキット(モデル 41630) | 1 |
| ケーブルタイ | 8 |
| クイックコネクトクランプ(赤いハンドル) | 1 |
| クイックコネクトクランプ(黒いハンドル) | 1 |

Important: データ用ハーネスには使用しないコネクタも含まれています。使用しないコネクタにはキャップやプラグを確実に嵌めておいてください。
ナビ用電装ハーネスの3ソケットコネクタ(電源インタフェース)を、データ用ハーネスの3ピンコネクタ(電源インタフェース)に接続する(図 192)。


データハーネスの 390cm の枝線を、ROPS の左側の縦柱の裏側に沿って配設する。

データ用ハーネスの 390cm の枝線を、ROPS 右側に沿って配設し、12 ソケットコネクタ (灰色) と 12 ソケットコネクタ (黒色) をナビゲーション受信機まで導く(図 196)。

灰色と黒色の 12 ソケットコネクタの長い方の側にある2本のキーを、ナビゲーション受信機の左側(灰色) 12 ピンコネクタの底部の水平面にある2本のスロットに合わせて接続する(図 197)。
Note: ワイヤハーネスのコネクタに付いている整列キーは、特殊な形状をしており、ナビゲーション受信機のピンコネクタ以外には形状が一致しませんから、注意してください。

データ用ハーネスの灰色と黒色の12 ソケットコネクタを、ナビゲーション受信機の左側(灰色)12ピンコネクタに接続する。カチッと音がしてロックするまで押し込むこと(図 197)。
データ用ハーネスの黒色の 12 ソケットコネクタの短い方の側にある2本の整列キーを、ナビゲーション受信機の右側(黒色) 12 ピンコネクタにある2本のスロットに合わせて接続する(図 197)。
Note: ワイヤハーネスのコネクタに付いている整列キーは、特殊な形状をしており、ナビゲーション受信機のピンコネクタ以外には形状が一致しませんから、注意してください。
データ用ハーネスの灰色と黒色の12 ソケットコネクタを、ナビゲーション受信機の左側(灰色)12ピンコネクタに接続する。カチッと音がしてロックするまで確実に押し込むこと(図 197)。
図 196 のように、ケーブルタイ2本を使って、データ用ハーネスの 390cm 枝線を右側 ROPS チューブに固定する。
Note: 12 ソケットとケーブルタイとの間のケーブルに少したるみを持たせてください。


このデータハーネスとバッテリーハーネスを、ROPS の左側の柱に沿っておろし、座席サポートのクロス部材へ配設する(図 200)。

図 200に示すように、ナビゲーション受信機用の 390 cm のデータハーネスを、ROPS に固定する。
バッテリーハーネスのうち、***IMPORTANT*** ONLY CONNECT THIS WIRE TO SWITCHED 12V POWER SOURCEというラベルの付いた 1 ソケットコネクタを、キットのワイヤハーネスの 66cm 枝線(図 201)(SW’D PWR FOR GEN 2 TOPCONというラベル)の 1 ソケットコネクタに接続する。

キットのワイヤハーネスの 66cm の枝線についている 4 ピンコネクタ(ASC 10 PWR & CAN FROM X30というラベルがついているもの)を、データハーネスの、CAN 2/ASC 10 BUSというラベルがついている 4 ソケットコネクタに接続する(図 201)。
データハーネスとバッテリーハーネスを、座席サポートのクロス部材を横切って配線し、データハーネスの 390cm の枝線をクロス部材にケーブルタイ(2本)で固定する(図 200 と 図 202)。

バッテリーハーネスの 220cm の枝線を、右上フレームチューブに沿って配設する(図 202)。
バッテリーハーネスの 220cm の枝線を、ソケットサポートチューブを横切ってバッテリーに向けて配設する(図 202)。
Note: 相互接続用の 100cm の枝線(スイッチ付き電源)は、そのままの位置において置いてください。
データ用ハーネスの 220cm の枝線(26ソケットのついている枝線)を、コントローラコンソールの下を通って配設し、ダッシュパネルに向かって前方へ導く(図 202)。
赤色と黒色のハンドル式クイックコネクトクランプから、六角ナットとワッシャを外す(図 206)。

黒色ハンドル付きクイックコネクトクランプのラッチハンドルを開ける(図 207)。

クイックコネクトクランプを、バッテリーのマイナス端子に接続する;図 206のように、クランプのねじ山付きポストをバッテリーの内側に向ける
クイックコネクトクランプのラッチハンドルを閉じる(図 207)。
Note: クイックコネクトクランプの強さを調整する必要がある場合には、ハンドルを開き、網目模様付きナットを回して締め付け力を増減してください。
赤色ハンドル付きクイックコネクトクランプにも、ステップ 2-4 の作業を行う。
バッテリーケーブルの接続手順が不適切であるとケーブルがショートを起こして火花が発生する。それによって水素ガスが爆発を起こし人身事故に至る恐れがある。
ケーブルを取り外す時は、必ずマイナス(黒)ケーブルから取り外し、次にプラス(赤)ケーブルを外す。
ケーブルを取り付ける時は、必ずプラス(赤)ケーブルから取り付け、それからマイナス(黒)ケーブルを取り付ける。
バッテリーの端子に金属製品や車体の金属部分が触れるとショートを起こして火花が発生する。それによって水素ガスが爆発を起こし人身事故に至る恐れがある。
バッテリーの取り外しや取り付けを行うときには、端子と金属を接触させないように注意する。
バッテリーの端子と金属を接触させない。

バッテリーのプラスケーブルに、図 209のように絶縁カバーを取り付ける。

以下のワイヤおよびケーブル端子を、バッテリーのプラス端子のねじ山付きポストに、以下の順序で取り付ける(図 210):
Note: エンジンスタータに向かうバッテリーケーブルの端子(プラス)がねじ山付きポストの一番上の端子になるようにしてください。
リング端子:車両用ワイヤハーネスのうち BATTERY (+) というラベルの付いた 22 cm の枝線
リング端子:バッテリー用ハーネスの 220cm の枝線(***IMPORTANT*** CONNECT THIS WIRE TO POSITIVE ON BATTERYというラベル)
リング端子:キットのワイヤハーネスの 60cm の枝線(TO BATTERY POSITIVE というラベル)
バッテリーケーブルの端子(プラス):オルタネータ(50A)へ
バッテリーケーブルの端子(プラス):エンジンスタータへ

ねじ山付きポストにワッシャ(¼")と六角ナット(¼")を組み付け、ナットを、10.17-12.34 N·m (1.0-1.3 kg.m = 90-110 in-lb) にトルク締めする。
バッテリーのスタータ向けプラスケーブルの絶縁カバーをねじ山付きポストに取り付ける(図 210)。
以下のワイヤおよびケーブル端子を、バッテリーのマイナス端子のねじ山付きポストに、以下の順序で取り付ける(図 211):
Note: エンジンとシャーシのアースに向かうバッテリーケーブルの端子(マイナス)がねじ山付きポストの一番上の端子になるようにしてください。
リング端子:バッテリー用ハーネスの 220 cm の枝線(***IMPORTANT*** CONNECT THIS WIRE TO – VE TERMINAL OF BATTERY WHICH IS CONNECTED TO TRACTOR FRAMEというラベル)
リング端子:キットのワイヤハーネスの 60cm の枝線(マイナス線)
バッテリーケーブルの端子(マイナス):エンジンとシャーシのアースへ

この作業に必要なパーツ
| プッシュインファスナー | 13 |
内側フェンダシュラウドを、左上および左下のフレームチューブに合わせる(図 214)。

押し込みファスナー(6個)を使って、内側フェンダ用シュラウドをフレームチューブに固定する(図 215)。
図 215に示すように、フェンダの穴を、車体フレームの穴に合わせる。

フェンダをフレームに仮止めする(図 216);ステップ 2(左右の前フェンダを取り外す)で取り外したボルト(5/16" x 1")3本とワッシャ(5/16")3枚を使用する。
押し込みファスナー(2個)を使って、フェンダをフレームチャネルに固定する(図 217)。

ボルト(5/16" x 1")を 19.78-25.42 N·m (2.0-2.6 kg.m = 175-225 in-lb)にトルク締めする。
機体の反対側のフェンダと内側フェンダ用シュラウドについても 1から6 の作業を行う。
座席と座席プレートを車体シャーシに合わせる(図 219)。

シートパンのピボットフィッティングにある穴を、シャーシブラケットの穴に合わせる(図 220)。


シートパンをシャーシブラケットに取り付ける;ピボットピン2本を使用する(図 220)。
ピボットピンをヘアピン(2本)で固定する(図 220)。
座席のブラケットに支え棒を取り付け、ワッシャとヘアピンで固定する(図 221)。

車両用ハーネスの 2 ソケットコネクタを、座席スイッチ用のコネクタに接続する。ゆるみなく完全にはめ込むこと(図 222)。

運転席を前にすこし倒して、座席についている支え棒をはずし、座席を正規位置におろす。ラッチが掛かったのを確認する。
スタータスイッチにキーを差し込んで ON 位置に回す。
インフォセンターに初期画面が現れ、各種の表示が短時間おこなわれる(図 223)。
Note: エンジンは始動させないでください。

インフォセンターのホーム画面で、中央ボタンを押して、ナビゲーション画面に入る(図 224)。

中央ボタンをもう一度押してメインメニューを表示させる(図 224)。
メインメニューMAIN MENU画面で、中央ボタンを押して設定SETTING画面へ移動し、右ボタンで選択する(図 225)。

設定メニューSETTING画面で、中央ボタンを押して保護設定PROTECTED SETTINGS画面へ移動し、右ボタンで選択する。

PIN(暗証番号)を以下の手順で入力する:
中央ボタンを押してジオリンクGEOLINKオプションへ移動し、右ボタンで選択する(図 229)。

インフォセンターにジオリンク確認画面が表示される (図 230)。

キーを OFF 位置にし、もう一度ONにする。
GEOLINK 初期画面が、キースイッチをONに回すと最初に表示される。

イグニッションキーを RUN 位置(ガソリン機の場合)または PREHEAT/RUN 位置(ディーゼル機の場合)に回す。
制御コンソールの左上にある ABOUT (Toro) アイコンを押す(図 235)。

ソフトウェアのバージョン番号を、以下に記載されているものと比較する:
ジオリンクシステム ソフトウェアガイド がある場合にはその表紙
コマンドコンソールに表示される
Note: ソフトウェアのバージョンが異なっている場合には、以下にご連絡ください:Toro NSN 1-844-GEOLINK (1-844-436-5465) または NSNTech@toro.com の customer service。
単位系を選択する;ジオリンクシステムの オペレーターズマニュアルまたはソフトウェアガイドを参照。
新しいフィールドを作成する;ジオリンクシステムの オペレーターズマニュアルまたはソフトウェアガイドを参照。
新しい薬剤を登録して散布率を入力する;ジオリンクシステムの オペレーターズマニュアルまたはソフトウェアガイドを参照。
以下の操作を行ってノズルバルブのバランスを調整してください。
「散布ノズル - ノズルバルブのバランス調整の準備」を選択する;ジオリンクシステムのオペレーターズマニュアルまたはソフトウェアガイドを参照。
「散布ノズル - バルブのバランス調整ウィザート ステップ 1-3」を選択する;ジオリンクシステムのオペレーターズマニュアルまたはソフトウェアガイドを参照。
「散布ノズル - バルブのバランス調整ウィザート ステップ 4-6」を選択する;ジオリンクシステムのオペレーターズマニュアルまたはソフトウェアガイドを参照。
駐車ブレーキを掛ける。
液剤タンクに 200 リットルの水を入れる;マシンのオペレーターズマニュアルを参照。
エンジンを始動し、エンジン速度を高速にセットする。
ジオリンクの制御コンソール上で 散布率コントローラ アイコンを押す(図 239)。

散布レートコントローラダイアログボックスで、レート制御モードアイコンを押し続けると手動モードになる(図 239)。
減らすアイコン (-) と増やすアイコン (+) を使用して散布圧力(図 239)を 13.75 bar (200 psi) にする。
マシンのマスターブームスイッチをオンにセットする(図 240)。

ジオリンクの制御コンソール上で マスタースイッチ アイコン(図 241)を押してオン(緑)にする。

液漏れがないか、液剤ホースとフィッティング全部を点検する。
Note: 液漏れがある場合にはエンジンを止めて修理を行う。
駐車ブレーキを掛け、エンジンを始動させる。
Note: エンジンおよび油圧系統が動作温度に達するまで約 10 分間待つ。
マスターブームスイッチをオフにセットする。
ポンプスイッチと攪拌スイッチを オン 位置にする。
個別ブームスイッチ(左、右、中央)を全て オン にする。
エンジン速度を高速にセットする。
ジオリンクの制御コンソール上で 散布率コントローラ アイコンを押す。
散布レートコントローラダイアログボックスで、レート制御モードアイコンを押し続けると手動モードになる(図 242)。

減らすアイコン (-) と増やすアイコン (+) を使用して散布圧力(図 242)を 6.9 bar (100 psi) にする。
マシンの攪拌スイッチをオフにセットする。
散布システムの水圧を見る。水圧計の読みが 6.9 bar であれば、攪拌バルブの基本設定は適切である。
水圧計の読みが変化している場合は、攪拌バイパスバルブを調整する;攪拌バイパスバルブの調整を参照。
攪拌スイッチをオフにし、車両後部で、攪拌バイパスバルブを探し出す。

攪拌バイパスバルブ(図 243)を操作して水圧計の読みが 689 kPa (100 psi) になるように調整する。
攪拌スイッチをオンにして散布水圧を見る。
Note: 散布水圧が 6.9 bar (100 psi) よりも低い又は高い場合には、ステップ1と2をもう一度行う。
攪拌スイッチをオフにして散布水圧を見る。
Note: 散布水圧が 6.9 bar (100 psi) よりも低い又は高い場合には、ステップ1と2をもう一度行う。
フローメータのキャリブレーションを行う;ジオリンクシステムの オペレーターズマニュアルまたはソフトウェアガイドを参照。
ディストリビュータの整備工場でコンパスのキャリブレーションを行う;ジオリンクシステムの オペレーターズマニュアルまたはソフトウェアガイドを参照。
Important: ユーザーの施設で不揮発 RAM の消去を行う必要が生じた時。
ユーザーの施設でコンパスのキャリブレーションを行う;ジオリンクシステムの オペレーターズマニュアルまたはソフトウェアガイドを参照。