GeoLink™-spredersystemsettet er et tilbehør for gressprederkjøretøy, og er beregnet på bruk av profesjonelle, innleide operatører for kommersiell anvendelse. Det er hovedsakelig utviklet for sprøyting på allerede godt vedlikeholdte parkplener, golfbaner, idrettsbaner og plener i kommersielle områder. Hvis du bruker dette produktet til andre formål enn det er beregnet på, kan du utsette deg selv eller andre for fare.
Les denne håndboken nøye, slik at du lærer å bruke og vedlikeholde produktet på riktig måte og unngår person- eller produktskade. Du har ansvar for å bruke produktet på en riktig og sikker måte.
Gå til www.Toro.com for materialer for produktsikkerhet og opplæring i bruk, og informasjon om tilbehør, hjelp til å finne en forhandler eller for å registrere produktet ditt.
Hvis maskinen må repareres eller du trenger originale Toro-deler eller mer informasjon, kan du kontakte et autorisert forhandlerverksted eller Toros kundeserviceavdeling. Ha modell- og serienummer for hånden når du tar kontakt. Figur 1 viser hvor på produktet modell- og serienumrene er plassert. Skriv inn numrene i de tomme feltene.
Important: Skann QR-koden på serienummerskiltet med en mobilenhet for å få tilgang til informasjon om garanti og deler samt annen produktinformasjon.

Denne brukerhåndboken identifiserer potensielle farer og har sikkerhetsmeldinger som identifiseres ved hjelp av sikkerhetsvarselssymbolet (Figur 2) som advarer om farer som kan føre til alvorlig personskade eller død hvis du ikke følger anbefalte forholdsregler.

I tillegg brukes to ord for å utheve informasjon. Viktig gjør oppmerksom på spesiell mekanisk informasjon og Obs henviser til generell informasjon som er verdt å huske.
Kjemiske stoffer som brukes i spredersystemet, kan være helsefarlige og giftige for deg, tilskuere, dyr, planter, jordsmonn eller annen eiendom.
Les og følg de kjemiske advarselsmerkene og sikkerhetsdatabladet (SDS) for alle kjemikalier som brukes, og beskytt deg i overensstemmelse med anbefalingene fra produsenten av kjemikaliene. Bruk f.eks. passende personlig verneutstyr (PPE), inkludert ansikts- og øyevern, hansker eller annet utstyr for å beskytte mot personlig kontakt med et kjemikalie.
Det kan brukes mer enn ett kjemikalie, og informasjon om hvert av disse skal tas i betraktning.
Nekt å bruke eller arbeide på sprederen hvis denne informasjonen ikke er tilgjengelig.
Før du arbeider på et spredersystem, så må du forsikre deg om at systemet har blitt trippelrenset og nøytralisert i henhold til anbefalingene til kjemikalieprodusenten(e) og at alle ventilene har fullført tre sykluser.
Påse at det finnes tilstrekkelig med rent vann og såpe i nærheten, og vask umiddelbart av eventuelle kjemikalier du måtte komme i kontakt med.
Slå av maskinen, ta ut nøkkelen (hvis utstyrt) og vent til alle bevegelige deler har stoppet før du forlater førerstillingen. La maskinen kjøles ned før justering, service, rengjøring eller oppbevaring.
Feilaktig bruk og vedlikehold av maskinen kan føre til
personskade. For å redusere muligheten for skader må du
følge disse sikkerhetsinstruksjonene og alltid være oppmerksom
på sikkerhetsvarselssymbolet (
) som betyr
Forsiktig, Advarsel eller Fare – personsikkerhetsinstruks. Hvis
ikke disse instruksjonene tas hensyn til, kan dette føre til
at noen blir alvorlig skadet eller drept.
![]() |
Sikkerhetsmerker og -instruksjoner er lett synlige for føreren og er plassert i nærheten av alle områder som representerer en potensiell fare. Skift ut alle merker som er ødelagte eller mangler. |




Rengjør sprederen. Se Rengjøre sprederen i brukerhåndboken for maskinen.
Important: Tøm spredertanken helt før du installerer finishingsettet for GeoLink-spredersystemet.
For maskiner med tankskyllingssett (valgfritt) skal du utføre det følgende:
Pump vannet fra skylletanken til spredertanken. Se Bruke skyllesettet i monteringsinstruksjonene for tankskyllesettet.
Tøm spredertanken for vann. Se Rengjøre sprederen i brukerhåndboken for maskinen.
Utvid venstre og høyre sprederseksjon til horisontal posisjon.
Parker maskinen på en jevn flate, sett på parkeringsbremsen, slå av motoren, og ta ut nøkkelen. Se brukerhåndboken.
Important: Parker maskinen på en jevn flate før GeoLink-settet monteres.
Lås opp setet ved å trykke håndtaket for setelås bakover (Figur 3).

Roter setet og seteplaten forover til enden av støttestangen på støttestangbraketten er plassert ved bunnen av sporet i braketten (Figur 3).
La motoren kjøle seg helt ned.
Fjern bolten og mutteren som fester terminalen til den negative batterikabelen til den negative batteripolen.
Feilaktig ruting av batterikabler kan skade maskinen og kablene og forårsake gnister. Gnistene kan føre til at batterigassene eksploderer, noe som kan forårsake personskade.
Ta alltid av den negative (svarte) batterikabelen før du kobler fra den positive (røde) kabelen.
Koble alltid til den positive (røde) batterikabelen før du setter på den negative (svarte) kabelen.
Batteripolene eller metallverktøy kan kortslutte mot metallkomponenter og forårsake gnister. Gnistene kan føre til at batterigassene eksploderer, noe som kan forårsake personskade.
Når du fjerner eller monterer batteriet, må du passe på at batteripolene ikke berører metalldeler på maskinen.
La ikke metallverktøy kortslutte mellom batteripolene og metalldeler på maskinen.
Skyv isolatordekselet bakover, og fjern bolten og mutteren som fester terminalen til den positive batterikabelen til den positive batteripolen (Figur 4).
Note: Påse at terminalene til batterikablene ikke kommer nær batteripolene.

Fjern kontakten med to sokler på maskinens ledningssats som er koblet til setebryterkoblingen (Figur 5).

Fjern hårnålssplinten som fester støttestangen til braketten på bunnen av seteplaten (Figur 6).

Fjern de 2 hårnålssplintene som fester seteplatens svingkoblinger til chassisbrakettene (Figur 7).


Fjern de 2 svingboltene som sikrer setet og seteplaten til chassiset (Figur 7).
Løft setet og seteplaten opp og ut av maskinen (Figur 8).

Fjern de to skyvefestene som fester den venstre forskjermen til den nedre veltebeskyttelseskanalen (Figur 10).
Note: Kast skyvefestene som du fjernet.

Fjern de tre boltene (5/16 x 1 tomme) og tre skivene (5/16 tomme) som fester skjermen til maskinrammen (Figur 11).

Fjern skjermen fra maskinen.
Note: Kast skyvefestene som du fjernet.– ta vare på skjermen, boltene og skivene for montering i Montere venstre og høyre forskjermer.
Fjern de seks skyvefestene og fem skivene (9/16 x 1/2 tomme) som fester det indre skjermdekselet til maskinrammen (Figur 12).

Fjern det indre skjermdekselet fra maskinen (Figur 13).
Note: Kast skyvefestene som du fjernet.

Gjenta trinn 1 til 5 for skjermen og det indre skjermdekselet på motsatt side av maskinen.
Koble de to elektriske kontaktene (med to sokler) på maskinens ledningssats fra kontaktene med to pinner på venstre og høyre frontlys (Figur 14).

Fjern de ni skyvefestene som fester panseret til dashbordet og maskinrammen (Figur 15).
Note: Ta vare på skyvefestene for montering i Montere panseret.

Fjern panseret fra maskinen (Figur 15).
Note: Kast skyvefestene som du fjernet.
Deler som er nødvendige for dette trinnet:
| Rørenhet – Toro-delenr. 114-9553 | 2 |
| Kabelfeste | 8 |
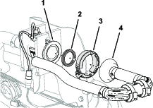
Ved kompressorens koblingspanel for skummarkørsettet, fest et kabelfeste rundt de gjennomsiktige og blå rørene for høyre sprederseksjon (Figur 18).


Løsne kompresjonsmutterne for de to gjennomsiktige og de to blå rørene for skumdysene ved venstre og høyre sprederseksjon (Figur 18).
Fjern de fire rørene fra kompresjonskoblingene for sprederseksjonene (Figur 18).
Ved den ytre sprederseksjonen, bruk en bit tape til å markere venstre væske- og luftrør for venstre sprederseksjon, og høyre væske- og luftrør for høyre sprederseksjon.
Flytt rørene for skumdysene til venstre og høyre sprederseksjon bakover og gjennom R-klemmen nær svingpunktet for sprederseksjonen (Figur 19).

Hvis maskinen har settet for utvidelse av midtre bom, fest den ledige enden av væske- og luftrørene løst til den ytre sprederseksjonen. og hopp over prosedyrene for Klargjøre de nye rørenhetene for skummarkørdysene og Montere den nye rørenheten.
Fjern kabelfestene som fester skummarkørsettets væske- og luftrør til den ytre sprederseksjonen (Figur 20).

Ved skummarkørdysen, løsne kompresjonsmutteren som fester det blå røret (vann) til den blå kompresjonskoblingen på skummarkørdysen (Figur 21).

Løsne kompresjonsmutteren som fester det gjennomsiktige røret (luft) til den hvite kompresjonskoblingen på skummarkørdysen (Figur 21).
Fjern væske- og luftrør fra maskinen.
Fjern kompresjonsmutterne ved endene av rørene (Figur 21).
Note: Ta vare på kompresjonsmutterne for montering i trinn 1 av Montere den nye rørenheten.
Innrett de gamle væske- og luftrørene (Figur 22) med den nye rørenheten (Toro-delenr. 114-9553)

Bruk et stykke tape til å markere lengden på de gamle væske- og luftrørene på den nye rørenheten.
På den nye rørenheten, legg til 26 cm lengde fra merket du laget i trinn 7, merk av på rørenheten, og kutt rørene ved det andre (lengste) merket (Figur 22).
Hvis de gamle væske- og luftrørene er merket med et kabelfeste, merk den nye rørenheten med et kabelfeste. Hvis ikke, gå direkte til trinn 10.
Note: Du har ikke lenger behov for de gamle væske- og luftrørene.
Fjern 77 til 102 mm av hylsteret rundt hver ende av rørenheten (Figur 22).
Gjenta trinn 1 til og med 10 for væske- og luftrørene på motsatt side av maskinen.
Før den blå kompresjonsmutteren over endene av det blå røret og den hvite kompresjonsmutteren over det gjennomsiktige røret (Figur 23).

Innrett enden av det gjennomsiktige røret med den hvite kompresjonsmutteren med den hvite koblingen på skummarkørdysen, og stram til kompresjonsmutteren for hånd (Figur 23).
Innrett enden av det blå røret med den blå kompresjonsmutteren med den blå koblingen på skummarkørdysen, og stram til kompresjonsmutteren for hånd (Figur 23).
Før rørenheten langs baksiden av den øvre støttestolpen i den ytre sprederseksjonen, som vist i Figur 24.
Important: Hvis rørenheten monteres på feil side av den øvre støttestolpen, vil rørene komme i klem mellom understellet og den ytre sprederseksjonen når bommene er i transportposisjon.

Fest rørenheten til hullet i dysestøtten med et kabelfeste, som vist i Figur 25.

Fest rørenheten til den ytre sprederseksjonen med kabelfester, som vist i Figur 24.
Fest den ledige enden av rørenheten løst til den ytre sprederseksjonen.
Gjenta trinn 1 til og med 6 for rørenheten på motsatt side av maskinen.
Koble kontakten med tre pinner på ledningssatsen til det ultrasoniske bom-nivelleringssettet fra med kontakten med tre sokler på maskinledningssatsen (Figur 26).

Gjenta trinn 1 for kontakten med tre pinner på ledningssatsen til det ultrasoniske bom-nivelleringssettet på den andre siden av maskinen.
Støtt opp midtre seksjonsdeksel (11 dyser) og fjern de fire flenshodeboltene (5/16 x 1-1/4 tomme) og to dekselstroppene som fester dekslet til støttebraketten for dekslet (Figur 27).

Fjern det midtre seksjonsdekslet fra maskinen (Figur 28).
Note: Ta vare på dekslet for enheten, dekselstropper og flenshodeboltene til montering i trinn 1 og 2 av Montere midtre seksjonsdeksel.

Note: Hvis maskinen er utstyrt med et valgfritt sprøytepistolsett, se.Koble fra det trykkfølsomme røret og forsyningsslangen
Trykk inn hylsen for rørkoblingen i 90°-vinkelkoblingen for den høyre sprederseksjonsventilen (Figur 30).

Dra det trykkfølsomme røret for dashbordmåleren ut av rørkoblingen (Figur 30).
Note: Ikke fjern 90°-vinkelrøret for avstengningsventilen for slangetrommelens forsyningsslange fra flensen på høyre bomseksjonsventil.
Koble kontaktene med tre sokler merket VENSTRE SPREDERVENTIL, MIDTRE SPREDERVENTIL og HøYRE SPREDERVENTIL på maskinledningssatsen fra kontaktene med tre kontakter på de tre spederventilaktuatorene (Figur 31).

Koble kontakten med fire sokler på maskinledningssatsen merket HASTIGHETSVENTIL fra kontakten med fire pinner på aktuatoren for hastighetsventilen (Figur 32).

Koble kontakten med tre sokler på maskinledningssatsen merket HOVEDSPREDERVENTIL fra kontakten med tre pinner på aktuatoren for hovedsprederventilen (Figur 32).
Deler som er nødvendige for dette trinnet:
| Kabelfeste | 1 |
| Bryterplugg | 1 |
Fjern de fire flenshodeskruene (1/4 x 1/2 tomme) som fester trebryterpanelet til kontrollkonsollen (Figur 33).

Klem sammen låsetappene for mengderegulatorbryteren, og skyv bryteren opp og ut av trebryterpanelet (Figur 34).

Koble kontakten med åtte sokler på maskinens ledningssats (merket med Rate Switch (mengdekontrollbryter)) fra bryterens kontakt med åtte pinner (Figur 33).
Note: Du har ikke lenger behov for mengdekontrollbryteren som du fjernet fra maskinen.
Før forgreningen av den fremre ledningssatsen for mengdekontrollbryteren gjennom åpningen i trebryterpanelet, og fest ledningsforgreningen til den nærliggende ledningsforgreningen med et kabelfeste.
Monter trebryterpanelet til kontrollkonsollen (Figur 34) med de fire flenshodeskruene (1/4 x 1/2 tomme) som du fjernet i trinn 1.
Innrett bryterpluggen med åpningen i trebryterpanelet der du fjernet mengdebryteren (Figur 33).
Før bryterpluggen inn i trebryterpanelet til pluggen klikker på plass i panelet (Figur 33).
Ved den ytre sprederseksjonen, fjern slangeklemmen som fester sprederseksjonsslangen til T-stykket med mothaker (Figur 35).

Fjern slangen fra T-koblingen (Figur 35).
Fjern den ledige enden av slangen fra R-klemmen (Figur 35).
Gjenta trinn 1 til 3 for forsyningsslangen ved den andre ytre sprederseksjonen.
Under den midtre sprederseksjonen, fjern slangeklemmen som fester forsyningsslangen for den midtre sprederseksjonen til T-koblingen med mothake (Figur 36).

Fjern holderne som fester hurtigkoblingene på den venstre, midtre og høyre forsyningsslangen til hurtigkoblingene på sprederseksjonsventilene (Figur 37).
Note: Behold holderne for montering i Montere slangene til dyseventil 7 til 10.

Fjern forsyningsslangene for venstre, midtre og høyre seksjon fra hurtigkoblingene på sprederseksjonsventilene, og fjern slangene fra maskinen (Figur 37).
Note: Du trenger ikke lenger slangene for venstre, midtre og høyre sprederseksjonsslanger.
Fjern slangene fra forlengelsesportene på venstre og høyre løftesylinder (Figur 39).


Fjern slangene fra portene C2 og C4 på løftesylindermanifolden (Figur 39).
Fjern slangene fra tilbaketrekkingsportene på venstre og høyre løftesylinder (Figur 39).
Fjern slangene fra portene C1 og C3 på løftesylindermanifolden (Figur 39).
Note: Du trenger ikke lenger slangene.
Løfteutstyrets kapasitet: 91 kg
Note: Bortsett fra der det angis, skal du ta vare på delene som du fjerner. Du bruker disse til å montere utvidelsen for den midtre bommen.
Bruk løfteutstyr med den angitte kapasiteten til å støtte opp den ytre sprederseksjonen.
Fjern hårnålssplinten og splittpinnen som fester stangenden på løftesylinderen til svingbraketten (Figur 40).
Note: Ta vare på splittpinnen og hårnålssplinten for montering i Montere løftesylinderne.

Fjern flenslåsemutteren (5/16 tomme) og flenshodebolten (5/16 x 3/4 tomme) som fester svingbraketten til sylinderfestet (Figur 41).

Fjern svingbolten og løftesylinderen fra maskinen (Figur 41).
Utfør trinnene i Fjerne de ytre sprederseksjonene.
Løfteutstyrets kapasitet: 91 kg
Note: Hvis maskinen er utstyrt med settet for tildekket bom (valgfritt), ikke fjern dekslene på de ytre sprederseksjonene.
Løfting av tunge maskiner og tilbehør på feil måte kan føre til alvorlige skader og til og med dødsfall.
Når du løfter tunge maskiner og tilbehør, bruker du løfteutstyr som kjeder og stropper som er klassifisert for vekten på utstyret.
Note: Bortsett fra der det angis, skal du ta vare på delene som du fjerner. Du bruker disse til å montere utvidelsen for den midtre bommen.
Fjern flenshodebolten (5/16 x 1 tomme) og flenslåsemutteren (5/16 tomme) som fester svingbolten til svingbraketten (Figur 42).

Fjern svingbolten fra svingbraketten for den midtre sprederseksjonen og svingkoblingen for den ytre sprederseksjonen (Figur 42).
Note: Ta vare på flensbolten, flensmutteren og svingbolten for montering i Montere de ytre sprederseksjonene på maskinen.
Løsne den ytre sprederseksjonen fra den midtre sprederseksjonen, og fjern den ytre seksjonen fra maskinen (Figur 42).
Fjern de to nylonflensbøssingene fra svingkoblingen på den ytre sprederseksjonen (Figur 42).
Note: Avhend bøssingene.
Gjenta trinn 1 til 3 i Fjerne løftesylinderne for den ytre sprederseksjonen på den andre siden av maskinen.
Gjenta trinn 1 til 4 i denne delen for den ytre sprederseksjonen på den andre siden av maskinen.
Fjern seksjonsløftemanifolden fra sylinderfestet på følgende måte:
For maskiner uten valgfritt ultrasonisk bom-nivelleringssett: Fjern de to flenslåsemutterne (5/16 tomme) og de to flenshodeboltene (5/16 x 1 tomme) som fester støttebraketten for seksjonsløftemanifolden til sylinderfestet, og skill manifolden og braketten fra sylinderfestet (Figur 43).

For maskiner med valgfritt ultrasonisk bom-nivelleringssett: Fjern de to flenslåsemutterne (5/16 tomme) og de to flenshodeboltene (5/16 x 1 tomme) som fester støttebraketten for seksjonsløftemanifolden og TEC-styrerbraketten til sylinderfestet, og skill manifolden og braketten fra sylinderfestet (Figur 44).

Støtt seksjonsløftemanifolden ved å knytte den fast til sprederventilens monteringsbrakett med tau.
Note: Ta vare på støttebraketten og løftemanifolden, boltene og mutterne for montering i Montere løftesylindermanifolden til sylinderfestet.
Løfteutstyrets kapasitet: 41 kg
Hvis maskinen er utstyrt med settet for tildekket bom (valgfritt), fjern dekslet fra de midtre sprederseksjonene.
Støtt opp den midtre sprederseksjonen med løfteutstyr med den angitte kapasiteten (Figur 45).

Bruk en bit tape til å markere hullene hvor de fire flenshodeboltene (1/2 x 1 1/4 tomme) og fire flenslåsemutterne (1/2 tomme) fester støttebrakettene for den midtre sprederseksjonen til maskinens monteringsplate (Figur 46).

Fjern de fire flenshodeboltene (1/2 x 1 1/4 tomme) og fire flenslåsemutterne (1/2 tomme) som fester støttebrakettene for den midtre sprederseksjonen til monteringsplaten på maskinrammen, og fjern den midtre sprederseksjonen fra maskinen (Figur 47).
Note: Ta vare på boltene og mutterne for montering av den nye midtre sprederseksjonen.

Deler som er nødvendige for dette trinnet:
| Flenshodebolt (3/8 x 1 tomme) | 2 |
| Flenslåsemuttere (3/8 tomme) | 2 |
| Utvidelse for midtre bom | 1 |
| Sylinderfeste (bredt) | 1 |
| Festeplate (bred) | 1 |
| Låsebolt, (1/2 x 1-1/4 tomme) | 4 |
| Flenslåsemutter (1/2 tomme) | 4 |
Ved midtre sprederseksjon, fjern flenslåsemutteren som fester sprederdysen til dysefestet (Figur 48 og Figur 49).
Note: Ta vare på låsemutteren for montering i trinn 6 av Montere sprederdysene og slangene på den midtre sprederseksjonen.


Fjern skruen i rustfritt stål (nr. 12 x 1-1/4 tomme) som fester den øvre klemmehalvdelen og slangeskaftet med mothake på én eller begge sider (19 mm) til kroppen på hver sprederdyse, og løsne slangeskaftet med mothake og slangen fra dysen (Figur 50).
Note: Sekskantbolten (5/16 x 3/4 tomme – rustfritt stål) skiller seg fra den øvre klemmehalvdelen når du åpner klemmen. Ta vare på bolten for montering.

Fjern dysen fra den midtre sprederseksjonen (Figur 48 og Figur 49).
Gjenta trinn 1 og 2 for de to andre sprederdysene.
Note: Ta vare på sprederdysene, skruene i rustfritt stål og sekskantboltene for montering i trinn 6 og 7 i Montere sprederdysene og slangene for den midtre sprederseksjonen.
Fjern slangene (3/4 tommes indre diameter), slangeskaftene, klemmene og T-stykket med mothake fra den midtre sprederseksjonen (Figur 48).
Note: Du trenger ikke lenger slangen, slangeskaft, klemmer og T-kobling.
Løfteutstyrets kapasitet: 41 kg
Støtt opp den midtre sprederseksjonen med løfteutstyr med den angitte kapasiteten.
Fjern de to flenshodeboltene (⅜ x 1 tomme) og to flenslåsemutterne (⅜ tomme) som fester støttebraketten til den midtre sprederseksjonen, og fjern braketten (Figur 51).

Fjern de to flenshodeboltene (⅜ x 1 tomme) og to flenslåsemutterne (⅜ tomme) som fester den andre støttebraketten til den midtre sprederseksjonen, og fjern braketten (Figur 51).
Note: Ta vare på støttebrakettene, boltene og låsemutterne for montering i trinn 3 og 4 av Montere støttebrakettene på den midtre sprederseksjonen.
Fjern de to flenshodeboltene (3/8 x 1 tomme) og to låsemutterne (3/8 tomme) som fester de vertikale flensene til venstre og høyre støtterammer (Figur 52).

Fjern de to låseboltene (1/2 x 1-1/4 tomme) og to låsemutterne (1/2 tomme) som fester det smale sylinderfestet, venstre og høyre støtterammer og den smale festeplaten (Figur 53).

Note: Ta vare på flenshodeboltene, låseboltene og låsemutterne for montering i trinn 2 og 7 av Montere utvidelsen for midtre bom. Du har ikke lenger behov for det smale sylinderfestet og den smale festeplaten.
Løsne venstre og høyre støtterammer.
Innrett hullene i de vertikale flensene til den midtre bomseksjonen med hullene i støtterammen (Figur 54).

Monter utvidelsen for midtre bom løst til støtterammen (Figur 54) med de to flenshodeboltene (3/8 x 3/4 tomme) og to flenslåsemutterne (3/8 tomme) som du fjernet i trinn 1 av Løsne støtteavstiverne for den midtre sprederseksjonen.
Innrett hullene i de vertikale flensene til utvidelsen for midtre bom med hullene i den andre støtterammen (Figur 54).
Monter utvidelsen for midtre bom løst til den andre støtterammen (Figur 54) med de to flenshodeboltene (3/8 x 1 tomme) og to flenslåsemutterne (3/8 tomme) fra finishingsettet for GeoLink-spredersystemet Figur 54.
Innrett hullene i sylinderfestet med hullene i midtlinjen for støtterammen og utvidelsen for midtre bom (Figur 55).

Før festeplaten inn i støtterammen og utvidelsen av den midtre bommen, og innrett hullet i festeplaten med hullene i midtlinjen for rammeavstiverne og utvidelsen for midtre bom (Figur 55).
Monter sylinderfestet, avstivere, utvidelsen for midtre bom og festeplate med de to låseboltene (1/2 x 1-1/4 tomme) og to flenslåsemutterne (1/2 tomme) som du fjernet i trinn 2 av Løsne støtteavstiverne for den midtre sprederseksjonen, og de fire låseboltene (1/2 x 1-1/4 tomme) og fire flenslåsemutterne (1/2 tomme) fra finishingsettet for GeoLink-spredersystemet (Figur 55).
Stram flenshodeboltene og flenslåsemutterne (3/8 tomme) til 37–45 N m.
Stram flenslåsemutterne (1/2 tomme) til 91–113 N m.
Deler som er nødvendige for dette trinnet:
| Sprederdyse | 2 |
| Slangeenhet (sprederventil 5 eller 6) | 2 |
| Flenslåsemutter (5/16 tomme) | 2 |
Løfteutstyrets kapasitet: 55 kg
Støtt opp den midtre sprederseksjonen med løfteutstyr med den angitte kapasiteten.
Innrett hullene i høyre støttebrakett med hullene i høyre støtteramme, som vist i Figur 56.

Monter høyre støttebrakett til høyre støtteramme (Figur 56) med de to flenshodeboltene (3/8 x 1 tomme) og to flenslåsemutterne (3/8 tomme) som du fjernet i trinn 2 og 3 av Fjerne støttebrakettene fra den midtre sprederseksjonen.
Gjenta trinn 2 og 3 for venstre støttebrakett ved venstre støtteramme (Figur 56).
Stram flenshodeboltene og flensmutterne til 37–45 N m.
Bruk løfteutstyr til å heve den nye, midtre sprederseksjonen til en komfortabel arbeidshøyde.
Bruk sprederdyse 2 fra finishingsettet for GeoLink-spredersystemet og fjern skruen i rustfritt stål som fester den øvre klemmehalvdelen til salen (Figur 57).

Finn hullet i siden av slangeskaftet med mothake på én side i enden av slangen på 25 cm i slangeenheten (sprederventil 5 eller 6) for den midtre sprederseksjonen (Figur 57 og Figur 58).

Innrett overføringsrøret i salen på en sprederdyse (Figur 57) med hullet på siden av slangeskaftet med mothake på én side (1/2 tomme).
Lukk den øvre klemmehalvdelen rundt slangeskaftet med mothake og fest klemmehalvdelen og sprederdyseenheten (Figur 57) med skruen i rustfritt stål (nr. 12 x 1-1/4 tomme). Trekk til skruen i rustfritt stål til 14–18 N·m.
Important: Ikke stram skruen i rustfritt stål mer enn momentspesifikasjonen i trinn 5.
Note: Påse at sekskantbolten (5/16 x 3/4 tomme) sitter i fordypningen i den øvre klemmehalvdelen når du lukker klemmen.
Bruk sprederdysene, sekskantbolten og skruen i rustfritt stål som du fjernet i trinn 1 og 2 av Fjerne sprederdysene, og gjenta trinn 3 til og med 5 for slangeskaftet med mothake på én side (Figur 57 og Figur 58) i den andre enden av slangen (25 cm).
Bruk de to sprederdysene du fjernet i trinn 4 av Fjerne sprederdysene, og gjenta trinn 3 til 5 for slangeskaftet med mothake på én side i den andre slangeenheten (sprederventil 5 eller 6) for den midtre sprederseksjonen (Figur 57 og Figur 58).
Før slangen (13 mm) og dyseenheten mellom rammeavstiverne i den ytre delen av støtterammen (Figur 59).

Før slangen og dysen over rammeavstiveren og ut mot det ytre dysefestet (Figur 59).
Før sekskantbolten (5/16 x 3/4 tomme) for sprederdysen gjennom hullet i dysefestet og fest dysen løst til festet med en flenslåsemutter (5/16 tomme) fra finishingsettet for GeoLink-spredersystemet (Figur 60).

Før den andre slangen (13 mm) og dyseenheten mellom rammeavstiverne i den ytre delen av støtterammen (Figur 59).
Før slangen og dysen over rammeavstiveren og inn mot det indre dysefestet (Figur 59).
Innrett sekskantbolten (5/16 x 3/4 tomme) for sprederdysen gjennom hullet i dysefestet (Figur 60) og fest dysen løst til festet med en flenslåsemutter (5/16 tomme) som du fjernet i trinn 1 og 4 av Fjerne sprederdysene.
Stram flenslåsemutteren til 1978–2542 Ncm.
Før slangen og koblingen med mothaker (13 x 810 mm) til side for den midtre sprederseksjonen med venstre og høyre støttebraketter (Figur 59).
Gjenta trinn 1 til og med 8 for den andre slange- og dyseenheten ved den ytre delen av støtterammen (Figur 59 og Figur 60).
Deler som er nødvendige for dette trinnet:
| Hette (hurtigkobling) | 3 |
| Holder | 3 |
Fjern den øvre enden av omløpsslangen som følger:
For maskiner uten valgfritt håndholdt stav-sett eller elektrisk slangetrommelsett: Fjerne den lille holderen som fester hurtigfrakoblingsnippelen på omløpsslangen til hurtigfrakoblingen på høyre seksjonomløpsventil (Figur 61).

For maskiner med valgfritt håndholdt stav-sett eller valgfritt elektrisk slangetrommelsett, utfør følgende trinn:
Fjern holderen som fester hurtigkoblingen på avstengingsventilen til hurtigkoblingssokkelen i den høyre seksjonomløpsventilen, og skill ventilen fra sokkelen (Figur 62).

Fjern holderen som fester hurtigkoblingen på avstengingsventilen til hurtigkoblingssokkelen i 90°-koblingen med mothaker, og skill ventilen fra sokkelen (Figur 62).
Note: Behold avstengningsventilen og holderne for montering i Monter avstengningsventilen til omløpsslangen.
Fjern den store holderen som fester 90°-koblingen med mothaker på den nedre enden av omløpsslangen til skilleveggkoblingen på spredertanken (Figur 63).
Note: Ta vare på den store holderen for montering i trinn Montere omløpsslangene til tanken.

Fjern omløpsslangen fra maskinen.
Note: Du trenger ikke lenger omløpsslangen og det lille festet.
Fjern de tre holderne som fester de tre ventilaktuatorene til venstre, midtre og høyre seksjonsventiler (Figur 64).

Fjern ventilaktuatorene fra venstre, midtre og høyre seksjonsventiler (Figur 64).
Fjern holderen som fester lokket til hurtigkoblingssokkelen for omløpsventilen, og fjern lokket (Figur 65).
Note: Du trenger ikke lenger lokket.

Fjern de tre holderne som fester de tre omløpsventilene til venstre, midtre og høyre seksjonsventiler (Figur 66).

Løft omløpsventilene fra seksjonsventilene (Figur 66).
Roter omløpsventilene 180°, og monter dem på hurtigfrakoblingsniplene til seksjonsventilene (Figur 66).
Fest de tre omløpsventilene på seksjonsventilene med de tre holderne som du fjernet i trinn 4 (Figur 66).
Sett pluggen i hurtigkoblingen på omløpsventilen (Figur 67).

Fest pluggen til hurtigkoblingen med holderen du fjernet i trinn 3 (Figur 67).
Monter de tre ventilaktuatorene på venstre, midtre og høyre seksjonsventiler (Figur 64) med holderne som du fjernet i trinn 1.
Note: Du legger til seksjonsventilene til ventilene for ti-ventilspredersystemet GeoLink i Montere de tre seksjonsventilene til ventilfestet.
Fjern de to flenshodeboltene (1/4 x 3/4 tomme) og to låsemutterne (1/4 tomme) som fester venstre bomseksjonsventil til manifoldfestet (Figur 68).
Note: Du trenger ikke lenger de to flenshodeboltene og låsemutterne.

Fjern de to flenshodeboltene (1/4 x 3/4 tomme) og to låsemutterne (1/4 tomme) som fester høyre bomseksjonsventil til manifoldfestet (Figur 68).
Fjern flensklemmen (40–64 mm) og pakningen (25 x 35 mm) som fester flensen på venstre seksjonsventil til adapteren (Figur 68).
Note: Ta vare på de to flenshodeboltene, to låsemutterne, flensklemmen og pakningen for montering i Montere de tre seksjonsventilene til ventilfestet.

Fjern de tre seksjonsventilene fra maskinen (Figur 69).
Fjern merkene fra aktuatorene på de tre seksjonsventilene (Figur 70).

Fjern flensklemmen (51 mm) og pakningen (38 mm) som fester flensen på adapteren til flensen på strømningsmåleren (Figur 71).
Note: Ta vare på flensklemmen og pakningen for montering i Montere manifolden til strømningsmåleren.

Deler som er nødvendige for dette trinnet:
| Strømningsmålerfeste | 1 |
| Støtteklemmehalvdel | 4 |
| Bolt (1/2 x 4 1/4 tommer) | 4 |
| Flenslåsemuttere (1/4 tomme) | 4 |
Koble kontakten med tre sokler på maskinledningssatsen merket STRøMNINGSMåLER fra kontakten med tre pinner på strømningsmåleren (Figur 72).

Fjern de to skyvefestene på maskinledningssatsen fra den nederste flensen på seksjonsventilbraketten (Figur 72).
Fjern de fire flenshodeskruene (5/16 x 3/4 tomme) som fester seksjonsventilbraketten til ventilfestet, og fjern ventilbraketten fra maskinen (Figur 73).
Note: Ta vare på de fire flenshodeskruene for montering i Montere strømningsmålerens feste og klemmer. Du trenger ikke lenger seksjonsventilbraketten.

Innrett hullene i strømningsmålerbraketten med hullene i ventilfestet (Figur 74).

Monter strømningsmålerbraketten til ventilfestet med de fire flenshodeskruene som du fjernet i trinn 3 av Fjerne seksjonsventilbraketten, og stram skruene til 1978–2542 Ncm.
Plasser to støtteklemmehalvdeler mellom strømningsmåleren og strømningsmålerbraketten, og innrett hullene i klemmehalvdelen med hullene i braketten (Figur 75).

Rett inn en støtteklemmehalvdel på baksiden av strømningsmåleren med støtteklemmehalvdelen du monterte i trinn 3 (Figur 75).
Monter paret med støtteklemmehalvdeler til strømningsmålerbraketten (Figur 75) med to bolter (1/4 x 4 1/2 tomme) og to flenslåsemuttere (1/4 tomme).
Gjenta trinn 4 og 5 på den andre klemmehalvdelen du monterte i trinn 3.
Stram boltene og mutterne til 1017–1243 Ncm.
Deler som er nødvendige for dette trinnet:
| Bakre ledningssats | 1 |
| Kabelfeste | 7 |


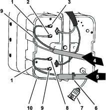
Finn den 84 cm lange ledningssatsforgreningen, den 60 cm lange ledningssatsforgreningen og den 66 cm lange ledningssatsforgrening av settets ledningssats (Figur 76 og Figur 77).
Før den 84 cm lange, den 60 cm lange og 66 cm lange ledningssatsforgreningen av settets ledningssats til maskinens venstre side langs maskinledningssatsen (Figur 78 og Figur 79).


Før den 84 cm lange, den 60 cm lange og 66 cm lange ledningssatsforgreningen av settets ledningssats fremover langs venstre rammekanal (Figur 81 og Figur 82).



Før den 84 cm lange, den 60 cm lange og 66 cm lange ledningssatsforgreningen av settets ledningssats langs maskinledningssatsen, utenfor parkeringsbremseenheten (Figur 83).

Før den 84 cm lange, den 60 cm lange og 66 cm lange ledningssatsforgreningen av settets ledningssats på tvers av støtdemperrøret, som vist i Figur 84.

Fest settets ledningssats til maskinledningssatsen, som vist i Figur 82, Figur 83 og Figur 84.
Bak på maskinen, før den 89 cm lange ledningssatsforgreningen foran løftemanifolden og til høyre for strømningsmåleren, som vist i Figur 85.

Før den 102 cm lange ledningssatsforgreningen bak løftemanifolden og til høyre, som vist i Figur 85.
Koble kontakten med tre pinner på den 89 cm lange ledningssatsforgreningen merket VENSTRE SPREDER til kontakten med tre sokler på maskinledningssatsen merket VENSTRE SPREDERVENTIL (Figur 86).

Koble kontakten med tre pinner på settets ledningssats merket MIDTRE SPREDER til kontakten med tre sokler på maskinledningssatsen merket MIDTRE SPREDERVENTIL (Figur 86).
Koble kontakten med tre pinner på settets ledningssats merket HøYRE SPREDER til kontakten med tre sokler på maskinledningssatsen merket HøYRE SPREDERVENTIL (Figur 86).
Sett skyvefestet til settets ledningssats inn i hullet i flensen på strømningsmålerbraketten (Figur 86).
Koble den elektriske kontakten med tre sokler på den 89 cm lange ledningssatsforgreningen merket STRøMNINGSMåLER til kontakten med tre pinner på strømningsmåleren (Figur 87).

Koble kontakten med tre pinner på den 89 cm lange ledningssatsforgreningen merket HOVEDVENTIL til kontakten med tre sokler på maskinledningssatsen merket HOVEDSPREDERVENTIL (Figur 88).

Koble kontakten med tre pinner på aktuatoren for hovedsprederventilen til kontakten med tre sokler på den 89 cm lange forgreningen av settets ledningssats merket HOVEDVENTIL (Figur 88).
Koble kontakten med fire pinner på aktuatoren for hastighetsventilen til kontakten med fire sokler på den 89 cm lange forgreningen av settets ledningssats merket HASTIGHETSVENTIL (Figur 89).

Deler som er nødvendige for dette trinnet:
| Rett slangemothake (1 x 2 tommer) | 1 |
| Slangeklemme (19,1–38,1 mm) | 3 |
| Slange (3 x 5-1/4 tomme) | 1 |
| Manifold | 1 |
| Slange (1 x 16 tommer) | 1 |
Monter slangen (1 x 5 3/4 tomme) på den rette slangemothaken (1 x 2 tommer) med en slangeklemme (3/4–1 1/2 tomme), og stram klemmen for hånd (Figur 90).

Monter den andre enden av slangen (1 x 5 3/4 tomme) på koblingen med mothaker på manifolden med en slangeklemme, som vist i Figur 90. Stram slangeklemmen for hånd.
Monter slangen (1 x 16 tommer) på den andre koblingen med mothaker på manifolden med en slangeklemme, og stram klemmen for hånd (Figur 90).
Monter den rette slangemothaken (1 x 2 tommer) til flensen på strømningsmåleren med pakningen (38 mm) og flensklemmen (51 mm) som du fjernet i trinn 6 av Fjerne seksjonsventilene fra manifoldfestet.

Stram til flensklemmen for hånd (Figur 91).
Deler som er nødvendige for dette trinnet:
| Omløpsslangeenhet | 1 |
| Avstengingsventil | 1 |
Som vist i Figur 92, fjern holderen fra 90°-hurtigkoblingen.

Monter avstengningsventilen i hurtigfrakoblingens sokkel (Figur 92).
Fest ventilen til koblingen med holderen som du fjernet i trinn 1.
Monter avstengningsventilen og holderen som du fjernet i trinn 1 av Fjerne seksjonsomløpsslangen, til den andre hurtigkoblingssokkelen (Figur 92).
Innrett omløpsslangeenheten til spredertanken (Figur 93).


Monter 90°-koblingen med mothaker til skilleveggkoblingen på spredertanken, og fest koblingene med holderen du fjernet i trinn 2 av Fjerne seksjonsomløpsslangen.
Løfteutstyrets kapasitet: 55 kg
Bruk løfteutstyr med angitt løftekapasitet til å heve den midtre sprederseksjonen, og innrett hullene støttebraketten for sprederseksjonen (Figur 94) med hullene i monteringsplaten for maskinrammen som du identifiserte i trinn 3 av Fjerne den midtre sprederseksjonen.

Monter den midtre sprederseksjonen til monteringskanalene (Figur 94) med de fire flenshodeboltene (1/2 x 1 1/4 tomme) og fire flenslåsemutterne (1/2 tomme) som du fjernet i trinn 4 i Fjerne den midtre sprederseksjonen.
Stram mutterne og boltene til 91–113 N m.
Løsne løftemanifolden fra ventilfestebraketten.
Monter seksjonsløftemanifolden til sylinderfestet på følgende måte:
For maskiner uten valgfritt ultrasonisk bom-nivelleringssett:
Rett inn hullene i støttebraketten for seksjonsløftemanifolden med hullene i sylinderfestet (Figur 95).

Monter støttebraketten til sylinderfestet (Figur 95) med de to flenshodeboltene (5/16 x 1 tomme) og flenslåsemutterne (5/16 tomme) som du fjernet i trinn 1 av Fjerne seksjonsløftemanifolden fra den midtre sprederseksjonen.
For maskiner med valgfritt ultrasonisk bom-nivelleringssett:
Rett inn hullene i støttebraketten for seksjonsløftemanifolden og TEC-styrerbraketten med hullene i sylinderfestet.

Monter støttebraketten og TEC-braketten til sylinderfestet (Figur 96) med de to flenshodeboltene (5/16 x 1 tomme) og flenslåsemutterne (5/16 tomme) som du fjernet i trinn 1 av Fjerne seksjonsløftemanifolden fra den midtre sprederseksjonen.
Stram boltene og mutterne til 1978 til 2542 Ncm.
Deler som er nødvendige for dette trinnet:
| Ventilfeste og sprederventilenhet | 1 |
| Bolt (4 x 10 mm) | 3 |
| ASC 10-sprederkontroller | 1 |
| Flenslåsemutter (4 mm) | 3 |
| Lokk (hurtigfrakoblingsnippel) | 2 |
| Flenshodebolter (5/16 x 3/4 tomme) | 8 |
| Flenslåsemuttere (5/16 tomme) | 8 |
| Slangeklemme | 1 |
| Skyvefeste (kabelfeste) | 1 |
| Skyvefeste (kontaktforankring) | 3 |
Innrett ASC 10-sprederkontrolleren mot forsiden av ventilfestet med kontakten med fire pinner vendt utover (Figur 97).

Monter sprederkontrolleren til ventilfestet (Figur 97) med fire bolter (3 x 10 mm) og fire flenslåsemuttere (3 mm).
Note: Ikke bruk det øvre, utvendige hullet i ASC 10-sprederkontrolleren.
Stram boltene og låsemutterne til 234–286 N∙cm.
Fjern holderne som fester ventilaktuatorene for dyseventil 1 til 7 (Figur 98).

Fjern ventilaktuatorene fra dyseventil 1 til 7 (Figur 98).
Fjern holderne som fester pluggene til soklene på hurtigfrakoblingen på dyseventil 5 og dyseventil 6, og fjern pluggene (Figur 99).
Note: Du trenger ikke lenger pluggene. Ta vare på holderne for montering i Montere seksjonsomløpsslangene – maskiner med valgfritt håndholdt stav-sett eller elektrisk slangetrommelsett.

Fjern holderne som fester omløpsventilene til dyseventil 1 til 7 (Figur 100).

Løft omløpsventilene fra dyseventil 1 til 5 (Figur 100).
Roter omløpsventilene 180°, og monter dem på hurtigfrakoblingsniplene til seksjonsventilene (Figur 101).

Fest omløpsventilene på seksjonsventilene med holderne (Figur 101) som du fjernet i trinn 4.
Gjenta trinn 5 til 7 for omløpsventilene for dyseventil 6 og dyseventil 7 (Figur 102).

Monter lokkene på hurtigfrakoblingsniplene for omløpsventilene for dyseventil 5 og dyseventil 6 med holderne som følger med lokkene (Figur 101).

Monter ventilaktuatorene på dyseventil 1 til 7 (Figur 98) med holderne som du fjernet i trinn 1.
Monter de tre seksjonsventilene (Figur 104) som du fjernet i trinn 8 av Fjerne seksjonsventilene fra manifoldfestet, på flensen til ventil 7 på sprederventilenheten med flensklemmen og pakningen som du fjernet i trinn 4 av Fjerne seksjonsventilene fra manifoldfestet.
Important: Venstre, midtre og høyre seksjonsventiler identifiseres i GeoLink-spredersystemet som følger: venstre seksjonsventil – dyseventil 8, midtre seksjonsventil – dyseventil 9, høyre seksjonsventil – dyseventil 10.

Fest sokkelen på hurtigskillekoblingen for omløpsventilen på dyseventil 8 til hurtigskillekoblingen for omløpsventilen på dyseventil 7 med holderen du fjernet i trinn 8 av Fjerne seksjonsventilene fra manifoldfestet.

Monter dyseventil 10 til ventilfestet (Figur 106 eller Figur 107) med de to flenshodeboltene (1/4 x 3/4 tomme) og to låsemutterne (1/4 tomme) som du fjernet i trinn 2 av Fjerne seksjonsventilene fra manifoldfestet.


Stram flenshodeboltene og låsemutterne til 1017 til 1243 Ncm.
Løfteutstyrets kapasitet: 23 kg
Bruk løfteutstyr med den angitte kapasiteten til å støtte opp ventilfeste- og sprederventilenheten, og innrette den over den midtre sprederseksjonen (Figur 108).

Rett inn hullene på monteringsbraketten for ventilfestet med hullene i støtterammen for midtre sprederseksjon (Figur 109).

Monter ventilfestet til støtterammen (Figur 109 og Figur 110) med fire bolter (5/16 x 3/4 tomme) og fire flenslåsemuttere (5/16 tomme).

Gjenta trinn 2 til 3 for den andre festebraketten for ventilfestet på den andre støtterammen.
Stram flenshodeboltene og flenslåsemutterne til 19,78 til 25,42 N·m.
Monter slangen (1 x 16 tommer) over 90°-flenskoblingen (1 tomme), som vist i Figur 111.

Fest slangen til flenskoblingen med en slangeklemme (Figur 111).
Monter kabelfestet/skyvefestet inn i hullet øverst på ventilfestet, som vist i Figur 111.
Fest kabelfestet/skyvefestet (Figur 111) rundt slangen (1 x 16 tommer).
Fjern holderne fra soklene på hurtigkoblingene.
Monter hurtigkoblingen på omløpsslangen til hurtigfrakoblingsnippelen på omløpsventilen ved dyseventil 10 (Figur 112).

Fest hurtigfrakoblingsniplene for omløpsslangen og omløpsventilen med holderen (Figur 112).
Gjenta trinn 1 til 3 for hurtigfrakoblingsniplene ved dyseventil 1.
Monter hurtigfrakoblingsnippelen for omløpsavstengingsventilen med hurtigfrakoblingsnippelen (sokkel) for omløpsventilen (Figur 113).

Fest hurtigfrakoblingsniplene for omløpsavstengingsventilen og omløpsventilen med holderen (Figur 113) som du fjernet i trinn 3 av Plassering av omløpsventilene – maskiner uten valgfritt håndsprederstavsett eller valgfritt elektrisk slangetrommelsett.
Gjenta trinn 1 og 2 for omløpsavstengingsventilen og omløpsventilen på den andre siden av maskinen.
Monter skyvefestenes kontaktforankringer i hullene i ventilfestet (Figur 114).


Koble kontakten med tre sokler (Figur 115) på den 89 cm lange forgreningen av settets ledningssats merket DYSEVENTIL 1) i kontakten med tre pinner på ventilaktuatoren lengst til venstre (posisjon 1).
Note: Ventilaktuatorposisjon 1 til 10 er oppstilt fra venstre til høyre når du står bak maskinen.
Koble kontakten med tre sokler (Figur 115) på den 89 cm lange forgreningen av settets ledningssats merket DYSEVENTIL 2) i kontakten med tre pinner på ventilaktuatoren (posisjon 2).
Koble de gjenstående kontaktene med tre sokler på den 89 cm lange forgreningen av settets ledningssats i kontaktene med tre pinner på ventilaktuatorene (Figur 115).
Note: Påse at kontakten med tre sokler er koblet til samsvarende ventilaktuatorposisjon.
Deler som er nødvendige for dette trinnet:
| Hydraulikkslange (1/4 x 24-3/4 tomme) | 4 |
Innrett den faste enden av løftesylinderen som du fjernet i trinn 3 av Fjerne løftesylinderne, med hullet på 16 mm i sylinderfestet (Figur 116).
Note: Påse at utvidelses- og tilbaketrekkingsportene for sylinderen er innrettet med hverandre.

Monter sylinderen til sylinderfestet med svingbolten, flenshodebolten og flensmutteren (Figur 116).
Stram bolten og mutteren til 1978 til 2542 N·cm.
Gjenta trinn 1 til og med 3 for den andre løftesylinderen på den andre siden av sylinderfestet.
Monter en ny hydraulikkslange (1/4 x 24-3/4 tomme) mellom utvidelsesporten på venstre løftesylinder og port C3 på bomløftemanifolden (Figur 117).

Monter en ny hydraulikkslange (1/4 tomme x 24-3/4 tomme) mellom tilbaketrekkingsporten på venstre løftesylinder og port C4 på bomløftemanifolden (Figur 117).
Monter en ny hydraulikkslange (1/4 tomme x 24-3/4 tomme) mellom utvidelsesporten på høyre løftesylinder og port C1 på bomløftemanifolden (Figur 118).

Monter en ny hydraulikkslange (1/4 x 24-3/4 tomme ) mellom tilbaketrekkingsporten på høyre løftesylinder og port C2 på bomløftemanifolden (Figur 118).
Stram slangekoblingene ved utvidelses- og tilbaketrekkingsportene for løftesylinderne (Figur 117 og Figur 118) til 21–26 N·m.
Stram svingmutterne for slangene ved bomløftmanifolden (Figur 117 og Figur 118) til 24–30 N·m.
Deler som er nødvendige for dette trinnet:
| Nylonflensbøssing | 4 |
| Kabelfeste | 1 |
| Forsyningsslangeenhet 188 cm | 1 |
| Forsyningsslangeenhet 234 cm | 1 |
| Forsyningsslangeenhet 279 cm | 1 |
Kutt slangen mellom to sprederdyser (Figur 119).

Fjern flenslåsemutteren (5/16 tomme) som fester sprederdysen til dysestøtten (Figur 119).
Gjenta trinn 2 og 1 for de tre andre dysene.
Note: Ta vare på flenslåsemutteren og sprederdysen for montering i Montere sprederdysene på de ytre sprederseksjonene.
Note: Kast slangene, klemmene og T-koblingen som du fjernet fra maskinen.
Gjenta trinn 2 til 3 på den andre ytre sprederseksjonen.
Bruk de åtte sprederdysene du fjernet i trinn 1, og fjern skruene i rustfritt stål (nr. 12 x 1-1/4 tomme) som fester den øvre klemmehalvdelen og slangeskaftet med mothake på én eller begge sider (19 mm) i kroppen på hver sprederdyse, og fjern slangeskaftene med mothake (Figur 120).
Note: Sekskantbolten (5/16 x 3/4 tomme – rustfritt stål) skiller seg fra den øvre klemmehalvdelen når du åpner klemmen. Ta vare på bolten for montering.

Løfteutstyrets kapasitet: 91 kg
Støtt opp den ytre bomseksjonen med løfteutstyr med den angitte kapasiteten.
Før en nylonflensbøssing inn i hullet på 31,8 mm på hver side av svingkoblingen (Figur 121).

Rett inn hylsene i svingkoblingen med hullene i flensene på svingbraketten i enden av den midtre sprederseksjonen (Figur 122).

Monter svingkoblingen til svingbraketten med svingbolten, flensbolten (5/16 x 1 tomme) og flenslåsemutteren (5/16 tomme) som du fjernet i trinn 2 i Fjerne de ytre sprederseksjonene.
Stram bolten og mutteren til 1978–2542 Ncm.
Rett inn stangenden på løftesylinderen med hullet på 25 mm i hornet på svingkoblingen (Figur 123).

Fest løftesylinderen til svingkoblingen med splittpinnen og hårnålssplintpinnen (Figur 123) du fjernet i trinn 2 i Fjerne løftesylinderne.
Gjenta trinn 1 til 7 for den ytre sprederseksjonen på den andre siden av maskinen.
Deler som er nødvendige for dette trinnet:
| Forsyningsslange 279 cm | 2 |
| Forsyningsslange 234 cm | 2 |
| Forsyningsslange 188 cm | 4 |
| Forsyningsslange 81 cm | 2 |
Identifiser forsyningsslangene etter lengden (Figur 124) for hver av sprederdysestillingene som følger:
| Sprederdysestillinger – venstre sprederseksjon | Sprederdysestillinger – midtre sprederseksjon | Sprederdysestillinger – høyre sprederseksjon |
|---|---|---|
| Sprederdyse 1 (dyseventil 1) – forsyningsslange 279 cm | Sprederdyse 5 og 6 (dyseventil 5) – forsyningsslange 81 cm med to delslanger | Sprederdyse 9 (dyseventil 7) – forsyningsslange 188 cm |
| Sprederdyse 2 (dyseventil 2) – forsyningsslange 234 cm | Sprederdyse 7 og 8 (dyseventil 6) – forsyningsslange 81 cm med to delslanger | Sprederdyse 10 (dyseventil 8) – forsyningsslange 188 cm |
| Sprederdyse 3 (dyseventil 3) – forsyningsslange 188 cm | Sprederdyse 11 (dyseventil 9) – forsyningsslange 234 cm | |
| Sprederdyse 4 (dyseventil 4) – forsyningsslange 188 cm | Sprederdyse 12 (dyseventil 10) – forsyningsslange 279 cm |
Note: Se Figur 125 i Montere slangene til dyseventil 1 til og med 4, Figur 126 i Montere slangene til dyseventil 5 og 6 og Figur 127 i Montere slangene til dyseventil 7 til 10 for dyseventilstillinger.

Monter den rette koblingen med mothaker på en forsyningsslange på 279 cm på koblingen på dyseventil 1 (Figur 125).
Note: Påse at koblingen med mothaker er helt fast på koblingen.

Fest koblingen med mothaker til koblingen med en holder (Figur 125).
Monter den rette koblingen med mothaker på en forsyningsslange på 234 cm på koblingen på dyseventil 2 (Figur 125).
Note: Påse at koblingen med mothaker er helt fast på koblingen.
Fest koblingen med mothaker til koblingen med en holder (Figur 125).
Monter den rette koblingen med mothaker på en forsyningsslange på 188 cm på koblingen på dyseventil 3 (Figur 125).
Note: Påse at koblingen med mothaker er helt fast på koblingen.
Fest koblingen med mothaker til koblingen med en holder (Figur 125).
Monter den rette koblingen med mothaker på en forsyningsslange på 188 cm på koblingen på dyseventil 4 (Figur 125).
Note: Påse at koblingen med mothaker er helt fast på koblingen.
Fest koblingen med mothaker til koblingen med en holder (Figur 125).
Note: Forsyningsslangeenhet 81 cm har et T-stykke med to delslanger og to slangeskaft med mothake på én side.
Monter den rette koblingen med mothaker på en forsyningsslange på 81 cm på koblingen på dyseventil 5 (Figur 126).
Note: Påse at koblingen med mothaker er helt fast på koblingen.

Fest koblingen med mothaker til koblingen med en holder (Figur 126).
Monter den rette koblingen med mothaker på en forsyningsslange på 81 cm på koblingen på dyseventil 6 (Figur 126).
Note: Påse at koblingen med mothaker er helt fast på koblingen.
Fest koblingen med mothaker til koblingen med en holder (Figur 126).
Monter den rette koblingen med mothaker på en forsyningsslange på 188 cm på koblingen på dyseventil 7 (Figur 127).
Note: Påse at koblingen med mothaker er helt fast på koblingen.

Fest koblingen med mothaker til koblingen med en holder (Figur 127).
Monter den rette koblingen med mothaker på en forsyningsslange på 188 cm på koblingen på dyseventil 8 (Figur 127).
Note: Påse at koblingen med mothaker er helt fast på koblingen.
Fest koblingen med mothaker til koblingen med en holder (Figur 127).
Monter den rette koblingen med mothaker på en forsyningsslange på 234 cm på koblingen på dyseventil 9 (Figur 127).
Note: Påse at koblingen med mothaker er helt fast på koblingen.
Fest koblingen med mothaker til koblingen med en holder (Figur 127).
Monter den rette koblingen med mothaker på en forsyningsslange på 279 cm på koblingen på dyseventil 10 (Figur 127).
Note: Påse at koblingen med mothaker er helt fast på koblingen.
Fest koblingen med mothaker til koblingen med en holder (Figur 127).
Før slangene for sprederdyse 1, 2, 3 og 4 gjennom R-klemmen på venstre utside av den midtre sprederseksjonen (Figur 128 og Figur 129).


Før slangene for sprederdyse 7, 8, 9 og 10 gjennom R-klemmen på høyre utside av den midtre sprederseksjonen (Figur 128 og Figur 129).
Før forsyningsslangene på 279 cm og slangeskaftene med mothake (3/4 tomme) langs sprederseksjonen til sprederdyse 1 og 10, som vist i Figur 128 og Figur 129.
Før forsyningsslangene på 234 cm og slangeskaftene med mothake (3/4 tomme) langs sprederseksjonen til sprederdyse 2 og 9, som vist i Figur 128 og Figur 129.
Før forsyningsslangene på 188 cm og slangeskaftene med mothake (3/4 tomme) langs sprederseksjonen til sprederdyse 3 og 8, som vist i Figur 128 og Figur 129.
Note: Før slangene gjennom de nedre, bakre gummitetningene i rørrammebrakettene.
Før forsyningsslangene på 188 cm og slangeskaftene med mothake (3/4 tomme) langs sprederseksjonen til sprederdyse 4 og 7, som vist i Figur 128 og Figur 129.
Note: Før slangene gjennom de nedre, bakre gummitetningene i rørrammebrakettene.
Bunt de fire slangene for sprederdysene sammen med et kabelfeste som vist i Figur 129.
Innrett overføringsrøret i salen på en sprederdyse (Figur 130) med hullet på siden av slangeskaftet med mothake på én side (13 mm).

Lukk den øvre klemmehalvdelen rundt slangeskaftet med mothake og fest klemmehalvdelen og sprederdyseenheten (Figur 130) med skruen i rustfritt stål (nr. 12 x 1-1/4 tomme). Trekk til skruen i rustfritt stål til 14–18 N·m.
Note: Påse at sekskantbolten (5/16 x 3/4 tomme) sitter i fordypningen i den øvre klemmehalvdelen når du lukker klemmen.
Monter sprederdysene på den ytre sprederseksjonen på følgende måte:
Ved dyseposisjon 1 og 4, monter sprederdysen til dysefestet (A i Figur 131) med flenslåsemutteren (5/16 tomme) som du fjernet i trinn 2 av Fjerne sprederdysene fra de ytre sprederseksjonene.
Ved dyseposisjon 2 og 3, monter sprederdysen til dysefestet (A og B i Figur 131) med flenslåsemutteren (5/16 tomme) som du fjernet i trinn 2 av Fjerne sprederdysene fra de ytre sprederseksjonene.

Stram flenslåsemutteren til 1978–2542 Ncm.
Gjenta trinn 1 til 4 for de andre sprederdysene for sprederseksjonen.
Gjenta trinn 1 til 5 for den ytre sprederseksjonen på den andre siden av maskinen.
Sett kontakten med tre sokler på den 61 cm lange forgreningen av settets ledningssats merket GRøNN KILE FOR TRYKKOMFORMER inn i kontakten med tre pinner på trykkomformeren (Figur 132).

Sett kontakten med 40 sokler på den 102 cm lange forgreningen av settets ledningssats inn i kontakten med 40 pinner på ASC 10-sprederkontrolleren (Figur 133).

Skru vingeskruen på kontakten med 40 sokler på ASC 10-kontakten for hånd (Figur 133).
Sett kontakt med fire sokler merket TIL ASC 10 inn i kontakten med fire pinner på ASC 10-sprederkontrolleren (Figur 134).

Monter 90°-koblingen på avstengingsventilen for det valgfrie håndsprederstavsettet eller elektriske slangetrommelsettet på flensen på dyseventil 10 med flensklemmen og pakningen, og stram klemmen for hånd (Figur 136).

Innrett enden av det trykkfølsomme røret (plast) for trykkmåleren i dashbordpanelet med klemhylsen for rørkoblingen 90°-koblingen på avstengningsventilen til håndsprederstavsettet eller det elektriske slangetrommelsettet (Figur 137).

Skyv det trykkfølsomme røret inn i klemhylsen inntil røret er helt på plass (Figur 137).
Deler som er nødvendige for dette trinnet:
| Kabelfeste | 6 |
Flytt rørene for skumdysene til venstre og høyre sprederseksjon bakover og gjennom R-klemmen nær svingpunktet for hver ytre sprederseksjon (Figur 139).


Før rørene frem langs venstre side av spredertanken (Figur 139).
Fest rørene for venstre og høyre skummarkørdyser til sprederrørene med fire kabelfester, som vist i Figur 139.
Fest rørene for venstre og høyre skummarkørdyser til rørene for ristingen med to kabelfester, som vist i Figur 139.
Trekk skumslangene til høyre bom, som vist i Figur 140.


Sett det gjennomsiktige røret i luftkoblingen på sidekompressorplaten (Figur 140 og Figur 141).

Sett det blå røret inn i væskekoblingen på sidekompressorplaten (Figur 140 og Figur 141).
Trekk skumslangene til venstre bom, som vist i Figur 140.
Sett det gjennomsiktige røret i luftkoblingen på sidekompressorplaten (Figur 140 og Figur 141).
Sett det blå røret inn i væskekoblingen på sidekompressorplaten (Figur 140 og Figur 141).
Koble røret med kabelfeste som du forberedte i trinn 9 av Klargjøre de nye rørenhetene for skummarkørdysene, ved å innrette det blå røret for den høyre sprederseksjonen med kompresjonskoblingen for høyre sprederseksjons vannkrets (Figur 142).

Monter kompresjonsmutteren for røret på koblingen og trekk til mutteren for hånd (Figur 142).
Innrett det gjennomsiktige røret for den høyre sprederseksjonen med kompresjonskoblingen for høyre sprederseksjons luftkrets (Figur 142).
Monter kompresjonsmutteren for røret på koblingen og trekk til mutteren for hånd (Figur 142).
Koble til det umerkede røret (uten kabelfeste) ved å innrette det blå røret for den venstre sprederseksjonen med kompresjonskoblingen for venstre sprederseksjons vannkrets (Figur 143).

Monter kompresjonsmutteren for røret på koblingen og trekk til mutteren for hånd (Figur 143).
Innrett det gjennomsiktige røret for den venstre sprederseksjonen til kompresjonskoblingen for venstre sprederseksjons luftkrets (Figur 143).
Monter kompresjonsmutteren for røret på koblingen og trekk til mutteren for hånd (Figur 143).
Fest skummarkørslangen til sprederdyseslangene med to kabelfester (Figur 139).
Koble til kontakten med tre sokler i ledningssatsen for den soniske bommen, til koblingen med tre pinner for den høyre ultrasoniske sensoren (A av Figur 144)

Koble til kontakten med tre sokler i ledningssatsen for den soniske bommen, til kontakten med tre pinner i kabelen for den venstre ultrasoniske sensoren (B av Figur 144)
Deler som er nødvendige for dette trinnet:
| Dekselutvidelsesenhet (tolv dyser – Toro-delenr. 120-0621) | 1 |
| Popnagle (Toro-delenr. 114439) | 22 |
| Støttebrakett (midtre bomseksjonsdeksel – Toro-delenr. 131–3703–03) | 4 |
| Klipsmutter (Toro-delenr. 94-2413) | 4 |
| Flenshodebolter (3/8 x 1-1/4 tomme – Toro-delenr. 110-5050) | 16 |
| Flenslåsemuttere (3/8 tomme – Toro-delenr. 104-8301) | 16 |
| Dekselstropp (Toro-delenr. 120–0629) | 2 |
| Flenshodebolter (5/16 x 1-1/4 tomme – Toro-delenr. 323-36) | 4 |
Bruk en drill med 5 mm bor til å bore ut de elleve blindnaglene (Figur 145) som fester forsterkningsplaten (med en enkel rad med nagler) og gummidekslet til enden av seksjonsdekslet med elleve dyser for den midtre sprederseksjonen som du fjernet i trinn 2 av Fjerne midtre seksjonsdeksel (11 dyser) i tildekket bomsett (valgfritt).


Fjern forsterkningsplaten, elleve skiver (3/16 tomme) og gummidekslet fra bomdekslet med elleve dyser (Figur 145).
Note: Ta vare på forsterkningsplaten, skivene og gummidekslet montering i trinn 5 og 6.
Innrett hullene i forsterkningsplaten (dobbel rad) på dekselutvidelsen med hullene i enden av bomdekslet med elleve dyser (Figur 146).

Fest dekselutvidelsen til seksjonsdekslet med elleve dyser (Figur 147) med elleve popnagler (Toro-delenr. 114439).

Innrett hullene i gummidekslet og forsterkningsplaten (enkel rad) som du fjernet i trinn 2 med hullene i enden av dekselutvidelsen (Figur 148).

Fest forsterkningsplaten og gummidekslet på dekselutvidelsen med de elleve popnaglene (Toro-delenr. 114439) og de elleve skivene (3/16 tomme) som du fjernet i trinn 5.
Note: Rett inn skivene (3/16 tomme) mot innsiden av dekselutvidelsen.
Monter de fire klipsmutterne (Toro-delenr. 94-2413) på de to støttebrakettene på det midtre seksjonsdekslet (Toro-delenr. 131–3703–03), som vist i Figur 149.

Ved utvidelsen av den midtre sprederseksjonen, finn de to hullparene i støtterammens vertikale overflate med 25 mm mellomrom mellom hullene (Figur 150).


Innrett hullene i støttebraketten (Toro-delenr. 131–3703–03) med hullene i utvidelsen for den midtre sprederseksjonen som du identifiserte i trinn 2, med den brede flensen på braketten til venstre. Se Figur 150.
Monter støttebraketten til støtterammen (Figur 150) med fire flenshodebolter (⅜ x 1¼ tomme – Toro-delenr. 110-5050) og fire flenslåsemuttere (⅜ tomme – Toro-delenr. 104-8301).
Gjenta trinn 2 til 4 ved de to andre hullparene i utvidelsen for den midtre sprederseksjonen og den andre støttebraketten, flenshodeboltene og flenslåsemutterne.
Stram mutterne og boltene til 37–45 N m.
Rett inn hullene i det midtre seksjonsdekslet med hullene i støttebraketten for det midtre seksjonsdekslet (Figur 151).

Innrett hullene i to av dekselstroppene som du fjernet i trinn 1 av Fjerne midtre seksjonsdeksel (11 dyser) i tildekket bomsett (valgfritt) med slangen i dekslet og to av støttebrakettene (Figur 151).
Monter dekselstroppene og dekslet til støttebrakettene med de fire flenshodeboltene (5/16 x 1-1/4 tomme) som du fjernet i trinn 1 av Fjerne midtre seksjonsdeksel (11 dyser) i tildekket bomsett (valgfritt).
Innrett hullene i de to dekselstroppene (Toro-delenr. 120-0629) med de fire gjenværende hullene i dekslet og de fire gjenværende hullene i støttebrakettene (Figur 151).
Monter dekselstroppene og dekslet til støttebrakettene (Figur 151) med de fire flenshodeboltene (5/16 x 1-1/4 tomme – Toro-delenr. 323-36).
Trekk til boltene til 1978 til 2542 N·cm.
Deler som er nødvendige for dette trinnet:
| Mottakerplate | 1 |
| Avstandsstykke (⅜ x 1 tomme) | 1 |
| Mottakerfeste | 1 |
| Bolt (⅜ x 3¼ tomme) | 1 |
| Låseskive (⅜ tomme) | 1 |
| Skive (⅜ x 13/16 tomme) | 1 |
| Flenslåsemutter (3/8 tomme) | 1 |
| Flenshodebolt (5/16 x 3/4 tomme) | 1 |
| Flenslåsemutter (5/16 tomme) | 1 |
| Flenshodebolt (⅜ x 1½ tomme) | 2 |
| Avstandsstykke (⅜ x 7/16 tomme) | 2 |
| Navigasjonsmottaker – X25 GeoLink-presisjonsspredersystemsett, base, WAAS (modell 41630) | 1 |
| Sekskantbolter (5 x 16 mm) | 3 |
| Skive (5 mm) | 3 |
| Skilleveggadapter (valgfritt CDMA-RTK-korrigeringsmodemsett eller GSM-RTK-korrigeringsmodemsett) | 1 |
| Mobilantenne (CDMA-RTK-korrigeringsmodemsett eller GSM-RTK-korrigeringsmodemsett – tilbehør) | 1 |
| Koaksialkabel (CDMA-RTK-korrigeringsmodemsett eller GSM-RTK-korrigeringsmodemsett – tilbehør) | 1 |
Innrett hullene i navigasjonsmottakerplaten, avstandsstykket (3/8 x 1 tomme) og mottakerfestet (Figur 152).

Monter mottakerplaten og avstandsstykket til festet med en bolt (3/8 x 3 1/4 tomme), låseskive (3/8 tomme), skive (3/8 x 13/16 tomme) og flenslåsemutter (3/8 tomme), som vist i Figur 152.
Monter flenshodebolten (5/16 x 3/4 tomme) og flenslåsemutteren (5/16 tomme) gjennom den lille hullet i mottakerfestet og slissen i mottakerplaten (Figur 152).
Stram boltene og mutterne slik at du kan rotere mottakerplaten med lett motstand.
Monter mottakerfestet og avstandsstykket (3/8 x 7/16 tomme) til veltebøylen med flenshodebolten (3/8 x 1 1/2 tomme), som vist i Figur 153.

Stram boltene slik at du kan rotere mottakerplaten med lett motstand.
Sørg for at mottakerplaten er plan fra venstre til høyre (Figur 154).

Trekk til flenshodebolten (5/16 x 3/4 tomme) og flenslåsemutteren (5/16 tomme) til 1978–2542 Ncm.
Sørg for at mottakerplaten er plan fra foran til bak (Figur 154).
Trekk til bolten (3/8 x 3 1/4 tomme) og flenslåsemutteren (3/8 tomme) til 37–45 N·m.
Note: Monter RTK-antennen hvis maskinen er utstyrt med et CDMA RTK- eller GSM RTK-korrigeringsmodem.
Innrett koaksialkoblingen gjennom åpningen i RTK-antenneflensen med gjengene i skilleveggen i koblingen (Figur 156).
Note: Roter koaksialkoblingen som nødvendig for å innrette den flate siden av gjengene i skilleveggen med den flate siden ved åpningen i RTK-antenneflensen.

Monter koaksialkoblingen til flensen på mottakerplaten med låseskiven og låsemutteren, og stram til låsemutteren for hånd (Figur 156).
Monter RTK-antennen på den øvre koblingen til koaksialkoblingen, og stram til den riflede antennemutteren for hånd (Figur 157).

Monter antennekabelen løst til den nedre koblingen på koaksialkoblingen (Figur 157).
Før kabelen rundt bak på navigasjonsmottakeren til koaksialkontakten for CDMA- eller GSM-mobilmodemet (Figur 157).
Monter antennekabelen til koaksialkontakten for CDMA- eller GSM-mobilmodemet (Figur 157).
Stram til antennekabelens riflede muttere for hånd.
Deler som er nødvendige for dette trinnet:
| Monitorfeste | 1 |
| Flenshodebolt (6 x 12 mm) | 3 |
| U-bolt (5/16 tomme) | 2 |
| Flenslåsemutter (5/16 tomme) | 8 |
| Kulefeste | 1 |
| Flenshodebolt (5/16 x 3/4 tomme) | 4 |
| Monitor – X25 GeoLink-presisjonsspredersystemsett, base, WAAS (modell 41630) | 1 |
| Monitorarm – X25 GeoLink-presisjonsspredersystemsett, base, WAAS (modell 41630) | 1 |
Innrett monitorfestet på maskinen, som vist i Figur 159.

Monter monitorfestet til styreventilhuset (Figur 160) med de tre flenshodeboltene (6 x 12 mm).

Monter platen for monitorfestet til støtterøret på maskinchassiset (Figur 161) med de to U-boltene og fire flenslåsemutterne (5/16 tomme).

Trekk til de tre flenshodeboltene (6 x 12 mm) på styreventilen til 972–1198 Ncm. Ved støtterøret, trekk til flenslåsemutterne til 19,78–25,42 Ncm.
Rett inn teipmerket på rattet med teipmerket på styreventilhuset (Figur 162).

Monter rattet på akselen for styreventilen (Figur 162) med skiven (5/8 tomme) og mutteren (5/8 tomme) som du fjernet i trinn 3 av Fjerne rattet.
Trekk til mutteren med et moment på 206–254 N·m.
Monter dekselet som du fjernet i trinn 2 av Fjerne rattet, på rattet (Figur 168).
Monter kulefestet til braketten for monitorfestet (Figur 163) med de fire flenshodeboltene (5/16 x ¾ tomme) og fire flenslåsemutterne (5/16 tomme).

Stram boltene og mutterne til 1978 til 2542 Ncm.
Monter kulekoblingen for monitoren og kulefestet til monitorarmen på maskinen (Figur 164).

Juster monitoren slik at den er synlig fra maskinens operatørposisjon, og stram knotten på monitorarmen for hånd (Figur 164).
Koble kontakten med to sokler på maskinens ledningssats merket med SPREDERPUMPESPOLE fra generatorens kontakt med to pinner (Figur 165).

Koble kontakten med to pinner på settets ledningssatsforgrening (84 cm) merket PUMPECLUTCH til kontakten med to sokler på maskinledningssatsen merket SPREDERPUMPESPOLE (Figur 166).

Koble kontakten med to sokler på settets ledningssats merket PUMPECLUTCH til kontakten med to pinner på generatoren (Figur 166).
Trekk ledningssatsforgreningen (84 cm) mot motoren og sprederpumpen slik at den har klaring fra generatorremmen (Figur 167).

Deler som er nødvendige for dette trinnet:
| Batteribrakett | 1 |
| Bolt (5/16 x 1¾ tommer) | 1 |
| Skive (5/16 tomme) | 1 |
| Batteri (540 A) | 1 |
| Batteriholder | 1 |
| Flenslåsemutter (5/16 tomme) | 1 |
| Generatorrembrakett | 1 |
| Drivremskive (279 mm) | 1 |
| Bolt (¼ x 2¼ tommer) | 4 |
| Låseskive (¼ tomme) | 4 |
| Vekselstrømsgenerator (60 A) | 1 |
| Flenshodebolt (8 x 25 mm) | 1 |
| Flenshodebolt (⅜ x 1½ tomme) | 1 |
| V-rem | 1 |
Fjern de to flenslåsemutterne og tilholderstangen fra de to J-boltene som fester batteriet til batteribraketten på maskinen (Figur 168).

Fjern batteriet fra maskinen (Figur 168).
Note: Du trenger ikke lenger flensmutterne, tilholderstangen og batteriet (300 A).
Fjern boltene (10-24 x 3/4 tomme) og mutterne (10-24) som fester sikringsblokkene til batteribraketten (Figur 169).
Note: Ta vare på boltene (10-24 x 3/4 tomme) og mutterne (10-24) for montering i Montere batteribraketten og batteriet (540 A).

Fjern de to flenshodeboltene (⅜ x ¾ tomme) som fester batteribraketten til støtdemperrøret på maskinen (Figur 169).
Note: Ta vare på flenshodebolten (3/8 x 3/4 tomme) for montering Montere batteribraketten og batteriet (540 A).
Fjern de to J-boltene og batteriholderen fra batteribraketten (Figur 170).

Fjern batteribraketten fra maskinen (Figur 171).
Note: Du trenger ikke lenger J-boltene, batteriholderen og batteribraketten.

Innrett den nye batteribraketten til støtdemperrøret på maskinen og sikringsblokkene (Figur 172).

Monter batteribraketten på støtdemperrøret (Figur 173) med de to flenshodeboltene (3/8 x 3/4 tomme) som du tok vare på i trinn 4 av Fjerne batteriet (300 A) og batteribraketten.

Trekk til flenshodeboltene med et moment på 37–45 N·m.
Fest sikringsblokkene til batteribraketten (Figur 173) med bolten (10–24 x 3/4 tomme) og mutterne (10-24) som du fjernet i trinn 3 av Fjerne batteriet (300 A) og batteribraketten.
Monter batteriet på batteribraketten med bolten (5/16 x 1 3/4 tomme), skiven (5/16 tomme), batteriholderen og flenslåsemutteren (5/16 tomme), som vist i Figur 174.

Stram bolten og mutteren til 1978–2542 Ncm.
Ved pumpehodet, løsne de to boltene plassert i klokken 11-stillingen, som vist Figur 175, for å skape en 7–10 mm klaring mellom bolthodene og pumpen.
Note: Du behøver ikke fjerne boltene fra sprederpumpen.

Innrett generatorbraketten mellom boltene som du løsnet og som vist i trinn 1, og pumpehodet Figur 176.

Trekk til boltene med et moment på 61–75 N·m.
Løsne mutteren for lederullakselen (Figur 177).
Note: Påse at remmen ikke er spent.

Roter remspenningsbolten for å fjerne all spenningen fra sprederpumperemmen (Figur 177).
Fjern de fire boltene (¼ x 1 tomme) og fire låseskivene (¼ tomme) som fester remskiven til sprederpumpen (Figur 178).
Important: Ikke fjern remskiven.
Note: Du trenger ikke lenger boltene og låseskivene.

Innrett hullene i remskiven for generatoren (settet) med hullene i remskiven for sprederpumpen (Figur 179).

Monter generatorremskiven til sprederpumperemskiven og sprederpumpen med de fire boltene (¼ x 2¼ tomme) og fire låseskivene (¼ tomme).
Trekk til boltene med et moment på 1017–1243 N·m.
Roter remspenningsbolten for å øke spenningen til remmen til du kan måle en nedbøyning på 9,5 mm når du påfører 4,5 kg kraft på remmen halvveis mellom motoren og sprederpumpetannhjulene.

Trekk til mutteren for lederullakselen til 37–44 N·m.
Monter generatoren (60 A) på det gjengede navet på generatorbraketten (Figur 181) med flenshodebolten (3/8 x 1 1/2 tomme).

Monter generatorens gjengede flens til flensen med spor på generatorbraketten (Figur 181) med flenshodebolten (8 x 25 mm).
Monter V-remmen over drivremskiven (279 mm) og remskiven på generatoren (Figur 182).

Roter generatoren (Figur 183) oppover for å øke spenningen på remmen til du kan måle en nedbøyning på 9,5 mm når du påfører 4,5 kg kraft på remmen halvveis mellom generatorskiven og drivremskiven (279 mm).

Trekk til flenshodebolten (8 x 25 mm) til 23–29 N·m.
Trekk til flenshodebolten (3/8 x 1 1/2 tomme) med et moment på 37–45 N·m.
Deler som er nødvendige for dette trinnet:
| Relé | 1 |
| Skyvefeste | 1 |
| Sikring (15 A) | 1 |
| Sikring (50 A) | 1 |
Koble kontakten med to sokler i enden av den rosa ledningen (57 cm) på settets ledningssats (Figur 184) til kontakten med to pinner på generatoren (50 A).

Før den rosa følerledningen vekk fra generatorremmen, og fest den med et kabelfeste.
Fjern mutteren fra terminalpolen (Figur 185) på generatoren (50 A).

Monter den røde generatorledningen (trådmål 6) til terminalpolen på generatoren (50 A) med mutteren (Figur 185).
Før den røde generatorledningen mot batteripolene og bort fra remskiven og generatorremmen.
Trekk til mutteren med et moment på 47–57 N·m.
Skjær en slisse i isolatordekselet over terminalpolen på generatoren (Figur 185).
Bruk et multimeter for å utføre en test av ledningssammenhengen.
Ved maskinens sikringsblokk 3, sett multimetersensoren i kontakt 4 (høyre kolonne) for sikringssokkel 2, som vist i Figur 187.

Ved forsiden av sikringsblokkene, bruk den andre multimetersensoren til å identifisere bladkontakten på enden av den røde ledningen (trådmål 10) som er koblet til sikringssokkel 2 – kontakt 4.

Bruk teip for å merke kontakten og ledningen som du fant i trinn 3 (Figur 188).
Koble bladkontakten som du merket i trinn 4, til sokkelkontakten i enden av den rosa ledningen (51 mm) på settets ledningssats (Figur 189).

Sett sikringen (15 A) inn i sikringssokkel 2 i sikringsblokk 3 til sikringen sitter helt fast (Figur 190).

Sett sikringen (50 A) inn i den integrerte sikringsblokken til sikringen sitter helt fast (Figur 191).

Deler som er nødvendige for dette trinnet:
| Dataledningssats (navigasjonssystem) – GeoLink-presisjonsspredersystemsett (modell 41630) | 1 |
| Batteriledningssats (navigasjonssystem) – GeoLink-presisjonsspredersystemsett (modell 41630) | 1 |
| Kabelfeste | 8 |
| Hurtigklemme (rødt håndtak) | 1 |
| Hurtigklemme (svart håndtak) | 1 |

Important: Noen kontakter i dataledningssatsen blir ikke brukt. Påse at hettene og pluggene til de ubrukte kontaktene er godt festet.
Koble kontakten med tre sokler (grensesnitt for elektrisk strøm) i navigasjonssystemets elektriske ledningssats til kontakten med tre pinner (grensesnitt for elektrisk strøm) i dataledningssatsen (Figur 192).


Før den 390 cm lange forgreningen av dataledningssats langs baksiden av det venstre, vertikale veltebøylerøret.

Før den 390 cm lange forgreningen av dataledningssatsen langs høyre veltebeskyttelsesrør med kontakten med tolv sokler (grå) og kontakten med tolv sokler (svart) opp mot navigasjonsmottakeren (Figur 196).

Innrett de to kilene på den lange siden av den grå og svarte kontakten med tolv sokler i dataledningssatsen med de to sporene i den nedre, vertikale veggen i den venstre (grå) kontakten med tolv pinner i navigasjonsmottakeren (Figur 197).
Note: Vær forsiktig når du kobler ledningssatsen til navigasjonsmottakeren. Innrettingskilene på ledningssatsens kontakter skal passe inn i kilesporene på kontaktene med pinner på navigasjonsmottakeren.

Koble den grå og svarte kontakten med tolv sokler i dataledningssatsen til den venstre (grå) kontakten med tolv pinner i navigasjonsmottakeren til kontaktene klikker på plass (Figur 197).
Innrett de to kilene på den korte siden av den svarte kontakten med tolv sokler i dataledningssatsen med de to kilesporene i den venstre, vertikale veggen i den høyre (svarte) kontakten med tolv pinner i navigasjonsmottakeren (Figur 197).
Note: Vær forsiktig når du kobler ledningssatsen til navigasjonsmottakeren. Innrettingskilene på ledningssatsens kontakter skal passe inn i kilesporene på kontaktene med pinner på navigasjonsmottakeren.
Koble den helt svarte kontakten med tolv sokler i dataledningssatsen til den venstre (svarte) kontakten med tolv pinner i navigasjonsmottakeren til kontakten klikker på plass (Figur 197).
Fest dem 390 cm lange forgreningen av dataledningssatsen til høyre veltebeskyttelsesrør med to kabelfester, som vist i Figur 196.
Note: Påse at kabelen er slakk mellom kontakten med tolv sokler og kabelfestet.


Trekk dataledningssatsen og batteriledningssatsen ned baksiden av det venstre, vertikale veltebøylerøret til tverrbjelken for setestøtten (Figur 200).

Fest den 390 cm lange forgreningen av dataledningssatsen for navigasjonsmottakeren til veltebøylen, som vist i Figur 200.
Koble kontakten med én pinne på batteriets ledningssats merket *** VIKTIG*** DENNE LEDNINGEN SKAL KUN KOBLES TIL EN SVITSJET 12 V STRøMKILDE til kontakten med én sokkel på den 66 cm lange forgreningen av settets ledningssats (Figur 201) merket (SVITSJET STRøM FOR 2. GEN. TOPCON).

Koble kontakten med fire pinner på den 66 cm lange forgreningen av settets ledningssats merket ASC 10-STRøM OG CAN FRA X30 til kontakten med fire sokler på forgreningen av dataledningssatsen merket CAN 2/ASC 10-BUSS (Figur 201).
Trekk dataledningssatsen og batteriledningssatsen på tvers av tverrbjelken for setestøtten, og fest den 390 cm lange forgreningen av dataledningssatsen til tverrbjelken med to kabelfester (Figur 200 og Figur 202).

Trekk den 220 cm lange forgreningen av batteriledningssatsen langs det høyre, øvre rammerøret (Figur 202).
Trekk den 220 cm lange forgreningen av batteriledningssatsen på tvers av støtdemperrøret mot batteriet (Figur 202).
Note: Påse at den 100 cm lange forgreningen for det elektriske tilkoblingspunktet (svitsjet strøm) forblir trukket mot det høyre, øvre rammerøret.
Trekk den 220 cm lange forgrening av dataledningssatsen (ledningssatsforgreningen med kontakt med 26 sokler) under kontrollkonsollen og frem mot instrumentpanelet (Figur 202).

Trekk den 220 cm lange forgrening av dataledningssatsen (ledningssatsforgreningen med kontakt med 26 sokler) frem og under instrumentpanelet (Figur 204).

Trekk den 220 cm lange forgreningen av dataledningssatsen langs støtterøret for monitoren (Figur 204).
Innrett kontakten med 26 sokler i dataledningssatsen med kontakten med 26 pinner i sprederskjermen, og trykk sokkelkontakten inn i pinnekontakten inntil kontakten klikker på plass (Figur 205).

Påse at den 220 cm lange forgreningen av dataledningssatsen har nok slakk til at sprederoperatøren kan justere posisjonen til monitoren, og fest ledningssatsen til støtterøret for monitoren med kabelfester, som vist i Figur 204.
Fjern sekskantmutterne og skivene fra hurtigklemmene med røde og svarte håndtak (Figur 206).

Åpne låsehåndtaket til hurtigklemmen med det svarte håndtaket (Figur 207).

Monter hurtigklemmen på den negative batteripolen, med gjengestangen til klemmen innrettet mot midten av batteriet, som vist i Figur 206.
Lukk låsehåndtaket på hurtigklemmen (Figur 207).
Note: Hvis du må justere holdekraften til hurtigklemmen, åpner du håndtaket, roter den riflede mutteren for å øke eller redusere holdekraften, og lukker håndtaket på klemmen.
Gjenta trinn 2 til 4 for hurtigklemmen med det røde håndtaket på den positive batteripolen.
Feilaktig ruting av batterikabler kan skade maskinen og kablene og forårsake gnister. Gnistene kan føre til at batterigassene eksploderer, noe som kan forårsake personskade.
Ta alltid av den negative (svarte) batterikabelen før du kobler fra den positive (røde) kabelen.
Koble alltid til den positive (røde) batterikabelen før du setter på den negative (svarte) kabelen.
Batteripolene eller metallverktøy kan kortslutte mot metallkomponenter og forårsake gnister. Gnistene kan føre til at batterigassene eksploderer, noe som kan forårsake personskade.
Når du fjerner eller monterer batteriet, må du passe på at batteripolene ikke berører metalldeler på maskinen.
La ikke metallverktøy kortslutte mellom batteripolene og metalldeler på maskinen.

Skjær en slisse i isolatordekselet på den positive batterikabelen til startermotoren, som vist i Figur 209.

Monter følgende lednings- og kabelklemmer på gjengestangen til den positive batteriklemmen (Figur 210) i følgende rekkefølge:
Note: Påse at batterikabelklemmen (positiv) til startmotoren er plassert øverst i klemmestabelen på gjengestangen.
Ringterminal – 22 cm maskinledningssats merket BATTERI (+)
Ringterminal – 220 cm forgrening av batteriledningssats merket ***VIKTIG*** KOBLE DENNE LEDNINGEN TIL DEN POSITIVE POLEN På BATTERIET
Ringterminal – 60 cm forgrening av settets ledningssats merket TIL BATTERI PLUSS
Batterikabelklemme (positiv) - til generator (50 A)
Batterikabelklemme (positiv) - til startmotor

Monter sekskantmutteren (1/4 tomme) og skiven (1/4 tomme) på gjengestangen, og stram mutteren til 1017–1234 Ncm.
Innrett isolatordekselet på den positive batterikabelen til startermotoren over gjengestangen Figur 210.
Monter følgende lednings- og kabelklemmer på gjengestangen til den negative batteriklemmen (Figur 211) i følgende rekkefølge:
Note: Påse at batterikabelklemmen (negativ) til motorens og chassisets gods er plassert øverst i klemmestabelen på gjengestangen.
Ringterminal – 220 cm forgrening av batteriledningssats merket (***VIKTIG*** KOBLE DENNE LEDNINGEN TIL DEN NEGATIVE POLEN På BATTERIET SOM ER KOBLET TIL TRAKTORENS RAMME)
Ringterminal – 60 cm forgrening av settets ledningssats – batteri minus
Batterikabelklemme (negativ) – til motorens og chassisets gods

Samle den overskytende lengden av dataledningssatsen mot høyre, øvre rammerør (Figur 212).

Innrett dataledningssatsen til støtdemperrøret, og fest ledningssatsen til røret med et kabelfeste (Figur 212).
Innrett dataledningssatsbunten til det høyre, øvre rammerøret, og fest ledningssatsbunten til rammerøret med et kabelfeste (Figur 212).
Påse at det er klaring mellom remskivene og remmene og dataledningssatsen, batteriledningssatsen, settets ledningssats og batteriledningene.
Fest ledningssatsen og kablene med kabelfester som nødvendig for å gi klaring fra remmene og remskivene.
Deler som er nødvendige for dette trinnet:
| Skyvefeste | 13 |
Innrett hullene i panseret med hullene i instrumentpanelet og maskinrammen (Figur 213).

Fest panseret til dashbordet og rammen med ni skyvefester (Figur 213).
Koble de to elektriske kontaktene (med to sokler) på maskinens ledningssats til kontaktene med to pinner på venstre og høyre frontlys (Figur 214).

Innrett det indre skjermdekslet til venstre, øvre og venstre, nedre rammerør (Figur 214).

Fest det indre skjermdekslet til rammerørene med de seks skyvefestene (Figur 215).
Innrett hullene i skjermen med hullene i maskinrammen, som vist i Figur 215.

Monter skjermen løst til rammen (Figur 216) med de tre boltene (5/16 x 1 tomme) og tre skivene (5/16 tomme) som du fjernet i trinn 2 av Fjerne venstre og høyre forskjermer.
Fest skjermen til rammekanalen med de to skyvefestene (Figur 217).

Trekk til bolten (5/16 x 1 tomme) til 1978–2542 Ncm.
Gjenta trinn 1 til 6 for det indre skjermdekselet og skjermen på motsatt side av maskinen.
Innrett setet og seteplaten til maskinens chassis (Figur 219).

Innrett hullene i svingkoblingenene til seteplaten med hullene i chassisbraketten (Figur 220).


Monter seteplaten til chassisbrakettene med de to svingboltene (Figur 220).
Fest svingboltene til maskinen med de to hårnålssplintene (Figur 220).
Monter støttestangen til braketten for setet med skiven og hårnålssplinten (Figur 221).

Koble kontakten med to sokler på maskinledningssatsen til koblingen for setebryteren til koblingene klikker sammen (Figur 222).

Roter setet litt fremover, fjern støttestangen fra sperren, roter setet ned til setet låses på plass.
Sett nøkkelen inn i nøkkelbryteren, og vri den til På-posisjonen.
Oppstartsskjermbildet vises i InfoCenter-displayet og indikatorlampen lyser en kort stund (Figur 223).
Note: Ikke start motoren.

På Hjem-skjermen trykker du på midtknappen i InfoCenter for å gå til navigasjonsskjermen (Figur 224).

Trykk på midtknappen i InfoCenter to ganger for å gå til Hovedmeny (Figur 224).
På HOVEDMENY-skjermen trykker du på høyre-knappen for å bla til INNSTILLING-alternativet, og trykk så på høyre-knappen for å velge alternativet (Figur 225).

På INNSTILLING-skjermen trykker du på høyre-knappen for å bla til BESKYTTEDE INNSTILLINGER-alternativet, og trykk så på høyre-knappen for å velge alternativet.

Angi PIN-koden som følger:
Trykk på midtknappen for å angi PIN-kodesifferet for venstre posisjon (Figur 227).

Trykk på høyre-knappen for å bla til neste PIN-kodesifferposisjon (Figur 227).
Gjenta trinn 1 og 2 for de tre andre PIN-kodesifferposisjonene.
Når alle PIN-kodesifrene er angitt, trykk på høyre-knappen (Figur 227) og trykk deretter på høyre-knappen for å angi PIN-koden (Figur 228).
Indikatorlampen lyser en kort stund.

Trykk på midtknappen for å gå til GEOLINK-alternativet, og trykk på høyre-knappen for å velge alternativet (Figur 229).

GeoLink-bekreftelsesskjermen vises i InfoCenter (Figur 230).

Drei tenningsbryteren i AV-stillingen og deretter til På-stillingen.
Oppstartsskjermbildet for GEOLINK vises først når tenningsnøkkelen vris til På-stillingen.

Vri tenningsnøkkelen til stillingen RUN (Kjør – bensin) eller PREHEAT/RUN (forvarm/kjør – diesel).
Kontroller at alle de følgende komponentene indikerer at de mottar strøm:
Vri tenningsnøkkelen tilAV-stillingen.
Kontroller at strømmen er slått for følgende komponenter:
Kontrollkonsoll
Satellittmottaker
Automatisk seksjonskontroller
Vri tenningsnøkkelen til stillingen RUN (Kjør – bensin) eller PREHEAT/RUN (forvarm/kjør – diesel).
Trykk på OM (Toro)-ikonet i øvre venstre hjørne av kontrollkonsollen (Figur 235).

Sammenlign programvareversjonsnumrene på følgende steder:
Når den brukes, omslagssiden til programvareveiledningen for GeoLink-systemet
Vises i kommandokonsollen
Note: Hvis programvareversjonene ikke stemmer overens, kontakt Toro NSN på 1-844-GEOLINK (1-844-436-5465) eller NSNTech@toro.com for kundeservice.
Velg måleenhetene. Se brukerhåndboken eller programvareveiledningen for GeoLink-systemet.
Opprett et nytt areal. Se brukerhåndboken eller programvareveiledningen for GeoLink-systemet.
Opprett en ny produkt- og sprøytemengdeoppføring. Se brukerhåndboken eller programvareveiledningen for GeoLink-systemet.
Balansere dyseventilene ved å utføre følgende prosedyrer:
Velge sprederdysen – forberede balansering av dyseventilene. Se brukerhåndboken eller programvareveiledningen for GeoLink-systemet.
Velge sprederdyseventilen – veiviser for balansering – trinn 1 til 3. Se brukerhåndboken eller programvareveiledningen for GeoLink-systemet.
Velge sprederdyseventilen – veiviser for balansering – trinn 4 til 6. Se brukerhåndboken eller programvareveiledningen for GeoLink-systemet.
Trykk på Jobb-menyen og trykk på ikonet OPPRETT NY JOBB (Figur 236).

Bruk skjermtastaturet til å skrive inn et navn for den generelle jobben, og trykk på Bekreft-ikonet (Figur 236).
Trykk på DYSE-ikonet (Figur 237) i dialogboksen for ny jobb.

Trykk på et hvilket som helst dyseikon i listen over valg av dyse, og trykk på Bekreft-ikonet (Figur 237).
Trykk på Bekreft-ikonet (Figur 238) i dialogboksen for ny jobb.

Sett på parkeringsbremsen.
Hell 200 l med vann i spredertanken. Se brukerhåndboken for maskinen.
Start motoren, og sett motorhastigheten til hurtig.
Trykk på ikonet SPRøYTEMENGDEKONTROLLER (Figur 239) på GeoLink-kontrollkonsollen.

Trykk på MENGDEKONTROLLMODUS-ikonet i dialogboksen for sprøytemengdekontroller til manuell modus vises (Figur 239).
Bruk ikonet for reduksjon (-) eller økning (+) for å justere spredersystemtrykket (Figur 239) til 13,75 bar.
Sett hovedseksjonsbryteren i På-stillingen (Figur 240) på maskinen.

Trykk på HOVEDBRYTER-ikonet (Figur 241) til På (grønn) på GeoLink-kontrollkonsollen.

Kontroller alle sprederkoblingene og -komponentene for lekkasjer.
Note: Hvis du finner lekkasjer, slår du av motoren og reparerer koblingen eller komponenten.
Sett på parkeringsbremsen, og start motoren.
Note: La motoren og hydraulikksystemet få varme seg opp i ti minutter.
Sett hovedseksjonsbryteren i AV-stillingen.
Sett sprederpumpebryteren og tankristebryteren i På-stillingen.
Sett venstre, midtre og høyre seksjonsbryter i På-stillingen.
Sett motorhastigheten til hurtig.
Trykk på ikonet SPRøYTEMENGDEKONTROLLER på GeoLink-kontrollkonsollen.
Trykk på MENGDEKONTROLLMODUS-ikonet i dialogboksen for sprøytemengdekontroller til manuell modus vises (Figur 242).

Trykk på ikonet for reduksjon (-) eller økning (+) for å justere spredersystemtrykket (Figur 242) til 6,9 bar.
Sett tankristebryteren i AV-stillingen på maskinen.
Se på spredersystemtrykket. Hvis spredersystemtrykket er 6,9 bar, er risteventilen riktig justert.
Hvis spredersystemtrykket er endret, justerer du risteomløpsventilen. Se Justere risteomløpsventilen.
Med tankristebryteren i AV-stilling går du til baksiden av maskinen og finner risteomløpsventilen.

Juster risteomløpsventilen (Figur 243) til måleren indikerer spredersystemtrykk på 6,9 bar.
Sett tankristebryteren i På-stillingen, og se på spredersystemtrykket.
Note: Hvis trykkmåleren for spredersystemet indikerer mer enn eller mindre enn 6,9 bar, gjenta trinn 1 og 2.
Sett tankristebryteren i AV-stillingen, og se på spredersystemtrykket.
Note: Hvis trykkmåleren for spredersystemet indikerer mer enn eller mindre enn 6,9 bar, gjenta trinn 1 og 2.
Kalibrer strømningsmåleren. Se brukerhåndboken eller programvareveiledningen for GeoLink-systemet.
Flytt maskinen utendørs, vekk fra bygninger og kraftledninger.
Sett på parkeringsbremsen.
Trykk på GPS-INFORMASJON-ikonet (Figur 244) på GeoLink-kontrollkonsollen.

Trykk på ikonet CELLEDIAGNOSTIKK, og kontroller at mobilstatusfeltet viser N-TRIP TILKOBLET, MOTTAR DATA(Figur 245).
Note: Hvis mobilstatusfeltet viser en annen melding enn N-TRIP TILKOBLET, MOTTAR DATA, kontakt Toro NSN ved 1-844-(1-844-436-5465) eller NSNTech@toro.com for kundeservice.

Trykk på Bekreft-ikonet for å lukke dialogboksen.
Utfør en kompasskalibrering på distributørens sted. Se Kalibrere kompasset i brukerhåndboken eller programvareveiledningen for GeoLink-systemet.
Important: Du må slette det permanente RAM-minnet på kundens sted.
Kontakt Toro NSN på 1-844-GEOLINK (1-844-436-5465) eller NSNTech@toro.com for kundeservice for å be om å slette forhandlerens passord på tilgangsnivå.
Vri tenningsnøkkelen til På-stillingen.
Trykk på OPPSETT-ikonet på hovedskjermen (Figur 246).

Trykk på BRUKER-ikonet i oppsett-skjermbildet, og trykk på TILGANGSNIVå-ikonet (Figur 247).

Trykk på PASSORD-ikonet (Figur 247).
Bruk skjermtastaturet til å skrive inn passordet du mottok i trinn 1, og trykk på Bekreft-ikonet (Figur 248).

Note: Skjermbildet for brukertilgangsnivå viser FORHANDLER-ikonet (Figur 249).

Trykk på SYSTEM-ikonet, GPS-ikonet og AVANSERT KONFIGURASJON-ikonet (Figur 250) i oppsett-skjermbildet.

Trykk på TILBAKESTILL NVRAM-ikonet (Figur 250) i skjermbildet Avansert GPS -konfigurasjon.
Trykk på JA-ikonet (Figur 250) i dialogboksen for advarsel om GPS-mottak.
Note: Advarselen Mottaker frakoblet (Figur 251) vises en kort stund.

Vent i 2 minutter på oppstarten av satellittmottakeren og modemet.
Trykk på AVSLUTT OPPSETT-ikonet

Vri tenningsbryteren til AV-stillingen.
Utfør en kompasskalibrering ved kundens sted. Se Kalibrere kompasset i brukerhåndboken eller programvareveiledningen for GeoLink-systemet.