Das GeoLink™ Sprühsystem ist ein Anbaugerät für ein Rasensprühfahrzeug und sollte nur von geschulten Lohnarbeitern in gewerblichen Anwendungen eingesetzt werden. Es ist hauptsächlich für das Sprühen von Gras auf gepflegten Grünflächen in Parkanlagen, Golfplätzen, Sportplätzen und öffentlichen Anlagen gedacht. Der zweckfremde Einsatz dieser Maschine kann für Sie und Unbeteiligte gefährlich sein.
Lesen Sie diese Informationen sorgfältig durch, um sich mit dem ordnungsgemäßen Einsatz und der Wartung des Geräts vertraut zu machen und Verletzungen und eine Beschädigung des Geräts zu vermeiden. Sie tragen die Verantwortung für einen ordnungsgemäßen und sicheren Einsatz des Geräts.
Besuchen Sie Toro.com, hinsichtlich Produktsicherheit und Schulungsunterlagen, Zubehörinformationen, Standort eines Händlers, oder Registrierung des Produkts.
Wenden Sie sich an Ihren autorisierten Service-Vertragshändler oder Kundendienst, wenn Sie eine Serviceleistung, Toro Originalersatzteile oder zusätzliche Informationen benötigen. Halten Sie hierfür die Modell- und Seriennummern Ihres Produkts griffbereit. In Bild 1 ist angegeben, wo an dem Produkt die Modell- und die Seriennummer angebracht sind. Tragen Sie hier bitte die Modell- und die Seriennummer des Geräts ein.
Important: Scannen Sie mit Ihrem Mobilgerät den QR-Code (falls vorhanden) auf dem Typenschild, um auf Garantie-, Ersatzteil- oder andere Produktinformationen zuzugreifen.

In dieser Anleitung werden potenzielle Gefahren angeführt, und Sicherheitshinweise werden vom Sicherheitswarnsymbol (Bild 2) gekennzeichnet. Dieses Warnsymbol weist auf eine Gefahr hin, die zu schweren oder tödlichen Verletzungen führen kann, wenn Sie die empfohlenen Sicherheitsvorkehrungen nicht einhalten.

In dieser Anleitung werden zwei Begriffe zur Hervorhebung von Informationen verwendet. Wichtig weist auf spezielle mechanische Informationen hin, und Hinweis hebt allgemeine Informationen hervor, die Ihre besondere Beachtung verdienen.
Die im Sprühsystem verwendeten Chemikalien können gefährlich und giftig für Sie, Unbeteiligte, Tiere, Pflanzen, Boden oder anderes Eigentum sein.
Lesen Sie die chemischen Warnaufkleber und die Sicherheitsdatenblätter für alle verwendeten Chemikalien sorgfältig durch, und halten Sie sich an die Angaben. Tragen Sie außerdem die vom Chemikalienhersteller empfohlene Schutzkleidung. Tragen Sie z. B. geeignete Schutzanzüge, einschließlich Atemschutzmaske und Schutzbrille, Handschuhe oder andere Kleidung, damit Sie nicht mit den Chemikalien in Kontakt kommen.
Denken Sie daran, dass mehrere Chemikalien verwendet werden, und dass Sie alle Angaben berücksichtigen müssen.
Weigern Sie sich, das Sprühfahrzeug einzusetzen, wenn diese Informationen nicht verfügbar sind.
Vor dem Umgang mit einem Sprühsystem sollten Sie sicherstellen, dass es dreimal ausgespült und gemäß den Empfehlungen der Chemikalienhersteller neutralisiert wurde; alle Ventile müssen auch dreimal ausgespült werden.
Stellen Sie sicher, dass eine ausreichende Menge an frischem Wasser und Seife in der Nähe verfügbar sind, und waschen Sie unverzüglich jede Chemikalie ab, mit der Sie in Kontakt kommen.
Stellen Sie vor dem Verlassen des Fahrersitzes die Maschine ab, ziehen Sie den Schlüssel ab (sofern vorhanden) und warten Sie, bis alle beweglichen Teile zum Stillstand gekommen sind. Lassen die Maschine abkühlen, bevor Sie sie einstellen, warten, reinigen, oder einlagern.
Der unsachgemäße Einsatz oder die falsche Wartung
dieser Maschine kann zu Verletzungen führen. Befolgen Sie zur
Verringerung des Verletzungsrisikos diese Sicherheitshinweise und
beachten Sie das Warnsymbol
mit der Bedeutung Achtung, Warnung
oder Gefahr – Sicherheitsrisiko. Wenn diese Hinweise nicht beachtet
werden, kann es zu schweren bis tödlichen Verletzungen kommen.
![]() |
Die Sicherheits- und Bedienungsaufkleber sind für den Bediener gut sichtbar und befinden sich in der Nähe der möglichen Gefahrenbereiche. Tauschen Sie beschädigte oder verloren gegangene Aufkleber aus. |




Reinigen Sie das Sprühfahrzeug; weitere Informationen finden Sie in der Bedienungsanleitung für die Maschine.
Important: Entleeren Sie den Sprühbehälter komplett, bevor Sie das Finishingkit für das GeoLink-Sprühsystem installieren.
Führen Sie bei einer Maschine mit dem optionalen Behälterspülkit folgende Schritte aus:
Pumpen Sie das Wasser vom Spülbehälter in den Sprühbehälter; weitere Informationen zur Verwendung des Spülkits finden Sie in den Installationsanweisungen für den Spülbehälter.
Lassen Sie das Wasser aus dem Sprühbehälter ab; weitere Informationen zur Reinigung des Sprühfahrzeugs finden Sie in der Bedienungsanleitung für die Maschine.
Fahren Sie die linken und rechten Sprühabschnitte in die horizontale Stellung aus.
Parken Sie die Maschine auf einer ebenen Fläche, aktivieren die Feststellbremse, stellen den Motor ab und ziehen Sie den Schlüssel ab, siehe Bedienungsanleitung.
Important: Parken Sie die Maschine auf einer ebenen Fläche, bevor Sie das GeoLink-Kit montieren.
Drücken Sie den Sitzriegelgriff nach hinten, um den Sitz zu entriegeln (Bild 3).

Drehen Sie den Sitz und die Sitzplatte nach vorne, bis sich das Ende der Stützstange an der Stützstangenhalterung unten an der Rille der Halterung befindet (Bild 3).
Lassen Sie den Motor ganz abkühlen.
Entfernen Sie die Schraube und Mutter, mit denen die Anschlussklemme des Minuskabels der Batterie am Minuspol der Batterie befestigt ist.
Das unsachgemäße Verlegen der Batteriekabel kann zu Schäden an der Maschine führen, und die Kabel können Funken erzeugen. Funken können zum Explodieren der Batteriegase führen, was Verletzungen zur Folge haben kann.
Klemmen Sie immer das Minuskabel (schwarz) ab, bevor Sie das Pluskabel (rot) abklemmen.
Klemmen Sie immer zuerst das (rote) Pluskabel an, bevor Sie das (schwarze) Minuskabel anklemmen.
Batteriepole und Metallwerkzeuge können an metallischen Teilen Kurzschlüsse verursachen, was Funken erzeugen kann. Funken können zum Explodieren der Batteriegase führen, was Verletzungen zur Folge haben kann.
Vermeiden Sie, wenn Sie eine Batterie ein- oder ausbauen, dass die Batteriepole mit metallischen Maschinenteilen in Berührung kommen.
Vermeiden Sie Kurzschlüsse zwischen metallischen Werkzeugen, den Batteriepolen und metallischen Maschinenteilen.
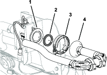
Schließen Sie die Isolierungsabdeckung zurück und entfernen Sie die Schraube und Mutter, mit denen die Anschlussklemme des Pluskabels der Batterie am Pluspol der Batterie befestigt ist. (Bild 4).
Note: Stellen Sie sicher, dass die Pole der Batteriepluskabel die Batteriepole nicht berühren.

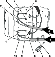
Schließen Sie den 2-Buchsen-Stecker des Maschinenkabelbaums ab, der am Sitzschalteranschluss angeschlossen ist (Bild 5).

Entfernen Sie den Splint, mit dem die Stützstange an der Halterung unten an der Sitzplatte befestigt ist (Bild 6).

Entfernen Sie die beiden Splinte, mit denen das Drehzapfenanschlussstück der Sitzplatte an den Chassishalterungen befestigt ist (Bild 7).


Entfernen Sie die beiden Lagerbolzen, mit denen der Sitz und die Sitzplatte am Chassis befestigt sind (Bild 7).
Heben Sie den Sitz und die Sitzplatte von der Maschine ab (Bild 8).

Entfernen Sie die zwei Eindrückbefestigungen, mit denen der linke, vordere Kotflügel am unteren Überrollschutz-Kanal befestigt ist (Bild 10).
Note: Werfen Sie die Eindrückbefestigungen weg, die Sie entfernt haben.

Entfernen Sie die drei Schrauben (5/16 x 1") und drei Scheiben (5/16"), mit denen der Kotflügel am Rahmen der Maschine befestigt ist (Bild 11).

Nehmen Sie den Kotflügel von der Maschine ab.
Note: Werfen Sie die Eindrückbefestigungen weg, die Sie entfernt haben.; bewahren Sie den Kotflügel, die Schrauben und Scheiben für den Einbau in Montieren des linken und rechten vorderen Kotflügels auf.
Entfernen Sie die sechs Eindrückbefestigungen und fünf Scheiben (9/16 x 1/2"), mit denen die innere Kotflügelhaube am Rahmen der Maschine befestigt ist (Bild 12).

Nehmen Sie die innere Kotflügelhaube von der Maschine ab (Bild 13).
Note: Werfen Sie die Eindrückbefestigungen weg, die Sie entfernt haben.

Wiederholen Sie die Schritte 1 bis 5 für den Kotflügel und die innere Kotflügelhaube an der anderen Seite der Maschine.
Schließen Sie die zwei elektrischen Anschlüsse (2-Buchsen-Stecker) des Maschinenkabelbaums vom 2-Stift-Stecker am linken und rechten Scheinwerfer ab (Bild 14).

Entfernen Sie die neun Eindrückbefestigungen, mit denen die Haube am Armaturenbrett und Rahmen der Maschine befestigt ist (Bild 15).
Note: Bewahren Sie die Eindrückbefestigungen für den Einbau in Montieren der Motorhaube auf.

Nehmen Sie die Motorhaube von der Maschine ab (Bild 15).
Note: Werfen Sie die Eindrückbefestigungen weg, die Sie entfernt haben.
Für diesen Arbeitsschritt erforderliche Teile:
| Rohr, Toro Bestellnummer 114-9553 | 2 |
| Kabelbinder | 8 |
Befestigen Sie an der Anschlussplatte des Kompressors für den Schaummarkierer einen Kabelbinder um den durchsichtigen und blauen Schlauch für den rechten Sprühabschnitt (Bild 16).


Drücken Sie die Arretiermanschette hinein (Bild 17).

Ziehen Sie den Schlauch aus dem Anschlussstück (Bild 17).
Wiederholen Sie die Schritte 2 bis 3 für die anderen drei Schläuche für die Sprühabschnitte.
Befestigen Sie an der Anschlussplatte des Kompressors für den Schaummarkierer einen Kabelbinder um den durchsichtigen und blauen Schlauch für den rechten Sprühabschnitt (Bild 18).


Lösen Sie die Druckmuttern für die zwei durchsichtigen und zwei blauen Schläuche für die Schaumdüsen am linken und rechten Sprühabschnitt (Bild 18).
Entfernen Sie die vier Schläuche von den Druckringverbindungen für die Sprühabschnitte (Bild 18).
Markieren Sie am äußeren Sprühabschnitt mit einem Stück Band die linken Flüssigkeits- und Luftschläuche für den linken Sprühabschnitt und die rechten Flüssigkeits- und Luftschläuche für den rechten Sprühabschnitt.
Schieben Sie die Schläuche für die Schaumdüsen am linken und rechten Sprühabschnitt nach hinten durch die R-Klemme in der Nähe des Drehpunkts für den Sprühabschnitt (Bild 19).

Wenn an der Maschine die mittlere Auslegersektion montiert ist, befestigen Sie das freie Ende der Flüssigkeits- und Luftschläuche lose am äußeren Sprühabschnitt. und lassen Sie die Schritte für Vorbereiten der neuen Schläuche für die Schaummarkiererdüsen und Montieren des neuen Schlauchs aus.
Entfernen Sie die Kabelbinder, mit denen die Flüssigkeits- und Luftschläuche des Schaummarkierers am äußeren Sprühabschnitt befestigt sind (Bild 20).

Lösen Sie die Druckmutter an der Schaummarkiererdüse, mit der der blaue Schlauch (Wasser) an der blauen Druckringverbindung der Schaummarkiererdüse befestigt ist (Bild 21).

Lösen Sie die Druckmutter, mit der der durchsichtige Schlauch (Luft) an der weißen Druckringverbindung der Schaummarkiererdüse befestigt ist (Bild 21).
Nehmen Sie die Flüssigkeits- und Luftschläuche von der Maschine ab.
Entfernen Sie die Druckmuttern an den Enden der Schläuche (Bild 21).
Note: Bewahren Sie die Druckmuttern für das Befestigen in Schritt 1 in Montieren des neuen Schlauchs auf.
Fluchten Sie die alten Flüssigkeits- und Luftschläuche (Bild 22) mit den neuen Schläuchen (Toro Bestellnummer 114–9553) aus.

Markieren Sie die Länge der alten Flüssigkeits- und Luftschläuche mit einem Stück Band auf den neuen Schläuchen.
Markieren Sie auf den neuen Schläuchen eine Länge von 26 cm von der Markierung, die Sie in Schritt 7 hinzugefügt haben, und schneiden Sie die Schläuche an der zweiten (längeren) Markierung ab (Bild 22).
Wenn die alten Flüssigkeits- und Luftschläuche mit einem Kabelbinder markiert sind, markieren Sie die neuen Schläuche mit einem Kabelbinder, gehen Sie sonst auf Schritt 10.
Note: Die alten Flüssigkeits- und Luftschläuche werden nicht mehr benötigt.
Entfernen Sie 77 mm bis 102 mm des Mantels um jedes Ende der Schläuche (Bild 22).
Wiederholen Sie die Schritte 1 bis 10 für die Flüssigkeits- und Luftschläuche an der anderen Seite der Maschine.
Schieben Sie die blaue Druckmutter über die Enden des blauen Schlauchs und die weiße Druckmutter über den durchsichtigen Schlauch (Bild 23).

Fluchten Sie das Ende des durchsichtigen Schlauchs mit der weißen Druckmutter und mit dem weißen Anschlussstück der Schaummarkiererdüse aus und ziehen Sie die Druckmutter mit der Hand an (Bild 23).
Fluchten Sie das Ende des blauen Schlauchs mit der blauen Druckmutter und mit dem blauen Anschlussstück der Schaummarkiererdüse aus und ziehen Sie die Druckmutter mit der Hand an (Bild 23).
Verlegen Sie den Schlauch entlang der Rückseite der oberen Haltestange des äußeren Sprühabschnitts , wie in Bild 24 abgebildet.
Important: Wenn der Schlauch an der falschen Seite der oberen Haltestange montiert ist, werden die Schläuche zwischen der Wiege und dem äußeren Sprühabschnitt eingeklemmt, wenn die Ausleger in der Transportstellung sind.

Befestigen Sie die Schläuche mit einem Kabelbinder im Loch in der Düsenstütze, wie in Bild 25 abgebildet.

Befestigen Sie die Schläuche mit Kabelbindern am äußeren Sprühabschnitt, wie in Bild 24 abgebildet.
Befestigen Sie das freie Ende des Schlauchs lose am äußeren Sprühabschnitt.
Wiederholen Sie die Schritte 1 bis 6 für die Schläuche an der anderen Seite der Maschine.
Schließen Sie den 3-Stift-Stecker des Kabelbaums für die Nivellierung für den Ultra Sonic Boom vom 3-Buchsen-Stecker des Maschinenkabelbaums ab (Bild 26).

Wiederholen Sie Schritt 1 für den 3-Stift-Stecker des Kabelbaums für den Ultra Sonic Boom an der anderen Seite der Maschine.
Stützen Sie die mittlere Abschnittsabdeckung (11. Düse) ab und entfernen die vier Bundkopfschrauben (5/16" x 1-1/4") und zwei Abdeckungsriemen, mit denen die Abdeckung an der Stützhalterung der Abdeckung befestigt ist (Bild 27).

Nehmen Sie die mittlere Abschnittsabdeckung von der Maschine ab (Bild 28).
Note: Bewahren Sie die Abdeckung, Abdeckungsriemen und Bundkopfschrauben für eine Montage in den Schritten 1 und 2 in Befestigen der mittleren Abschnittsabdeckung auf.

Note: Wenn die Maschine mit einer optionalen Spritzpistole ausgestattet ist, siehe Abschließen des Druckmessschlauchs und des Zulaufschlauchs.
Drücken Sie den Stellring für die Schlauchkupplung in den 90°-Krümmer des rechten Sprühabschnittventils hinein (Bild 30).

Ziehen Sie den Druckmessschlauch für das Messgerät am Armaturenbrett aus der Schlauchkupplung (Bild 30).
Note: Nehmen Sie den 90° Krümmer für das Abstellventil für den Zulaufschlauch der Schlauchtrommel nicht vom Flansch des rechten Auslegerabschnittventils ab.
Schließen Sie den 3-Stift-Stecker des Maschinenkabelbaums, der mit LEFT SPRAY VALVE, CENTER SPRAY VALVE und RIGHT SPRAY VALVE beschriftet ist, von den 3-Stift-Steckern der Sprühventilaktuatoren ab (Bild 31).

Schließen Sie den 4-Buchsen-Stecker des Maschinenkabelbaums, der mit RATE VALVE beschriftet ist, vom 4-Stift-Stecker des Dosierungsventil-Aktuators ab (Bild 32).

Schließen Sie den 3-Buchsen-Stecker des Maschinenkabelbaums, der mit MASTER SPRAY VALVE beschriftet ist, vom 3-Stift-Stecker des Hauptsprühventil-Aktuators ab (Bild 32).
Für diesen Arbeitsschritt erforderliche Teile:
| Kabelbinder | 1 |
| Schalterblende | 1 |
Entfernen Sie die vier Bundbolzen (1/4" x 1/2"), mit denen die 3-Schalterplatte an der Steuerkonsole befestigt ist (Bild 33).

Drücken Sie die Verriegelungsnasen des Dosierungssteuerungsschalter zusammen und drücken Sie den Schalter aus der 3-Schalterplatte heraus (Bild 34).

Schließen Sie den 8-Buchsen-Stecker des Maschinenkabelbaums, der mit Rate Switch beschriftet ist, vom 8-Stift-Stecker des Schalters ab (Bild 33).
Note: Sie benötigen den Dosierungsschalter, den Sie von der Maschine entfernt haben, nicht mehr.
Verlegen Sie den Zweig des vorderen Kabelbaums für den Dosierungsschalter durch die Öffnung in der 3-Schalterplatte und befestigen Sie den Kabelzweig mit einem Kabelbinder am danebenliegenden Kabelzweig.
Befestigen Sie die 3-Schalterplatte mit den vier Bundbolzen (1/4" x 1/2"), die Sie in Schritt 1 entfernt haben, an der Steuerkonsole (Bild 34).
Fluchten Sie die Schalterblende mit der Öffnung in der 3-Schalterplatte aus, von der Sie den Dosierungsschalter entfernt haben (Bild 33).
Setzen Sie die Schalterblende in die 3-Schalterplatte ein, bis die Blende richtig in der Abdeckung einrastet (Bild 33).
Entfernen Sie am äußeren Sprühabschnitt die Schlauchklemme, mit der der Sprühabschnittschlauch am gezahnten T-Anschlussstück befestigt ist (Bild 35).

Nehmen Sie den Schlauch vom T-Anschlussstück ab (Bild 35).
Nehmen Sie das freie Ende des Schlauchs von der R-Klemme ab (Bild 35).
Wiederholen Sie die Schritte 1 bis 3 für den Zulaufschlauch am anderen äußeren Sprühabschnitt.
Entfernen Sie unter dem mittleren Sprühabschnitt die Schlauchklemme, mit der der Zulaufschlauch für den mittleren Sprühabschnitt am gezahnten T-Anschlussstück befestigt ist (Bild 36).

Entfernen Sie die Befestigungen, mit denen die Schnellkupplungen des linken, mittleren und rechten Zulaufschlauchs befestigt sind, von den Schnellkupplungen der Sprühabschnittventile (Bild 37).
Note: Bewahren Sie die Befestigungen für den Einbau in Montieren der Schläuche an den Düsenventilen 7 bis 10 auf.

Entfernen Sie die Zulaufschläuche des linken, mittleren und rechten Abschnitts von den Schnellkupplungen der Sprühabschnittventile und nehmen Sie die Schläuche von der Maschine ab (Bild 37).
Note: Die Schläuche für die linken, mittleren und rechten Abschnittzulaufschläuche werden nicht mehr benötigt.
Entfernen Sie die Schläuche von den Ausfahranschlüssen des rechten und linken Hubzylinders (Bild 39).


Entfernen Sie die Schläuche von den Anschlüssen C2 und C4 des Hubzylinderverteilers (Bild 39).
Entfernen Sie die Schläuche von den Rückzuganschlüssen der linken und rechten Hubzylinder (Bild 39).
Entfernen Sie die Schläuche von den Anschlüssen C1 und C3 des Hubzylinderverteilers (Bild 39).
Note: Diese Schläuche werden nicht mehr benötigt.
Kapazität der Hebevorrichtung: 91 kg
Note: Bewahren Sie alle Befestigungen auf, falls nicht anders angegeben, da Sie die Befestigungen für die Installation der mittleren Auslegersektion erneut verwenden.
Stützen Sie den äußeren Sprühabschnitt mit einer Hebevorrichtung ab, die die angegebene Kapazität hat.
Nehmen Sie den Lastösenbolzen und den Splint ab, mit denen das Stangenende des Hubzylinders an der Schwenkhalterung befestigt ist (Bild 40).
Note: Bewahren Sie den Splint und Lastösenbolzen für den Einbau in Montieren der Hubzylinder auf.

Entfernen Sie die Sicherungsbundmutter (5/16") und die Bundkopfschraube (5/16" x 3/4"), mit denen der Lagerbolzen an der Zylinderbefestigung befestigt ist (Bild 41).

Nehmen Sie den Lagerbolzen und den Hubzylinder von der Maschine ab (Bild 41).
Führen Sie die Schritte in Entfernen der äußeren Sprühabschnitte aus.
Kapazität der Hebevorrichtung: 91 kg
Note: Wenn die Maschine mit dem optionalen abgedeckten Ausleger ausgerüstet ist, lassen Sie die Abdeckungen an den äußeren Sprühabschnitten montiert.
Das falsche Anheben von schweren Maschinen und Anbaugeräten kann zu schweren oder tödlichen Verletzungen führen.
Verwenden Sie zum Anheben von schweren Maschinen und Anbaugeräten Hebevorrichtungen, u. a. Ketten und Riemen, die für das Gewicht des Geräts angemessen sind.
Note: Bewahren Sie alle Befestigungen auf, falls nicht anders angegeben, da Sie die Befestigungen für die Installation der mittleren Auslegersektion erneut verwenden.
Entfernen Sie den Bundbolzen (5/16" x 1") und die Sicherungsbundmutter (5/16"), mit denen der Lagerbolzen an der Schwenkhalterung befestigt ist (Bild 42).

Entfernen Sie den Lagerbolzen aus der Schwenkhalterung für den mittleren Sprühabschnitt und das Drehzapfen-Anschlussstück für den äußeren Sprühabschnitt (Bild 42).
Note: Bewahren Sie den Bundbolzen, die Bundmutter und den Lagerbolzen für den Einbau in Montieren der äußeren Sprühabschnitte an der Maschine auf.
Trennen Sie den äußeren Sprühabschnitt vom mittleren Sprühabschnitt und nehmen Sie den äußeren Abschnitt von der Maschine ab (Bild 42).
Entfernen Sie die zwei Nylonbundbüchsen aus dem Drehzapfen-Anschlussstück des äußeren Sprühabschnitts (Bild 42).
Note: Werfen Sie die Büchsen weg.
Wiederholen Sie die Schritte 1 bis 3 in Entfernen der Hubzylinder für den äußeren Sprühabschnitt an der anderen Seite der Maschine.
Wiederholen Sie die Schritte 1 bis 4 dieses Abschnitts für den äußeren Sprühabschnitt an der anderen Seite der Maschine.
Nehmen Sie den Abschnitthubverteiler wie folgt von der Zylinderbefestigung ab:
Maschinen ohne die optionale Nivellierung für den Ultra Sonic Boom: Entfernen Sie die zwei Sicherungsbundmuttern (5/16") und die zwei Bundkopfschrauben (5/16" x 1"), mit denen die Stützhalterung für den Abschnitthubverteiler an der Zylinderbefestigung befestigt ist, und nehmen Sie den Verteiler und die Halterung von der Zylinderbefestigung ab (Bild 43).

Maschinen mit der optionalen Nivellierung für den Ultra Sonic Boom: Entfernen Sie die zwei Sicherungsbundmuttern (5/16") und die zwei Bundkopfschrauben (5/16" x 1"), mit denen die Stützhalterung für den Abschnitthubverteiler und die TEC-Steuergeräthalterung an der Zylinderbefestigung befestigt ist, und nehmen Sie den Verteiler und die Halterung von der Zylinderbefestigung ab (Bild 44).

Binden Sie den Abschnitthubverteiler mit einem Seil an der Befestigungshalterung des Sprühventils fest, um den Abschnitthubverteiler abzustützen.
Note: Bewahren Sie die Stützhalterung und den Hubverteiler, die Schrauben und Muttern für den Einbau in Montieren des Hubzylinderverteilers an der Zylinderbefestigung auf.
Kapazität der Hebevorrichtung: 41 kg
Wenn die Maschine mit dem optionalen abgedeckten Ausleger ausgerüstet ist, nehmen Sie die Abdeckung von den mittleren Sprühabschnitten ab.
Stützen Sie den mittleren Sprühabschnitt mit der Hebevorrichtung ab, die die entsprechende Kapazität hat (Bild 45).

Markieren Sie mit einem Stück Band die Löcher, in denen die vier Bundkopfschrauben (1/2" x 1-1/4") und vier Sicherungsbundmuttern (1/2") die Stützhalterungen für den mittleren Sprühabschnitt an der Befestigungsplatte der Maschine befestigen (Bild 46).

Entfernen Sie die vier Bundkopfschrauben (1/2" x 1-1/4") und vier Sicherungsbundmuttern (1/2"), mit denen die Stützhalterungen des mittleren Sprühabschnitts an der Befestigungsplatte am Rahmen der Maschine befestigt sind, und nehmen Sie den mittleren Sprühabschnitt von der Maschine ab (Bild 47).
Note: Bewahren Sie die Schrauben und Sicherungsmuttern für den Einbau des neuen mittleren Sprühabschnitts auf.

Für diesen Arbeitsschritt erforderliche Teile:
| Bundkopfschraube (3/8" x 1") | 2 |
| Sicherungsbundmuttern (3/8") | 2 |
| Mittlere Auslegersektion | 1 |
| Zylinderbefestigung (breit) | 1 |
| Verbindungsplatte (breit) | 1 |
| Schlossschraube (1/2" x 1-1/4") | 4 |
| Sicherungsbundmutter (1/2") | 4 |
Entfernen Sie am mittleren Sprühabschnitt die Sicherungsbundmutter, mit der die Sprühdüse an der Düsenbefestigung befestigt ist (Bild 48 und Bild 49).
Note: Bewahren Sie die Sicherungsmutter für das Befestigen in Schritt 6 in Montieren der Sprühdüsen und Schläuche am mittleren Sprühabschnitt auf.


Entfernen Sie die Edelstahlschraube (Nr. 2 x 1-1/4"), mit der die obere Klemmenhälfte und der gezahnte Einzelschlauch- oder Doppelschlauchschaft (3/4") am Gehäuse der Sprühdüse befestigt ist, nehmen Sie den gezahnten Schlauchschaft und den Schlauch von der Düse ab (Bild 50).
Note: Die Sechskantschraube (5/16" x 3/4", Edelstahl) kommt aus der oberen Klemmenhälfte heraus, wenn Sie die Klemme öffnen. Bewahren Sie die Schraube für einen späteren Einbau auf.

Nehmen Sie die Düse vom mittleren Sprühabschnitt ab (Bild 48 und Bild 49).
Wiederholen Sie die Schritte 1 und 2 für die anderen zwei Sprühdüsen.
Note: Bewahren Sie die Sprühdüsen, die Edelstahlschrauben und die Sechskantschrauben für eine Montage in den Schritten 6 und 7 in Montieren der Sprühdüsen und Schläuche für den mittleren Sprühabschnitt auf.
Nehmen Sie die Schläuche (Innendurchmesser von 3/4"), die gezahnten Schlauchschafte, die Klemmen und das gezahnte T-Anschlussstück vom mittleren Sprühabschnitt ab (Bild 48).
Note: Der Schlauch, die Schlauchschafte, die Klemmen und das T-Anschlussstück werden nicht mehr benötigt.
Kapazität der Hebevorrichtung: 41 kg
Stützen Sie den mittleren Sprühabschnitt mit der Hebevorrichtung ab, die die entsprechende Kapazität hat.
Entfernen Sie die zwei Bundkopfschrauben (3/8" x 1") und die zwei Sicherungsbundmuttern (3/8"), mit denen die Stützhalterung am mittleren Sprühabschnitt befestigt ist, und nehmen die Halterung ab (Bild 51).

Entfernen Sie die zwei Bundkopfschrauben (3/8" x 1") und die zwei Sicherungsbundmuttern (3/8"), mit denen die andere Stützhalterung am mittleren Sprühabschnitt befestigt ist, und nehmen die Halterung ab (Bild 51).
Note: Bewahren Sie die Stützhalterungen, Schrauben und Sicherungsmuttern für das Befestigen in den Schritten 3 und 4 in Montieren der Stützhalterungen am mittleren Sprühabschnitt auf.
Entfernen Sie die zwei Bundkopfschrauben (3/8" x 1") und die zwei Sicherungsmuttern (3/8"), mit denen die vertikalen Flansche des linken und rechten Trägerrahmens befestigt sind (Bild 52).

Entfernen Sie die zwei Schlossschrauben (1/2" x 1-1/4") und die zwei Sicherungsmuttern (1/2"), mit denen die schmale Zylinderbefestigung, die linken und rechten Trägerrahmen und die schmale Verbindungsplatte befestigt sind (Bild 53).

Note: Bewahren Sie die Bundkopfschrauben, Schlossschrauben und die Sicherungsmuttern für das Befestigen in den Schritten 2 und 7 in Montieren der mittleren Auslegersektion auf. Die schmale Zylinderbefestigung und die schmale Verbindungsplatte werden nicht mehr benötigt.
Trennen Sie die den linken und rechten Trägerrahmen.
Fluchten Sie die Löcher in den vertikalen Flanschen der mittleren Auslegersektion mit den Löchern im Trägerrahmen aus (Bild 54).

Befestigen Sie die mittlere Auslegersektion mit den zwei Bundkopfschrauben (3/8" x 1") und den zwei Sicherungsbundmuttern (3/8"), die Sie in Schritt 1 in Entfernen der Träger des mittleren Sprühabschnitts entfernt haben, lose am Trägerrahmen (Bild 54).
Fluchten Sie die Löcher in den vertikalen Flanschen der mittleren Auslegersektion mit den Löchern im anderen Trägerrahmen aus (Bild 54).
Befestigen Sie die mittlere Auslegersektion mit den zwei Bundkopfschrauben (3/8" x 1") und den zwei Sicherungsbundmuttern (3/8") vom Finishingkit für das GeoLink-Sprühsystem (Bild 54) lose an dem anderen Trägerrahmen (Bild 54).
Fluchten Sie die Löcher in der Zylinderbefestigung mit den Löchern an der Mittellinie des Trägerrahmens und der mittleren Auslegersektion aus (Bild 55).

Setzen Sie die Verbindungsplatte in den Trägerrahmen und die mittlere Auslegersektion ein und fluchten Sie das Loch in der Verbindungsplatte mit den Löchern an der Mittellinie der Trägerrahmen und der Auslegersektion aus (Bild 55).
Bauen Sie die Zylinderbefestigung, die Träger, die mittlere Auslegersektion und die Verbindungsplatte mit den zwei Schlossschrauben (1/2" x 1-1/4") und den zwei Sicherungsbundmuttern (1/2"), die Sie in Schritt 2 in Entfernen der Träger des mittleren Sprühabschnitts entfernt haben, und den vier Schlossschrauben (1/2" x 1-1/4") und den vier Sicherungsbundmuttern (1/2") vom Finishingkit für das GeoLink-Sprühsystem (Bild 55) zusammen.
Ziehen Sie die Bundkopfschrauben (3/8") und Sicherungsbundmuttern bis auf 37-45 Nm an.
Ziehen Sie die Sicherungsbundmuttern (1/2") bis auf 91-113 Nm an.
Für diesen Arbeitsschritt erforderliche Teile:
| Sprühdüse | 2 |
| Schlauch (Sprühventil 5 oder 6) | 2 |
| Sicherungsbundmutter (5/16") | 2 |
Kapazität der Hebevorrichtung: 55 kg
Stützen Sie den mittleren Sprühabschnitt mit der Hebevorrichtung ab, die die entsprechende Kapazität hat.
Fluchten Sie die Löcher in der rechten Stützhalterung mit den Löchern im rechten Trägerrahmen aus, wie in Bild 56 abgebildet.

Befestigen Sie die rechte Stützhalterung mit den zwei Bundkopfschrauben (3/8" x 1") und den zwei Sicherungsbundmuttern (3/8"), die Sie in Schritt 2 und 3 in Entfernen der Stützhalterungen vom mittleren Sprühabschnitt entfernt haben, am rechten Trägerrahmen (Bild 56).
Wiederholen Sie die Schritte 2 und 3 für die linke Stützhalterung am linken Trägerrahmen (Bild 56).
Ziehen Sie die Bundkopfschrauben und Bundmuttern bis auf 37-45 Nm an.
Heben Sie den neuen mittleren Sprühabschnitt mit einer Hebevorrichtung auf eine komfortable Arbeitshöhe an.
Arbeiten Sie mit den zwei Sprühdüsen vom Finishingkit für das GeoLink-Sprühsystem und entfernen Sie die Edelstahlschraube, mit der die obere Klemmenhälfte am Sattel befestigt ist (Bild 57).

Ermitteln Sie das Loch in der Seite des gezahnten Einzelschlauchschafts am Ende des Schlauchs 25 cm vom Schlauch (Sprühventil 5 oder 6) für den mittleren Sprühabschnitt (Bild 57 und Bild 58).

Fluchten Sie den Transferschlauch im Sattel einer Sprühdüse (Bild 57) mit dem Loch in der Seite des gezahnten Einzelschlauchschafts (1/2") aus.
Schließen Sie die obere Klemmenhälfte um den gezahnten Schlauchschaft und befestigen die Klemmenhälfte und das Sprühdüsengehäuse (Bild 57) mit der Edelstahlschraube (Nr. 12 x 1¼"). Ziehen Sie die Edelstahlschraube bis auf 14-18 Nm an.
Important: Ziehen Sie die Edelstahlschraube nicht fester an, als in den Drehmomentangaben in Schritt 5 angegeben.
Note: Stellen Sie sicher, dass die Sechskantschraube (5/16" x 3/4") in der Vertiefung in der oberen Klemmenhälfte sitzt, wenn Sie die Klemme schließen.
Arbeiten Sie mit der Sprühdüse, der Sechskantschraube und Edelstahlschraube, die Sie in den Schritten 1 und 2 in Entfernen der Sprühdüsen entfernt haben, und wiederholen Sie die Schritte 3 bis 5 am gezahnten Einzelschlauchschaft (Bild 57 und Bild 58) am Ende des anderen Schlauchs 25 cm.
Arbeiten Sie mit den zwei Sprühdüsen, die Sie in Schritt 4 in Entfernen der Sprühdüsen entfernt haben, und wiederholen Sie die Schritte 3 bis 5 am gezahnten Einzelschlauchschaft des anderen Schlauchs (Sprühventil 5 oder 6) für den mittleren Sprühabschnitt (Bild 57 und Bild 58).
Verlegen Sie den Schlauch (13 mm) und die Düse zwischen die Trägerstreben des äußeren Trägers (Bild 59).

Verlegen Sie den Schlauch und die Düse über der Trägerstrebe und an der Außenseite der äußeren Düsenbefestigung (Bild 59).
Fluchten Sie die Sechskantschraube (5/16" x 3/4") der Sprühdüse durch das Loch in der Düsenbefestigung aus und befestigen Sie die Düse mit einer Sicherungsbundmutter (5/16") vom Finishingkit für das GeoLink-Sprühsystem lose an der Befestigung (Bild 60).

Verlegen Sie den anderen Schlauch (13 mm) und die Düse zwischen den Trägerstreben des äußeren Trägers (Bild 59).
Verlegen Sie den Schlauch und die Düse über der Trägerstrebe und an der Innenseite der inneren Düsenbefestigung (Bild 59).
Fluchten Sie die Sechskantschraube (5/16" x 3/4") der Sprühdüse durch das Loch in der Düsenbefestigung (Bild 60) aus und befestigen Sie die Düse mit einer Sicherungsbundmutter (5/16"), die Sie in den Schritten 1 und 4 in Entfernen der Sprühdüsen entfernt haben, lose an der Befestigung.
Ziehen Sie die Sicherungsbundmutter bis auf 1978-2542 Ncm an.
Verlegen Sie den Schlauch und den Schlauchanschlussverbinder (13 mm x 810 mm) an der Seite des mittleren Auslegerabschnitts mit der linken und rechten Stützhalterung (Bild 59).
Wiederholen Sie die Schritte 1 bis 8 für den anderen Schlauch und die anderen Düse am anderen äußeren Träger (Bild 59 und Bild 60).
Für diesen Arbeitsschritt erforderliche Teile:
| Deckel (Schnellkupplung) | 3 |
| Halter | 3 |
Entfernen Sie das obere Ende des Überlaufschlauchs wie folgt:
Maschinen ohne den optionalen Handsprühstab oder die optionale elektrische Schlauchtrommel: Entfernen Sie den kleinen Halter, mit dem das Schnelltrennanschlussstück des Überlaufschlauchs am Schnelltrennanschlussstück des rechten Abschnittsicherheitsventils befestigt ist (Bild 61).

Bei Maschinen mit dem optionalen Handsprühsatz oder dem optionalen Elektroschlauchaufrollsatz führen Sie die folgenden Schritte durch:
Entfernen Sie den Halter, der die Schnelltrennkupplung des Absperrventils an der Schnelltrennkupplung des rechten Abschnittsicherheitsventils befestigt, und trennen Sie das Ventil von der Kupplung (Bild 62).

Entfernen Sie den Halter, der die Schnelltrennkupplung des Absperrventils an der Schnelltrennkupplung des gezahnten 90°-Anschlussstücks sichert, und trennen Sie das Ventil von der Kupplung (Bild 62).
Note: Bewahren Sie das Abstellventil und den Halter für den Einbau in Befestigen des Abstellventils am Überlaufschlauch auf.
Nehmen Sie den großen Halter ab, mit dem das gezahnte 90°-Anschlussstück am unteren Ende des Überlaufschlauchs am Schottanschlussstück des Sprühbehälter befestigt ist (Bild 63)
Note: Bewahren Sie den großen Halter für den Einbau in Befestigen der Überlaufschläuche am Behälter auf.

Nehmen Sie den Überlaufschlauch von der Maschine ab.
Note: Der Überlaufschlauch und der kleine Halter werden nicht mehr benötigt.
Entfernen Sie die drei Halter, mit denen die drei Ventilaktuatoren am linken, mittleren und rechten Abschnittventil befestigt sind (Bild 64).

Entfernen Sie die Ventilaktuatoren vom linken, mittleren und rechten Abschnittventil (Bild 64).
Entfernen Sie den Halter, mit dem die Kappe des Schnelltrennanschlussstücks des Sicherheitsventils befestigt ist, und entfernen Sie die Kappe (Bild 65).
Note: Die Kappe wird nicht mehr benötigt.

Entfernen Sie die drei Halter, mit denen die drei Sicherheitsventile am linken, mittleren und rechten Abschnittventil befestigt sind (Bild 66).

Nehmen Sie die Sicherheitsventile von den Abschnittventilen ab (Bild 66).
Drehen Sie die Sicherheitsventile um 180° und montieren sie an den Schnelltrennanschlussstücken der Abschnittventile (Bild 66).
Befestigen Sie die drei Sicherheitsventile mit den drei Haltern, die Sie in Schritt 4 entfernt haben, an den Abschnittventilen (Bild 66).
Setzen Sie den Stöpsel in die Schnellanschlussbuchse des Sicherheitsventils (Bild 67).

Befestigen Sie den Stöpsel mit dem Halter, den Sie in Schritt 3 entfernt haben, an der Schnellanschlussbuchse (Bild 67).
Befestigen Sie die drei Ventilaktuatoren mit den Haltern, die Sie in Schritt 1 entfernt haben, am linken, mittleren und rechten Abschnittventil (Bild 64).
Note: Sie fügen die Abschnittventile den Ventilen für das 10-Ventil-GeoLink-Sprühsystem in Befestigen der drei Abschnittventile an der Ventilbefestigung hinzu.
Entfernen Sie die zwei Bundkopfschrauben (¼" x ¾") und die zwei Sicherungsmuttern (¼"), mit denen das linke Auslegerabschnittventil an der Verteilerbefestigung befestigt ist (Bild 68).
Note: Die zwei Bundkopfschrauben und die Sicherungsmuttern werden nicht mehr benötigt.

Entfernen Sie die zwei Bundkopfschrauben (¼" x ¾") und die zwei Sicherungsmuttern (¼"), mit denen das rechte Auslegerabschnittventil an der Verteilerbefestigung befestigt ist (Bild 68).
Entfernen Sie die Flanschklemme (40 mm bis 64 mm) und die Dichtung (25 mm x 35 mm), mit denen der Flansch des linken Abschnittventils am Adapter befestigt ist (Bild 68).
Note: Bewahren Sie die zwei Bundkopfschrauben, zwei Sicherungsmuttern, die Flanschklemme und die Dichtung für den Einbau in Befestigen der drei Abschnittventile an der Ventilbefestigung auf.

Nehmen Sie die drei Abschnittventile von der Maschine ab (Bild 69).
Entfernen Sie die Aufkleber von den Aktuatoren der drei Abschnittventile (Bild 70).

Entfernen Sie die Flanschklemme (51 mm) und die Dichtung (38 mm), mit denen der Flansch des Adapters am Flansch des Durchflussmessgeräts befestigt ist (Bild 71).
Note: Bewahren Sie die Flanschklemme und Dichtung für den Einbau in Montieren des Verteilers am Durchflussmessgerät auf.

Für diesen Arbeitsschritt erforderliche Teile:
| Befestigung für Durchflussmessgerät | 1 |
| Stützklemmenhälfte | 4 |
| Schraube (1/4" x 4-1/2") | 4 |
| Sicherungsbundmuttern (¼") | 4 |
Schließen Sie den 3-Buchsen-Stecker des Maschinenkabelbaums, der mit FLOW METER beschriftet ist, vom 3-Stift-Stecker des Durchflussmessgeräts ab (Bild 72).

Nehmen Sie die zwei Einsteckbefestigungen des Maschinenkabelbaums von dem unteren Flansch der Abschnittventilhalterung ab (Bild 72).
Entfernen Sie die vier Bundkopfschrauben (5/16" x 3/4"), mit denen die Abschnittventilhalterung an der Ventilbefestigung befestigt ist, und nehmen Sie die Ventilhalterung von der Maschine ab (Bild 73).
Note: Bewahren Sie die vier Bundbolzen für den Einbau in Befestigen der Befestigung für das Durchflussmessgerät und der Klemmen auf; die Abschnittventilhalterung wird nicht mehr benötigt.

Fluchten Sie die Löcher in der Halterung für das Durchflussmessgerät mit den Löchern in der Ventilbefestigung aus (Bild 74).

Montieren Sie die Halterung für das Durchflussmessgerät mit den vier Bundbolzen, die Sie in Schritt 3 in Entfernen der Abschnittventilhalterung entfernt haben, und ziehen Sie die Schrauben bis auf 1978-2542 Nm an.
Fluchten Sie zwei Stützklemmenhälften zwischen dem Durchflussmessgerät und der Halterung für das Durchflussmessgerät aus und fluchten Sie die Löcher in den Klemmenhälften mit den Löchern in der Halterung aus (Bild 75).

Fluchten Sie eine Stützklemmenhälfte an der Rückseite des Durchflussmessgeräts mit einer der Klemmenhälften aus, die Sie in Schritt 3 montiert haben (Bild 75).
Befestigen Sie das Paar der Klemmenhälften mit zwei Schrauben (1/4" x 4-1/2") und zwei Sicherungsmuttern (1/4") an der Halterung für das Durchflussmessgerät (Bild 75).
Wiederholen Sie die Schritte 4 bis 5 an der anderen Klemmenhälfte, die Sie in Schritt 3 montiert haben.
Ziehen Sie die Schrauben und Mutter bis auf 1017-1243 Ncm an.
Für diesen Arbeitsschritt erforderliche Teile:
| Hinterer Kabelbaum | 1 |
| Kabelbinder | 7 |


Ermitteln Sie den Kabelbaumzweig (84 cm), Kabelbaumzweig (60 cm) und Kabelbaumzweig (66 cm) des Kitkabelbaums (Bild 76 und Bild 77).
Verlegen Sie den Kabelbaumzweig (84 cm), Kabelbaumzweig (60 cm) und Kabelbaumzweig (66 cm) des Kitkabelbaums entlang des Maschinenkabelbaums zur linken Seite der Maschine (Bild 78 und Bild 79).


Verlegen Sie den Kabelbaumzweig (84 cm), Kabelbaumzweig (60 cm) und Kabelbaumzweig (66 cm) des Kitkabelbaums entlang des linken Rahmenkanals nach vorne (Bild 81 und Bild 82).



Verlegen Sie den Kabelbaumzweig (84 cm), Kabelbaumzweig (60 cm) und Kabelbaumzweig (66 cm) des Kitkabelbaums entlang des Maschinenkabelbaums zur Außenseite der Feststellbremse (Bild 83).

Verlegen Sie den Kabelbaumzweig (84 cm), Kabelbaumzweig (60 cm) und Kabelbaumzweig (66 cm) des Kitkabelbaums über dem Stützrohr des Stoßdämpfers, wie in Bild 84 abgebildet.

Befestigen Sie den Kitkabelbaum am Maschinenkabelbaum, wie in Bild 82, Bild 83 und Bild 84 abgebildet.
Verlegen Sie den 89-cm-Kabelbaumzweig an der Rückseite der Maschine zur Vorderseite des Hubverteilers und rechts vom Durchflussmessgerät, wie in Bild 85 abgebildet.

Verlegen Sie den 102-cm-Kabelbaumzweig zur Rückseite des Hubverteilers und zur rechten Seite, wie in Bild 85 abgebildet.
Stecken Sie den 3-Stift-Stecker des 89-cm-Kabelbaumzweigs, der mit LEFT SPRAY beschriftet ist, in den 3-Buchsen-Stecker des Maschinenkabelbaums, der mit LEFT SPRAY VALVE beschriftet ist (Bild 86).

Stecken Sie den 3-Stift-Stecker des Kitkabelbaums, der mit CENTER SPRAY beschriftet ist, in den 3-Buchsen-Stecker des Maschinenkabelbaums, der mit CENTER SPRAY VALVE beschriftet ist (Bild 86).
Stecken Sie den 3-Stift-Stecker des Kitkabelbaums, der mit RIGHT SPRAY beschriftet ist, in den 3-Buchsen-Stecker des Maschinenkabelbaums, der mit RIGHT SPRAY VALVE beschriftet ist (Bild 86)..
Stecken Sie die Eindrückbefestigung des Kitkabelbaums in das Loch im Flansch der Halterung für das Durchflussmessgerät (Bild 86).
Stecken Sie den 3-Buchsen-Stecker des 89-cm-Kabelbaumzweigs, der mit FLOW METER beschriftet ist, in den 3-Stift-Stecker des Durchflussmessgeräts (Bild 87).

Stecken Sie den 3-Stift-Stecker des 89-cm-Kitabelbaumzweigs, der mit MASTER VALVE beschriftet ist, in den 3-Buchsen-Stecker des Maschinenkabelbaums, der mit MASTER SPRAY VALVE beschriftet ist (Bild 88).

Stecken Sie den 3-Stift-Stecker des Aktuators für das Hauptsprühventil in den 3-Buchsen-Stecker des 89-cm-Kitkabelbaumzweigs, der mit MASTER VALVE beschriftet ist (Bild 88).
Stecken Sie den 4-Stift-Stecker des Aktuators für das Dosierungsventil in den 4-Buchsen-Stecker des 89-cm-Kitkabelbaumzweigs, der mit RATE VALVE beschriftet ist (Bild 89).

Für diesen Arbeitsschritt erforderliche Teile:
| Gerade Schlauchzahnung (1" x 2") | 1 |
| Schlauchklemme (3/4" x 1-1/2") | 3 |
| Schlauch (3" x 5-1/4") | 1 |
| Verteiler | 1 |
| Schlauch (1" x 16") | 1 |
Montieren Sie den Schlauch (1" x 5-3/4") mit einer Schlauchklemme (3/4" bis 1-1/2") an der geraden Schlauchzahnung (1" x 2") und ziehen Sie die Klemme mit der Hand an (Bild 90).

Montieren Sie das andere Ende des Schlauchs (1" x 5-3/4") mit einer Schlauchklemme am gezahnten Anschlussstück des Verteilers, wie in Bild 90 abgebildet, und ziehen Sie die Klemme mit der Hand an.
Montieren Sie den Schlauch (1" x 16") mit einer Schlauchklemme am anderen gezahnten Anschlussstück des Verteilers und ziehen Sie die Klemme mit der Hand an (Bild 90).
Befestigen Sie die gerade Schlauchzahnung (1" x 2") mit der Dichtung (38 mm) und der Flanschklemme (51 mm), die Sie in Schritt 6 in Abnehmen der Abschnittventile von der Verteilerbefestigung entfernt haben, am Flansch des Durchflussmessgeräts.

Ziehen Sie die Flanschklemme mit der Hand an (Bild 91).
Für diesen Arbeitsschritt erforderliche Teile:
| Überlaufschlauch | 1 |
| Kraftstoffhahn | 1 |
Entfernen Sie den Halter von der 90°-Schnelltrennkupplung, wie in Bild 92 dargestellt.

Befestigen Sie das Abstellventil in der Buchse des Schnelltrennanschlussstücks (Bild 92).
Befestigen Sie das Ventil mit dem Halter, den Sie in Schritt 1 entfernt haben, am Anschlussstück.
Montieren Sie das Abstellventil und den Halter, den Sie im Schritt 1 von Entfernen des Abschnittüberlaufschlauchs entfernt haben, an den Anschluss der anderen Schnelltrennkupplung (Bild 92).
Fluchten Sie den Überlaufschlauch mit dem Sprühbehälter aus (Bild 93).


Befestigen Sie das gezahnte 90°-Anschlussstück am Schott des Sprühbehälters und befestigen Sie die Anschlussstücke mit dem Halter, den Sie in Schritt 2 in Entfernen des Abschnittüberlaufschlauchs entfernt haben.
Kapazität der Hebevorrichtung: 55 kg
Verwenden Sie eine Hebevorrichtung mit der angegebenen Kapazität, heben Sie den mittleren Sprühabschnitt an und fluchten die Löcher in der Stützhalterung für den Sprühabschnitt (Bild 94) mit den Löchern in der Befestigungsplatte für den Maschinenrahmen aus, den Sie in Schritt 3 in Entfernen des mittleren Sprühabschnitts identifiziert haben.

Befestigen Sie den mittleren Sprühabschnitt mit den vier Bundkopfschrauben (1/2" x 1-1/4") und den vier Sicherungsbundmuttern (1/2"), die Sie in Schritt 4 in Entfernen des mittleren Sprühabschnitts entfernt haben, an den Befestigungskanälen (Bild 94).
Ziehen Sie die Schrauben und Muttern bis auf 91-113 Nm an.
Trennen Sie den Hubverteiler von der Ventilbefestigungshalterung ab.
Montieren Sie den Abschnitthubverteiler wie folgt an der Zylinderbefestigung:
Maschinen ohne die optionale Nivellierung für den Ultra Sonic Boom:
Fluchten Sie die Löcher in der Stützhalterung für den Abschnitthubverteiler mit den Löchern in der Zylinderbefestigung aus (Bild 95).

Befestigen Sie die Stützhalterung mit den zwei Bundkopfschrauben (5/16" x 1") und der Sicherungsbundmutter (5/16"), die Sie in Schritt 1 in Entfernen des Abschnitthubverteilers vom mittleren Sprühabschnitt entfernt haben, an der Zylinderbefestigung (Bild 95).
Maschinen mit der optionalen Nivellierung für den Ultra Sonic Boom:
Fluchten Sie die Löcher in der Stützhalterung für den Abschnitthubverteiler und der TEC-Steuergeräthalterung mit den Löchern in der Zylinderbefestigung aus..

Befestigen Sie die Stützhalterung und die TEC-Halterung mit den zwei Bundkopfschrauben (5/16" x 1") und der Sicherungsbundmutter (5/16"), die Sie in Schritt 1 in Entfernen des Abschnitthubverteilers vom mittleren Sprühabschnitt entfernt haben, an der Zylinderbefestigung (Bild 96).
Ziehen Sie die Schrauben und Muttern bis auf 1978–2542 Ncm an.
Für diesen Arbeitsschritt erforderliche Teile:
| Ventilbefestigung und Sprühventile | 1 |
| Schraube (4 mm x 10 mm) | 3 |
| ASC 10-Sprühsteuergerät | 1 |
| Sicherungsbundmutter (4 mm) | 3 |
| Kappe (Schnelltrennanschlussstück) | 2 |
| Bundkopfschrauben (5/16" x 3/4") | 8 |
| Sicherungsbundmuttern (5/16") | 8 |
| Schlauchklemme | 1 |
| Eindrückbefestigungen (Kabelbinder) | 1 |
| Eindrückbefestigung (Steckeranker) | 3 |
Fluchten Sie das ASC 10-Sprühsteuergerät mit der Vorderseite der Ventilbefestigung aus; der 4-Stift-Stecker sollte außen sein (Bild 97).

Befestigen Sie das Sprühsteuergerät mit den vier Schrauben (3 mm x 10 mm) und vier Sicherungsbundmuttern (3 mm) an der Ventilbefestigung (Bild 97).
Note: Verwenden Sie das obere, äußere Loch im ASC 10-Sprühsteuergerät.
Ziehen Sie die Schrauben und Muttern bis auf 234–286 Nm an.
Entfernen Sie die Halter, mit denen die Ventilaktuatoren für die Düsenventile 1 bis 7 befestigt sind (Bild 98).

Entfernen Sie die Düsenaktuatoren von den Düsenventilen 1 bis 7 (Bild 98).
Entfernen Sie die Halter, mit denen die Stöpsel in der Buchse des Schnelltrennanschlussstücks am Düsenventil 5 und Düsenventil 6 befestigt sind, und entfernen Sie die Stöpsel (Bild 99).
Note: Die Schrauben werden nicht mehr benötigt; bewahren Sie die Halter für den Einbau in Befestigen der Abschnittüberlaufschläuche: Maschinen mit dem optionalen Handsprühstab oder der optionalen elektrischen Schlauchtrommel auf.

Entfernen Sie die Halter, mit denen die Sicherheitsventile an den Düsenventilen 1 bis 7 befestigt sind (Bild 100).

Nehmen Sie die Sicherheitsventile von den Düsenventilen 1 bis 5 ab (Bild 100).
Drehen Sie die Sicherheitsventile um 180° und montieren sie an den Schnelltrennanschlussstücken der Abschnittventile (Bild 101).

Befestigen Sie die Sicherheitsventile mit den Haltern (Bild 101), die Sie in Schritt 4 entfernt haben, an den Abschnittventilen.
Wiederholen Sie die Schritte 5 bis 7 für die Sicherheitsventile des Düsenventils 6 und Düsenventils 7 (Bild 102).

Befestigen Sie die Kappen mit den Haltern, die mit den Kappen geliefert werden, auf die Schnelltrennanschlussstücke der Sicherheitsventile für das Düsenventil 5 und Düsenventil 6 (Bild 101).

Befestigen Sie die Ventilaktuatoren in den Düsenventilen 1 bis 7 (Bild 98) mit den Haltern, die Sie in Schritt 1 entfernt haben.
Befestigen Sie die drei Abschnittventile (Bild 104), die Sie in Schritt 8 in Abnehmen der Abschnittventile von der Verteilerbefestigung entfernt haben, mit der Flanschklemme und der Dichtung, die Sie in Schritt 4 in Abnehmen der Abschnittventile von der Verteilerbefestigung entfernt haben, am Flansch des Ventils 7 des Sprühventils.
Important: Die linken, mittleren und rechten Abschnittventile sind im GeoLink-Sprühsystem wie folgt identifiziert: Linkes Abschnittventil, Düsenventil 8, mittleres Abschnittventil, Düsenventil 9 und rechtes Düsenventil, Düsenventil 10.

Befestigen Sie die Buchse der Schnelltrennkupplung für das Sicherheitsventil des Düsenventils 8 mit dem Halter, den Sie in Schritt 8 in Abnehmen der Abschnittventile von der Verteilerbefestigung entfernt haben, an der Schnelltrennkupplung.

Befestigen Sie das Düsenventil 10 mit den zwei Bundkopfschrauben (1/4" x 3/4") und zwei Sicherungsbundmuttern (1/4"), die Sie in Schritt 2 in Abnehmen der Abschnittventile von der Verteilerbefestigung entfernt haben, an der Ventilbefestigung (Bild 106 oder Bild 107).


Ziehen Sie die Bundkopfschrauben und Sicherungsmuttern bis auf 1017-1243 Nm an.
Kapazität der Hebevorrichtung: 23 kg
Verwenden Sie eine Hebevorrichtung mit der angegebenen Kapazität, heben Sie die Ventilbefestigung und das Sprühventil an und fluchten sie über dem mittleren Auslegerabschnitt aus (Bild 108).

Fluchten Sie die Löcher in der Befestigungshalterung der Ventilbefestigung mit den Löchern im Trägerrahmen des mittleren Sprühabschnitts aus (Bild 109).

Befestigen Sie die Ventilbefestigung mit vier Schrauben (5/16" x 3/4") und vier Sicherungsbundmuttern (5/16") am Trägerrahmen (Bild 109 und Bild 110).

Wiederholen Sie die Schritte 2 bis 3 für die andere Befestigungshalterung der Ventilbefestigung am anderen Trägerrahmen.
Ziehen Sie die Bundkopfschrauben und Sicherungsbundmuttern bis auf 1978-2542 Ncm an.
Befestigen Sie den Schlauch (1" x 16") über dem 90° Flanschanschlussstück (1"), wie in Bild 111 abgebildet.

Befestigen Sie den Schlauch mit einer Schlauchklemme am Flanschanschlussstück (Bild 111).
Befestigen Sie den Kabelbinder bzw. die Eindrückbefestigung im Loch an der Oberseite der Ventilbefestigung, wie in Bild 111 abgebildet.
Befestigen Sie den Kabelbinder bzw. die Eindrückbefestigung (Bild 111) um den Schlauch (1" x 16").
Entfernen Sie die Halterungen aus den Buchsen der Schnelltrennanschlussstücke.
Befestigen Sie das Schnellanschluss-Anschlussstück des Überlaufschlauchs am Schnelltrennanschlussstück des Sicherheitsventils am Düsenventil 10 (Bild 112).

Befestigen Sie die Schnelltrennanschlussstücke für den Überlaufschlauch und das Sicherheitsventil mit dem Halter (Bild 112).
Wiederholen Sie die Schritte 1 bis 3 für die Schnelltrennanschlussstücke am Düsenventil 1.
Befestigen Sie das Schnelltrennanschlussstück des Sicherheitsabstellventils mit dem Schnelltrennanschlussstück (Buchse) des Sicherheitsventils (Bild 113).

Befestigen Sie die Schnelltrennanschlussstücke für das Sicherheitsabstellventil und das Sicherheitsventil mit dem Halter (Bild 113), den Sie in Schritt 3 in Positionieren der Sicherheitsventile: Maschinen ohne den optionalen Handsprühstab oder die elektrische Schlauchtrommel entfernt haben.
Wiederholen Sie die Schritte 1 und 2 für das Sicherheitsabstellventil und das Sicherheitsventil an der anderen Seite der Maschine.
Befestigen Sie die Eindrückbefestigungen des Steckerankers in den Löchern in der Ventilbefestigung (Bild 114).


Stecken Sie den 3-Buchsen-Stecker (Bild 115) des 89-cm-Kitabelbaumzweigs, der mit NOZZLE VALVE 1 beschriftet ist, in den 3-Stift-Stecker des ganz linken Ventilaktuators (Stellung 1).
Note: Die Stellungen 1 bis 10 der Ventilaktuatoren sind von links nach rechts arrangiert (wenn Sie hinter der Maschine stehen).
Stecken Sie den 3-Buchsen-Stecker (Bild 115) des 89-cm-Kitabelbaumzweigs, der mit NOZZLE VALVE 2 beschriftet ist, in den 3-Stift-Stecker des Ventilaktuators (Stellung 2).
Stecken Sie die restlichen 3-Buchsen-Stecker des 89-cm-Kabelbaumzweigs in den 3-Stift-Stecker der Ventilaktuatoren (Bild 115).
Note: Stellen Sie sicher, dass die 3-Buchsen-Stecker an den relevanten Stellungen des Ventilaktuators angeschlossen sind.
Für diesen Arbeitsschritt erforderliche Teile:
| Hydraulikschlauch (1/4" x 24-3/4") | 4 |
Fluchten Sie das starre Ende der Hubzylinder, das Sie in Schritt 3 in Entfernen der Hubzylinder entfernt haben, mit dem 16 mm großen Loch in der Zylinderbefestigung aus (Bild 116).
Note: Stellen Sie sicher, dass die Ausfahr- und Rückzuganschlüsse des Zylinders ausgefluchtet sind.

Befestigen Sie den Zylinder mit dem Lagerbolzen, der Bundkopfschraube und Bundmutter an der Zylinderbefestigung (Bild 116).
Ziehen Sie die Schraube und Mutter bis auf 1978–2542 Ncm an.
Wiederholen Sie die Schritte 1 bis 3 für den anderen Hubzylinder an der anderen Seite der Zylinderbefestigung.
Montieren Sie einen neuen Hydraulikschlauch (1/4" x 24-3/4") lose zwischen dem Ausfahranschluss des linken Auslegerhubzylinders und Anschluss C3 des Auslegerhubverteilers (Bild 117).

Montieren Sie einen neuen Hydraulikschlauch (1/4" x 24-3/4") lose zwischen dem Rückzuganschluss des linken Auslegerhubzylinders und Anschluss C4 des Auslegerhubverteilers (Bild 117).
Montieren Sie einen neuen Hydraulikschlauch (1/4" x 24-3/4") lose zwischen dem Ausfahranschluss des rechten Auslegerhubzylinders und Anschluss C1 des Auslegerhubverteilers (Bild 118).

Montieren Sie einen neuen Hydraulikschlauch (1/4" x 24-3/4") lose zwischen dem Rückzuganschluss des rechten Auslegerhubzylinders und Anschluss C2 des Auslegerhubverteilers (Bild 118).
Ziehen Sie die Schlauchanschlussstücke an den Ausfahr- und Rückzuganschlüssen der Hubzylinder (Bild 117 und Bild 118) bis auf 21-26 Nm an.
Ziehen Sie die Überwurfmuttern der Schläuche am Auslegerhubverteiler (Bild 117 und Bild 118) bis auf 24-30 Nm an.
Für diesen Arbeitsschritt erforderliche Teile:
| Nylonbundbüchse | 4 |
| Kabelbinder | 1 |
| Zulaufschlauch, 188 cm | 1 |
| Zulaufschlauch, 234 cm | 1 |
| Zulaufschlauch, 279 cm | 1 |
Schneiden Sie den Schlauch zwischen zwei Sprühdüsen durch (Bild 119).

Entfernen Sie die Sicherungsbundmutter (5/16"), mit der die Sprühdüse an der Düsenstütze befestigt ist (Bild 119).
Wiederholen Sie die Schritte 2 und 1 für die anderen drei Sprühdüsen.
Note: Bewahren Sie die Sicherungsbundmutter und die Sprühdüse für den Einbau in Montieren der Sprühdüsen an den äußeren Sprühabschnitten auf.
Note: Werfen Sie die Schläuche, die Klemmen und das T-Anschlussstück, die Sie von der Maschine entfernt haben, weg.
Wiederholen Sie die Schritte 2 bis 3 am anderen äußeren Sprühabschnitt.
Arbeiten Sie mit den acht Sprühdüsen, die Sie in Schritt 1 entfernt haben, und nehmen Sie die Edelstahlschrauben (Nr. 2 x 1-1/4") ab, mit der die oberen Klemmenhälften und der gezahnte Einzelschlauch- oder Doppelschlauchschaft (3/4") am Gehäuse jeder Sprühdüse befestigt sind; nehmen Sie die gezahnten Schlauchschafte ab (Bild 120).
Note: Die Sechskantschraube (5/16" x 3/4", Edelstahl) kommt aus der oberen Klemmenhälfte heraus, wenn Sie die Klemme öffnen. Bewahren Sie die Schraube für einen späteren Einbau auf.

Kapazität der Hebevorrichtung: 91 kg
Heben Sie den äußeren Ausleger mit einer Hebevorrichtung, die die angegebene Kapazität hat, an.
Legen Sie eine Nylonbundbüchse in das 31,8 mm große Loch an jeder Seite des Drehzapfen-Anschlussstückes (Bild 121).

Fluchten Sie die Büchsen im Drehzapfen-Anschlussstück mit den Löchern in den Flanschen der Schwenkhalterung am Ende des mittleren Sprühabschnitts aus (Bild 122).

Befestigen Sie das Drehzapfen-Anschlussstück mit dem Lagerbolzen, der Bundkopfschraube (5/16" x 1") und der Sicherungsbundmutter (5/16"), die Sie in Schritt 2 in Entfernen der äußeren Sprühabschnitte entfernt haben, an der Schwenkhalterung.
Ziehen Sie die Schraube und Mutter bis auf 1978–2542 Ncm an.
Fluchten Sie das Stangenende des Hubzylinders mit dem Loch (5 mm) im Horn des Drehzapfen-Anschlussstückes aus (Bild 123)

Befestigen Sie den Hubzylinder mit dem Lastösenbolzen und Splint (Bild 123), die Sie in Schritt 2 in Entfernen der Hubzylinder entfernt haben, am Drehzapfen-Anschlussstück.
Wiederholen Sie die Schritte 1 bis 7 am äußeren Sprühabschnitt an der anderen Seite der Maschine.
Für diesen Arbeitsschritt erforderliche Teile:
| Zulaufschlauch, 279 cm | 2 |
| Zulaufschlauch, 234 cm | 2 |
| Zulaufschlauch, 188 cm | 4 |
| Zulaufschlauch, 81 cm | 2 |
Identifizieren Sie die Zulaufschläuche an der Länge (Bild 124) für jede Sprühdüsenstellung wie folgt:
| Sprühdüsenstellungen, linker Sprühabschnitt | Sprühdüsenstellungen, mittlerer Sprühabschnitt | Sprühdüsenstellungen, rechter Sprühabschnitt |
|---|---|---|
| Sprühdüse 1 (Düsenventil 1), Zulaufschlauch, 279 cm | Sprühdüsen 5 und 6 (Düsenventil 5), Zulaufschlauch, 81 cm mit zwei Zweigschläuchen | Sprühdüse 9 (Düsenventil 7), Zulaufschlauch, 188 cm |
| Sprühdüse 2 (Düsenventil 2), Zulaufschlauch, 234 cm | Sprühdüsen 7 und 8 (Düsenventil 6), Zulaufschlauch, 81 cm mit zwei Zweigschläuchen | Sprühdüse 10 (Düsenventil 8), Zulaufschlauch, 188 cm |
| Sprühdüse 3 (Düsenventil 3), Zulaufschlauch, 188 cm | Sprühdüse 11 (Düsenventil 9), Zulaufschlauch, 234 cm | |
| Sprühdüse 4 (Düsenventil 4), Zulaufschlauch, 188 cm | Sprühdüse 12 (Düsenventil 10), Zulaufschlauch, 279 cm |
Note: Informationen zu den Düsenventilstellungen finden Sie in Bild 125 in Montieren der Schläuche an den Düsenventilen 1 bis 4, Bild 126 in Montieren der Schläuche an den Düsenventilen 5 bis 6 und Bild 127 in Montieren der Schläuche an den Düsenventilen 7 bis 10.

Befestigen Sie das gerade gezahnte Anschlussstück des Zulaufschlauchs (279 cm) an der Kupplung des Düsenventils 1 (Bild 125).
Note: Stellen Sie sicher, dass das gezahnte Anschlussstück fest auf der Kupplung sitzt.

Befestigen Sie das gerade Anschlussstück mit einem Halter an der Kupplung (Bild 125).
Befestigen Sie das gerade gezahnte Anschlussstück des Zulaufschlauchs (234 cm) an der Kupplung des Düsenventils 2 (Bild 125).
Note: Stellen Sie sicher, dass das gezahnte Anschlussstück fest auf der Kupplung sitzt.
Befestigen Sie das gerade Anschlussstück mit einem Halter an der Kupplung (Bild 125).
Befestigen Sie das gerade gezahnte Anschlussstück des Zulaufschlauchs (188 cm) an der Kupplung des Düsenventils 3 (Bild 125).
Note: Stellen Sie sicher, dass das gezahnte Anschlussstück fest auf der Kupplung sitzt.
Befestigen Sie das gerade Anschlussstück mit einem Halter an der Kupplung (Bild 125).
Befestigen Sie das gerade gezahnte Anschlussstück des Zulaufschlauchs (188 cm) an der Kupplung des Düsenventils 4 (Bild 125).
Note: Stellen Sie sicher, dass das gezahnte Anschlussstück fest auf der Kupplung sitzt.
Befestigen Sie das gerade Anschlussstück mit einem Halter an der Kupplung (Bild 125).
Note: Der Zulaufschlauch (81 cm) hat ein T-Anschlussstück mit zwei Zweigschläuchen und zwei gezahnten Einzelschlauchschaften.
Befestigen Sie das gerade gezahnte Anschlussstück des Zulaufschlauchs (81 cm) an der Kupplung des Düsenventils 5 (Bild 126).
Note: Stellen Sie sicher, dass das gezahnte Anschlussstück fest auf der Kupplung sitzt.

Befestigen Sie das gerade Anschlussstück mit einem Halter an der Kupplung (Bild 126).
Befestigen Sie das gerade gezahnte Anschlussstück des Zulaufschlauchs (81 cm) an der Kupplung des Düsenventils 6 (Bild 126).
Note: Stellen Sie sicher, dass das gezahnte Anschlussstück fest auf der Kupplung sitzt.
Befestigen Sie das gerade Anschlussstück mit einem Halter an der Kupplung (Bild 126).
Befestigen Sie das gerade gezahnte Anschlussstück des Zulaufschlauchs (188 cm) an der Kupplung des Düsenventils 7 (Bild 127).
Note: Stellen Sie sicher, dass das gezahnte Anschlussstück fest auf der Kupplung sitzt.

Befestigen Sie das gerade Anschlussstück mit einem Halter an der Kupplung (Bild 127).
Befestigen Sie das gerade gezahnte Anschlussstück des Zulaufschlauchs (188 cm) an der Kupplung des Düsenventils 8 (Bild 127).
Note: Stellen Sie sicher, dass das gezahnte Anschlussstück fest auf der Kupplung sitzt.
Befestigen Sie das gerade Anschlussstück mit einem Halter an der Kupplung (Bild 127).
Befestigen Sie das gerade gezahnte Anschlussstück des Zulaufschlauchs (234 cm) an der Kupplung des Düsenventils 9 (Bild 127).
Note: Stellen Sie sicher, dass das gezahnte Anschlussstück fest auf der Kupplung sitzt.
Befestigen Sie das gerade Anschlussstück mit einem Halter an der Kupplung (Bild 127).
Befestigen Sie das gerade gezahnte Anschlussstück des Zulaufschlauchs (279 cm) an der Kupplung des Düsenventils 10 (Bild 127).
Note: Stellen Sie sicher, dass das gezahnte Anschlussstück fest auf der Kupplung sitzt.
Befestigen Sie das gerade Anschlussstück mit einem Halter an der Kupplung (Bild 127).
Verlegen Sie die Schläuche für die Sprühdüsen 1, 2, 3 und 4 durch die R-Klemme am linken äußeren Ende des mittleren Sprühabschnitts (Bild 128 und Bild 129).


Verlegen Sie die Schläuche für die Sprühdüsen 7, 8, 9 und 10 durch die R-Klemme am rechten äußeren Ende des mittleren Sprühabschnitts (Bild 128 und Bild 129).
Verlegen Sie die Zulaufschläuche (279 cm) und die gezahnten Schlauchschafte (3/4") entlang des Sprühabschnitts zu den Sprühdüsen 1 und 10, wie in Bild 128 und Bild 129 abgebildet.
Verlegen Sie die Zulaufschläuche (234 cm) und die gezahnten Schlauchschafte (3/4") entlang des Sprühabschnitts zu den Sprühdüsen 2 und 9, wie in Bild 128 und Bild 129 abgebildet.
Verlegen Sie die Zulaufschläuche (188 cm) und die gezahnten Schlauchschafte (3/4") entlang des Sprühabschnitts zu den Sprühdüsen 3 und 8, wie in Bild 128 und Bild 129 abgebildet.
Note: Verlegen Sie die Schläuche durch die unteren Scheiben hinten in den Rahmenrohr-Halterungen.
Verlegen Sie die Zulaufschläuche (188 cm) und die gezahnten Schlauchschafte (3/4") entlang des Sprühabschnitts zu den Sprühdüsen 4 und 7, wie in Bild 128 und Bild 129 abgebildet.
Note: Verlegen Sie die Schläuche durch die unteren Scheiben hinten in den Rahmenrohr-Halterungen.
Bündeln Sie die vier Schläuche für die Sprühdüsen mit einem Kabelbinder zusammen, wie in Bild 129 abgebildet.
Fluchten Sie den Transferschlauch im Sattel einer Sprühdüse (Bild 130) mit dem Loch in der Seite des gezahnten Einzelschlauchschafts (1/2") aus.

Schließen Sie die obere Klemmenhälfte um den gezahnten Schlauchschaft und befestigen Sie die Klemmenhälfte und das Sprühdüsengehäuse (Bild 130) mit der Edelstahlschraube (Nr. 12 x 1¼"). Ziehen Sie die Edelstahlschraube bis auf 14-18 Nm an.
Note: Stellen Sie sicher, dass die Sechskantschraube (5/16" x 3/4") in der Vertiefung in der oberen Klemmenhälfte sitzt, wenn Sie die Klemme schließen.
Montieren Sie die Sprühdüsen wie folgt am äußeren Sprühabschnitt:
Montieren Sie an den Düsenpositionen 1 und 4 die Sprühdüse mit der Sicherungsbundmutter (5/16"), die Sie in Schritt 2 in Entfernen der Sprühdüsen von den äußeren Sprühabschnitten entfernt haben, an der Düsenbefestigung (A in Bild 131).
Montieren Sie an den Düsenstellungen 2 und 3 die Sprühdüse mit der Sicherungsbundmutter (5/16"), die Sie in Schritt 2 in Entfernen der Sprühdüsen von den äußeren Sprühabschnitten entfernt haben, an der Düsenbefestigung (A und B in Bild 131).

Ziehen Sie die Sicherungsbundmutter bis auf 1978-2542 Ncm an.
Wiederholen Sie die Schritte 1 bis 4 für die anderen Sprühdüsen für den Sprühabschnitt.
Wiederholen Sie die Schritte 1 bis 5 am äußeren Sprühabschnitt an der anderen Seite der Maschine.
Stecken Sie den 3-Buchsen-Stecker des 61-cm-Kabelbaumzweigs, der mit PRESSURE TRANSDUCER GREEN WEDGE beschriftet ist, in den 3-Stift-Stecker des Druckwandlers (Bild 132).

Stecken Sie den 40-Buchsen-Stecker des 102-cm-Kitkabelbaumzweigs in den 40-Stift-Stecker des ASC 10 Sprühsteuergeräts (Bild 133).

Schrauben Sie die Daumenschraube des 40-Buchsen-Steckers mit der Hand in den ASC 10-Stecker ein (Bild 133).
Stecken Sie den 4-Buchsen-Stecker, der mit TO ASC 10 beschriftet ist, in den 4-Stift-Stecker des ASC 10 Sprühsteuergeräts (Bild 134).

Montieren Sie das 90°-Anschlussstück des Abstellventils für den optionalen Handsprühstab oder die elektrische Schlauchtrommel mit der Flanschklemme und der Dichtung am Flansch des Düsenventils 10 und ziehen Sie die Klemme mit der Hand an (Bild 136).

Fluchten Sie das Ende des Druckmessschlauchs (Kunststoff) für das Druckmanometer im Armaturenbrett mit dem arretierenden Stellring für die Schlauchkupplung am 90°-Anschlussstück des Abstellventils für den Handsprühstab oder die elektrische Schlauchtrommel aus (Bild 137).

Setzen Sie den Messschlauch in den arretierenden Stellring ein, bis er fest sitzt (Bild 137).
Für diesen Arbeitsschritt erforderliche Teile:
| Kabelbinder | 6 |
Verlegen Sie die Schläuche für die Schaumdüsen am linken und rechten Sprühabschnitt nach innen und durch die R-Klemme in der Nähe des Drehpunkts, für jeden äußeren Sprühabschnitt (Bild 139).


Verlegen Sie die Schläuche nach vorne entlang der linken Seite des Sprühbehälters (Bild 139).
Befestigen Sie die Schläuche für die linken und rechten Schaummarkiererdüsen mit vier Kabelbindern an den Sprühschläuchen, wie in Bild 139 abgebildet.
Befestigen Sie die Schläuche für die linken und rechten Schaummarkiererdüsen mit zwei Kabelbindern an den Schläuchen für das Rührwerk, wie in Bild 139 abgebildet.
Verlegen Sie die Schaumschläuche für den rechten Ausleger, wie in Bild 140 abgebildet.


Stecken Sie den durchsichtigen Schlauch in das Luft-Anschlussstück an der Seite der Kompressorplatte (Bild 140 und Bild 141).

Stecken Sie den blauen Schlauch in das Flüssigkeit-Anschlussstück an der Seite der Kompressorplatte (Bild 140 und Bild 141).
Verlegen Sie die Schaumschläuche für den linken Ausleger, wie in Bild 140 abgebildet.
Stecken Sie den durchsichtigen Schlauch in das Luft-Anschlussstück an der Seite der Kompressorplatte (Bild 140 und Bild 141).
Stecken Sie den blauen Schlauch in das Flüssigkeit-Anschlussstück an der Seite der Kompressorplatte (Bild 140 und Bild 141).
Montieren Sie die Schläuche mit dem Kabelbinder, den Sie in Schritt 9 in Vorbereiten der neuen Schläuche für die Schaummarkiererdüsen vorbereitet haben, und fluchten Sie den blauen Schlauch für den rechten Sprühabschnitt mit dem Druckanschlussstück für den Wasserkreislauf des rechten Sprühabschnitts aus (Bild 142).

Befestigen Sie die Druckmutter für den Schlauch auf dem Anschlussstück und ziehen die Mutter mit der Hand an (Bild 142).
Fluchten Sie den durchsichtigen Schlauch für den rechten Sprühabschnitt auf dem Druckanschlussstück für den Luftkreislauf für den rechten Sprühabschnitt aus (Bild 142).
Befestigen Sie die Druckmutter für den Schlauch auf dem Anschlussstück und ziehen die Mutter mit der Hand an (Bild 142).
Schließen Sie den nicht beschrifteten Schlauch (kein Kabelbinder) an; fluchten Sie hierfür den blauen Schlauch für den linken Sprühabschnitt auf dem Druckanschlussstück für den Wasserkreislauf für den linken Sprühabschnitt aus (Bild 143).

Befestigen Sie die Druckmutter für den Schlauch auf dem Anschlussstück und ziehen die Mutter mit der Hand an (Bild 143).
Fluchten Sie den durchsichtigen Schlauch für den linken Sprühabschnitt auf dem Druckanschlussstück für den Luftkreislauf für den linken Sprühabschnitt aus (Bild 143).
Befestigen Sie die Druckmutter für den Schlauch auf dem Anschlussstück und ziehen die Mutter mit der Hand an (Bild 143).
Befestigen Sie den Schaummarkiererschlauch mit zwei Kabelbindern an den Sprühdüsenschläuchen (Bild 139).
Schließen Sie den 3-Buchsen-Stecker des Kabelbaums für den Ultraschall-Ausleger am 3-Stift-Stecker des Kabels für den rechten Ultraschallsensor an (A in Bild 144).

Schließen Sie den 3-Buchsen-Stecker des Kabelbaums für den Ultraschall-Ausleger am 3-Stift-Stecker des Kabels für den linken Ultraschallsensor an (B in Bild 144).
Für diesen Arbeitsschritt erforderliche Teile:
| Abdeckungsverlängerung (12. Düse, Toro Bestellnummer 120-0621) | 1 |
| Blindniete (Toro Bestellnummer 114439) | 22 |
| Stützhalterung (mittlere Abschnittsabdeckung, Toro Bestellnummer 131-3703-03) | 4 |
| Klemmmutter (Toro Bestellnummer 94-2413) | 4 |
| Bundkopfschrauben (3/8" x 1-1/4", Toro Bestellnummer 110-5050) | 16 |
| Sicherungsbundmuttern (3/8", Toro Bestellnummer 104-8301) | 16 |
| Abdeckungsriemen (Toro Bestellnummer 120-0629) | 2 |
| Bundkopfschrauben (5/16" x 1-1/4", Toro Bestellnummer 323-36) | 4 |
Bohren Sie die 11 Blindnieten (Bild 145) mit einem 5-mm-Bohrer aus, mit denen die Verstärkungsplatte (eine Reihe von Nieten) und die Gummiabdeckung am Ende der 11. Düsenabschnittsabdeckung für den mittleren Auslegerabschnitt befestigt ist, die Sie in Schritt 2 in Entfernen der Abdeckung des mittleren Abschnitts (11. Düse) des optionalen abgedeckten Auslegers entfernt haben.


Nehmen Sie die Verstärkungsplatte, die 11 Scheiben (3/16") und die Gummiabdeckung von der 11. Düsenauslegerabdeckung ab (Bild 145).
Note: Bewahren Sie die Verstärkungsplatte, die Scheiben und die Gummiabdeckung für die Einbauschritte 5 und 6 auf.
Fluchten Sie die Löcher in der Verstärkungsplatte (doppelte Reihe) an der Abdeckungsverlängerung mit den Löchern am Ende der 11. Düsenauslegerabdeckung aus (Bild 146).

Befestigen Sie die Abdeckungsverlängerung mit 11 Blindnieten (Toro Bestellnummer 114439) an der 11. Düsenabschnittsabdeckung (Bild 147).

Fluchten Sie die Löcher in der Gummiabdeckung und der Verstärkungsplatte (eine Reihe), die Sie in Schritt 2 entfernt haben, mit den Löchern am Ende der Abdeckungsverlängerung aus (Bild 148).

Befestigen Sie die Verstärkungsplatte und die Gummiabdeckung mit den 11 Blindnieten (Toro Bestellnummer 114439) und den 11 Scheiben (3/16"), die Sie in Schritt 5 entfernt haben, an der Abdeckungsverlängerung.
Note: Fluchten Sie die Scheiben (3/16") gegen die Innenoberfläche der Abdeckungsverlängerung aus.
Befestigen Sie die vier Klemmmuttern (Toro Bestellnummer 94-2413) an den zwei Stützhalterungen der mittleren Abschnittsabdeckung (Toro Bestellnummer 131-3703-03), wie in Bild 149 abgebildet.

Ermitteln Sie an der Verlängerung für den mittleren Sprühabschnitt die zwei Lochpaare in der vertikalen Fläche des Trägerrahmens mit einem Lochabstand von 25 mm (Bild 150).


Fluchten Sie die Löcher in einer Stützhalterung (Toro Bestellnummer 131–3703–03) mit den Löchern in der Verlängerung für den mittleren Sprühabschnitt aus, den Sie in Schritt 2 identifiziert haben, wobei der breite Flansch der Halterung links sein sollte, siehe Bild 150.
Befestigen Sie die Stützhalterung mit vier Bundkopfschrauben (3/8" x 1-1/4", Toro Bestellnummer 110-5050) und vier Sicherungsbundmuttern (3/8", Toro Bestellnummer 104-8301) am Trägerrahmen (Bild 150).
Wiederholen Sie die Schritte 2 bis 4 an den anderen zwei Lochpaaren für den mittleren Sprühabschnitt und für die andere Stützhalterung, die Bundkopfschrauben und Sicherungsbundmuttern.
Ziehen Sie die Schrauben und Muttern bis auf 37-45 Nm an.
Fluchten Sie die Löcher in der mittleren Abschnittsabdeckung mit den Löchern in den Stützhalterungen für die mittlere Abschnittsabdeckung aus (Bild 151).

Fluchten Sie die Löcher in den zwei Abdeckungsriemen, die Sie in Schritt 1 in Entfernen der Abdeckung des mittleren Abschnitts (11. Düse) des optionalen abgedeckten Auslegers entfernt haben, mit dem Schlauch in der Abdeckung und zwei Stützhalterungen aus (Bild 151).
Befestigen Sie die Abdeckungsriemen und die Abdeckung mit vier Bundkopfschrauben (5/16" x 1-1/4"), die Sie in Schritt 1 in Entfernen der Abdeckung des mittleren Abschnitts (11. Düse) des optionalen abgedeckten Auslegers entfernt haben, an den Stützhalterungen.
Fluchten Sie die Löcher in den zwei Abdeckungsriemen (Toro Bestellnummer 120-0629) mit den vier restlichen Löchern in der Abdeckung und den vier restlichen Löchern in den Stützhalterungen aus (Bild 151).
Befestigen Sie die Abdeckungsriemen und die Abdeckung mit vier Bundkopfschrauben (5/16" x 1-1/4"), Toro Bestellnummer 323-36, an den Stützhalterungen (Bild 151).
Ziehen Sie die Schrauben bis auf 1978-2542 Ncm an.
Für diesen Arbeitsschritt erforderliche Teile:
| Aufnahmeplatte | 1 |
| Distanzstück (3/8" x 1") | 1 |
| Empfängerbefestigung | 1 |
| Schraube (3/8" x 1¾") | 1 |
| Sicherungsscheibe (3/8") | 1 |
| Scheibe (3/8" x 13/16") | 1 |
| Sicherungsbundmutter (⅜") | 1 |
| Bundkopfschraube (5/16" x ¾") | 1 |
| Sicherungsbundmutter (5/16") | 1 |
| Bundkopfschraube (3/8" x 1-1/2") | 2 |
| Distanzstück (3/8" x 7/16") | 2 |
| Navigationsempfänger, X25 GeoLink-Präzisionssprühsystem, Basis, WAAS (Modell 41630) | 1 |
| Sechskantschraube (5 x 16 mm) | 3 |
| Scheibe (5 mm) | 3 |
| Schottadapter (optionales CDMA RTK-Berichtigungsmodemkit oder GSM RTK-Berichtigungsmodemkit) | 1 |
| Mobilfunkantenne (optionales CDMA RTK-Berichtigungsmodemkit oder GSM RTK-Berichtigungsmodemkit) | 1 |
| Koaxialkabel (optionales CDMA RTK-Berichtigungsmodemkit oder GSM RTK-Berichtigungsmodemkit) | 1 |
Fluchten Sie die Löcher in der Platte des Navigationsempfängers, dem Distanzstück (3/8") und der Empfängerbefestigung aus (Bild 152).

Befestigen Sie die Empfängerplatte und das Distanzstück mit einer Schraube (3/8" x 3-1/4") , Sicherungsscheibe (3/8"), Scheibe ((3/8" x 13/16") und Sicherungsbundmutter (3/8") an der Befestigung, wie in Bild 152 abgebildet.
Befestigen Sie die Bundkopfschraube (5/16" x 3/4") und die Sicherungsbundmutter (5/16") durch das kleiner Loch in der Empfängerbefestigung und den Schlitz in der Empfängerplatte (Bild 152).
Ziehen Sie die Schrauben und Muttern an, sodass Sie die Empfängerplatte mit geringem Widerstand drehen können.
Montieren Sie die Empfängerbefestigung und das Distanzstück (3/8" x 7/16") mit der Bundkopfschraube (3/8" x 1-1/2") am Überrollbügel, wie in Bild 153 abgebildet.

Ziehen Sie die Schrauben an, sodass Sie die Empfängerplatte mit geringem Widerstand drehen können.
Nivellieren Sie die Empfängerplatte seitlich (Bild 154).

Ziehen Sie die Bundkopfschraube (5/16" x 3/4") und Sicherungsbundmutter (5/16") bis auf 1978-2542 Ncm an.
Nivellieren Sie die Empfängerplatte in Längsrichtung (Bild 154).
Ziehen Sie die Schraube (3/8" x 3-1/4") und Sicherungsmutter (3/8") bis auf 37-45 Nm an.
Fluchten Sie die drei Gewinde im Unterteil des Navigationsempfängers mit den drei Löchern in der Empfängerbefestigung aus (Bild 155).

Befestigen Sie den Empfänger mit den drei Sechskantschrauben (5 mm x 16 mm) und drei Scheiben (5 mm) an der Befestigung (Bild 155).
Ziehen Sie die drei Schrauben bis auf 576-712 Ncm an.
Note: Befestigen Sie die RTK-Antenne, wenn die Maschine mit einem CDMA RTK- oder GSM RTK-Berichtigungsmodem ausgerüstet ist.
Fluchten Sie die Koaxialkupplung durch die Öffnung im RTK-Antennenflansch mit dem Schottgewinde der nach unten zeigenden Kupplung aus (Bild 156).
Note: Drehen Sie den Koaxialstecker ggf., sodass der flache Bereich der Schottgewinde mit dem flachen Bereich in der Öffnung im RTK-Antennenflansch ausgefluchtet ist.

Montieren Sie die Koaxialkupplung mit der Sicherungsscheibe und der Klemmmutter am Flansch der Empfängerplatte und ziehen die Klemmmutter mit der Hand an (Bild 156).
Befestigen Sie die RTK-Antenne am oberen Anschlussstück der Koaxialkupplung und ziehen die Mutter der Antenne mit der Hand an (Bild 157).

Befestigen Sie das Antennenkabel lose am unteren Anschlussstück der Koaxialkupplung (Bild 157).
Verlegen Sie das Kabel um die Rückseite des Navigationsempfängers zum Koaxialstecker des CDMA- oder GSM-Mobilfunkmodems (Bild 157).
Befestigen Sie das Antennenkabel am Koaxialstecker des CDMA- oder GSM-Mobilfunkmodems (Bild 157).
Ziehen Sie die Muttern des Antennenkabels mit der Hand fest.
Für diesen Arbeitsschritt erforderliche Teile:
| Monitorbefestigung | 1 |
| Bundkopfschraube (6 mm x 12 mm) | 3 |
| U-Bügel (5/16") | 2 |
| Sicherungsbundmutter (5/16") | 8 |
| Kugelbefestigung | 1 |
| Bundkopfschraube (5/16" x ¾") | 4 |
| Monitor, X25 GeoLink-Präzisionssprühsystem, Basis, WAAS (Modell 41630) | 1 |
| Monitorarm, X25 GeoLink-Präzisionssprühsystem, Basis, WAAS (Modell 41630) | 1 |
Fluchten Sie die Monitorbefestigung mit der Maschine aus, wie in Bild 159 abgebildet.

Montieren Sie die Monitorbefestigung mit den drei Bundkopfschrauben (6 mm x 12 mm) am Gehäuse des Lenkventils (Bild 160).

Montieren Sie die Platte der Monitorbefestigung mit den zwei U-Bügeln und vier Sicherungsbundmuttern (5/16") am Stützrohr des Maschinenchassis (Bild 161).

Ziehen Sie die drei Bundkopfschrauben (6 mm x 12 mm) am Lenkventil bis auf 972-1198 Nm an. Ziehen Sie die Sicherungsbundmuttern am Stützrohr bis auf 1978-2542 Nm an.
Fluchten Sie die Bandmarkierung am Lenkrad mit der Bandmarkierung am Gehäuse des Lenkventils aus (Bild 162).

Befestigen Sie das Lenkrad mit der Scheibe (5/8") und Mutter (5/8"), die Sie in Schritt 3 in Entfernen des Lenkrads entfernt haben, auf dem Schaft des Lenkventils (Bild 162).
Ziehen Sie die Mutter bis auf 206-254 Nm an.
Setzen Sie die Abdeckung, die Sie in Schritt 2 in Entfernen des Lenkrads entfernt haben, auf das Lenkrad (Bild 168).
Montieren Sie die Kugelbefestigung mit den vier Bundkopfschrauben (5/16" x 3/4") und vier Sicherungsbundmuttern (5/16") an der Halterung für die Monitorbefestigung (Bild 163).

Ziehen Sie die Schrauben und Muttern bis auf 1978–2542 Ncm an.
Montieren Sie das Kugelanschlussstück des Monitors und die Kugelbefestigung an der Maschine am Monitorarm (Bild 164).

Stellen Sie den Monitor so ein, dass er von der Bedienerposition aus sichtbar ist und ziehen Sie das Handrad des Monitorarms mit der Hand an (Bild 164).
Schließen Sie den 2-Buchsen-Stecker des Maschinenkabelbaums, der mit SPRAY PUMP COIL beschriftet ist, vom 2-Stift-Stecker der Lichtmaschine ab (Bild 165).

Stecken Sie den 2-Stift-Stecker des Kitkabelbaumzweigs (84 cm), der mit PUMP CLUTCH beschriftet ist, in den 2-Buchsen-Stecker des Maschinenkabelbaums, der mit SPRAY PUMP COIL beschriftet ist (Bild 166).

Stecken Sie den 2-Buchsen-Stecker des Kitkabelbaums, der mit PUMP CLUTCH beschriftet ist, in den 2-Stift-Stecker der Lichtmaschine (Bild 166).
Verlegen Sie den Kabelbaumzweig (84 cm) gegen den Motor und die Sprühpumpe, sodass der Kabelbaum nicht den Lichtmaschinenriemen berührt (Bild 167).

Für diesen Arbeitsschritt erforderliche Teile:
| Batteriehalterung | 1 |
| Schraube (5/16" x 1-¾") | 1 |
| Scheibe (5/16") | 1 |
| Batterie (540 A) | 1 |
| Batteriehalter | 1 |
| Sicherungsbundmutter (5/16") | 1 |
| Lichtmaschinenhalterung | 1 |
| Antriebsscheibe, 279 mm | 1 |
| Schraube (¼" x 2¼") | 4 |
| Sicherungsscheibe (1/4") | 4 |
| Lichtmaschine (60 A) | 1 |
| Bundkopfschraube (8 mm x 25 mm) | 1 |
| Bundkopfschraube (3/8" x 1-1/2") | 1 |
| Keilriemen | 1 |
Nehmen Sie die zwei Sicherungsbundmuttern und die Befestigungsstange von den zwei J-Schrauben ab, mit denen die Batterie an der Batteriehalterung der Maschine befestigt ist (Bild 168).

Nehmen Sie die Batterie aus der Maschine heraus (Bild 168).
Note: Die Bundmuttern, Befestigungsstange und die Batterie (300 A) werden nicht mehr benötigt.
Entfernen Sie die Bolzen (10-24 x 3/4") und Muttern (10-24), die den Sicherungskasten an der Batteriehalterung halten (Bild 169).
Note: Bewahren Sie die Schrauben (10-24" x 3/4") und Muttern (10-24) für den Einbau in Befestigen der Batteriehalterung und der Batterie (540 A) auf.

Entfernen Sie die zwei Bundkopfschrauben (3/8" x 3/4"), mit denen die Batteriehalterung am Stützrohr des Stoßdämpfers der Maschine befestigt ist (Bild 169).
Note: Bewahren Sie die Bundkopfschraube (3/8" x 3/4") für den Einbau in Befestigen der Batteriehalterung und der Batterie (540 A) auf.
Nehmen Sie die zwei J-Schrauben und das Batteriefach von der Batteriehalterung ab (Bild 170).

Nehmen Sie die Batteriehalterung von der Maschine ab (Bild 171).
Note: Die J-Schrauben, das Batteriefach und die Batteriehalterung werden nicht mehr benötigt.

Fluchten Sie die neue Batteriehalterung mit dem Stützrohr des Stoßdämpfers der Maschine und den Sicherungskästen aus (Bild 172).

Montieren Sie die Batteriehalterung mit den zwei Bundkopfschrauben (3/8" x 3/4"), die Sie in Schritt 4 in Entfernen der Batterie (300 A) und der Batteriehalterung aufbewahrt haben, am Stützrohr des Stoßdämpfers (Bild 173).

Ziehen Sie die Bundkopfschrauben bis auf 37-45 Nm an.
Befestigen Sie die Sicherungskästen mit der Schraube (10-24" x 3/4") und den Muttern (10-24"), die Sie in Schritt 3 in Entfernen der Batterie (300 A) und der Batteriehalterung entfernt haben, an der Batteriehalterung (Bild 173).
Montieren Sie die Batterie mit der Schraube (5/16" x 1-3/4"), der Scheibe (5/16"), dem Batteriehalter und der Sicherungsbundmutter (5/16") an der Batteriehalterung, wie in Bild 174 abgebildet.

Ziehen Sie die Schraube und Mutter bis auf 1978–2542 Ncm an.
Lösen Sie am Pumpenkopf, der sich an der 11-Uhr-Stellung befindet, die zwei Schrauben, wie in Bild 175 abgebildet, um einen 7 mm bis 10 mm großen Abstand zwischen dem Kopf der Schrauben und der Pumpe zu erhalten.
Note: Sie müssen die Schrauben nicht von der Sprühpumpe entfernen.

Fluchten Sie die Lichtmaschinenhalterung zwischen den gelösten Schrauben und dem Pumpenkopf (Bild 176) aus, wie in Schritt 1 abgebildet.

Ziehen Sie die Schrauben bis auf 61-75 N an.
Lockern Sie die Mutter für die Spannscheibenwelle (Bild 177).
Note: Stellen Sie sicher, dass keine Riemenspannung vorhanden ist.

Drehen sie die Riemenspannungsschraube, um die Spannung vom Riemen der Sprühpumpe zu entfernen (Bild 177).
Entfernen Sie die vier Schrauben (1/4 x 1") und vier Sicherungsscheiben (1/4"), mit denen die Riemenscheibe an der Sprühpumpe befestigt ist (Bild 178).
Important: Nehmen Sie die Riemenscheibe nicht ab.
Note: Die Schrauben und Sicherungsscheiben werden nicht mehr benötigt.

Fluchten Sie die Löcher in der Riemenscheibe für die Lichtmaschine (Kit) mit den Löchern in der Riemenscheibe für die Sprühpumpe aus (Bild 179).

Montieren Sie die Riemenscheibe der Lichtmaschine mit den vier Schrauben (1/4" x 2-1/4") und vier Sicherungsscheiben (1/4") an der Riemenscheibe der Sprühpumpe und der Sprühpumpe.
Ziehen Sie die Schrauben bis auf 1017-1243 Nm an.
Drehen Sie die Riemenspannungsschraube, um die Riemenspannung zu erhöhen, bis Sie in der Mitte zwischen dem Motor und den Kettenrädern der Sprühpumpe eine Riemendurchbiegung von 9,5 mm messen.

Ziehen Sie die Mutter für die Spannscheibenwelle bis auf 37-44 Nm an.
Montieren Sie die Lichtmaschine (60 A) mit der Bundkopfschraube (3/8" x 1-1/2") an der Halterung der Lichtmaschine (Bild 181).

Montieren Sie den Gewindeflansch der Lichtmaschine mit der Bundkopfschraube (8 mm x 22 mm) am geschlitzten Flansch der Halterung der Lichtmaschine (Bild 181).
Verlegen Sie den Keilriemen über die Antriebsscheibe (279 mm) und die Riemenscheibe der Lichtmaschine (Bild 182).

Drehen Sie die Lichtmaschine (Bild 183) nach oben, um die Riemenspannung zu erhöhen, bis Sie in der Mitte zwischen der Riemenscheibe der Lichtmaschine und der Antriebsscheibe eine Riemendurchbiegung von 9,5 mm messen, wenn Sie eine Kraft von 4,5 kg aufbringen.

Ziehen Sie die Bundkopfschraube (8 mm x 25 mm) bis auf 23-29 Nm an.
Ziehen Sie die Bundkopfschraube (3/8" x 1-1/2") bis auf 37-45 Nm an.
Für diesen Arbeitsschritt erforderliche Teile:
| Relais | 1 |
| Eindrückbefestigung | 1 |
| Sicherung (15 A) | 1 |
| Sicherung (50 A) | 1 |
Stecken Sie den 2-Buchsen-Stecker am Ende des rosa Kabels (57 cm) des Kitkabelbaums (Bild 184) in den 2-Stift-Stecker der Lichtmaschine ( 50 A).

Verlegen Sie das rosa Messkabel von den Riemen der Lichtmaschine weg und befestigen Sie das Kabel mit einem Kabelbinder.
Nehmen Sie die Mutter von der Anschlussklemme der Lichtmaschine (50 A) ab (Bild 185).

Befestigen Sie das rote (4 mm) Lichtmaschinenkabel mit der Mutter an der Anschlussklemme der Lichtmaschine (50 A) (Bild 185).
Verlegen Sie das rote Lichtmaschinenkabel zur den Batteriepolen und von der Riemenscheibe und dem Treibriemen entfernt.
Ziehen Sie die Mutter bis auf 47-57 Nm an.
Schieben Sie die Isolierabdeckung über die Anschlussklemme der Lichtmaschine (Bild 185).
Stecken Sie den 5-Stift-Stecker des Relais in den 5-Buchsen-Stecker (Bild 186) des Kitkabelbaums, der mit ASC 10 ENABLE RELAIS beschriftet ist.

Fluchten Sie das Loch in der Befestigungsnase des Relais mit dem Loch im Stützrohr des Stoßdämpfers aus und befestigen Sie das Relais mit einer Eindrückbefestigung am Rohr (Bild 186).
Stellen Sie ein Mehrfachmessgerät für die Durchführung eines Kontinuitätstests ein.
Stecken Sie am Sicherungskasten 3 der Maschine die Mehrfachmessgerätsonde in den Kontakt 4 (die rechte Spalte) der Sicherungsfassung 2, wie in Bild 187 abgebildet.

Identifizieren Sie an der Vorderseite der Sicherungskästen mit der anderen Mehrfachmessgerätsonde den Flachstecker am Ende des roten Kabels (20 mm), der an der Sicherungsfassung 2, Kontakt 4, angeschlossen ist.

Markieren Sie den Anschluss und das Kabel, das Sie in Schritt 3 identifiziert haben, mit einem Stück Band (Bild 188).
Stecken Sie den Flachstecker, den Sie in Schritt 4 markiert haben, in den Buchsen-Stecker am Ende des rosa Kabels (51 mm) des Kitkabelbaums (Bild 189).

Setzen Sie die Sicherung (15 A) in die Sicherungsfassung 2 des Sicherungskastens 3 ein, bis sie fest sitzt (Bild 190).

Setzen Sie die Sicherung: (50 A) in den internen Sicherungskasten ein, bis sie fest sitzt (Bild 191).

Für diesen Arbeitsschritt erforderliche Teile:
| Datenkabelbaum (Navigationssystem), GeoLink-Präzisionssprühsystem (Modell 41630) | 1 |
| Batteriekabelbaum (Navigationssystem), GeoLink-Präzisionssprühsystem (Modell 41630) | 1 |
| Kabelbinder | 8 |
| Schnellanschlussklemme (roter Hebel) | 1 |
| Schnellanschlussklemme (schwarzer Hebel) | 1 |

Important: Einige Anschlüsse des Datenkabelbaums werden nicht verwendet: Stellen Sie sicher, dass Kappen und Blenden der nicht verwendeten Anschlüsse fest sind.
Stecken Sie den 3-Buchsen-Stecker (elektrische Stromschnittstelle) des elektrischen Navigationskabelbaums in den 3-Stift-Stecker (elektrische Stromschnittstelle) des Datenkabelbaums (Bild 192).


Verlegen Sie den 390-cm-Zweig des Datenkabelbaums entlang der Rückseite des linken, vertikalen Überrollbügelrohrs.

Verlegen Sie den 390-cm-Zweig des Datenkabelbaums entlang des rechten Überrollschutzrohrs mit dem 12-Buchsen-Stecker (grau und den 12-Buchsen-Stecker ((schwarz nach oben zum Navigationsempfänger (Bild 196).

Fluchten Sie die zwei Schlüssel an der langen Seite des grauen und schwarzen 12-Buchsen-Steckers des Datenkabelbaums mit den zwei Schlüsselschlitzen in der unteren, horizontalen Wand des linken (grauen) 12-Stift-Steckers des Navigationsempfängers aus (Bild 197).
Note: Passen Sie beim Anschließen des Kabelbaums am Navigationsempfänger auf. Die Ausrichtungsschlüssel der Kabelbaumanschlüsse sind einzigartig für die Keilnuten der Stift-Stecker des Navigationsempfängers.

Stecken Sie den grauen und schwarzen 12-Buchsen-Stecker des Datenkabelbaums in den linken (grauen) 12-Stift-Stecker des Navigationsempfängers, bis die Stecker fest einrasten (Bild 197).
Fluchten Sie die zwei Ausrichtungsschlüssel an der kurzen Seite des schwarzen 12-Buchsen-Steckers des Datenkabelbaums mit den zwei Schlüsselschlitzen in der linken vertikalen Wand des rechten (grauen) 12-Stift-Steckers des Navigationsempfängers aus (Bild 197).
Note: Passen Sie beim Anschließen des Kabelbaums am Navigationsempfänger auf. Die Ausrichtungsschlüssel der Kabelbaumanschlüsse sind einzigartig für die Keilnuten der Stift-Stecker des Navigationsempfängers.
Stecken Sie nur den schwarzen 12-Buchsen-Stecker des Datenkabelbaums in den linken (schwarzen) 12-Stift-Stecker des Navigationsempfängers, bis die Stecker fest einrasten (Bild 197).
Befestigen Sie den 390-cm-Zweig des Datenkabelbaums mit zwei Kabelbinden am rechten Überrollschutzrohr, wie in Bild 196 abgebildet.
Note: Stellen Sie sicher, die Kabel zwischen den 12-Buchsen-Steckern und der Kabelbinde nicht gespannt sind.


Verlegen Sie den Datenkabelbaum und den Batteriekabelbaum an der Rückseite des linken, vertikalen Überrollbügels nach unten zur Querstrebe für die Sitzstütze (Bild 200).

Befestigen Sie den 390-cm-Datenkabelbaumzweig für den Navigationsempfänger zum Überrollbügel, wie in Bild 200 abgebildet.
Stecken Sie den 1-Stift-Stecker des Batteriekabelbaums der mit beschriftet ist, ***WICHTIG*** SCHLIEßEN SIE DIESES KABEL NUR AN EINEN 12-VOLT-NETZSCHALTER AN in den 1-Buchsen-Stecker des 66-cm-Kitkabelbaumzweigs (Bild 201), der mit (SW’D PWR FOR GEN 2 TOPCON) beschriftet ist.

Stecken Sie den 4-Stift-Stecker des 66-cm-Kitabelbaumzweigs, der mit ASC 10 PWR & CAN FROM X30 beschriftet ist, in den 4-Buchsen-Stecker des Datenkabelbaumzweigs, der mit CAN2/ASC 10 BUS beschriftet ist (Bild 201).
Verlegen Sie den Datenkabelbaum und den Batteriekabelbaum über die Querstrebe für die Sitzstütze und befestigen Sie den 390-cm-Datenkabelbaumzweig mit zwei Kabelbindern an der Querstrebe (Bild 200 und Bild 202).

Verlegen Sie den 220-cm-Batteriekabelbaumzweig entlang des rechten, oberen Rahmenrohrs (Bild 202).
Verlegen Sie den 220-cm-Batteriekabelbaumzweig über das Stützrohr des Stoßdämpfers zur Batterie (Bild 202).
Note: Stellen Sie sicher, dass der elektrische 100-cm-Zwischenverbindungszweig (Netzschalter) weiterhin gegen das rechte, obere Rahmenrohr verlegt ist.
Verlegen Sie den 220-cm-Datenkabelbaumzweig (der Kabelbaumzweig mit dem 26-Buchsen-Stecker) unter der Steuerkonsole und nach vorne zum Armaturenbrett (Bild 202).

Verlegen Sie den 220-cm-Datenkabelbaumzweig (der Kabelbaumzweig mit dem 26-Buchsen-Stecker) nach vorne und unter dem Armaturenbrett (Bild 204).

Verlegen Sie den 220-cm-Datenkabelbaumzweig entlang des Stützrohrs für den Monitor (Bild 204).
Fluchten Sie den 26-Buchsen-Stecker des Datenkabelbaums mit dem 26-Stift-Stecker des Sprühmonitors aus und drücken Sie den Buchse-Stecker in den Stift-Stecker, bis der Riegel des Steckers einrastet (Bild 205).

Stellen Sie sicher, dass der 220-cm-Datenkabelbaumzweig genug Spiel hat, damit der Bediener die Stellung des Monitors anpassen kann; befestigen Sie den Kabelbaum mit Kabelbindern am Stützrohr für den Monitor, wie in Bild 204 abgebildet.
Entfernen Sie die Sechskantmuttern und die Scheiben von den Schnellanschlussklemmen am roten und schwarzen Hebel (Bild 206).

Öffnen Sie den Verriegelungshebel der Schnellanschlussklemme mit dem schwarzen Hebel (Bild 207).

Montieren Sie die Schnellanschlussklemme am Minuspol der Batterie; der Gewindestift der Klemme muss zur Mitte der Batterie ausgerichtet sind, wie in Bild 206 abgebildet.
Schließen Sie den Verriegelungshebel der Schnellanschlussklemme (Bild 207).
Note: Wenn Sie die Klemmkraft der Schnellanschlussklemme einstellen müssen, öffnen Sie den Hebel, drehen Sie die gerädelte Mutter, um die Klemmkraft zu erhöhen oder zu verringern, und schließen Sie den Hebel für die Klemme.
Wiederholen Sie die Schritte 2 bis 4 für die Schnellanschlussklemme mit dem roten Hebel am Pluspol der Batterie.
Das unsachgemäße Verlegen der Batteriekabel kann zu Schäden an der Maschine führen, und die Kabel können Funken erzeugen. Funken können zum Explodieren der Batteriegase führen, was Verletzungen zur Folge haben kann.
Klemmen Sie immer das Minuskabel (schwarz) ab, bevor Sie das Pluskabel (rot) abklemmen.
Klemmen Sie immer zuerst das (rote) Pluskabel an, bevor Sie das (schwarze) Minuskabel anklemmen.
Batteriepole und Metallwerkzeuge können an metallischen Teilen Kurzschlüsse verursachen, was Funken erzeugen kann. Funken können zum Explodieren der Batteriegase führen, was Verletzungen zur Folge haben kann.
Vermeiden Sie, wenn Sie eine Batterie ein- oder ausbauen, dass die Batteriepole mit metallischen Maschinenteilen in Berührung kommen.
Vermeiden Sie Kurzschlüsse zwischen metallischen Werkzeugen, den Batteriepolen und metallischen Maschinenteilen.

Schlitzen Sie die Isolierabdeckung des Pluskabels der Batterie zum Anlasser, wie in Bild 209 abgebildet.

Montieren Sie die folgenden Kabel-Anschlussklemmen in der folgenden Reihenfolge an der Gewindestrebe des Pluspols der Batterie (Bild 210):
Note: Stellen Sie sicher, dass die Batteriekabel-Anschlussklemme (Plus) am Motoranlasser oben am Stapel der Anschlussklemmen an der Gewindestrebe ist.
Kabelschuh, 22-cm-Maschinenkabelbaumzweig, beschriftet (BATTERY (+)
Kabelschuh, 220-cm-Batteriekabelbaumzweig, beschriftet, (***WICHTIG*** SCHLIEßEN SIE DIESES KABEL AN DEN PLUSPOL DER BATTERIE AN)
Kabelschuh, 60-cm-Kitkabelbaum, mit TO BATTERY POSITIVE beschriftet
Batteriekabel-Anschlussklemme (Plus), zur Lichtmaschine (50 A)
Batteriekabel-Anschlussklemme (Plus), zum Motoranlasser

Befestigen Sie die Sechskantmutter (1/4") und die Scheibe (1/4") an der Gewindestrebe und ziehen Sie die Mutter bis auf 1017-1234 Ncm an.
Fluchten Sie die Isolierabdeckung des Pluskabels der Batterie zum Anlasser über der Gewindestrebe aus (Bild 210).
Montieren Sie die folgenden Kabel-Anschlussklemmen in der folgenden Reihenfolge an der Gewindestrebe des Minuspols der Batterie (Bild 211):
Note: Stellen Sie sicher, dass die Batteriekabel-Anschlussklemme (Minus) an der Motor- und Chassiserde oben am Stapel der Anschlussklemmen an der Gewindestrebe ist.
Kabelschuh, 220-cm-Batteriekabelbaumzweig, beschriftet, (***WICHTIG*** SCHLIEßEN SIE DIESES KABEL AN DIE ANSCHLUSSKLEMME DER BATTERIE AN, DIE AM TRAKTORRAHMEN ANGESCHLOSSEN IST)
Kabelschuh, 60-cm-Kitkabelbaumzweig, Minuspol der Batterie
Batteriekabel-Anschlussklemme (Minus), zu Motor- und Chassiserde

Bündeln Sie die überflüssige Länge des Datenkabelbaums am rechten, oberen Rahmenrohr (Bild 212).

Fluchten Sie den Datenkabelbaum mit dem Stützrohr des Stoßdämpfers aus und befestigen Sie den Kabelbaum mit einem Kabelbinder am Rohr (Bild 212).
Fluchten Sie das Datenkabelbaumbündel mit dem rechten, oberen Rahmenrohr aus und befestigen Sie das Kabelbaumbündel mit einem Kabelbinder am Rahmenrohr (Bild 212).
Stellen Sie sicher, dass zwischen den Riemenscheiben und Riemen und dem Datenkabelbaum, dem Batteriekabelbaum, dem Kitkabelbaum und den Batteriekabeln ein Abstand besteht.
Befestigen Sie den Kabelbaum und die Kabel ggf. mit Kabelbindern, um einen Abstand zu den Riemen und Riemenscheiben zu erhalten.
Für diesen Arbeitsschritt erforderliche Teile:
| Eindrückbefestigung | 13 |
Fluchten Sie die Löcher in der Motorhaube mit den Löchern im Armaturenbrett und Rahmen der Maschine aus (Bild 213).

Befestigen Sie die Motorhaube mit neun Eindrückbefestigungen am Armaturenbrett und Rahmen (Bild 213).
Stecken Sie die zwei elektrischen Anschlüsse (2-Buchsen-Stecker) des Maschinenkabelbaums in die 2-Stift-Stecker des linken und rechten Scheinwerfers (Bild 214).

Fluchten Sie die innere Kotflügelhaube mit den linken, oben und links, und unteren Rahmenrohren aus (Bild 214).

Befestigen Sie die innere Kotflügelhaube mit den sechs Eindrückbefestigungen an den Rahmenrohren (Bild 215).
Fluchten Sie die Löcher im Kotflügel mit den Löchern im Rahmen der Maschine aus, wie in Bild 215 abgebildet.

Befestigen Sie den Kotflügel mit den drei Bundkopfschrauben (5/16" x 1") und drei Scheiben (5/16"), die Sie in Schritt 2 in Abnehmen der linken und rechten vorderen Kotflügel entfernt haben, lose am Rahmen (Bild 216).
Befestigen Sie den Kotflügel mit zwei Eindrückbefestigungen am Rahmenkanal (Bild 217).

Ziehen Sie die Schraube (5/16" x 1") bis auf 1978-2542 Ncm an.
Wiederholen Sie die Schritte 1 bis 6 für die innere Kotflügelhaube und den Kotflügel an der anderen Seite der Maschine.
Fluchten Sie den Sitz und die Sitzplatte mit dem Chassis der Maschine aus (Bild 219).

Fluchten Sie die Löcher in den Drehzapfen-Anschlussstücken der Sitzpfanne mit den Löchern in der Chassishalterung aus (Bild 220).


Montieren Sie die Sitzpfanne mit den zwei Lagerbolzen an den Chassishalterungen (Bild 220).
Befestigen Sie die Lagerbolzen mit den zwei Splinten an der Maschine (Bild 220).
Montieren Sie die Stützstange mit der Scheibe und dem Splint an der Halterung (Bild 221).

Stecken Sie den 2-Buchsen-Stecker des Maschinenkabelbaums in den Stecker für den Sitzschalter, bis die Stecker einrasten (Bild 222).

Drehen Sie den Sitz etwas nach vorne, nehmen Stützstange aus der Arretierung, drehen Sie den Sitz nach unten, bis die Sitzriegel einrasten.
Stecken Sie den Schlüssel in das Zündschloss und drehen ihn in die EIN-Stellung.
Der Willkommensbildschirm wird auf dem InfoCenter-Display angezeigt und die Anzeigelampe leuchtet kurz auf (Bild 223).
Note: Lassen Sie den Motor nicht an.

Drücken Sie auf dem Homebildschirm die mittlere Taste auf dem InfoCenter, um den Navigationsbildschirm zu öffnen (Bild 224)

Drücken Sie die mittlere Taste auf dem InfoCenter, um auf das Hauptmenü zuzugreifen (Bild 224).
Drücken Sie auf dem Bildschirm HAUPTMENü die mittlere Taste , um auf die Option EINSTELLUNG zu navigieren; drücken Sie die rechte Taste, um die Option auszuwählen (Bild 225).

Drücken Sie auf dem Bildschirm EINSTELLUNG die mittlere Taste , um auf die Option GESCHüTZTE EINSTELLUNGEN zu navigieren; drücken Sie die rechte Taste, um die Option auszuwählen.

Geben Sie den PIN-Code wie folgt ein:
Drücken Sie die mittlere Taste nach Bedarf, um die Zahl des PIN-Codes für die linke Position einzugeben (Bild 227).

Drücken Sie die rechte Taste, um auf die nächste Position der Zahl des PIN-Codes zu navigieren (Bild 227).
Wiederholen Sie die Schritte 1 und 2 für die anderen drei Positionen der Zahl des PIN-Codes.
Wenn Sie alle Zahlen des PIN-Codes eingegeben haben, drücken Sie die rechte Taste (Bild 227) und drücken Sie dann die mittlere Taste, um den PIN-Code einzugeben (Bild 228).
Die Anzeigelampe leuchtet kurz auf.

Drücken Sie die mittlere Taste , um auf die Option GEOLINK zu navigieren; drücken Sie die rechte Taste, um die Option auszuwählen (Bild 229).

Der GeoLink-Bestätigungsbildschirm wird auf dem InfoCenter angezeigt (Bild 230).

Drehen Sie das Zündschloss in die AUS-Stellung und dann in die EIN-Stellung.
Der Willkommensbildschirm von GEOLINK wird anfänglich angezeigt, wenn Sie das Zündschloss in die EIN-Stellung drehen.

Drehen Sie den Zündschlüssel auf die LAUF-Stellung (für benzinbetriebene Fahrzeuge) oder in die VORGLüHEN/LAUF-Stellung (für dieselbetriebene Fahrzeuge).
Vergewissern Sie sich, dass die folgenden Komponenten anzeigen, dass sie mit Strom versorgt werden:
Drehen Sie den Zündschlüssel in die AUS-Stellung.
Vergewissern Sie sich, dass die folgenden Komponenten ausgeschaltet sind:
Steuerkonsole
Satellitenempfänger
Automatisches Abschnittsteuergerät
Drehen Sie den Zündschlüssel auf die LAUF-Stellung (für benzinbetriebene Fahrzeuge) oder in die VORGLüHEN/LAUF-Stellung (für dieselbetriebene Fahrzeuge).
Tippen Sie auf das Symbol ÜBER (Toro) oben in der linken Ecke des Bildschirms (Bild 235).

Vergleichen Sie die Software-Versionsnummern an den folgenden Stellen:
Das Deckblatt des Softwarehandbuchs für Ihr GeoLink-System, sofern verwendet.
Anzeige auf der Steuerkonsole
Note: Unterschieden sich die Softwareversionen, wenden Sie sich für Kundenservice an Toro NSN unter 1-844-GEOLINK (1-844-436-5465) oder NSNTech@toro.com.
Wählen Sie die Maßeinheiten aus, siehe Bedienungsanleitung oder Softwarehandbuch für Ihr GeoLink-System.
Erstellen Sie einen neuen Bereich, siehe Bedienungsanleitung oder Softwarehandbuch für Ihr GeoLink-System.
Erstellen Sie ein neues Produkt und geben Sie die Produktdosierung an, siehe Bedienungsanleitung oder Softwarehandbuch für Ihr GeoLink-System.
Gleichen Sie die Düsenventile wie folgt an:
Wählen Sie Vorbereitung der Sprühdüsen aus, um die Düsenventile abzugleichen; siehe Bedienungsanleitung oder Softwarehandbuch für Ihr GeoLink-System.
Wählen Sie Schritte 1 bis 3 des Assistenten zum Abgleichen der Sprühdüsenventile aus; siehe Bedienungsanleitung oder Softwarehandbuch für Ihr GeoLink-System.
Wählen Sie Schritte 4 bis 6 des Assistenten zum Abgleichen der Sprühdüsenventile aus; siehe Bedienungsanleitung oder Softwarehandbuch für Ihr GeoLink-System.
Tippen Sie auf das Job-Menü und tippen Sie auf das Symbol NEUEN JOB ERSTELLEN (Bild 236).

Verwenden Sie die Bildschirmtastatur, um den Namen des grundlegenden Job einzugeben, und tippen Sie auf das Bestätigen-Symbol (Bild 236).
Tippen Sie im neuen Dialogfenster auf das DüSEN-Symbol (Bild 237).

Tippen Sie in der Düsenauswahlliste auf das gewünschte Düsen-Symbol und dann auf das Bestätigen-Symbol (Bild 237).
Tippen Sie im Dialogfenster Neuer Job“ auf das Bestätigen-Symbol (Bild 238).

Aktivieren Sie die Feststellbremse.
Füllen Sie 200 l Wasser in den Sprühbehälter, siehe Bedienungsanleitung Ihrer Maschine.
Starten Sie den Motor und stellen Sie die Motordrehzahl auf die Einstellung Schnell“.
Tippen Sie auf der GeoLink-Steuerkonsole das Symbol SPRüHMENGENSTEUERUNG (Bild 239).

Tippen Sie im Dialogfenster Sprühmengensteuerung auf das SPRüHMENGENMODUS-Symbol, bis der manuelle Modus angezeigt wird (Bild 239).
Stellen Sie den Druck des Sprühsystems (Bild 239) mit den +/-Tasten auf 13,75 bar ein.
Schalten Sie an der Maschine den Hauptabschnittschalter in die EIN-Stellung (Bild 240).

Tippen Sie auf der GeoLink-Steuerkonsole das Symbol HAUPTSCHALTER (Bild 241) in die EIN-Stellung (grün).

Prüfen Sie alle Sprühanschlussstücke und -komponenten auf Undichtigkeiten.
Note: Wenn Sie Undichtigkeiten feststellen, schalten Sie den Motor aus und reparieren Sie das Anschlussstück oder die Komponente.
Aktivieren Sie die Feststellbremse und lassen Sie den Motor an.
Note: Lassen Sie den Motor und die Hydraulikanlage für 10 Minuten aufwärmen.
Stellen Sie sicher, dass sich der Hauptabschnittschalter in der AUS-Stellung befindet.
Stellen Sie den Sprühpumpen- und den Rührwerkschalter in die EIN-Stellung.
Schalten Sie den linken, mittleren und rechten Abschnittschalter in die EIN-Stellung.
Stellen Sie die Motordrehzahl auf die Einstellung Schnell“.
Tippen Sie auf der GeoLink-Steuerkonsole das Symbol SPRüHMENGENSTEUERUNG.
Tippen Sie im Dialogfenster Sprühmengensteuerung auf das SPRüHMENGENMODUS-Symbol, bis der manuelle Modus angezeigt wird (Bild 242).

Stellen Sie den Druck des Sprühsystems (Bild 242) mit den +/-Tasten auf 6,9 bar ein.
Schalten Sie an der Maschine den Rührwerkschalter in die AUS-Stellung.
Überprüfen Sie den Druck des Sprühsystems. Wenn der Druck des Sprühsystems bei 6,9 bar liegt, ist das Rührwerksicherheitsventil korrekt eingestellt.
Ändert sich der Druck des Sprühsystems, muss das Rührwerksicherheitsventil eingestellt werden, siehe Einstellen des Rührwerksicherheitsventils.
Stellen Sie den Hauptabschnittschalter in die AUS-Stellung und suchen Sie das Rührwerksicherheitsventil am Maschinenheck.

Stellen Sie das Rührwerksicherheitsventil (Bild 243) so ein, dass das Manometer einen Sprühsystemdruck von 6,89 bar (689 kPa) anzeigt.
Stellen Sie den Rührwerkschalter in die EIN-Stellung und achten Sie auf den Druck des Sprühsystems.
Note: Wenn das Manometer des Sprühsystemdrucks mehr oder weniger als 6,9 bar anzeigt, wiederholen Sie die Schritte 1 und 2.
Stellen Sie den Rührwerkschalter in die AUS-Stellung und achten Sie auf den Druck des Sprühsystems.
Note: Wenn das Manometer des Sprühsystemdrucks mehr oder weniger als 6,9 bar anzeigt, wiederholen Sie die Schritte 1 und 2.
Kalibrieren Sie das Durchflussmessgerät, siehe Bedienungsanleitung oder Softwarehandbuch für Ihr GeoLink-System.
Bewegen Sie die Maschine im Freien, weg von Gebäuden und Stromleitungen.
Aktivieren Sie die Feststellbremse.
Tippen Sie auf der GeoLink-Steuerkonsole das Symbol GPS-INFORMATIONEN (Bild 244).

Drücken Sie das Symbol MOBILFUNK-DIAGNOSE und vergewissern Sie sich, dass das Statusfeld des Mobilfunks N-TRIP CONNECTED RECEIVING DATA [N-Trip verbunden, Daten werden empfangen] (Bild 245) anzeigt.
Note: Wenn das Statusfeld für Mobilfunk eine andere Meldung als N-TRIP CONNECTED RECEIVING DATA [N-Trip verbunden, Daten werden empfangen] anzeigt, wenden Sie sich an Toro NSN unter 1-844-GEOLINK (1-844-436-5465) oder NSNTech@toro.com für den Kundendienst.

Tippen Sie auf das Bestätigen-Symbol, um das Dialogfenster zu schließen.
Kalibrieren Sie den Kompass am Standort des Vertriebspartners, siehe Kompass kalibrieren in der Bedienungsanleitung oder im Softwarehandbuch für Ihr GeoLink-System.
Important: Sie müssen den nichtflüchtigen RAM am Kundenstandort löschen.
Wenden Sie sich für Kundenservice an Toro NSN unter 1-844-GEOLINK (1-844-436-5465) oder NSNTech@toro.com, um das Passwort für die Zugriffsebene des Händlers zu erfragen.
Drehen Sie den Zündschlüssel in die EIN-Stellung.
Tippen Sie auf das SETUP-Symbol auf dem Hauptbildschirm (Bild 246).

Tippen Sie im Einrichtungsbildschirm auf das Symbol BENUTZER und das Symbol ZUGRIFFSEBENE (Bild 247).

Tippen Sie auf das Symbol PASSWORT (Bild 247).
Geben Sie mit der Bildschirmtastatur das im Schritt 1 erhaltene Passwort ein und tippen Sie auf das Bestätigen-Symbol (Bild 248).

Note: Auf dem Zugriffsebenen-Bildschirm wird das HäNDLER-Symbol eingeblendet (Bild 249).

Tippen Sie im Einrichtungsbildschirm auf das Symbol SYSTEM, dann das Symbol GPS und das Symbol ERWEITERTE KONFIGURATION (Bild 250).

Tippen Sie im Bildschirm GPS Erweiterte Konfiguration auf das Symbol NVRAM ZURüCKSETZEN (Bild 250).
Tippen Sie im Dialogfenster GPS-Warnungen erhalten auf das JA-Symbol (Bild 250).
Note: Die Warnung, dass der Empfänger die Verbindung getrennt hat (Bild 251), wird kurz angezeigt.

Warten Sie zwei Minuten, um den Satellitenempfänger und das Modem neu zu starten.
Tippen Sie auf das Symbol EINRICHTEN BEENDEN

Drehen Sie das Zündschloss in die AUS-Stellung.
Kalibrieren Sie den Kompass am Standort des Kunden, siehe Kompass kalibrieren in der Bedienungsanleitung oder im Softwarehandbuch für Ihr GeoLink-System.