Il kit impianto di irrorazione GeoLink™ è un accessorio per il veicolo per l'irrorazione, pensato per l'utilizzo in applicazioni professionali da parte di operatori professionisti del verde. Il suo scopo è quello di irrorare l'erba di parchi, campi da golf, campi sportivi e aree verdi commerciali ben tenuti. L'utilizzo di questo prodotto per scopi diversi da quelli previsti potrebbe rivelarsi pericoloso per voi ed eventuali astanti.
Leggete attentamente queste informazioni al fine di utilizzare e mantenere correttamente il prodotto ed evitare infortuni e danni. Voi siete responsabili del corretto utilizzo del prodotto, all'insegna della sicurezza.
Visitate il sito www.Toro.com per ricevere materiali di formazione sulla sicurezza e il funzionamento dei prodotti, avere informazioni sugli accessori, ottenere assistenza nella ricerca di un rivenditore o registrare il vostro prodotto.
Per assistenza, ricambi originali Toro o ulteriori informazioni, rivolgetevi a un Distributore Toro autorizzato o ad un Centro Assistenza Toro, ed abbiate sempre a portata di mano il numero del modello ed il numero di serie del prodotto. Il numero del modello ed il numero di serie si trovano nella posizione riportata nella Figura 1. Scrivete i numeri nello spazio previsto.
Important: Con il vostro dispositivo mobile potete scansionare il codice QR (se presente) sulla targa che riporta il numero di serie per accedere alla garanzia, ai ricambi e ad altre informazioni sui prodotti.

Il sistema di avvertimento adottato dal presente manuale identifica i pericoli potenziali e riporta messaggi di sicurezza, identificati dal simbolo di avvertimento (Figura 2), che segnala un pericolo in grado di provocare infortuni gravi o la morte se non si osservano le precauzioni raccomandate.

Per evidenziare le informazioni vengono utilizzate due parole. Importante indica informazioni di carattere meccanico di particolare importanza e Nota evidenzia informazioni generali di particolare rilevanza.
I prodotti chimici usati nell'impianto di irrorazione possono essere pericolosi e tossici per voi, gli astanti, gli animali, le piante, il terreno o altre proprietà.
Leggete e seguite attentamente le etichette di avvertenza delle sostanze chimiche e la scheda dati di sicurezza (SDS) per tutte le sostanze chimiche utilizzate e proteggetevi in conformità con le raccomandazioni del produttore delle sostanze. Ad esempio, usate dispositivi di protezione individuale (DPI), compresi quelli per la protezione di viso e occhi, guanti o altri dispositivi che impediscano il contatto diretto con un prodotto chimico.
Potrebbe essere utilizzato più di un prodotto chimico; è necessario disporre di informazioni e valutare ognuno dei prodotti chimici impiegati.
Non utilizzate l'irroratrice se non disponete delle suddette informazioni.
Prima di utilizzare un'irroratrice, assicuratevi che l'impianto di irrorazione sia stato lavato e pulito tre volte con prodotti neutralizzanti, secondo le raccomandazioni del/i produttore/i dei prodotti chimici e che tutte le valvole siano sottoposte al ciclo tre volte.
Verificate che nelle vicinanze sia disponibile un'adeguata quantità di acqua pulita e sapone per eliminare immediatamente qualsiasi prodotto chimico con cui potreste venire a contatto.
Spegnete il motore, togliete la chiave (se in dotazione) e attendete che tutte le parti in movimento si arrestino prima di abbandonare la posizione dell'operatore. Lasciate raffreddare la macchina prima di eseguire interventi di riparazione, manutenzione, pulizia o di rimessarla.
L'errato utilizzo o la manutenzione di questa macchina
può causare infortuni. Per ridurre il rischio di incidenti,
rispettate le seguenti norme di sicurezza e fate sempre attenzione
al simbolo di allarme (
), che indica: Attenzione, Avvertenza
o Pericolo – “norme di sicurezza”. Il mancato rispetto
di queste istruzioni può provocare infortuni o morte.
![]() |
Gli adesivi di sicurezza e di istruzione sono chiaramente visibili e sono affissi accanto a zone particolarmente pericolose. Sostituite eventuali adesivi danneggiati o mancanti. |




Pulite l'irroratrice; fate riferimento alla sezione Pulizia dell'irroratrice del Manuale dell'operatore della macchina.
Important: Svuotate completamente il serbatoio dell'irroratrice prima di montare il kit di finitura dell'impianto di irrorazione GeoLink
Per le macchine con il kit di lavaggio del serbatoio opzionale, effettuate le operazioni seguenti:
Pompate l'acqua dal serbatoio di lavaggio nel serbatoio dell'irroratrice; fate riferimento alla sezione Utilizzo del kit di lavaggio nelle Istruzioni di installazione per il kit di lavaggio del serbatoio.
Spurgate l'acqua dal serbatoio dell'irroratrice; fate riferimento alla sezione Pulizia dell'irroratrice del Manuale dell'operatore della macchina.
Estendete le sezioni di irrorazione sinistra e destra in posizione orizzontale.
Parcheggiate la macchina su una superficie pianeggiante, inserite il freno di stazionamento, spegnete il motore e togliete la chiave; fate riferimento al Manuale dell'operatore.
Important: Parcheggiate la macchina su una superficie pianeggiante prima di installare il kit GeoLink.
Sbloccate il sedile spingendo la maniglia di blocco del sedile all'indietro (Figura 3).

Ruotate il sedile e la piastra in avanti fino a quando l'estremità dell'asta di supporto nella relativa staffa non si trova nella parte inferiore della scanalatura della staffa (Figura 3).
Attendete che il motore si raffreddi completamente.
Rimuovete il bullone e il dado che fissano il terminale del cavo negativo della batteria al polo negativo della batteria.
In caso di errato percorso dei cavi della batteria, la macchina ed i cavi possono venire danneggiati e causare scintille, che possono fare esplodere i gas delle batterie e causare infortuni.
Scollegate sempre il cavo negativo (nero) della batteria prima di quello positivo (rosso).
Collegate sempre il cavo positivo (rosso) della batteria prima di quello negativo (nero).
I morsetti della batteria e gli attrezzi metallici possono creare cortocircuiti con i componenti metallici, e provocare scintille, che possono fare esplodere i gas della batteria e causare infortuni.
In sede di rimozione o montaggio della batteria, impedite ai morsetti di toccare le parti metalliche della macchina.
Non lasciate che gli attrezzi metallici creino cortocircuiti fra i morsetti della batteria e le parti metalliche della macchina.
Riposizionate il coperchio di isolamento e rimuovete il bullone e il dado che fissano il terminale del cavo positivo della batteria al polo positivo della batteria (Figura 4).
Note: Assicuratevi che i terminali dei cavi della batteria non siano a contatto con i poli della batteria.

Togliete il connettore a 2 prese del cablaggio preassemblato della macchina collegato al connettore dell'interruttore del sedile (Figura 5).

Rimuovete la coppiglia che fissa l'asta di sostegno alla staffa nella parte inferiore della piastra del sedile(Figura 6).

Rimuovete le 2 coppiglie che fissano il raccordo orientabile della piastra del sedile alle staffe dello chassis (Figura 7).


Rimuovete i 2 perni orientabili che fissano il sedile e la relativa piastra allo chassis (Figura 7).
Sollevate il sedile e la relativa piastra per estrarli dalla macchina (Figura 8).

Rimuovete i 2 dispositivi di fissaggio a spinta che fissano il parafango anteriore sinistro al profilato inferiore del ROPS (Figura 10).
Note: Eliminate i dispositivi di fissaggio a spinta che avete rimosso.

Rimuovete i 3 bulloni (5/16" x 1") e le 3 rondelle (5/16") che fissano il parafango al telaio della macchina (Figura 11).

Rimuovete il parafango dalla macchina.
Note: Eliminate i dispositivi di fissaggio a spinta che avete rimosso.; conservate il parafango, i bulloni e le rondelle per l'installazione in Montaggio dei parafanghi anteriori sinistro e destro.
Rimuovete i 6 dispositivi di fissaggio a spinta e 5 rondelle (9/16" x ½") che fissano la copertura del parafango interno al telaio della macchina (Figura 12).

Rimuovete la copertura del parafango interno dalla macchina (Figura 13).
Note: Eliminate i dispositivi di fissaggio a spinta che avete rimosso.

Ripetete i passaggi da 1 a 5 per il parafango e la copertura del parafango interno sull'altro lato della macchina.
Scollegate i 2 connettori elettrici (a 2 prese) del cablaggio preassemblato della macchina dai connettori a 2 pin dei gruppi fari di sinistra e destra (Figura 14).

Rimuovete i 9 dispositivi di fissaggio a spinta che fissano il cofano al cruscotto e al telaio della macchina (Figura 15).
Note: Conservate i dispositivi di fissaggio a spinta per l'installazione in Montaggio del cofano.

Rimuovete il cofano dalla macchina (Figura 15).
Note: Eliminate i dispositivi di fissaggio a spinta che avete rimosso.
Parti necessarie per questa operazione:
| Gruppo tubi, n. cat. Toro 114-9553 | 2 |
| Fascetta per cavi | 8 |
Nel pannello di connessione del compressore per il kit tracciafile schiumogeno, fissate una fascetta per cavi attorno al tubo trasparente e blu per la sezione di irrorazione di destra (Figura 16).


Premete il collare di bloccaggio verso l'interno (Figura 17).

Estraete il tubo dal raccordo (Figura 17).
Ripetete i passaggi 2 e 3 per gli altri 3 tubi per le sezioni di irrorazione.
Nel pannello di connessione del compressore per il kit tracciafile schiumogeno, fissate una fascetta per cavi attorno al tubo trasparente e blu per la sezione di irrorazione di destra (Figura 18).


Allentate i dadi di compressione per i 2 tubi trasparenti e i 2 tubi blu per gli ugelli della schiuma nella sezione di irrorazione di sinistra e destra (Figura 18).
Rimuovete i 4 tubi dai raccordi di compressione per le sezioni di irrorazione (Figura 18).
Nella sezione di irrorazione esterna, utilizzate un pezzo di nastro adesivo per segnare i tubi del liquido e dell'aria di sinistra per la sezione di irrorazione di sinistra e i tubi del liquido e dell'aria di destra per la sezione di irrorazione di destra.
Spostate i tubi per gli ugelli della schiuma nella sezione di irrorazione di sinistra e destra, indietro e attraverso il serratubi a R accanto al punto di articolazione per la sezione di irrorazione (Figura 19).

Se la vostra macchina è dotata del kit di prolunga della barra centrale montato, fissate, senza serrarla, l'estremità libera dei tubi del liquido e dell'aria alla sezione di irrorazione esterna. e saltate le procedure per Preparazione dei nuovi gruppi dei tubi per gli ugelli del tracciafile schiumogeno e Montaggio del nuovo gruppo tubi.
Rimuovete le fascette per cavi che fissano i tubi del liquido e dell'aria del kit tracciafile schiumogeno alla sezione di irrorazione esterna (Figura 20).

Nell'ugello del tracciafile schiumogeno, allentate il dado di compressione che fissa il tubo blu (acqua) al raccordo di compressione blu dell'ugello del tracciafile schiumogeno (Figura 21).

Allentate il dado di compressione che fissa il tubo trasparente (aria) al raccordo di compressione bianco dell'ugello del tracciafile schiumogeno (Figura 21).
Rimuovete i tubi del liquido e dell'aria dalla macchina.
Rimuovete i dadi di compressione alle estremità dei tubi (Figura 21).
Note: Conservate i dadi di compressione per l'installazione alla fase 1 di Montaggio del nuovo gruppo tubi.
Allineate i vecchi tubi del liquido e dell'aria (Figura 22) al nuovo gruppo tubi (N. cat. Toro 114-9553).

Utilizzate un pezzo di nastro adesivo per contrassegnare la lunghezza dei vecchi tubi del liquido e dell'aria sul nuovo gruppo tubi.
Nel nuovo gruppo tubi, aggiungete una lunghezza di 26 cm dal segno marcato nella fase 7, contrassegnate il gruppo tubi e tagliate i tubi sul secondo (e più lungo) segno (Figura 22).
Se i vecchi tubi del liquido e dell'aria sono contrassegnati con una fascetta per cavi, contrassegnate il nuovo gruppo tubi con una fascetta per cavi, altrimenti saltate alla fase 10.
Note: I vecchi tubi del liquido e dell'aria non vi occorrono più.
Rimuovete 77–102 mm di guaina attorno a ciascun'estremità del gruppo tubi (Figura 22).
Ripetete i passaggi da 1 a 10 per i tubi del liquido e dell'aria sull'altro lato della macchina.
Inserite il dado di compressione blu sulle estremità del tubo blu e il dado di compressione bianco sul tubo trasparente (Figura 23).

Allineate l'estremità del tubo trasparente con il dado di compressione bianco al raccordo bianco dell'ugello del tracciafile schiumogeno e serrate il dado di compressione manualmente (Figura 23).
Allineate l'estremità del tubo blu con il dado di compressione blu al raccordo blu dell'ugello del tracciafile schiumogeno e serrate il dado di compressione manualmente (Figura 23).
Disponete il gruppo tubi lungo il lato posteriore dell'asta di supporto superiore della sezione di irrorazione esterna, come illustrato nella Figura 24.
Important: Se il gruppo tubi è montato sul lato errato dell'asta di supporto superiore, i tubi saranno schiacciati tra l'alloggiamento e la sezione di irrorazione esterna quando le barre sono in posizione di trasporto.

Fissate il gruppo tubi al foro nel supporto dell'ugello con una fascetta per cavi, come illustrato nella Figura 25.

Fissate il gruppo tubi alla sezione di irrorazione esterna con fascette per cavi, come illustrato nella Figura 24.
Fissate, senza serrarla, l'estremità libera del gruppo tubi alla sezione di irrorazione esterna.
Ripetete i passaggi da 1 a 6 per il gruppo tubi sull'altro lato della macchina.
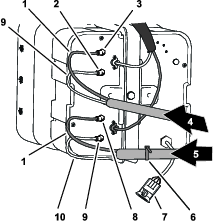
Scollegate il connettore a 3 pin del cablaggio preassemblato per il kit di allineamento delle barre Ultra Sonic Boom dal connettore a 3 prese del cablaggio preassemblato della macchina (Figura 26).

Ripetete il passaggio 1 per il connettore a 3 pin del cablaggio preassemblato delle barre Ultra Sonic Boom sull'altro lato della macchina.
Mentre sostenete la copertura della sezione centrale (a 11 ugelli), rimuovete i 4 bulloni a testa flangiata (5/16" x 1¼") e le 2 cinghie della copertura che fissano la copertura alla staffa di supporto della copertura stessa (Figura 27).

Rimuovete la copertura della sezione centrale dalla macchina (Figura 28).
Note: Conservate la copertura per il montaggio, le cinghie della copertura e i bulloni a testa flangiata per l'installazione nelle fasi 1 e 2 di Montaggio della copertura della sezione centrale.

Note: Se la vostra macchina è dotata di un kit pistola di irrorazione opzionale, fate riferimento a Scollegamento del tubo di rilevamento della pressione e del flessibile di alimentazione.
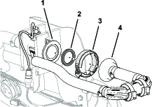
Premete il collare dell'accoppiatore del tubo nel gomito a 90° della valvola di sezione di irrorazione (Figura 30).

Tirate il tubo di rilevamento della pressione per il manometro del cruscotto estraendolo dall'accoppiatore del tubo (Figura 30).
Note: Non rimuovete il gomito a 90° della valvola di intercettazione per il flessibile di alimentazione dell'avvolgitubo dalla flangia della valvola di sezione delle barre di destra.
Scollegate il connettore a 3 prese indicato come VALVOLA DI IRRORAZIONE DI SINISTRA, VALVOLA DI IRRORAZIONE CENTRALE e VALVOLA DI IRRORAZIONE DI DESTRA del cablaggio preassemblato della macchina dai connettori a 3 pin dei 3 attuatori delle valvole di irrorazione (Figura 31).

Scollegate il connettore a 4 prese del cablaggio preassemblato della macchina indicato come VALVOLA DI FREQUENZA dal connettore a 4 pin dell'attuatore della valvola di frequenza (Figura 32).

Scollegate il connettore a 3 prese del cablaggio preassemblato della macchina indicato come VALVOLA DI IRRORAZIONE PRINCIPALE dal connettore a 3 pin dell'attuatore della valvola di irrorazione principale (Figura 32).
Parti necessarie per questa operazione:
| Fascetta per cavi | 1 |
| Tappo dell'interruttore | 1 |
Rimuovete le 4 viti a testa flangiata (¼" x ½") che fissano il pannello a 3 interruttori al quadro di comando (Figura 33).

Schiacciate tra loro le alette di bloccaggio dell'interruttore di comando del volume e spingete il comando verso l'alto estraendolo dal pannello a 3 interruttori (Figura 34).

Scollegate il connettore a 8 prese del cablaggio preassemblato della macchina (indicato come comando del volume) dal connettore a 8 pin dell'interruttore (Figura 33).
Note: L'interruttore del volume rimosso dalla macchina non vi occorre più.
Disponete la diramazione del cablaggio anteriore per il comando del volume attraverso l'apertura nel pannello a 3 interruttori e fissate la diramazione del cablaggio su una diramazione adiacente con una fascetta per cavi.
Montate il pannello a 3 interruttori sul quadro di comando (Figura 34) con le 4 viti a testa flangiata (¼" x ½") rimosse al passaggio 1.
Allineate il tappo dell'interruttore con l'apertura nel pannello a 3 interruttori in cui avete rimosso il comando del volume (Figura 33).
Inserite il tappo dell'interruttore nel pannello a 3 interruttori fino a quando il tappo non scatta saldamente nel pannello (Figura 33).
Nella sezione di irrorazione esterna, rimuovete la fascetta stringitubo che fissa il flessibile di sezione dell'irroratrice al raccordo a T dentellato (Figura 35).

Rimuovete il flessibile dal raccordo a T (Figura 35).
Rimuovete l'estremità libera del flessibile dal serratubi a R (Figura 35).
Ripetete i passaggi da 1 a 3 per il flessibile di alimentazione sull'altra sezione di irrorazione esterna.
Sotto la sezione di irrorazione centrale, rimuovete la fascetta stringitubo che fissa il flessibile di alimentazione per la sezione di irrorazione centrale al raccordo a T dentellato (Figura 36).

Rimuovete i dispositivi di fissaggio che fissano gli accoppiatori rapidi dei flessibili di alimentazione di sinistra, destra e centrale dagli accoppiatori rapidi delle valvole di sezione di irrorazione (Figura 37).
Note: Conservate i fermi per l'installazione descritta in Montaggio dei flessibili sulle valvole degli ugelli 7-10.

Rimuovete i flessibili di alimentazione delle sezioni di sinistra, destra e centrale dagli accoppiatori rapidi delle valvole di sezione di irrorazione e rimuovete i flessibili dalla macchina (Figura 37).
Note: I flessibili di alimentazione delle sezioni di sinistra, destra e centrale non vi occorrono più.
Rimuovete i flessibili dai fori di estensione per i cilindri di sollevamento di sinistra e destra (Figura 39).


Rimuovete i flessibili dai fori C2 e C4 del collettore del cilindro di sollevamento (Figura 39).
Rimuovete i flessibili dai fori di ritrazione dei cilindri di sollevamento di sinistra e destra (Figura 39).
Rimuovete i flessibili dai fori C1 e C3 del collettore del cilindro di sollevamento (Figura 39).
Note: I flessibili non vi occorrono più.
Capacità attrezzatura di sollevamento: 91 kg
Note: Ad eccezione di dove indicato, conservate tutta la bulloneria che rimuovete, la utilizzerete per montare l'estensione della barra centrale.
Utilizzate l'attrezzatura di sollevamento della capacità indicata per supportare la sezione di irrorazione esterna.
Rimuovete la coppiglia e il perno con testa che fissano l'estremità dell'asta del cilindro di sollevamento alla staffa orientabile (Figura 40).
Note: Conservate il perno con testa e la coppiglia per l'installazione descritta in Montaggio dei cilindri di sollevamento.

Rimuovete il dado di bloccaggio flangiato (5/16") e il bullone a testa flangiata (5/16" x ¾") che fissano il perno orientabile al supporto del cilindro (Figura 41).

Rimuovete il perno orientabile e il cilindro di sollevamento dalla macchina (Figura 41).
Effettuate i passaggi indicati nella sezione Rimozione delle sezioni di irrorazione esterne.
Capacità attrezzatura di sollevamento: 91 kg
Note: Se la vostra macchina è dotata del kit barre coperte opzionale, lasciate le coperture montate nelle sezioni di irrorazione esterne.
Sollevare macchine e attrezzi pesanti in modo improprio può comportare gravi infortuni o anche la morte.
Durante il sollevamento di macchine e attrezzi pesanti utilizzate attrezzatura di sollevamento, come catene e cinghie, idonea per il peso dell'attrezzatura.
Note: Ad eccezione di dove indicato, conservate tutta la bulloneria che rimuovete, la utilizzerete per montare l'estensione della barra centrale.
Rimuovete il bullone flangiato (5/16" x 1") e il dado di bloccaggio flangiato (5/16") che fissano il perno orientabile alla staffa orientabile (Figura 42).

Rimuovete il perno orientabile dalla staffa orientabile per la sezione di irrorazione centrale e il raccordo orientabile per la sezione di irrorazione esterna (Figura 42).
Note: Conservate il bullone flangiato, il dado flangiato e il perno orientabile per l'installazione descritta in Montaggio delle sezioni di irrorazione esterne sulla macchina.
Separate la sezione di irrorazione esterna da quella centrale e rimuovete la sezione esterna dalla macchina (Figura 42).
Rimuovete le 2 boccole flangiate in nylon dal raccordo orientabile della sezione di irrorazione esterna (Figura 42).
Note: Eliminate le boccole.
Ripetete i passaggi da 1 a 3 nella sezione Rimozione dei cilindri di sollevamento per la sezione di irrorazione esterna sull'altro lato della macchina.
Ripetete i passaggi da 1 a 4 di questa sezione per la sezione di irrorazione esterna sull'altro lato della macchina.
Rimuovete il collettore di sollevamento delle sezioni dal supporto del cilindro nel modo seguente:
Per le macchine senza kit di allineamento delle barre Ultra Sonic Boom opzionale: rimuovete i 2 dadi di bloccaggio flangiati (5/16") e 2 bulloni a testa flangiata (5/16" x 1") che fissano la staffa di supporto per il collettore di sollevamento delle sezioni al supporto del cilindro e separate il collettore e la staffa dal supporto del cilindro (Figura 43).

Per le macchine con kit di allineamento delle barre Ultra Sonic Boom opzionale: rimuovete i 2 dadi di bloccaggio flangiati (5/16") e 2 bulloni a testa flangiata (5/16" x 1") che fissano la staffa di supporto per il collettore di sollevamento delle sezioni e la staffa del controller TEC al supporto del cilindro e separate il collettore e la staffa dal supporto del cilindro (Figura 44).

Supportate il collettore di sollevamento delle sezioni fissandolo alla staffa di montaggio della valvola dell'irroratrice con un pezzo di fune.
Note: Conservate la staffa di supporto e il collettore di sollevamento, i bulloni e i dadi per l'installazione in Montaggio del collettore del cilindro di sollevamento sul supporto del cilindro.
Capacità attrezzatura di sollevamento: 41 kg
Se la vostra macchina è dotata del kit barre coperte opzionale, rimuovete la copertura dalle sezioni di irrorazione centrali.
Supportate la sezione di irrorazione centrale con l'attrezzatura di sollevamento della capacità specificata (Figura 45).

Utilizzate un pezzo di nastro adesivo per segnare i fori in cui i 4 bulloni a testa flangiata (½" x 1¼") e i 4 dadi di bloccaggio flangiati (½") fissano le staffe di supporto per la sezione di irrorazione centrale alla piastra di montaggio della macchina (Figura 46).

Rimuovete i 4 bulloni a testa flangiata (½" x 1¼") e i 4 dadi di bloccaggio flangiati (½") che fissano le staffe di supporto della sezione di irrorazione centrale alla piastra di montaggio sul telaio della macchina e rimuovete la sezione di irrorazione centrale dalla macchina (Figura 47).
Note: Conservate i bulloni e i dadi di bloccaggio per il montaggio della nuova sezione di irrorazione centrale.

Parti necessarie per questa operazione:
| Bullone a testa flangiata (⅜" x 1") | 2 |
| Dadi di bloccaggio flangiati (⅜") | 2 |
| Estensione della barra centrale | 1 |
| Supporto del cilindro (largo) | 1 |
| Piastra di ancoraggio (larga) | 1 |
| Bullone a testa tonda (½" x 1¼") | 4 |
| Dado di bloccaggio flangiato (½") | 4 |
Nella sezione di irrorazione centrale, rimuovete il dado di bloccaggio flangiato che fissa l'ugello dell'irroratrice al supporto dell'ugello (Figura 48 e Figura 49).
Note: Conservate il dado di bloccaggio per l'installazione alla fase 6 di Montaggio degli ugelli e dei flessibili dell'irroratrice sulla sezione di irrorazione centrale.


Rimuovete la vite in acciaio inox (n. 12 x 1¼") che fissa la metà superiore della fascetta e il portagomma dentellato singolo o doppio (¾") al corpo dell'ugello dell'irroratrice e separate il portagomma dentellato e il flessibile dall'ugello (Figura 50).
Note: Il bullone a testa esagonale (5/16" x ¾" – acciaio inox) si separerà dalla metà superiore della fascetta quando aprite la fascetta; conservate il bullone per l'installazione.

Rimuovete l'ugello dalla sezione di irrorazione centrale (Figura 48 e Figura 49).
Ripetete i passaggi 1 e 2 per gli altri 2 ugelli dell'irroratrice.
Note: Conservate gli ugelli dell'irroratrice, le viti in acciaio inox e i bulloni a testa esagonale per l'installazione nelle fasi 6 e 7 di Montaggio degli ugelli e dei flessibili dell'irroratrice per la sezione di irrorazione centrale.
Rimuovete i flessibili (diametro interno di ¾"), i portagomma dentellati, le fascette e il raccordo a T dentellato dalla sezione di irrorazione centrale (Figura 48).
Note: Il flessibile, i portagomma, le fascette e il raccordo a T non vi occorrono più.
Capacità attrezzatura di sollevamento: 41 kg
Supportate la sezione di irrorazione centrale con l'attrezzatura di sollevamento della capacità specificata.
Rimuovete i 2 bulloni a testa flangiata (⅜" x 1") e i 2 dadi di bloccaggio flangiati (⅜") che fissano la staffa di supporto alla sezione di irrorazione centrale e rimuovete la staffa (Figura 51).

Rimuovete i 2 bulloni a testa flangiata (⅜" x 1") e i 2 dadi di bloccaggio flangiati (⅜") che fissano l'altra staffa di supporto alla sezione di irrorazione centrale e rimuovete la staffa (Figura 51).
Note: Conservate le staffe di supporto, i bulloni e i dadi di bloccaggio per l'installazione nelle fasi 3 e 4 di Montaggio delle staffe di supporto sulla sezione di irrorazione centrale.
Rimuovete i 2 bulloni a testa flangiata (⅜" x 1") e i 2 dadi di bloccaggio (⅜") che fissano le flange verticali dei telai della trave di sinistra e di destra (Figura 52).

Rimuovete i 2 bulloni a testa tonda (½" x 1¼") e i 2 dadi di bloccaggio (½") che fissano il supporto stretto del cilindro, i telai delle travi di sinistra e di destra e la piastra di ancoraggio stretta (Figura 53).

Note: Conservate i bulloni a testa flangiata, i bulloni a testa tonda e i dadi di bloccaggio per l'installazione nelle fasi 2 e 7 di Installazione dell'estensione della barra centrale. Il supporto stretto del cilindro e la piastra di ancoraggio stretta non vi occorrono più.
Separate i telai delle travi di sinistra e destra.
Allineate i fori nelle flange verticali dell'estensione della barra centrale con i fori del telaio della trave (Figura 54).

Montate senza serrare l'estensione della barra centrale sul telaio della trave (Figura 54) con i 2 bulloni a testa flangiata (⅜" x 1") e i 2 dadi di bloccaggio flangiati (⅜") che avete rimosso al passaggio 1 di Separazione delle travi della sezione di irrorazione centrale.
Allineate i fori nelle flange verticali dell'estensione della barra centrale con i fori dell'altro telaio della trave (Figura 54).
Montate senza serrare l'estensione della barra centrale sull'altro telaio della trave (Figura 54) con i 2 bulloni a testa flangiata (⅜" x 1") e i 2 dadi di bloccaggio flangiati (⅜") del kit di finitura dell'impianto di irrorazione GeoLink (Figura 54).
Allineate i fori sul supporto del cilindro con i fori sulla linea centrale del telaio della trave e l'estensione della barra centrale (Figura 55).

Inserite la piastra di ancoraggio sul telaio della trave e l'estensione della barra centrale e allineate i fori sulla piastra di ancoraggio con i fori sulla linea centrale del telaio delle travi e dell'estensione della barra (Figura 55).
Montate il supporto del cilindro, le travi, l'estensione della barra centrale e la piastra di ancoraggio con i 2 bulloni a testa tonda (½" x 1¼") e i 2 dadi di bloccaggio flangiati (½") che avete rimosso al passaggio 2 di Separazione delle travi della sezione di irrorazione centrale e i 4 bulloni a testa tonda (½" x 1¼") e i 4 dadi di bloccaggio flangiati (½") del kit di finitura dell'impianto di irrorazione GeoLink (Figura 55).
Serrate i bulloni a testa flangiata da ⅜ poll. e i dadi di bloccaggio flangiati a una coppia di 37–45 N∙m.
Serrate i dadi di bloccaggio flangiati da ½ poll. a una coppia di 91–113 N∙m.
Parti necessarie per questa operazione:
| Ugello dell'irroratrice | 2 |
| Gruppo flessibili (valvola dell'irroratrice 5 o 6) | 2 |
| Dado di bloccaggio flangiato (5/16") | 2 |
Capacità attrezzatura di sollevamento: 55 kg
Supportate la sezione di irrorazione centrale con l'attrezzatura di sollevamento della capacità specificata.
Allineate i fori sulla staffa di supporto di destra con i fori sul telaio della trave di destra, come illustrato nella Figura 56.

Montate la staffa di supporto di destra sul telaio della trave di destra (Figura 56) con i 2 bulloni a testa flangiata (⅜" x 1") e i 2 dadi di bloccaggio flangiati (⅜") che avete rimosso ai passaggi 2 e 3 di Rimozione delle staffe di supporto dalla sezione di irrorazione centrale.
Ripetete i passaggi 2 e 3 per la staffa di supporto di sinistra sul telaio della trave di sinistra (Figura 56).
Serrate i bulloni a testa flangiata e i dadi flangiati a una coppia di 37–45 N∙m.
Utilizzando l'attrezzatura di sollevamento, sollevate la nuova sezione di irrorazione centrale fino a una comoda altezza di lavoro.
Lavorando con i 2 ugelli dell'irroratrice del kit di finitura dell'impianto di irrorazione GeoLink, rimuovete la vite in acciaio inox che fissa la metà superiore della fascetta alla sella (Figura 57).

Individuate il foro sul lato del portagomma dentellato singolo all'estremità del flessibile da 25 cm del gruppo flessibili (valvola dell'irroratrice 5 o 6) per la sezione di irrorazione centrale (Figura 57 e Figura 58).

Allineate il tubo di trasferimento sulla sella di un ugello dell'irroratrice (Figura 57) con il foro sul lato del portagomma dentellato singolo (½").
Chiudete la metà superiore della fascetta attorno al portagomma dentellato e fissate la metà della fascetta e il corpo dell'ugello dell'irroratrice (Figura 57) con la vite in acciaio inox (n. 12 x 1¼"); serrate la vite in acciaio inox a 14–18 N∙m.
Important: Non serrate la vite in acciaio inox oltre le specifiche di coppia indicate nel passaggio 5.
Note: Assicuratevi che il bullone a testa esagonale (5/16" x ¾") sia in sede nell'incavo situato nella metà superiore della fascetta quando chiudete la fascetta stessa.
Lavorando con l'ugello dell'irroratrice, il bullone a testa esagonale e la vite in acciaio inox che avete rimosso ai passaggi 1 e 2 di Rimozione degli ugelli dell'irroratrice, ripetete i passaggi da 3 a 5 sul portagomma dentellato singolo (Figura 57 e Figura 58) all'estremità dell'altro flessibile da 25 cm.
Lavorando con i 2 ugelli dell'irroratrice che avete rimosso al passaggio 4 di Rimozione degli ugelli dell'irroratrice, ripetete i passaggi da 3 a 5 per i portagomma dentellati singoli dell'altro gruppo flessibili (valvola dell'irroratrice 5 o 6) per la sezione di irrorazione centrale (Figura 57 e Figura 58).
Disponete il flessibile da 13 mm e il gruppo dell'ugello tra gli ancoraggi della trave esterna (Figura 59).

Disponete il flessibile e l'ugello sopra l'ancoraggio della trave e all'esterno del supporto dell'ugello esterno (Figura 59).
Allineate il bullone a testa esagonale (5/16" x ¾") dell'ugello dell'irroratrice attraverso il foro nel supporto dell'ugello e fissate senza serrare l'ugello al supporto con un dado di bloccaggio flangiato (5/16") del kit di finitura dell'impianto di irrorazione GeoLink (Figura 60).

Disponete l'altro flessibile da 13 mm (10") e il gruppo dell'ugello tra gli ancoraggi della trave esterna (Figura 59).
Disponete il flessibile e l'ugello sopra l'ancoraggio della trave e all'interno del supporto dell'ugello interno (Figura 59).
Allineate il bullone a testa esagonale (5/16" x ¾") dell'ugello dell'irroratrice attraverso il foro nel supporto dell'ugello (Figura 60) e fissate senza serrare l'ugello al supporto con il dado di bloccaggio flangiato (5/16") rimosso nei passaggi 1 e 4 di Rimozione degli ugelli dell'irroratrice.
Serrate il dado di bloccaggio flangiato a 1978–2542 N∙cm.
Disponete il flessibile e l'accoppiatore dentellato da 13 x 810 mm sul lato della sezione di irrorazione centrale con le staffe di supporto di sinistra e destra (Figura 59).
Ripetete i passaggi da 1 a 8 per il flessibile e il gruppo dell'ugello sull'altra trave esterna (Figura 59 e Figura 60).
Parti necessarie per questa operazione:
| Tappo (accoppiatore rapido) | 3 |
| Fermo | 3 |
Rimuovete l'estremità superiore del flessibile di bypass nel modo seguente:
Per le macchine senza kit asta di irrorazione opzionale o kit avvolgitubo elettrico opzionale, rimuovete il fermo piccolo che fissa il raccordo a disinnesto rapido del flessibile di bypass al raccordo a disinnesto rapido della valvola di bypass di sezione di destra (Figura 61).

Per le macchine con kit asta manuale opzionale o kit avvolgitubo elettrico opzionale, effettuate quanto segue:
Rimuovete il fermo che fissa il raccordo ad attacco rapido della valvola di intercettazione alla presa a disinnesto rapido della valvola di bypass di sezione di destra e separate la valvola dalla presa (Figura 62).

Rimuovete il fermo che fissa il raccordo ad attacco rapido della valvola di intercettazione alla presa a disinnesto rapido del raccordo dentellato a 90° e separate la valvola dalla presa (Figura 62).
Note: Conservate la valvola d'intercettazione e i fermi per l'installazione in Montaggio delle valvole di intercettazione sul flessibile di bypass.
Rimuovete il fermo grande che fissa il raccordo dentellato a 90° all'estremità inferiore del flessibile di bypass al raccordo del diaframma del serbatoio dell'irroratrice (Figura 63).
Note: Conservate il fermo grande per l'installazione in Montaggio dei flessibili di bypass sul serbatoio.

Rimuovete il flessibile di bypass dalla macchina.
Note: Il flessibile di bypass e il fermo piccolo non vi occorrono più.
Rimuovete i 3 fermi che fissano i 3 attuatori delle valvole sulle valvole delle sezioni di sinistra, destra e centrale (Figura 64).

Rimuovete gli attuatori delle valvole dalle valvole delle sezioni di sinistra, destra e centrale (Figura 64).
Rimuovete il fermo che fissa il tappo al raccordo a disinnesto rapido della valvola di bypass e rimuovete il tappo (Figura 65).
Note: Il tappo non vi occorre più.

Rimuovete i 3 fermi che fissano le 3 valvole di bypass alle valvole delle sezioni di sinistra, destra e centrale (Figura 66).

Sollevate le valvole di bypass dalle valvole di sezione(Figura 66).
Ruotate le valvole di bypass di 180° e montatele sui raccordi a disinnesto rapido delle valvole di sezione (Figura 66).
Fissate le 3 valvole di bypass alle valvole di sezione con i 3 fermi che avete rimosso al passaggio 4 (Figura 66).
Montate il tappo nella presa ad attacco rapido della valvola di bypass (Figura 67).

Fissate il tappo alla presa ad attacco rapido con il fermo che avete rimosso al passaggio 3 (Figura 67).
Montate i 3 attuatori delle valvole sulle valvole di sezione di sinistra, destra e centrale (Figura 64) con i fermi che avete rimosso al passaggio 1.
Note: Aggiungerete le valvole di sezione alle valvole dell'impianto dell'irroratrice GeoLink a 10 valvole nella sezione Montaggio delle 3 valvole di sezione sul relativo supporto.
Rimuovete i 2 bulloni a testa flangiata (¼" x ¾") e i 2 dadi di bloccaggio (¼") che fissano la valvola di sezione delle barre di sinistra al supporto del collettore (Figura 68).
Note: I 2 bulloni a testa flangiata e dadi di bloccaggio non vi occorrono più.

Rimuovete i 2 bulloni a testa flangiata (¼" x ¾") e i 2 dadi di bloccaggio (¼") che fissano la valvola di sezione delle barre di destra al supporto del collettore (Figura 68).
Rimuovete i morsetti flangiati da 40–64 mm (1-9/16 x 2½") e la guarnizione da 25 x 35 mm (1" x 1⅜") che fissano la flangia della valvola di sezione di sinistra al riduttore (Figura 68).
Note: Conservate i 2 bulloni a testa flangiata, i 2 dadi di bloccaggio, il morsetto flangiato e la guarnizione per l'installazione in Montaggio delle 3 valvole di sezione sul relativo supporto.

Rimuovete le 3 valvole di sezione dalla macchina (Figura 69).
Rimuovete gli adesivi dagli attuatori delle 3 valvole di sezione (Figura 70).

Rimuovete il morsetto flangiato da 51 mm (2") e la guarnizione da 38 mm (1½") che fissano la flangia del riduttore alla flangia del flussometro (Figura 71).
Note: Conservate morsetto flangiato e guarnizione per l'installazione in Montaggio del collettore sul flussometro.

Parti necessarie per questa operazione:
| Supporto del flussometro | 1 |
| Metà del morsetto di supporto | 4 |
| Bullone (¼" x 4½") | 4 |
| Dadi di bloccaggio flangiati (¼") | 4 |
Scollegate il connettore a 3 prese del cablaggio preassemblato della macchina indicato come FLUSSOMETRO dal connettore a 3 pin del flussometro (Figura 72).

Rimuovete i 2 dispositivi di fissaggio a spinta del cablaggio preassemblato della macchina dalla flangia inferiore della staffa della valvola di sezione (Figura 72).
Rimuovete le 4 viti a testa flangiata (5/16" x ¾") che fissano la staffa della valvola di sezione dal supporto della valvola e rimuovete la staffa della valvola dalla macchina (Figura 73).
Note: Conservate le 4 viti a testa flangiata per l'installazione in Montaggio del supporto e dei morsetti del flussometro; la staffa della valvola di sezione non vi occorre più.

Allineate i fori nella staffa del flussometro con i fori nel supporto della valvola (Figura 74).

Montate la staffa del flussometro sul supporto della valvola con le 4 viti a testa flangiata che avete rimosso al passaggio 3 di Rimozione della staffa della valvola di sezione e serrate le viti a 1978–2542 N∙cm.
Allineate 2 metà del morsetto di supporto tra il flussometro e la relativa staffa e allineate i fori nelle metà del morsetto con i fori nella staffa (Figura 75).

Allineate una metà del morsetto di supporto sulla parte posteriore del flussometro con una delle metà del morsetto che avete montato al passaggio 3 (Figura 75).
Montate entrambe le metà del morsetto sulla staffa del flussometro (Figura 75) con 2 bulloni (¼" x 4½") e 2 dadi di bloccaggio flangiati (¼")
Ripetete i passaggi 4 e 5 sull'altra metà del morsetto che avete montato al passaggio 3.
Serrate i bulloni e i dadi a 1017–1243 N∙cm.
Parti necessarie per questa operazione:
| Cablaggio posteriore | 1 |
| Fascetta per cavi | 7 |


Individuate la diramazione di 84 cm del cablaggio preassemblato, la diramazione di 60 cm del cablaggio preassemblato e la diramazione di 66 cm del cablaggio preassemblato del kit (Figura 76 e Figura 77).
Disponete le diramazioni di 84 cm, 60 cm e 66 cm del cablaggio preassemblato del kit sul lato sinistro della macchina, lungo il cablaggio preassemblato della macchina (Figura 78 e Figura 79).


Disponete le diramazioni di 84 cm, 60 cm e 66 cm del cablaggio preassemblato del kit in avanti, lungo il profilato del telaio di sinistra (Figura 81 e Figura 82).



Disponete le diramazioni di 84 cm, 60 cm e 66 cm del cablaggio preassemblato del kit lungo il cablaggio preassemblato della macchina, all'esterno del gruppo freno di stazionamento (Figura 83).

Disponete le diramazioni di 84 cm, 60 cm e 66 cm del cablaggio preassemblato del kit attraverso il tubo di supporto degli ammortizzatori, come illustrato nella Figura 84.

Fissate il cablaggio preassemblato del kit al cablaggio preassemblato della macchina, come illustrato nella Figura 82, Figura 83 e Figura 84.
Nella parte posteriore della macchina, disponete la diramazione di 89 cm del cablaggio preassemblato davanti al collettore di sollevamento e a destra del flussometro, come illustrato nella Figura 85.

Disponete la diramazione di 102 cm del cablaggio preassemblato dietro al collettore di sollevamento e a destra, come illustrato nella Figura 85.
Collegate il connettore a 3 pin della diramazione di 89 cm del cablaggio preassemblato indicato come IRRORAZIONE SINISTRA al connettore a 3 prese del cablaggio preassemblato della macchina indicato come VALVOLA DI IRRORAZIONE SINISTRA (Figura 86).

Collegate il connettore a 3 pin del cablaggio preassemblato del kit indicato come IRRORAZIONE CENTRALE al connettore a 3 prese del cablaggio preassemblato della macchina indicato come VALVOLA DI IRRORAZIONE CENTRALE (Figura 86).
Collegate il connettore a 3 pin del cablaggio preassemblato del kit indicato come IRRORAZIONE DESTRA al connettore a 3 prese del cablaggio preassemblato della macchina indicato come VALVOLA DI IRRORAZIONE DESTRA (Figura 86)..
Inserite il dispositivo di fissaggio a spinta del cablaggio preassemblato del kit nel foro della flangia della staffa del flussometro (Figura 86).
Collegate il connettore elettrico a 3 prese della diramazione di 89 cm del cablaggio preassemblato indicato come FLUSSOMETRO al connettore a 3 pin del flussometro (Figura 87).

Collegate il connettore a 3 pin della diramazione di 89 cm del cablaggio preassemblato del kit indicato come VALVOLA PRINCIPALE al connettore a 3 prese del cablaggio preassemblato della macchina indicato come VALVOLA DI IRRORAZIONE PRINCIPALE (Figura 88).

Collegate il connettore a 3 pin dell'attuatore per la valvola di irrorazione principale al connettore a 3 prese della diramazione di 89 cm del cablaggio preassemblato del kit indicato come VALVOLA PRINCIPALE (Figura 88).
Collegate il connettore a 4 pin dell'attuatore per la valvola di frequenza al connettore a 4 prese della diramazione di 89 cm del cablaggio preassemblato del kit indicato come VALVOLA DI FREQUENZA (Figura 89).

Parti necessarie per questa operazione:
| Portagomma diritto (1" x 2") | 1 |
| Fascetta stringitubo (da ¾" a 1½") | 3 |
| Flessibile (1" x 5¾") | 1 |
| Collettore | 1 |
| Flessibile (1" x 16") | 1 |
Montate il flessibile (1" x 5¾") sul portagomma diritto (1" x 2") con una fascetta stringitubo (da ¾" a 1½") e serrate la fascetta manualmente (Figura 90).

Montate l'altra estremità del flessibile (1" x 5¾") sul raccordo dentellato del collettore con una fascetta stringitubo, come illustrato nella Figura 90 e serrate la fascetta stringitubo manualmente.
Montate il flessibile (1" x 16") sull'altro raccordo dentellato del collettore con una fascetta stringitubo e serrate la fascetta stringitubo manualmente (Figura 90).
Montate il portagomma diritto (1" x 2") sulla flangia del flussometro con la guarnizione da 38 mm (1½") e il morsetto flangiato da 51 mm (2") che avete rimosso al passaggio 6 di Rimozione delle valvole di sezione dal supporto del collettore.

Serrate il morsetto flangiato manualmente (Figura 91).
Parti necessarie per questa operazione:
| Gruppo flessibile di bypass | 1 |
| Valvola di intercettazione | 1 |
Rimuovete il fermo dal raccordo ad attacco rapido a 90° come mostrato nella Figura 92.

Montate la valvola di intercettazione sulla presa del raccordo a disinnesto rapido (Figura 92).
Fissate la valvola al raccordo con il fermo che avete rimosso al passaggio 1.
Montate la valvola d'intercettazione e il fermo che avete rimosso al passaggio 1 di Rimozione del flessibile di bypass di sezione sull'altra presa del raccordo a disinnesto rapido (Figura 92).
Allineate il gruppo flessibili di bypass con il serbatoio dell'irroratrice (Figura 93).


Montate il raccordo ad attacco rapido a 90° sul raccordo del diaframma del serbatoio dell'irroratrice e fissate i raccordi con il fermo che avete rimosso al passaggio 2 di Rimozione del flessibile di bypass di sezione.
Capacità attrezzatura di sollevamento: 55 kg
Utilizzando l'attrezzatura di sollevamento della capacità specificata, sollevate la sezione di irrorazione centrale e allineate i fori nella staffa di supporto per la sezione di irrorazione (Figura 94) con i fori nella piastra di montaggio per il telaio della macchina che avete individuato al passaggio 3 di Rimozione della sezione di irrorazione centrale.

Montate la sezione di irrorazione centrale sui profilati di montaggio (Figura 94) con i 4 bulloni a testa flangiata (½" x 1¼") e 4 dadi di bloccaggio flangiati (½") che avete rimosso al passaggio 4 di Rimozione della sezione di irrorazione centrale.
Serrate i dadi e i bulloni a una coppia di 91–113 N∙m.
Staccate il collettore di sollevamento dalla staffa di supporto della valvola.
Montate il collettore di sollevamento delle sezioni sul supporto del cilindro nel modo seguente:
Per macchine senza kit di allineamento delle barre Ultra Sonic Boom opzionale:
Allineate i fori nella staffa di supporto per il collettore di sollevamento delle sezioni con i fori nel supporto del cilindro (Figura 95).

Montate la staffa di supporto sul supporto del cilindro (Figura 95) con i 2 bulloni a testa flangiata (5/16" x 1") e il dado di bloccaggio flangiato (5/16") che avete rimosso al passaggio 1 di Rimozione del collettore di sollevamento delle sezioni dalla sezione di irrorazione centrale.
Per macchine con kit di allineamento delle barre Ultra Sonic Boom opzionale:
Allineate i fori nella staffa di supporto per il collettore di sollevamento delle sezioni e la staffa del controller TEC con i fori nel supporto del cilindro..

Montate la staffa di supporto e la staffa del TEC sul supporto del cilindro (Figura 96) con i 2 bulloni a testa flangiata (5/16" x 1") e il dado di bloccaggio flangiato (5/16") che avete rimosso al passaggio 1 di Rimozione del collettore di sollevamento delle sezioni dalla sezione di irrorazione centrale.
Serrate i bulloni e i dadi a 1978–2542 N∙cm.
Parti necessarie per questa operazione:
| Gruppo supporti delle valvole e valvole dell'irroratrice | 1 |
| Bullone (4 X 10 mm) | 3 |
| Controller dell'irroratrice ASC 10 | 1 |
| Dado di bloccaggio flangiato (4 mm) | 3 |
| Tappo (raccordo a disinnesto rapido) | 2 |
| Bulloni a testa flangiata (5/16" x ¾") | 8 |
| Dadi di bloccaggio flangiati (5/16") | 8 |
| Fascetta stringitubo | 1 |
| Dispositivo di fissaggio a spinta (fascetta per cavi) | 1 |
| Dispositivo di fissaggio a spinta (ancoraggio del connettore) | 3 |
Allineate il controller dell'irroratrice ASC 10 sul lato anteriore del supporto della valvola con il connettore a 4 pin verso l'esterno (Figura 97).

Montate il programmatore dell'irroratrice sul supporto della valvola (Figura 97) con i 3 bulloni (3 x 10 mm) e 4 dadi di bloccaggio flangiati (4 mm).
Note: Non utilizzate il foro esterno superiore nel controller dell'irroratrice ASC 10.
Serrate i bulloni e i dadi a una coppia di 234–286 N∙cm.
Rimuovete i fermi che fissano gli attuatori delle valvole per le valvole degli ugelli da 1 a 7 (Figura 98).

Rimuovete gli attuatori delle valvole dalle valvole degli ugelli da 1 a 7 (Figura 98).
Rimuovete i fermi che fissano i tappi nelle prese del raccordo a disinnesto rapido nella valvola dell'ugello 5 e nella valvola dell'ugello 6 e rimuovete i tappi (Figura 99).
Note: I tappi non vi occorrono più; conservate i fermi per l'installazione in Montaggio dei flessibili di bypass di sezione – macchine con kit asta manuale opzionale o kit avvolgitubo elettrico opzionale.

Rimuovete i fermi che fissano le valvole di bypass alle valvole degli ugelli da 1 a 7 (Figura 100).

Sollevate le valvole di bypass dalle valvole degli ugelli da 1 a 5 (Figura 100).
Ruotate le valvole di bypass di 180° e montatele sui raccordi a disinnesto rapido delle valvole di sezione (Figura 101).

Fissate le valvole di bypass alle valvole di sezione con i fermi (Figura 101) che avete rimosso al passaggio 4.
Ripetete i passaggi da 5 a 7 per le valvole di bypass della valvola dell'ugello 6 e la valvola dell'ugello 7 (Figura 102).

Montate i tappi sui raccordi a disinnesto rapido delle valvole di bypass per la valvola dell'ugello 5 e la valvola dell'ugello 6 con i fermi forniti con i tappi (Figura 101).

Montate gli attuatori delle valvole sulle valvole degli ugelli da 1 a 7 (Figura 98) con i fermi che avete rimosso al passaggio 1.
Montate le 3 valvole di sezione (Figura 104) che avete rimosso al passaggio 8 di Rimozione delle valvole di sezione dal supporto del collettore sulla flangia della valvola 7 del gruppo valvole dell'irroratrice con il morsetto flangiato e la guarnizione che avete rimosso al passaggio 4 di Rimozione delle valvole di sezione dal supporto del collettore.
Important: Le valvole di sezione di sinistra, destra e centrale sono identificate nell'impianto dell'irroratrice GeoLink nel modo seguente: valvola di sezione sinistra – valvola dell'ugello 8, valvola di sezione centrale – valvola dell'ugello 9 e valvola di sezione destra – valvola dell'ugello 10.

Fissate la presa dell'accoppiamento a disinnesto rapido per la valvola di bypass della valvola dell'ugello 8 all'accoppiamento a disinnesto rapido per la valvola di bypass della valvola dell'ugello 7 con il fermo che avete rimosso al passaggio 8 di Rimozione delle valvole di sezione dal supporto del collettore.

Montate la valvola dell'ugello 10 sul supporto della valvola (Figura 106 o Figura 107) con i 2 bulloni a testa flangiata (¼" x ¾") e i 2 dadi di bloccaggio (¼") che avete rimosso al passaggio 2 di Rimozione delle valvole di sezione dal supporto del collettore.


Serrate i bulloni a testa flangiata e i dadi di bloccaggio a 1017–1243 N∙m.
Capacità attrezzatura di sollevamento: 23 kg
Utilizzando l'attrezzatura di sollevamento della capacità specificata, sollevate il gruppo supporti delle valvole e valvole dell'irroratrice e allineatelo sulla sezione di irrorazione centrale (Figura 108).

Allineate i fori sulla staffa di supporto del supporto della valvola con i fori sul telaio della trave della sezione dell'irroratrice centrale (Figura 109).

Montate il supporto della valvola sul telaio della trave (Figura 109 e Figura 110) con 4 bulloni (5/16" x ¾") e 4 dadi di bloccaggio flangiati (5/16").

Ripetete i passaggi da 2 a 3 per l'altra staffa di montaggio del supporto della valvola sull'altro telaio della trave.
Serrate i bulloni a testa flangiata e i dadi di bloccaggio flangiati a una coppia di 1978–2542 N∙cm.
Montate il flessibile (1" x 16") sul raccordo flangiato a 90° (1"), come illustrato nella Figura 111.

Fissate il flessibile al raccordo flangiato con una fascetta stringitubo (Figura 111).
Montate la fascetta per cavi/il dispositivo di fissaggio a spinta nel foro nella parte superiore del supporto della valvola, come illustrato nella Figura 111.
Fissate la fascetta per cavi/il dispositivo di fissaggio a spinta (Figura 111) attorno al flessibile (1" x 16").
Rimuovete i fermi dalle prese dei raccordi ad attacco rapido.
Montate il raccordo ad attacco rapido del flessibile di bypass sul raccordo a disinnesto rapido nella valvola di bypass nella valvola dell'ugello 10 (Figura 112).

Fissate i raccordi a disinnesto rapido per il flessibile di bypass e la valvola di bypass con il fermo (Figura 112).
Ripetete i passaggi da 1 a 3 per i raccordi a disinnesto rapido nella valvola dell'ugello 1.
Montate il raccordo a disinnesto rapido della valvola di intercettazione con il raccordo a disinnesto rapido (presa) della valvola di bypass (Figura 113).

Fissate i raccordi a disinnesto rapido per la valvola di bypass-intercettazione e la valvola di bypass con il fermo (Figura 113) che avete rimosso al passaggio 3 di Posizionamento delle valvole di bypass – macchine senza kit asta di irrorazione manuale opzionale o kit avvolgitubo elettrico opzionale.
Ripetete i passaggi 1 e 2 per la valvola di bypass-intercettazione e la valvola di bypass sull'altro lato della macchina.
Montate i dispositivi di fissaggio a spinta dell'ancoraggio del connettore sui fori nel supporto della valvola (Figura 114).


Collegate il connettore a 3 prese (Figura 115) della diramazione di 89 cm del cablaggio preassemblato del kit indicato come VALVOLA DELL'UGELLO 1 al connettore a 3 pin dell'attuatore della valvola all'estrema sinistra (posizione 1).
Note: Le posizioni degli attuatori delle valvole da 1 a 10 sono disposte da sinistra a destra viste da dietro la macchina.
Collegate il connettore a 3 prese (Figura 115) della diramazione di 89 cm del cablaggio preassemblato del kit indicato come VALVOLA DELL'UGELLO 2 al connettore a 3 pin dell'attuatore della valvola (posizione 2).
Collegate i connettori a 3 prese rimanenti della diramazione di 89 cm del cablaggio preassemblato del kit al connettore a 3 pin degli attuatori delle valvole (Figura 115).
Note: Assicuratevi che i connettori a 3 prese siano collegati alla relativa posizione degli attuatori delle valvole.
Parti necessarie per questa operazione:
| Flessibile idraulico (¼" x 24¾") | 4 |
Allineate l'estremità fissa del cilindro di sollevamento che avete rimosso al passaggio 3 di Rimozione dei cilindri di sollevamento al foro da 16 mm sul supporto del cilindro (Figura 116).
Note: Assicuratevi che i fori di estensione e ritrazione del cilindro si allineino.

Montate il cilindro sul relativo supporto con il perno orientabile, il bullone a testa flangiata e il dado flangiato (Figura 116).
Serrate il bullone e il dado a una coppia di 1978–2542 N∙cm.
Ripetete i passaggi da 1 a 3 per l'altro cilindro di sollevamento sull'altro lato del supporto del cilindro.
Montate senza serrarlo un nuovo flessibile idraulico (¼" x 24¾") tra il foro di estensione del cilindro di sollevamento di sinistra e il foro C3 del collettore di sollevamento delle barre (Figura 117).

Montate senza serrarlo un nuovo flessibile idraulico (¼" x 24¾") tra il foro di ritrazione del cilindro di sollevamento di sinistra e il foro C4 del collettore di sollevamento delle barre (Figura 117).
Montate senza serrarlo un nuovo flessibile idraulico (¼" x 24¾") tra il foro di estensione del cilindro di sollevamento di destra e il foro C1 del collettore di sollevamento delle barre (Figura 118).

Montate senza serrarlo un nuovo flessibile idraulico (¼" x 24¾") tra il foro di ritrazione del cilindro di sollevamento di destra e il foro C2 del collettore di sollevamento delle barre (Figura 118).
Serrate i raccordi dei flessibili nei fori di estensione e ritrazione dei cilindri di sollevamento (Figura 117 e Figura 118) a 21–26 N∙m.
Serrate i dadi orientabili dei flessibili nel collettore di sollevamento delle barre (Figura 117 e Figura 118) a 24–30 N∙m.
Parti necessarie per questa operazione:
| Boccola flangiata in nylon | 4 |
| Fascetta per cavi | 1 |
| Gruppo del flessibile di alimentazione 188 cm | 1 |
| Gruppo del flessibile di alimentazione 234 cm | 1 |
| Gruppo del flessibile di alimentazione 279 cm | 1 |
Tagliate il flessibile tra i 2 ugelli dell'irroratrice (Figura 119).

Rimuovete il dado di bloccaggio flangiato (5/16") che fissa l'ugello dell'irroratrice al supporto dell'ugello (Figura 119).
Ripetete i passaggi 2 e 1 per gli altri 3 ugelli.
Note: Conservate il dado di bloccaggio flangiato e l'ugello dell'irroratrice per l'installazione descritta in Montaggio degli ugelli dell'irroratrice nelle sezioni di irrorazione esterne.
Note: Eliminate i flessibili, le fascette e il raccordo a T che avete rimosso dalla macchina.
Ripetete i passaggi da 2 a 3 sull'altra sezione di irrorazione esterna.
Lavorando con gli 8 ugelli dell'irroratrice rimossi al passaggio 1, rimuovete le viti in acciaio inox (n. 12 x 1¼") che fissano le metà superiori delle fascette e i portagomma dentellati singolo o doppio (¾") al corpo di ciascun ugello dell'irroratrice e rimuovete i portagomma dentellati (Figura 120).
Note: Il bullone a testa esagonale (5/16" x ¾" – acciaio inox) si separerà dalla metà superiore della fascetta quando aprite la fascetta; conservate il bullone per l'installazione.

Capacità attrezzatura di sollevamento: 91 kg
Utilizzando l'attrezzatura di sollevamento della capacità specificata, sollevate la barra esterna.
Inserite una boccola flangiata in nylon nel foro da 31,8 mm su ciascun lato del raccordo orientabile (Figura 121).

Allineate le boccole nel raccordo orientabile con i fori nelle flange della staffa orientabile all'estremità della sezione di irrorazione centrale (Figura 122).

Montate il raccordo orientabile alla staffa orientabile con il perno orientabile, il bullone flangiato (5/16" x 1") e il dado di bloccaggio flangiato (5/16") che avete rimosso al passaggio 2 di Rimozione delle sezioni di irrorazione esterne.
Serrate il bullone e il dado a 1978–2542 N∙cm.
Allineate l'estremità dell'asta del cilindro di sollevamento con il foro da 25 mm nella protuberanza del raccordo orientabile (Figura 123)

Fissate il cilindro di sollevamento al raccordo orientabile con il perno con testa e la coppiglia (Figura 123) rimossi al passaggio 2 della sezione Rimozione dei cilindri di sollevamento.
Ripetete i passaggi da 1 a 7 nella sezione di irrorazione esterna sull'altro lato della macchina.
Parti necessarie per questa operazione:
| Flessibile di alimentazione 279 cm | 2 |
| Flessibile di alimentazione 234 cm | 2 |
| Flessibile di alimentazione 188 cm | 4 |
| Flessibile di alimentazione 81 cm | 2 |
Individuate i flessibili di alimentazione per lunghezza (Figura 124) per ciascuna delle posizioni degli ugelli dell'irroratrice nel modo seguente:
| Posizioni degli ugelli dell'irroratrice – sezione di irrorazione sinistra | Posizioni degli ugelli dell'irroratrice – sezione di irrorazione centrale | Posizioni degli ugelli dell'irroratrice – sezione di irrorazione destra |
|---|---|---|
| Ugello dell'irroratrice 1 (valvola dell'ugello 1) – flessibile di alimentazione da 279 cm | Ugelli dell'irroratrice 5 e 6 (valvola dell'ugello 5) – flessibile di alimentazione da 81 cm con 2 flessibili di diramazione | Ugello dell'irroratrice 9 (valvola dell'ugello 7) – flessibile di alimentazione da 188 cm |
| Ugello dell'irroratrice 2 (valvola dell'ugello 2) – flessibile di alimentazione da 234 cm | Ugelli dell'irroratrice 7 e 8 (valvola dell'ugello 6) – flessibile di alimentazione da 81 cm con 2 flessibili di diramazione | Ugello dell'irroratrice 10 (valvola dell'ugello 8) – flessibile di alimentazione da 188 cm |
| Ugello dell'irroratrice 3 (valvola dell'ugello 3) – flessibile di alimentazione da 188 cm | Ugello dell'irroratrice 11 (valvola dell'ugello 9) – flessibile di alimentazione da 234 cm | |
| Ugello dell'irroratrice 4 (valvola dell'ugello 4) – flessibile di alimentazione da 188 cm | Ugello dell'irroratrice 12 (valvola dell'ugello 10) – flessibile di alimentazione da 279 cm |
Note: Fate riferimento a Figura 125 in Montaggio dei flessibili sulle valvole degli ugelli 1-4, Figura 126 in Montaggio dei flessibili sulle valvole degli ugelli 5 e 6 e Figura 127 in Montaggio dei flessibili sulle valvole degli ugelli 7-10 per le posizioni delle valvole degli ugelli.

Montate il raccordo dentellato diritto di un flessibile di alimentazione da 279 cm sull'accoppiatore della valvola dell'ugello 1 (Figura 125).
Note: Accertatevi che il raccordo dentellato sia adeguatamente fissato sull'accoppiatore.

Fissate il raccordo dentellato all'accoppiatore con un fermo (Figura 125).
Montate il raccordo dentellato diritto di un flessibile di alimentazione da 234 cm sull'accoppiatore della valvola dell'ugello 2 (Figura 125).
Note: Accertatevi che il raccordo dentellato sia adeguatamente fissato sull'accoppiatore.
Fissate il raccordo dentellato all'accoppiatore con un fermo (Figura 125).
Montate il raccordo dentellato diritto di un flessibile di alimentazione da 188 cm sull'accoppiatore della valvola dell'ugello 3 (Figura 125).
Note: Accertatevi che il raccordo dentellato sia adeguatamente fissato sull'accoppiatore.
Fissate il raccordo dentellato all'accoppiatore con un fermo (Figura 125).
Montate il raccordo dentellato diritto di un flessibile di alimentazione da 188 cm sull'accoppiatore della valvola dell'ugello 4 (Figura 125).
Note: Accertatevi che il raccordo dentellato sia adeguatamente fissato sull'accoppiatore.
Fissate il raccordo dentellato all'accoppiatore con un fermo (Figura 125).
Note: Il gruppo flessibile di alimentazione da 81 cm è dotato di un raccordo a T con 2 flessibili di diramazione e 2 portagomma dentellati singoli.
Montate il raccordo dentellato diritto di un flessibile di alimentazione da 81 cm sull'accoppiatore della valvola dell'ugello 5 (Figura 126).
Note: Accertatevi che il raccordo dentellato sia adeguatamente fissato sull'accoppiatore.

Fissate il raccordo dentellato all'accoppiatore con un fermo (Figura 126).
Montate il raccordo dentellato diritto di un flessibile di alimentazione da 81 cm sull'accoppiatore della valvola dell'ugello 6 (Figura 126).
Note: Accertatevi che il raccordo dentellato sia adeguatamente fissato sull'accoppiatore.
Fissate il raccordo dentellato all'accoppiatore con un fermo (Figura 126).
Montate il raccordo dentellato diritto di un flessibile di alimentazione da 188 cm sull'accoppiatore della valvola dell'ugello 7 (Figura 127).
Note: Accertatevi che il raccordo dentellato sia adeguatamente fissato sull'accoppiatore.

Fissate il raccordo dentellato all'accoppiatore con un fermo (Figura 127).
Montate il raccordo dentellato diritto di un flessibile di alimentazione da 188 cm sull'accoppiatore della valvola dell'ugello 8 (Figura 127).
Note: Accertatevi che il raccordo dentellato sia adeguatamente fissato sull'accoppiatore.
Fissate il raccordo dentellato all'accoppiatore con un fermo (Figura 127).
Montate il raccordo dentellato diritto di un flessibile di alimentazione da 234 cm sull'accoppiatore della valvola dell'ugello 9 (Figura 127).
Note: Accertatevi che il raccordo dentellato sia adeguatamente fissato sull'accoppiatore.
Fissate il raccordo dentellato all'accoppiatore con un fermo (Figura 127).
Montate il raccordo dentellato diritto di un flessibile di alimentazione da 279 cm sull'accoppiatore della valvola dell'ugello 10 (Figura 127).
Note: Accertatevi che il raccordo dentellato sia adeguatamente fissato sull'accoppiatore.
Fissate il raccordo dentellato all'accoppiatore con un fermo (Figura 127).
Disponete i flessibili per gli ugelli dell'irroratrice 1, 2, 3 e 4 attraverso il serratubi a R nell'estremità esterna sinistra della sezione di irrorazione centrale (Figura 128 e Figura 129).


Disponete i flessibili per gli ugelli dell'irroratrice 7, 8, 9 e 10 attraverso il serratubi a R nell'estremità esterna destra della sezione di irrorazione centrale (Figura 128 e Figura 129).
Disponete i flessibili di alimentazione da 279 cm e i portagomma dentellati (¾") lungo la sezione di irrorazione agli ugelli dell'irroratrice 1 e 10, come illustrato nella Figura 128 e Figura 129.
Disponete i flessibili di alimentazione da 234 cm e i portagomma dentellati (¾") lungo la sezione di irrorazione agli ugelli dell'irroratrice 2 e 9 lungo la sezione di irrorazione, come illustrato nella Figura 128 e Figura 129.
Disponete i flessibili di alimentazione da 188 cm e i portagomma dentellati (¾") lungo la sezione di irrorazione agli ugelli dell'irroratrice 3 e 8, come illustrato nella Figura 128 e Figura 129.
Note: Disponete i flessibili attraverso i gommini inferiori posteriori nelle staffe del telaio del tubo.
Disponete i flessibili di alimentazione da 188 cm e i portagomma dentellati (¾") lungo la sezione di irrorazione agli ugelli dell'irroratrice 4 e 7, come illustrato nella Figura 128 e Figura 129.
Note: Disponete i flessibili attraverso i gommini inferiori posteriori nelle staffe del telaio del tubo.
Raggruppate i 4 flessibili degli ugelli dell'irroratrice insieme con una fascetta per cavi, come illustrato nella Figura 129.
Allineate il tubo di trasferimento sulla sella di un ugello dell'irroratrice (Figura 130) con il foro sul lato del portagomma dentellato singolo (½").

Chiudete la metà superiore della fascetta attorno al portagomma dentellato e fissate la metà della fascetta e il corpo dell'ugello dell'irroratrice (Figura 130) con la vite in acciaio inox (n. 12 x 1¼"); serrate la vite in acciaio inox a 14–18 N∙m.
Note: Assicuratevi che il bullone a testa esagonale (5/16" x ¾") sia in sede nell'incavo situato nella metà superiore della fascetta quando chiudete la fascetta stessa.
Montate gli ugelli dell'irroratrice sulla sezione di irrorazione esterna nel modo seguente:
Nelle posizioni degli ugelli 1 e 4, montate l'ugello dell'irroratrice sul relativo supporto (A di Figura 131) con il dado di bloccaggio flangiato (5/16") che avete rimosso nel passaggio 2 di Rimozione degli ugelli dell'irroratrice dalle sezioni di irrorazione esterne.
Nelle posizioni degli ugelli 2 e 3, montate l'ugello dell'irroratrice sul relativo supporto (A e B di Figura 131) con il dado di bloccaggio flangiato (5/16") che avete rimosso nel passaggio 2 di Rimozione degli ugelli dell'irroratrice dalle sezioni di irrorazione esterne.

Serrate il dado di bloccaggio flangiato a 1978–2542 N∙cm.
Ripetete i passaggi da 1 a 4 per gli altri ugelli dell'irroratrice per la sezione di irrorazione.
Ripetete i passaggi da 1 a 5 nella sezione di irrorazione esterna sull'altro lato della macchina.
Inserite il connettore a 3 prese della diramazione di 61 cm del cablaggio preassemblato del kit indicato come CUNEO VERDE DEL TRASDUTTORE DI PRESSIONE nel connettore a 3 pin del trasduttore di pressione (Figura 132).

Inserite il connettore a 40 prese della diramazione da 102 cm del cablaggio preassemblato del kit nel connettore a 40 pin del controller di irrorazione ASC 10 (Figura 133).

Avvitate manualmente la vite a testa zigrinata del connettore a 40 prese nel connettore ASC 10 (Figura 133).
Inserite il connettore a 4 prese indicato come AD ASC 10 nel connettore a 4 pin del controller di irrorazione ASC 10 (Figura 134).

Montate il raccordo a 90° della valvola di intercettazione per il kit asta di irrorazione o il kit avvolgitubo elettrico opzionali sulla flangia della valvola dell'ugello 10 con il morsetto flangiato e la guarnizione e serrate il morsetto manualmente (Figura 136).

Allineate l'estremità del tubo di rilevamento della pressione (in plastica) per il manometro del cruscotto con il collare di bloccaggio per l'accoppiatore del tubo del raccordo a 90° della valvola di intercettazione dell'asta di irrorazione manuale o il kit avvolgitubo elettrico (Figura 137).

Inserite il tubo di rilevamento nel collare di sicurezza fino a quando non è completamente in sede (Figura 137).
Parti necessarie per questa operazione:
| Fascetta per cavi | 6 |
Disponete i tubi per gli ugelli della schiuma nella sezione di irrorazione di sinistra e destra, all'interno e attraverso il serratubi a R accanto al punto di articolazione per ciascuna sezione di irrorazione esterna (Figura 139).


Disponete i tubi in avanti lungo il lato sinistro del serbatoio dell'irroratrice (Figura 139).
Fissate i tubi per gli ugelli del tracciafile schiumogeno sinistro e destro ai flessibili dell'irroratrice con 4 fascette per cavi, come illustrato nella Figura 139.
Fissate i tubi per gli ugelli del tracciafile schiumogeno sinistro e destro ai tubi dell'agitatore con 2 fascette per cavi, come illustrato nella Figura 139.
Disponete i tubi della schiuma per la barra destra come illustrato nella Figura 140.


Inserite il tubo trasparente nel raccordo dell'aria nella piastra del compressore laterale (Figura 140 e Figura 141).

Inserite il tubo blu nel raccordo del liquido nella piastra del compressore laterale (Figura 140 e Figura 141).
Disponete i tubi della schiuma per la barra sinistra come illustrato nella Figura 140.
Inserite il tubo trasparente nel raccordo dell'aria nella piastra del compressore laterale (Figura 140 e Figura 141).
Inserite il tubo blu nel raccordo del liquido nella piastra del compressore laterale (Figura 140 e Figura 141).
Collegate il tubo con la fascetta per cavi che avete preparato al passaggio 9 di Preparazione dei nuovi gruppi dei tubi per gli ugelli del tracciafile schiumogeno allineando il tubo blu per la sezione di irrorazione di destra sul raccordo di compressione per il circuito dell'acqua della sezione di irrorazione di destra (Figura 142).

Montate il dado di compressione del tubo sul raccordo e serrate il dado manualmente (Figura 142).
Allineamento del tubo trasparente per la sezione di irrorazione di destra sul raccordo di compressione per il circuito dell'aria della sezione di irrorazione di destra (Figura 142).
Montate il dado di compressione del tubo sul raccordo e serrate il dado manualmente (Figura 142).
Collegate il tubo non marcato (senza fascetta per cavi) allineando il tubo blu per la sezione di irrorazione di sinistra sul raccordo di compressione per il circuito dell'acqua della sezione di irrorazione di sinistra (Figura 143).

Montate il dado di compressione del tubo sul raccordo e serrate il dado manualmente (Figura 143).
Allineamento del tubo trasparente per la sezione di irrorazione di sinistra sul raccordo di compressione per il circuito dell'aria della sezione di irrorazione di sinistra (Figura 143).
Montate il dado di compressione del tubo sul raccordo e serrate il dado manualmente (Figura 143).
Fissate le tubazioni del tracciafile schiumogeno ai flessibili dell'ugello dell'irroratrice con 2 fascette per cavi (Figura 139).
Collegate il connettore a 3 prese del cablaggio preassemblato di Sonic Boom al connettore a 3 pin del cavo per il sensore Ultra-Sonic destro (A di Figura 144).

Collegate il connettore a 3 prese del cablaggio preassemblato di Sonic Boom dal connettore a 3 pin del cavo per il sensore Ultra-Sonic sinistro (B di Figura 144).
Parti necessarie per questa operazione:
| Gruppo di estensione della copertura (12 ugelli – Toro 120-0621) | 1 |
| Ribattino con spina (N. cat. Toro 114439) | 22 |
| Staffa di supporto (copertura della sezione centrale – N. cat. Toro 131-3703-03) | 4 |
| Dado a clip (N. cat. Toro 94-2413) | 4 |
| Bulloni a testa flangiata (⅜" x 1¼" – N. cat. Toro 110-5050) | 16 |
| Dadi di bloccaggio flangiati (⅜" – N. cat. Toro 104-8301) | 16 |
| Cinghia della copertura (N. cat. Toro 120-0629) | 2 |
| Bulloni a testa flangiata (5/16" x 1¼" – N. cat. Toro 323-36) | 4 |
Utilizzando un trapano con una punta da 5 mm, perforate gli 11 ribattini con spina (Figura 145) che fissano la piastra di rinforzo (con una riga singola di ribattini) e il coperchio in gomma all'estremità del coperchio della sezione a 11 ugelli per la sezione di irrorazione centrale che avete rimosso al passaggio 2 di Rimozione della copertura della sezione centrale (a 11 ugelli) del kit barre coperte opzionale.


Rimuovete la piastra di rinforzo, le 11 rondelle (3/16") e il cappuccio in gomma dalla copertura della barra a 11 ugelli (Figura 145).
Note: Conservate la piastra di rinforzo, le rondelle e il cappuccio in gomma per l'installazione nelle fasi 5 e 6.
Allineate i fori della piastra di rinforzo (fila doppia) sulla prolunga della copertura con i fori nell'estremità della copertura della barra a 11 ugelli (Figura 146).

Fissate la prolunga della copertura alla copertura della sezione a 11 ugelli (Figura 147) con 11 ribattini con spina (N. cat. Toro 114439).

Allineate i fori nel cappuccio in gomma e nella piastra di rinforzo (fila singola) che avete rimosso al passaggio 2 con i fori all'estremità della sovraestensione (Figura 148).

Fissate la piastra di rinforzo e il cappuccio in gomma alla prolunga della copertura con gli 11 ribattini con spina (N. cat. Toro 114439) e le 11 rondelle (3/16") che avete rimosso al passaggio 5.
Note: Allineate le rondelle (3/16") contro la superficie interna dell'estensione della copertura.
Montate i 4 dadi a clip (N. cat. Toro 94-2413) sulle 2 staffe di supporto della copertura della sezione centrale (N. cat. Toro 131-3703-03), come illustrato nella Figura 149.

Nell'estensione della sezione centrale, individuate le 2 coppie di fori sulla superficie verticale del telaio della trave con una distanza tra i fori di 25 mm (Figura 150).


Allineate i fori in una staffa di supporto (n. cat. Toro 131-3703-03) ai fori nell'estensione per la sezione di irrorazione centrale che avete individuato al passaggio 2 con la flangia larga della staffa a sinistra; fate riferimento a Figura 150.
Montate la staffa di supporto sul telaio della trave (Figura 150) con 4 bulloni a testa flangiata (⅜" x 1¼" – N. cat. Toro 110-5050) e 4 dadi di bloccaggio flangiati (⅜" – N. cat. Toro 104-8301).
Ripetete i passaggi da 2 a 4 nelle altre 2 coppie di fori nell'estensione per la sezione di irrorazione centrale e per l'altra staffa di supporto, i bulloni a testa flangiata e i dadi di bloccaggio flangiati.
Serrate i dadi e i bulloni a una coppia di 37–45 N∙m.
Allineate i fori nella copertura della sezione centrale con i fori nelle staffe di supporto per la copertura della sezione centrale (Figura 151).

Allineate i fori in 2 delle cinghie della copertura che avete rimosso al passaggio 1 di Rimozione della copertura della sezione centrale (a 11 ugelli) del kit barre coperte opzionale con il flessibile nella copertura e 2 delle staffe di supporto (Figura 151).
Montate le cinghie della copertura e la copertura sulle staffe di supporto con i 4 bulloni a testa flangiata (5/16" x 1¼") che avete rimosso al passaggio 1 di Rimozione della copertura della sezione centrale (a 11 ugelli) del kit barre coperte opzionale.
Allineate i fori nelle 2 cinghie della copertura (n. cat. Toro 120-0629) con i 4 fori rimanenti nella copertura e i 4 fori rimanenti nelle staffe di supporto (Figura 151).
Montate le cinghie della copertura e la copertura sulle staffe di supporto (Figura 151) con i 4 bulloni a testa flangiata (5/16" x 1¼" – N. cat. Toro 323-36).
Serrate i bulloni a una coppia di 1978–2542 N·cm.
Parti necessarie per questa operazione:
| Piastra ricevente | 1 |
| Distanziale (⅜" x 1") | 1 |
| Supporto del ricevitore | 1 |
| Bullone (⅜" x 3¼") | 1 |
| Rondella di bloccaggio (⅜") | 1 |
| Rondella (⅜" x 13/16") | 1 |
| Dado di bloccaggio flangiato (⅜") | 1 |
| Bullone a testa flangiata (5/16" x ¾") | 1 |
| Dado di bloccaggio flangiato (5/16") | 1 |
| Bullone a testa flangiata (⅜" x 1½") | 2 |
| Distanziale (⅜" x 7/16") | 2 |
| Ricevitore di navigazione – Kit impianto di irrorazione di precisione GeoLink X25, base, WAAS (Modello 41630) | 1 |
| Bullone a testa esagonale (5 x 16 mm) | 3 |
| Rondella (5 mm) | 3 |
| Adattatore del diaframma (kit modem di correzione CDMA RTK opzionale o kit modem di correzione GSM RTK) | 1 |
| Antenna cellulare (kit modem di correzione CDMA RTK o kit modem di correzione GSM RTK opzionali) | 1 |
| Cavo coassiale (kit modem di correzione CDMA RTK o kit modem di correzione GSM RTK opzionali) | 1 |
Allineate i fori nella piastra del ricevitore di navigazione, il distanziale (⅜" x 1") e il supporto del ricevitore (Figura 152).

Montate la piastra del ricevitore e il distanziale sul supporto con un bullone (⅜" x 3¼"), una rondella di bloccaggio (⅜"), una rondella (⅜" x 13/16") e un dado di bloccaggio flangiato (⅜"), come mostrato nella Figura 152.
Montate il bullone a testa flangiata (5/16" x ¾") e il dado di bloccaggio flangiato (5/16") attraverso il foro più piccolo nel supporto del ricevitore e la scanalatura nella piastra del ricevitore (Figura 152).
Serrate i bulloni e i dadi, in modo da poter ruotare la piastra del ricevitore con una leggera resistenza.
Montate il supporto del ricevitore e il distanziale (⅜" x 7/16") sul roll bar con il bullone a testa flangiata (⅜" x 1½"), come illustrato nella Figura 153.

Serrate i bulloni, in modo da poter ruotare la piastra del ricevitore con una leggera resistenza.
Livellate la piastra del ricevitore in senso laterale (Figura 154).

Serrate il bullone a testa flangiata (5/16" x ¾") e il dado di bloccaggio flangiato (5/16") a 1978–2542 N∙cm.
Livellate la piastra del ricevitore in senso longitudinale (Figura 154).
Serrate il bullone (⅜" x 3¼") e il dado di bloccaggio (⅜") a 37–45 N∙m.
Note: Montate l'antenna RTK quando la vostra macchina è dotata di un modem di correzione CDMA RTK o GSM RTK.
Allineate l'accoppiatore coassiale attraverso l'apertura nella flangia dell'antenna RTK con i filetti del diaframma dell'accoppiatore verso il basso (Figura 156).
Note: Ruotate l'accoppiatore coassiale come opportuno per allineare la spianatura dei filetti del diaframma con la spianatura nell'apertura della flangia dell'antenna RTK.

Montate l'accoppiatore coassiale sulla flangia della piastra del ricevitore con la rondella di bloccaggio e il controdado e serrate il controdado manualmente (Figura 156).
Montate l'antenna RTK sul raccordo superiore dell'accoppiatore coassiale e serrate il dado zigrinato dell'antenna manualmente (Figura 157).

Montate senza serrarlo il cavo dell'antenna al raccordo inferiore dell'accoppiatore coassiale (Figura 157).
Disponete il cavo attorno alla parte posteriore del ricevitore di navigazione al connettore coassiale del modem cellulare CDMA o GSM (Figura 157).
Montate il cavo dell'antenna sul connettore coassiale del modem cellulare CDMA o GSM (Figura 157) (Figura 151).
Serrate i dadi zigrinati del cavo dell'antenna manualmente.
Parti necessarie per questa operazione:
| Supporto del monitor | 1 |
| Bullone a testa flangiata (6 x 12 mm) | 3 |
| Bullone a U (5/16") | 2 |
| Dado di bloccaggio flangiato (5/16") | 8 |
| Supporto a sfera | 1 |
| Bullone a testa flangiata (5/16" x ¾") | 4 |
| Monitor – Kit impianto di irrorazione di precisione GeoLink X25, base, WAAS (Modello 41630) | 1 |
| Braccio del monitor – Kit impianto di irrorazione di precisione GeoLink X25, base, WAAS (Modello 41630) | 1 |
Allineate il supporto del monitor alla macchina, come illustrato nella Figura 159.

Montate il supporto del monitor sull'alloggiamento della valvola di sterzo (Figura 160) con i 3 bulloni a testa flangiata (6 x 12 mm).

Montate la piastra del supporto del monitor sul tubo di supporto dello chassis della macchina (Figura 161) con i 2 bulloni a U e i 4 dadi di bloccaggio (5/16").

Serrate i 3 bulloni a testa flangiata (6 x 12 mm) nella valvola di sterzo a 972–1198 N∙cm; nel tubo di supporto, serrate i dadi di bloccaggio flangiati a 1978–2542 N∙cm.
Allineate il segno del nastro adesivo sul volante al segno del nastro adesivo sull'alloggiamento della valvola di sterzo (Figura 162).

Montate il volante sull'albero della valvola di sterzo (Figura 162) con la rondella (⅝") e il dado (⅝") rimossi al passaggio 3 di Rimozione del volante.
Serrate il dado a 206–254 N∙m.
Montate il coperchio rimosso nel passaggio 2 di Rimozione del volante sul volante (Figura 168).
Montate il supporto a sfera sulla staffa per il supporto del monitor (Figura 163) con i 4 bulloni a testa flangiata (5/16" x ¾") e i 4 dadi di bloccaggio flangiati (5/16").

Serrate i bulloni e i dadi a 1978–2542 N∙cm.
Montate il raccordo a sfera del monitor e il supporto a sfera della macchina sul braccio del monitor (Figura 164).

Regolate il monitor in modo che sia visualizzabile dalla posizione dell'operatore della macchina e serrate la manopola del braccio del monitor manualmente (Figura 164).
Scollegate il connettore a 2 prese del cablaggio preassemblato della macchina indicato come BOBINA DELLA POMPA DI IRRORAZIONE dal connettore a 2 pin dell'alternatore (Figura 165).

Collegate il connettore a 2 pin della diramazione del cablaggio preassemblato del kit – 84 cm indicato come FRIZIONE DELLA POMPA al connettore a 2 prese del cablaggio preassemblato della macchina indicato come BOBINA DELLA POMPA DI IRRORAZIONE (Figura 166).

Collegate il connettore a 2 prese del cablaggio preassemblato del kit indicato come FRIZIONE DELLA POMPA al connettore a 2 pin dell'alternatore (Figura 166).
Disponete la diramazione del cablaggio preassemblato – 84 cm contro il motore e la pompa di irrorazione, in modo che la diramazione abbia una certa distanza dalla cinghia dell'alternatore (Figura 167).

Parti necessarie per questa operazione:
| Staffa della batteria | 1 |
| Bullone (5/16" x 1¾") | 1 |
| Rondella (5/16") | 1 |
| Batteria (540 A) | 1 |
| Cinghia della batteria | 1 |
| Dado di bloccaggio flangiato (5/16") | 1 |
| Staffa dell'alternatore | 1 |
| Puleggia motrice 279 mm | 1 |
| Bullone (¼" x 2¼") | 4 |
| Rondella di bloccaggio (¼") | 4 |
| Alternatore (60 A) | 1 |
| Bullone a testa flangiata (8 x 25 mm) | 1 |
| Bullone a testa flangiata (⅜" x 1½") | 1 |
| Cinghia trapezoidale | 1 |
Rimuovete i 2 dadi di bloccaggio flangiati e i tiranti dai 2 bulloni a J che fissano la batteria alla staffa della batteria della macchina (Figura 168).

Togliere la batteria dalla macchina (Figura 168).
Note: I dadi flangiati, il tirante di tenuta e la batteria (300 A) non vi occorrono più.
Rimuovete i bulloni (10-24 x ¾") e i dadi (10-24) che fissano il portafusibili alla staffa della batteria (Figura 169).
Note: Conservate i bulloni (10-24 x ¾") e i dadi (10-24) per l'installazione in Montaggio della staffa della batteria e della batteria (540 A).

Rimuovete i 2 bulloni a testa flangiata (⅜" x ¾") che fissano la staffa della batteria al tubo di supporto dell'ammortizzatore della macchina (Figura 169).
Note: Conservate il bullone a testa flangiata (⅜" x ¾") per l'installazione in Montaggio della staffa della batteria e della batteria (540 A).
Rimuovete i 2 bulloni a J e il vassoio della batteria dalla staffa della batteria (Figura 170).

Rimuovete la staffa della batteria dalla macchina (Figura 171).
Note: I bulloni a J, il vassoio della batteria e la staffa della batteria non vi occorrono più.

Allineate la staffa della nuova batteria al tubo di supporto dell'ammortizzatore della macchina e ai portafusibili (Figura 172).

Montate la staffa della batteria sul tubo di supporto dell'ammortizzatore (Figura 173) con i 2 bulloni a testa flangiata (⅜" x ¾") che avete conservato al passaggio 4 di Rimozione della batteria (300 A) e della staffa della batteria.

Serrate i bulloni a testa flangiata a 37–45 N∙m.
Fissate i portafusibili alla staffa della batteria (Figura 173) con il bullone (10-24 x ¾") e i dadi (10-24) che avete rimosso al passaggio 3 di Rimozione della batteria (300 A) e della staffa della batteria.
Montate la batteria alla relativa staffa con il bullone (5/16" x 1¾"), la rondella (5/16"), la cinghia della batteria e il dado di bloccaggio flangiato (5/16") come illustrato nella Figura 174.

Serrate il bullone e il dado a 1978–2542 N∙cm.
Nella testa della pompa situata in posizione a ore 11, allentate i 2 bulloni come illustrato nella Figura 175, per creare uno spazio di 7–10 mm tra la testa dei bulloni e la pompa.
Note: Non c'è bisogno di rimuovere i bulloni dalla pompa di irrorazione.

Allineate la staffa dell'alternatore tra i bulloni che avete allentato e come illustrato nel passaggio 1 e la testa della pompa Figura 176.

Serrate i bulloni a 61–75 N.
Allentate il dado per l'albero della puleggia tendicinghia (Figura 177).
Note: Assicuratevi che non vi sia tensione sulla cinghia.

Ruotate il bullone di tensione della cinghia per eliminare la tensione dalla cinghia della pompa di irrorazione (Figura 177).
Rimuovete i 4 bulloni (¼" x 1") e le 4 rondelle di bloccaggio (¼") che fissano la puleggia alla pompa dell'irroratrice (Figura 178).
Important: Non rimuovete la puleggia.
Note: I bulloni e le rondelle di bloccaggio non vi occorrono più.

Allineate i fori nella puleggia per l'alternatore (kit) con i fori nella puleggia per la pompa dell'irroratrice (Figura 179).

Montate la puleggia dell'alternatore sulla puleggia della pompa dell'irroratrice e la pompa dell'irroratrice con i 4 bulloni (¼" x 2¼") e 4 rondelle di bloccaggio (¼").
Serrate i bulloni a 1017–1243 N∙m.
Ruotate il bullone di tensione della cinghia per aumentare la tensione della cinghia fino a misurare 9,5 mm di flessione della cinghia quando applicate 4,5 kg a metà tra le ruote dentate del motore e della pompa di irrorazione.

Serrate il dado per l'albero della puleggia tendicinghia tra 37 e 44 N∙m.
Montate l'alternatore (60 A) sull'attacco filettato della staffa dell'alternatore (Figura 181) con il bullone a testa flangiata (⅜" x 1½").

Montate la flangia filettata dell'alternatore sulla flangia scanalata della staffa dell'alternatore (Figura 181) con il bullone a testa flangiata (8 x 25 mm).
Montate la cinghia trapezoidale sulla puleggia motrice di 279 mm e la puleggia dell'alternatore (Figura 182).

Ruotate l'alternatore (Figura 183) verso l'alto per aumentare la tensione sulla cinghia fino a misurare 9,5 mm di flessione della cinghia quando applicate 4,5 kg a metà tra la puleggia dell'alternatore e la puleggia motrice di 279 mm.

Serrate il bullone a testa flangiata (8 x 25 mm) a 23–29 N∙m.
Serrate il bullone a testa flangiata (⅜" x 1½") a 37–45 N∙m.
Parti necessarie per questa operazione:
| Relè | 1 |
| Dispositivo di fissaggio a spinta | 1 |
| Fusibile (15 A) | 1 |
| Fusibile (50 A) | 1 |
Collegate le 2 prese all'estremità del filo rosa di 57 cm del cablaggio preassemblato del kit (Figura 184) sul connettore a 2 pin dell'alternatore (50 A).

Disponete il filo di rilevamento rosa lontano dalle cinghie dell'alternatore e fissate il filo con una fascetta per cavi.
Rimuovete il dado dal polo terminale (Figura 185) dell'alternatore (50 A).

Montate il filo rosso, calibro 6 dell'alternatore sul polo terminale dell'alternatore (50 A) con il dado (Figura 185).
Disponete l'alternatore rosso verso i poli della batteria e via dalla puleggia e dalla cinghia dell'alternatore.
Serrate il dado a 47–57 N∙m.
Tagliate la copertura isolante sul polo terminale dell'alternatore (Figura 185).
Collegate il connettore a 5 pin del relè al connettore a 5 prese (Figura 186) del cablaggio preassemblato del kit indicato come RELè DI ATTIVAZIONE ASC 10.

Allineate il foro nell'aletta di montaggio del relè con il foro nel tubo di supporto dell'ammortizzatore e fissate il relè al tubo con un dispositivo di fissaggio a spinta (Figura 186).
Impostate un multimetro per l'esecuzione di un test di continuità.
Nel portafusibili 3 della macchina, inserite la sonda del multimetro nel contatto 4 (la colonna destra) della presa 2 del fusibile, come illustrato nella Figura 187.

Sul lato anteriore dei portafusibili, utilizzate l'altra sonda del multimetro per individuare il connettore della lama all'estremità del filo rosso calibro 10 che si collega alla presa 2 del fusibile – contatto 4.

Utilizzate un pezzo di nastro adesivo per segnare il connettore e il filo che avete individuato al passaggio 3 (Figura 188).
Collegate il connettore della lama che avete segnato al passaggio 4 nel connettore a presa all'estremità del filo rosa di 51 mm del cablaggio preassemblato del kit (Figura 189).

Inserite il fusibile (15 A) nella presa 2 del fusibile del portafusibili 3 fino a quando il fusibile non è completamente in sede (Figura 190).

Inserite il fusibile (50 A) nel portafusibili in linea fino a quando il fusibile non è completamente in sede (Figura 191).

Parti necessarie per questa operazione:
| Cablaggio dati (sistema di navigazione) – Kit del sistema di irrorazione di precisione GeoLink (Modello 41630) | 1 |
| Cablaggio della batteria (sistema di navigazione) – Kit impianto di irrorazione di precisione GeoLink (modello 41630) | 1 |
| Fascetta per cavi | 8 |
| Morsetto ad attacco rapido (maniglia rossa) | 1 |
| Morsetto ad attacco rapido (maniglia nera) | 1 |

Important: Alcuni connettori del cablaggio dati non vengono utilizzati. Assicuratevi che i cappucci e i tappi dei connettori non utilizzati siano saldi.
Collegate il connettore a 3 prese (interfaccia di alimentazione elettrica) del cablaggio elettrico di navigazione al connettore a 3 pin (interfaccia di alimentazione elettrica) del cablaggio dati (Figura 192).


Disponete la diramazione di 390 cm del cablaggio dati lungo il lato posteriore del tubo del roll bar verticale di sinistra.

Disponete la diramazione da 390 cm del cablaggio dati lungo il tubo del ROPS di destra con il connettore a 12 prese (grigio) e il connettore a 12 prese (nero) in alto, verso il ricevitore di navigazione (Figura 196).

Allineate le 2 chiavi sulla superficie lunga del connettore a 12 prese grigio e nero del cablaggio dati con le 2 scanalature per chiave nella parete orizzontale inferiore del connettore a 12 pin sinistro (grigio) del ricevitore di navigazione (Figura 197).
Note: Prestate cautela quando collegate il cablaggio preassemblato al ricevitore di navigazione, le chiavi di allineamento dei connettori del cablaggio sono uniche per le scanalature per chiave dei connettori a pin del ricevitore di navigazione.

Collegate il connettore a 12 prese grigio e nero del cablaggio dati nel connettore a 12 pin sinistro (grigio) del ricevitore di navigazione, fino a quando il connettore non scatta saldamente in sede (Figura 197).
Allineate le 2 chiavi sul lato corto del connettore a 12 prese nero del cablaggio dati con le 2 scanalature per chiave nella parete verticale sinistra del connettore a 12 pin destro (nero) del ricevitore di navigazione (Figura 197).
Note: Prestate cautela quando collegate il cablaggio preassemblato al ricevitore di navigazione, le chiavi di allineamento dei connettori del cablaggio sono uniche per le scanalature per chiave dei connettori a pin del ricevitore di navigazione.
Collegate il connettore a 12 prese solo nero del cablaggio dati al connettore a 12 pin sinistro (nero) del ricevitore di navigazione, fino a quando il connettore non scatta saldamente in sede (Figura 197).
Fissate la diramazione da 390 cm del cablaggio dati al tubo del ROPS di destra con 2 fascette per cavi, come illustrato nella Figura 196.
Note: Assicuratevi che il cavo sia lento tra i connettori a 12 prese e la fascetta per cavi.


Disponete il cablaggio dati e il cablaggio della batteria lungo la parte posteriore del roll bar verticale di sinistra all'elemento trasversale per il supporto del sedile (Figura 200).

Fissate la diramazione di 390 cm del cablaggio dati per il ricevitore di navigazione al roll bar, come illustrato nella Figura 200.
Collegate il connettore a 1 pin del cablaggio della batteria indicato come ***IMPORTANTE*** COLLEGATE QUESTO FILO SOLO ALLA PRESA DI ALIMENTAZIONE COMMUTATA DA 12 V al connettore a 1 presa della diramazione di 66 cm del cablaggio preassemblato del kit (Figura 201) indicato come ALIMENTAZIONE COMMUTATA PER TOPCON GEN 2).

Collegate il connettore a 4 pin della diramazione di 66 cm del cablaggio preassemblato del kit indicato come ALIMENTAZIONE ASC 10 E CAN DA X30 al connettore a 4 prese della diramazione del cablaggio dati indicato come CAN 2/ASC10 BUS (Figura 201).
Disponete il cablaggio dati e il cablaggio della batteria sull'elemento trasversale per il supporto del sedile e fissate la diramazione di 390 cm del cablaggio dati all'elemento trasversale con 2 fascette per cavi (Figura 200 e Figura 202).

Disponete la diramazione di 220 cm del cablaggio della batteria lungo il tubo del telaio superiore destro (Figura 202).
Disponete la diramazione di 220 cm del cablaggio della batteria sul tubo di supporto dell'ammortizzatore verso la batteria (Figura 202).
Note: Assicuratevi che la diramazione di 100 cm di interconnessione elettrica (alimentazione commutata) rimanga disposto contro il tubo del telaio superiore destro.
Disponete la diramazione di 220 cm del cablaggio dati (la diramazione del cablaggio con il connettore a 26 prese) sotto il quadro di comando e in avanti, verso la plancia (Figura 202).

Disponete la diramazione di 220 cm del cablaggio dati (la diramazione del cablaggio con il connettore a 26 prese) in avanti e sotto la plancia (Figura 204).

Disponete la diramazione di 220 cm del cablaggio dati lungo il tubo di supporto del monitor (Figura 204)..
Allineate il connettore a 26 prese del cablaggio dati con il connettore a 26 pin del monitor dell'irroratrice e premete il connettore a prese nel connettore a pin fino a quando il fermo del connettore non scatta saldamente in posizione (Figura 205).

Assicuratevi che la diramazione di 220 cm del cablaggio dati sia abbastanza lenta da consentire all'operatore dell'irroratrice di regolare la posizione del monitor e fissare il cablaggio al tubo di supporto per il monitor con fascette per cavi, come illustrato nella Figura 204.
Rimuovete i dadi esagonali e le rondelle dai morsetti ad attacco rapido della maniglia nera (Figura 206).

Aprite la maniglia di chiusura del morsetto ad attacco rapido con la maniglia nera (Figura 207).

Montate il morsetto ad attacco rapido sul polo negativo della batteria con il polo filettato del morsetto allineato verso il centro della batteria, come illustrato nella Figura 206.
Chiudete la maniglia di chiusura del morsetto ad attacco rapido (Figura 207).
Note: Se è necessario regolare la forza mordente del morsetto ad attacco rapido, aprite la maniglia, ruotate il dado zigrinato per aumentare o ridurre la forza mordente e chiudete la maniglia per il morsetto.
Ripetete i passaggi da 2 a 4 per il morsetto ad attacco rapido con la maniglia rossa nel polo positivo della batteria.
In caso di errato percorso dei cavi della batteria, la macchina ed i cavi possono venire danneggiati e causare scintille, che possono fare esplodere i gas delle batterie e causare infortuni.
Scollegate sempre il cavo negativo (nero) della batteria prima di quello positivo (rosso).
Collegate sempre il cavo positivo (rosso) della batteria prima di quello negativo (nero).
I morsetti della batteria e gli attrezzi metallici possono creare cortocircuiti con i componenti metallici, e provocare scintille, che possono fare esplodere i gas della batteria e causare infortuni.
In sede di rimozione o montaggio della batteria, impedite ai morsetti di toccare le parti metalliche della macchina.
Non lasciate che gli attrezzi metallici creino cortocircuiti fra i morsetti della batteria e le parti metalliche della macchina.

Tagliate la copertura isolante del cavo positivo della batteria fino allo starter, come illustrato nella Figura 209.

Montate i seguenti terminali di fili e cavi sul polo filettato del terminale positivo della batteria (Figura 210) nell'ordine seguente:
Note: Assicuratevi che il terminale del cavo della batteria (positivo) allo starter del motore sia posizionato sulla parte superiore della pila di terminali sul polo filettato.
Terminale ad anello – cablaggio preassemblato della macchina di 22 cm indicato come BATTERIA (+)
Terminale ad anello – diramazione di 220 cm del cablaggio della batteria indicata come ***IMPORTANTE*** COLLEGATE QUESTO FILO AL TERMINALE POSITIVO DELLA BATTERIA
Terminale ad anello – diramazione di 60 cm del cablaggio preassemblato del kit indicata come AL TERMINALE POSITIVO DELLA BATTERIA
Terminale del cavo della batteria (positivo) – all'alternatore (50 A)
Terminale del cavo della batteria (positivo) – allo starter del motore

Montate il dado esagonale (¼") e la rondella (¼") sul polo filettato e serrate il dado a 1017–1243 N∙m.
Allineate la copertura isolante del cavo positivo della batteria fino allo starter sul polo filettato (Figura 210).
Montate i seguenti terminali di fili e cavi sul polo filettato del terminale negativo della batteria (Figura 211) nell'ordine seguente:
Note: Assicuratevi che il terminale del cavo della batteria (negativo) alla messa a terra del motore e dello chassis sia posizionato sulla parte superiore della pila di terminali sul polo filettato.
Terminale ad anello – diramazione di 220 cm del cablaggio della batteria indicata come ***IMPORTANTE*** COLLEGATE QUESTO FILO AL TERMINALE NEGATIVO DELLA BATTERIA COLLEGATO AL TELAIO DEL TRATTORINO)
Terminale ad anello – diramazione di 60 cm del cablaggio preassemblato del kit – terminale negativo della batteria
Terminale del cavo della batteria (negativo) – alla messa a terra del motore e dello chassis

Raccogliete la lunghezza in eccesso del cablaggio dati contro il tubo del telaio superiore di destra (Figura 212).

Allineate il cablaggio dati sul tubo di supporto dell'ammortizzatore e fissate il cablaggio al tubo con una fascetta per cavi (Figura 212).
Allineate il fascio del cablaggio dati sul tubo del telaio superiore di destra e fissate il fascio del cablaggio sul tubo del telaio con una fascetta per cavi (Figura 212).
Assicuratevi che vi sia uno spazio tra le pulegge e le cinghie e il cablaggio dati, il cablaggio della batteria, il cablaggio preassemblato del kit e i cavi della batteria.
Fissate il cablaggio preassemblato e i cavi con fascette per cavi come opportuno, per creare distanza dalle cinghie e le pulegge.
Parti necessarie per questa operazione:
| Dispositivo di fissaggio a spinta | 13 |
Allineate i fori sul cofano con i fori sulla plancia e il telaio della macchina (Figura 213).

Fissate il cofano alla plancia e al telaio con 9 dispositivi di fissaggio a spinta (Figura 213).
Collegate i 2 connettori elettrici (a 2 prese) del cablaggio preassemblato della macchina ai connettori a 2 pin dei fari di sinistra e destra (Figura 214).

Allineate la copertura del parafango interno ai tubi del telaio superiore sinistro e del telaio inferiore sinistro (Figura 214).

Fissate la copertura del parafango interno ai tubi del telaio con 6 dispositivi di fissaggio a spinta (Figura 215).
Allineate i fori nel parafango con i fori nel telaio della macchina, come illustrato nella Figura 215.

Montate, senza serrarlo, il parafango al telaio (Figura 216) con i 3 bulloni (5/16" x 1") e le 3 rondelle (5/16") che avete rimosso al passaggio 2 di Rimozione dei parafanghi anteriori sinistro e destro.
Fissate il parafango al profilato del telaio con 2 dispositivi di fissaggio a spinta (Figura 217).

Serrate il bullone (5/16" x 1") a 1978–2542 N∙m.
Ripetete i passaggi da 1 a 6 per la copertura del parafango interno e il parafango sull'altro lato della macchina.
Allineate i dispositivi di fermo del pannello di accesso del motore con le boccole nelle staffe di supporto del pannello sul roll bar (Figura 218).

Montate il pannello sulle staffe (Figura 218).
Ruotate i dispositivi di fermo delle maniglie verso il basso per fissare il pannello alle staffe (Figura 218).
Allineate il sedile e la relativa piastra allo chassis della macchina (Figura 219).

Allineate i fori nei raccordi orientabili della base del sedile con i fori nella staffa dello chassis (Figura 220).


Montate la base del sedile sulle staffe dello chassis con i 2 perni orientabili (Figura 220).
Fissate i perni orientabili sulla macchina con le 2 coppiglie (Figura 220).
Montate l'asta di supporto sulla staffa del sedile con la rondella e la coppiglia (Figura 221).

Collegate il connettore a 2 prese del cablaggio preassemblato della macchina al connettore per l'interruttore del sedile fino a quando i connettori non si fissano saldamente (Figura 222).

Ruotate leggermente in avanti il sedile, rimuovete l'asta di supporto dalla scanalatura, ruotate il sedile verso il basso fino a quando non si fissa saldamente.
Inserite la chiave nel relativo interruttore e giratela in posizione di ACCENSIONE.
Nel display dell'InfoCenter apparirà la schermata di caricamento e la spia luminosa si illuminerà brevemente (Figura 223).
Note: Non avviate il motore.

Nella schermata Home, premete il pulsante centrale sull'InfoCenter per accedere alla schermata di navigazione (Figura 224).

Premete il pulsante centrale sull'InfoCenter per accedere al menu principale (Figura 224).
Nella schermata MENU PRINCIPALE, premete il pulsante centrale per navigare all'opzione IMPOSTAZIONI, poi premete il pulsante destro per selezionare l'opzione (Figura 225).

Nella schermata IMPOSTAZIONI, premete il pulsante centrale per navigare all'opzione IMPOSTAZIONI PROTETTE, poi premete il pulsante destro per selezionare l'opzione.

Inserite il codice PIN nel modo seguente:
Premete il pulsante centrale come opportuno per inserire il codice PIN per la posizione sinistra (Figura 227).

Premete il pulsante destro per navigare alla posizione successiva del codice PIN (Figura 227).
Ripetete i passaggi 1 e 2 per le altre 3 posizioni del codice PIN.
Una volta inserite tutte le cifre del codice PIN, premete il pulsante destro (Figura 227) e poi il pulsante centrale per inserire il codice PIN (Figura 228).
La spia luminosa si illumina brevemente.

Premete il pulsante centrale per navigare all'opzione GEOLINK, poi premete il pulsante destro per impostare l'opzione (Figura 229).

Nell'InfoCenter viene visualizzata la schermata di conferma GeoLink (Figura 230).

Girate l'interruttore di accensione in posizione di SPEGNIMENTO e poi in posizione di ACCENSIONE.
La schermata di caricamento GEOLINK appare inizialmente quando ruotate l'interruttore a chiave in posizione di ACCENSIONE.

Girate la chiave di accensione in posizione di MARCIA (benzina) oppure di PRERISCALDAMENTO/MARCIA (diesel).
Controllate che i seguenti componenti segnalino di essere alimentati:
Girate la chiave di accensione in posizione di SPEGNIMENTO.
Verificate che i seguenti componenti non siano alimentati:
Quadro di comando
Ricevitore satellitare
Controller automatico delle sezioni
Girate la chiave di accensione in posizione di MARCIA (benzina) oppure di PRERISCALDAMENTO/MARCIA (diesel).
Premete l’icona INFORMAZIONI (Toro) nell’angolo in alto a sinistra del quadro di comando (Figura 235).

Confrontate i numeri della versione del software nelle seguenti posizioni:
Se utilizzata, la copertina della Guida software del vostro sistema GeoLink
Nel quadro di comando
Note: Se la versione del software è diversa, contattate Toro NSN al numero 1-844-GEOLINK (1-844-436-5465) o all'indirizzo NSNTech@toro.com per il servizio clienti.
Selezionate le unità di misura; fate riferimento al Manuale dell'operatore o alla Guida software del vostro impianto GeoLink.
Create un nuovo campo; fate riferimento al Manuale dell'operatore o alla Guida Software del vostro impianto GeoLink.
Create una nuova voce per il prodotto e il volume di applicazione; fate riferimento al Manuale dell'operatore o alla Guida Software del vostro impianto GeoLink.
Per il bilanciamento delle valvole degli ugelli procedete come indicato nelle seguenti procedure:
Selezione dell’ugello di irrorazione – Preparazione al bilanciamento delle valvole degli ugelli; fate riferimento al Manuale dell'operatore o alla Guida software del vostro impianto GeoLink.
Selezionate la procedura guidata di bilanciamento della valvola degli ugelli di irrorazione, passaggi da 1 a 3; fate riferimento al Manuale dell'operatore o alla Guida software del vostro impianto GeoLink.
Selezionate la procedura guidata di bilanciamento della valvola degli ugelli di irrorazione, passaggi da 4 a 6; fate riferimento al Manuale dell'operatore o alla Guida software del vostro impianto GeoLink.
Premete sul Menu dell'attività e sull'icona CREA NUOVA ATTIVITà (Figura 236).

Con la tastiera sullo schermo digitate un nome per l'attività generica e premete l'icona di conferma (Figura 236).
Nella finestra di dialogo della nuova attività, premete sull'icona UGELLO (Figura 237).

Nell'elenco di selezione degli ugelli, premete su qualsiasi icona di ugello e su quella di conferma (Figura 237).
Nella finestra di dialogo della nuova attività, premete l'icona di conferma (Figura 238).

Inserite il freno di stazionamento.
Aggiungete 200 litri di acqua nel serbatoio di irrorazione; fate riferimento al Manuale dell'operatore della vostra macchina.
Avviate il motore e impostate un regime veloce.
Sul quadro di comando di GeoLink, premete l’icona CONTROLLER DEL VOLUME DI IRRORAZIONE (Figura 239).

Nella finestra di dialogo del controller del volume di irrorazione, premete sull'icona MODALITà DI CONTROLLO DEL VOLUME sino a visualizzare la modalità manuale (Figura 239).
Utilizzate l'icona di decremento (-) o di incremento (+) per regolare la pressione dell'impianto di irrorazione (Figura 239) a un valore di 13,75 bar.
Premete l'interruttore della sezione principale sulla macchina portandolo in posizione di ACCENSIONE (Figura 240).

Sul quadro di comando di GeoLink, premete l’icona dell'INTERRUTTORE PRINCIPALE (Figura 241) portandola su ACCESO (verde).

Controllate tutti i raccordi dell'irroratrice e i componenti per escludere perdite.
Note: Se rilevate qualsiasi perdita, spegnete il motore e riparate il raccordo o componente.
Inserite il freno di stazionamento e avviate il motore.
Note: Lasciate riscaldare il motore e il circuito idraulico per 10 minuti.
Accertatevi che l’interruttore della sezione principale si trovi in posizione di SPEGNIMENTO.
Portate l'interruttore della pompa di irrorazione e quello di agitazione del serbatoio in posizione di ACCENSIONE.
Portate gli interruttori della sezione sinistra, centrale e destra in posizione di ACCENSIONE.
Portate il motore a un regime veloce.
Sul quadro di comando di GeoLink, premete l’icona CONTROLLER DEL VOLUME DI IRRORAZIONE.
Nella finestra di dialogo del controller del volume di irrorazione, premete sull'icona MODALITà DI CONTROLLO DEL VOLUME sino a visualizzare la modalità manuale (Figura 242).

Premete l'icona di decremento (-) o di incremento (+) per regolare la pressione dell'impianto di irrorazione (Figura 242) a un valore di 6,9 bar.
Sulla macchina, portate l’interruttore dell'agitazione del serbatoio in posizione di SPEGNIMENTO.
Controllate la pressione dell'impianto di irrorazione. Se la pressione dell'impianto di irrorazione è di 6,9 bar, la valvola di agitazione è regolata correttamente.
Se la pressione dell'impianto di irrorazione è cambiata, regolate la valvola del circuito di bypass; fate riferimento a Regolazione della valvola del circuito di bypass dell'agitazione.
Con l'interruttore dell'agitazione del serbatoio in posizione di SPEGNIMENTO spostatevi sul retro della macchina e individuate la valvola del circuito di bypass dell'agitazione.

Regolate la valvola del circuito di bypass dell'agitazione (Figura 243) sinché il manometro indica una pressione dell'impianto di irrorazione di 6,9 bar.
Portate l'interruttore dell'agitazione del serbatoio in posizione di ACCENSIONE e controllate la pressione dell'impianto di irrorazione.
Note: Se il valore indicato dal manometro dell'impianto di irrorazione è superiore o inferiore a 6,9 bar, ripetete i passaggi 1 e 2.
Portate l'interruttore dell'agitazione del serbatoio in posizione di SPEGNIMENTO e controllate la pressione dell'impianto di irrorazione.
Note: Se il valore indicato dal manometro dell'impianto di irrorazione è superiore o inferiore a 6,9 bar, ripetete i passaggi 1 e 2.
Calibrate il flussometro; fate riferimento al Manuale dell'operatore o alla Guida Software del vostro impianto GeoLink.
Spostate la macchina all’aperto, lontano da edifici e linee elettriche.
Inserite il freno di stazionamento.
Sul quadro di comando di GeoLink, premete l’icona INFORMAZIONI GPS (Figura 244).

Premete l'icona della DIAGNOSTICA CELLE e verificate che nel campo dello stato delle celle sia visualizzato il messaggio N-TRIP CONNECTED RECEIVING DATA (Collegato a N-Trip - ricezione dati in corso) (Figura 245).
Note: Se nel campo dello stato delle celle è visualizzato un messaggio diverso da N-TRIP CONNECTED RECEIVING DATA (Collegato a N-Trip - ricezione dati in corso), contattate Toro NSN al numero 1-844-GEOLINK (1-844-436-5465) o all'indirizzo NSNTech@toro.com per il servizio clienti.

Premete l'icona Conferma per chiudere la finestra di dialogo.
Calibrate la bussola presso il distributore; fate riferimento alla sezione dedicata alla calibrazione della bussola nel Manuale dell'operatore o nella Guida Software del vostro impianto GeoLink.
Important: Dovete cancellare la RAM non volatile presso il cliente.
Contattate Toro NSN al numero 1-844-GEOLINK (1-844-436-5465) o all'indirizzo NSNTech@toro.com per richiedere al servizio clienti la password per l'accesso del rivenditore.
Girate la chiave di accensione in posizione di ACCENSIONE.
Premete l’icona CONFIGURAZIONE sulla schermata principale (Figura 246).

Nella schermata di configurazione, premete l’icona UTENTE e l’icona LIVELLO DI ACCESSO (Figura 247).

Premete l'icona PASSWORD (Figura 247).
Utilizzate la tastiera sullo schermo per immettere la password ricevuta al passaggio 1, quindi premete l'icona di conferma (Figura 248).

Note: Sulla schermata di accesso dell'utente è visualizzata l'icona RIVENDITORE (Figura 249).

Nella schermata di configurazione, premete l’icona SISTEMA, GPS e CONFIGURAZIONE AVANZATA (Figura 250).

Nella schermata di configurazione avanzata del GPS, premete l'icona RESET DELLA NVRAM (Figura 250).
Nella finestra di dialogo degli avvisi sulla ricezione del GPS, premete l'icona Sì (Figura 250).
Note: Viene visualizzato brevemente l'avviso relativo al ricevitore scollegato (Figura 251).

Attendete 2 minuti per l'avvio del ricevitore satellitare e del modem.
Premete l’icona ESCI DALLA CONFIGURAZIONE

Girate l'interruttore di accensione in posizione di SPEGNIMENTO.
Calibrate la bussola presso il cliente; fate riferimento alla sezione dedicata alla calibrazione della bussola nel Manuale dell'operatore o nella Guida Software del vostro impianto GeoLink.