El sistema de fumigación GeoLink™ es un accesorio para un vehículo de fumigación del césped, y está diseñado para ser usado por operadores profesionales contratados en aplicaciones comerciales. Está diseñado principalmente para fumigar en césped bien mantenido en parques, campos de golf, campos deportivos y zonas verdes comerciales. El uso de este producto para otros propósitos que los previstos podría ser peligroso para usted y para otras personas.
Lea este manual detenidamente para aprender a utilizar y mantener correctamente su producto, y para evitar lesiones y daños al producto. Usted es el responsable de utilizar el producto de forma correcta y segura.
Visite www.Toro.com para buscar materiales de formación y seguridad o información sobre accesorios, para localizar un distribuidor o para registrar su producto.
Cuando necesite asistencia técnica, piezas genuinas Toro o información adicional, póngase en contacto con un Servicio Técnico Autorizado o con Asistencia al Cliente Toro, y tenga a mano los números de modelo y serie de su producto. Figura 1 identifica la ubicación de los números de modelo y serie en el producto. Escriba los números en el espacio provisto.
Important: Con su dispositivo móvil, puede escanear el código QR (si dispone del mismo) de la placa del número de serie para acceder a información sobre la garantía, las piezas, y otra información sobre el producto.

Este manual identifica peligros potenciales y contiene mensajes de seguridad identificados por el símbolo de alerta de seguridad (Figura 2), que señala un peligro que puede causar lesiones graves o la muerte si usted no sigue las precauciones recomendadas.

Este manual utiliza 2 palabras para resaltar información. Importante llama la atención sobre información mecánica especial, y Nota resalta información general que merece una atención especial.
Las sustancias químicas utilizadas en el sistema de fumigación pueden ser peligrosas y tóxicas para usted y para otras personas, animales, plantas, suelos y otros elementos.
Lea cuidadosamente y observe las indicaciones de todas las etiquetas de advertencia y Fichas de Datos de Seguridad de Materiales (FDSM) respecto a todos los productos químicos utilizados, y protéjase siguiendo las instrucciones del fabricante de los mismos. Por ejemplo, utilice Equipos de Protección Individual (EPI) incluyendo protección para la cara y los ojos, guantes y otros equipos para prevenir el contacto con un producto químico.
Puede haber más de un producto químico; debe evaluarse la información sobre cada uno de los productos.
¡Niéguese a utilizar o trabajar con el fumigador si esta información no está disponible!
Antes de trabajar con un sistema de fumigación, asegúrese de que el sistema ha sido sometido a un triple enjuague y neutralización con arreglo a las recomendaciones de los fabricantes de los productos químicos, y que todas las válvulas han sido abiertas y cerradas 3 veces.
Compruebe que hay un suministro adecuado de agua limpia y jabón en las inmediaciones, y lávese inmediatamente para eliminar cualquier producto químico que entre en contacto con usted.
Apague la máquina, retire la llave (si está equipada) y espere a que se detenga todo movimiento antes de dejar el puesto del operador. Deje que se enfríe la máquina antes de hacer trabajos de ajuste, mantenimiento, limpieza o almacenamiento.
El uso o mantenimiento incorrecto de esta máquina puede
causar lesiones. Para reducir el peligro de lesiones, cumpla estas
instrucciones de seguridad y preste atención siempre al símbolo
de alerta de seguridad
, que significa: Cuidado, Advertencia
o Peligro – instrucción relativa a la seguridad personal.
El incumplimiento de estas instrucciones puede dar lugar a lesiones
personales o la muerte.
![]() |
Las pegatinas de seguridad e instrucciones están a la vista del operador y están ubicadas cerca de cualquier zona de peligro potencial. Sustituya cualquier pegatina que esté dañada o que falte. |




Limpie el fumigador; consulte Limpieza del fumigador, en el Manual del operador de la máquina.
Important: Vacíe completamente el depósito de fumigación antes de instalar el Kit de acabado del Sistema de fumigación GeoLink.
Si la máquina tiene el Kit de enjuague del depósito opcional, haga lo siguiente:
Bombee el agua del depósito de enjuague al depósito de fumigación; consulte Uso del kit de enjuague en las Instrucciones de instalación del Kit de enjuague del depósito.
Drene el agua del depósito de fumigación; consulte Limpieza del fumigador, en el Manual del operador de la máquina.
Extienda las secciones de fumigación izquierda y derecha a la posición horizontal.
Aparque la máquina en una superficie nivelada, ponga el freno de estacionamiento, apague el motor y retire la llave; consulte el Manual del operador.
Important: Aparque la máquina en una superficie nivelada antes de instalar el kit GeoLink.
Desenganche el asiento empujando hacia atrás la palanca de enganche del asiento (Figura 3).

Gire el asiento y la chapa del asiento hacia delante, hasta que el extremo de la varilla de sujeción esté en la parte inferior de la ranura del soporte (Figura 3).
Deje que el motor se enfríe por completo.
Retire el perno y la tuerca que fijan el terminal del cable negativo de la batería al borne negativo de la batería.
Un enrutado incorrecto de los cables de la batería podría dañar la máquina y los cables, causando chispas. Las chispas podrían hacer explotar los gases de la batería, causando lesiones personales.
Desconecte siempre el cable negativo (negro) de la batería antes de desconectar el cable positivo (rojo).
Conecte siempre el cable positivo (rojo) de la batería antes de conectar el cable negativo (negro).
Los bornes de la batería o las herramientas metálicas podrían hacer cortocircuito con los componentes metálicos, causando chispas. Las chispas podrían hacer explotar los gases de la batería, causando lesiones personales.
Al retirar o colocar la batería, no deje que los bornes toquen ninguna parte metálica de la máquina.
No deje que las herramientas metálicas hagan cortocircuito entre los bornes de la batería y las partes metálicas de la máquina.
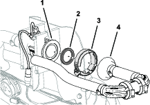
Deslice hacia atrás el capuchón aislante y retire el perno y la tuerca que fijan el terminal del cable positivo de la batería al borne positivo de la batería (Figura 4).
Note: Asegúrese de que los terminales de los cables de la batería no tocan los bornes de la batería.

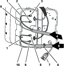
Desconecte el conector hembra de 2 vías del arnés de cables de la máquina que está conectado al conector del interruptor del asiento (Figura 5).

Retire la chaveta que sujeta la varilla de sujeción al soporte en la parte inferior de la chapa del asiento (Figura 6).

Retire las 2 chavetas que fijan el soporte de pivote de la chapa del asiento a los soportes del chasis (Figura 7).


Retire los 2 pasadores de giro que sujetan el asiento y la chapa del asiento al chasis (Figura 7).
Levante el asiento y la chapa del asiento y retírelos de la máquina (Figura 8).

Retire las 2 grapas que sujetan el guardabarros delantero izquierdo al perfil inferior del ROPS (Figura 10).
Note: Deseche las grapas que retiró.

Retire los 3 pernos (5/16" x 1") y 3 arandelas (5/16") que sujetan el guardabarros al bastidor de la máquina (Figura 11).

Retire el guardabarros de la máquina.
Note: Deseche las grapas que retiró.; guarde el guardabarros, los pernos y las arandelas para su instalación en Instalación de los guardabarros delanteros.
Retire las 6 grapas y 5 arandelas (9/16" x ½") que sujetan el panel interior del guardabarros al bastidor de la máquina (Figura 12).

Retire el panel interior del guardabarros de la máquina (Figura 13).
Note: Deseche las grapas que retiró.

Repita los pasos 1 a 5 con el guardabarros y el panel interior del guardabarros del otro lado de la máquina.
Desconecte los 2 conectores hembra de 2 vías del arnés de cables de la máquina de los conectores de 2 pines de los faros derecho e izquierdo (Figura 14).

Retire las 9 grapas que sujetan el capó al salpicadero y al bastidor de la máquina (Figura 15).
Note: Guarde las grapas para su instalación en Instalación del capó.

Retire el capó de la máquina (Figura 15).
Note: Deseche las grapas que retiró.
Piezas necesarias en este paso:
| Conjunto de tubo—Pieza Toro Nº 114–9553 | 2 |
| Brida | 8 |
En el panel de conexiones del compresor del kit de marcador de espuma, coloque una brida alrededor de los tubos transparente y azul de la sección de fumigación derecha (Figura 16).


Presione hacia dentro el anillo de bloqueo (Figura 17).

Desconecte el tubo del acoplamiento (Figura 17).
Repita los pasos 2 y 3 con los otros 3 tubos de las secciones de fumigación.
En el panel de conexiones del compresor del kit de marcador de espuma, coloque una brida alrededor de los tubos transparente y azul de la sección de fumigación derecha (Figura 18).


Afloje las tuercas del compresión de los 2 tubos azules y los 2 tubos transparentes de las boquillas de espuma en las secciones de fumigación izquierda y derecha (Figura 18).
Retire los 4 tubos de los acoplamientos de compresión de las secciones de fumigación (Figura 18).
En la sección de fumigación exterior, utilice un trozo de cinta para marcar los tubos de líquido y aire izquierdos de la sección de fumigación izquierda y los tubos de líquido y aire derechos de la sección de fumigación derecha.
Mueva los tubos de las boquillas de espuma de las secciones de fumigación izquierda y derecha hacia atrás, a través de la abrazadera en R situada cerca del punto de giro de la sección de fumigación (Figura 19).

Si su máquina tiene instalado el Kit de extensión de brazo central, sujete provisionalmente el extremo libre de los tubos de líquido y aire a la sección de fumigación exterior, y haga caso omiso de los procedimientos de Preparación de los conjuntos de tubos nuevos para las boquillas del marcador de espuma y Instalación del conjunto de tubos nuevo.
Retire las bridas que sujetan los tubos de líquido y aire del kit de marcador de espuma a la sección de fumigación exterior (Figura 20).

En el marcador de espuma , afloje la tuerca de compresión que sujeta el tubo azul (agua) al acoplamiento de compresión azul de la boquilla del marcador de espuma (Figura 21).

Afloje la tuerca de compresión que sujeta el tubo transparente (aire) al acoplamiento de compresión blanco de la boquilla del marcador de espuma (Figura 21).
Retire los tubos de líquido y aire de la máquina.
Retire las tuercas de compresión de los extremos de los tubos (Figura 21).
Note: Guarde las tuercas de compresión para su instalación en el paso 1 de Instalación del conjunto de tubos nuevo.
Alinee los tubos de líquido y aire antiguos (Figura 22) con el conjunto de tubos nuevo (Pieza Toro Nº 114–9553).

Utilice un trozo de cinta para marcar la longitud de los tubos de líquido y aire antiguos en el conjunto de tubos nuevo.
En el conjunto de tubos nuevo, añada 26 cm a partir de la marca que hizo en el paso 7, marque el conjunto de tubos y corte y los tubos en la 2ª marca (la más larga) (Figura 22).
Si los tubos de líquido y aire antiguos están marcados con una brida, marque el conjunto de tubos nuevo con una brida; de lo contrario, vaya al paso 10.
Note: Ya no necesitará los tubos de líquido y aire antiguos.
Retire de 77 a 102 mm de la funda en cada extremo del conjunto de tubos (Figura 22).
Repita los pasos 1 a 10 con los tubos de líquido y aire en el otro lado de la máquina.
Coloque la tuerca de compresión azul sobre los extremos del tubo azul, y coloque la tuerca de compresión blanca sobre el tubo transparente (Figura 23).

Alinee el extremo del tubo transparente con tuerca de compresión blanca al acoplamiento blanco de la boquilla del marcador de espuma, y apriete la tuerca de compresión a mano (Figura 23).
Alinee el extremo del tubo azul con tuerca de compresión azul con el acoplamiento azul de la boquilla del marcador de espuma, y apriete la tuerca de compresión a mano (Figura 23).
Enrute el conjunto de tubos por el lado trasero del tubo de sujeción superior de la sección de fumigación exterior, según se muestra en Figura 24.
Important: Si el conjunto de tubos se instala en el lado incorrecto del tubo de sujeción superior, los tubos quedarán atrapados entre el soporte y la sección de fumigación exterior cuando los brazos están en la posición de transporte.

Sujete el conjunto de tubos al orificio del soporte de la boquilla con una brida, según se muestra en Figura 25.

Sujete el conjunto de tubos a la sección de fumigación exterior con bridas, según se muestra en Figura 24.
Sujete provisionalmente el extremo libre del conjunto de tubos a la sección de fumigación exterior.
Repita los pasos 1 a 6 con el conjunto de tubos del otro lado de la máquina.
Desconecte el conector de 3 pines del arnés de cables del kit de nivelación del Ultra Sonic Boom del conector hembra de 3 vías del arnés de cables de la máquina (Figura 26).

Repita el paso 1 con el conector de 3 pines del arnés de cables del Ultra Sonic Boom del otro lado de la máquina.
Sujetando la cubierta de la sección central (11 boquillas), retire los 4 pernos con arandela prensada (5/16" x 1¼") y las 2 pletinas de sujeción que fijan la cubierta al soporte de la cubierta (Figura 27).

Retire la cubierta de la sección central de la máquina (Figura 28).
Note: Guarde la cubierta, las pletinas de sujeción y los pernos con arandela prensada para su instalación en los pasos 1 y 2 de Instalación de la cubierta de la sección central.

Note: Si la máquina está equipada con un kit opcional de pistola de fumigación, consulte Desconexión del tubo del sensor de presión y la manguera de suministro.
Presione el anillo del acoplamiento del tubo en el codo de 90° de la válvula de sección de brazo derecha (Figura 30).

Tire del tubo del sensor de presión del indicador del salpicadero para sacarlo del acoplamiento del tubo (Figura 30).
Note: No retire el codo de 90° de la válvula de cierre para la manguera de suministro del carrete de manguera de la brida de la válvula de sección de brazo derecha.
Desconecte los conectores hembra de 3 vías marcados LEFT SPRAY VALVE, CENTER SPRAY VALVE y RIGHT SPRAY VALVE del arnés de cables de la máquina de los conectores de 3 pines de los actuadores de las 3 válvulas de fumigación (Figura 31).

Desconecte el conector hembra de 4 vías del arnés de cables de la máquina marcado RATE VALVE del conector de 4 pines del actuador de la válvula de caudal (Figura 32).

Desconecte el conector hembra de 3 vías del arnés de cables de la máquina marcado MASTER SPRAY VALVE del conector de 3 pines del actuador de la válvula de fumigación maestra (Figura 32).
Piezas necesarias en este paso:
| Brida | 1 |
| Tapón del interruptor | 1 |
Retire los 4 tornillos con arandela prensada (¼" x ½") que sujetan el panel de 3 interruptores a la consola de control (Figura 33).

Apriete las pestañas de bloqueo del interruptor de control de caudal, y saque el interruptor del panel de 3 interruptores (Figura 34).

Desconecte el conector hembra de 8 vías del arnés de cables de la máquina (marcado Rate Switch) del conector de 8 pines del interruptor (Figura 33).
Note: Ya no necesitará el interruptor de caudal que retiró de la máquina.
Enrute la rama del arnés delantero del interruptor de caudal por el hueco del panel de 3 interruptores, y sujete la rama del arnés contra una rama de cables adyacente con una brida.
Monte el panel de 3 interruptores en la consola de control (Figura 34) con los 4 tornillos con arandela prensada (¼" x ½") que retiró en el paso 1.
Alinee el tapón del interruptor con el orificio del panel de 3 interruptores de donde retiró el interruptor de caudal (Figura 33).
Inserte el tapón del interruptor en el panel de 3 interruptores hasta que el tapón encaje firmemente en el panel (Figura 33).
En la sección de fumigación exterior, retire la abrazadera que sujeta la manguera de la sección de fumigación al acoplamiento en T dentado (Figura 35).

Retire la manguera del acoplamiento en T (Figura 35).
Retire el extremo libre de la manguera de la abrazadera en R (Figura 35).
Repita los pasos 1 a 3 con la manguera de suministro de la otra sección de fumigación exterior.
Debajo de la sección de fumigación central, retire la abrazadera que sujeta la manguera de suministro de la sección de fumigación central al acoplamiento en T dentado (Figura 36).

Retire las horquillas de retención que sujetan los acoplamientos rápidos de las mangueras de suministro izquierda, central y derecha de los acoplamientos rápidos de las válvulas de sección (Figura 37).
Note: Guarde las horquillas de retención para su instalación en Conexión de las mangueras a las válvulas de boquillas 7 a 10.

Retire las mangueras de suministro de las secciones izquierda, central y derecha de los acoplamientos rápidos de las válvulas de sección de fumigación, y retire las mangueras de la máquina (Figura 37).
Note: Ya no necesitará las mangueras de suministro de las secciones izquierda, central y derecha.
Retire las mangueras de los orificios de extensión de los cilindros de elevación derecho e izquierdo (Figura 39).


Retire las mangueras de los orificios C2 y C4 del distribuidor de los cilindros de elevación (Figura 39).
Retire las mangueras de los orificios de retracción de los cilindros de elevación derecho e izquierdo (Figura 39).
Retire las mangueras de los orificios C1 y C3 del distribuidor de los cilindros de elevación (Figura 39).
Note: Ya no necesitará las mangueras.
Capacidad del equipo de izado: 91 kg
Note: A menos que se indique lo contrario, guarde todas las fijaciones que retire; se utilizarán esas fijaciones para instalar la extensión del brazo central.
Utilice un equipo de izado de la capacidad especificada para sujetar la sección de fumigación exterior.
Retire el pasador y la chaveta que sujetan el extremo de la varilla del cilindro de elevación al soporte de giro (Figura 40).
Note: Guarde el pasador y la chaveta para su instalación en Montaje de los cilindros de elevación.

Retire la contratuerca con arandela prensada (5/16") y el perno con arandela prensada (5/16" x ¾") que sujeta el pasador de giro al bastidor del cilindro (Figura 41).

Retire el pasador de giro y el cilindro de elevación de la máquina (Figura 41).
Realice los pasos descritos en Retirada de las secciones de fumigación exteriores.
Capacidad del equipo de izado: 91 kg
Note: Si la máquina está equipada con el Kit opcional de brazos cubiertos, deje las cubiertas instaladas en las secciones de fumigación exteriores.
El izado de maquinas y accesorios pesados de forma incorrecta podría causar lesiones graves o incluso la muerte.
Para levantar máquinas y accesorios pesados, utilice equipos de izado, como cadenas y correas, con capacidad suficiente para sostener el peso del equipo.
Note: A menos que se indique lo contrario, guarde todas las fijaciones que retire; se utilizarán esas fijaciones para instalar la extensión del brazo central.
Retire el perno con arandela prensada (5/16" x 1") y la contratuerca con arandela prensada (5/16") que sujetan el pasador de giro al soporte de giro (Figura 42).

Retire el pasador de giro del soporte de giro de la sección de fumigación central y del acoplamiento de giro de la sección de fumigación exterior (Figura 42).
Note: Guarde el perno con arandela prensada, la tuerca con arandela prensada y el pasador de giro para su instalación en Montaje de las secciones de fumigación exteriores en la máquina.
Separe la sección de fumigación exterior de la sección de fumigación central y retire la sección exterior de la máquina (Figura 42).
Retire los dos casquillos con brida de nylon del acoplamiento de giro de la sección de fumigación exterior (Figura 42).
Note: Deseche los casquillos.
Repita los pasos 1 a 3 de Retirada de los cilindros de elevación con la sección de fumigación exterior en el otro lado de la máquina.
Repita los pasos 1 a 4 de esta sección con la sección de fumigación exterior del otro lado de la máquina.
Retire el distribuidor de elevación del soporte de los cilindros como se indica a continuación:
Máquinas sin el kit opcional de nivelación del Ultra Sonic Boom: retire las 2 contratuercas con arandela prensada (5/16") y los 2 pernos con arandela prensada (5/16" x 1") que sujetan el soporte del distribuidor de elevación al soporte de los cilindros, y separe el distribuidor y su soporte del soporte de los cilindros (Figura 43).

Máquinas con el kit opcional de nivelación del Ultra Sonic Boom: Retire las 2 contratuercas con arandela prensada (5/16") y los 2 pernos con arandela prensada (5/16" x 1") que sujetan el soporte del distribuidor de elevación y el soporte del controlador TEC al soporte de los cilindros, y separe el distribuidor y su soporte del soporte de los cilindros (Figura 44).

Sujete el distribuidor de elevación al soporte de las válvulas de fumigación con un trozo de cuerda.
Note: Guarde el soporte y el distribuidor de elevación, los pernos y las tuercas para su instalación en Montaje del distribuidor de los cilindros de elevación en el soporte de los cilindros.
Capacidad del equipo de izado: 41 kg
Si la máquina está equipada con el Kit opcional de brazos cubiertos, retire la cubierta de las secciones de fumigación centrales.
Sujete la sección de fumigación central con un equipo de izado de la capacidad especificada (Figura 45).

Utilice un trozo de cinta para marcar los orificios donde los 4 pernos con arandela prensada (½" x 1¼") y las 4 tuercas con arandela prensada (½") sujetan los soportes de la sección de fumigación central a la placa de montaje de la máquina (Figura 46).

Retire los 4 pernos con arandela prensada (½" x 1¼") y las 4 tuercas con arandela prensada (½") que sujetan los soportes de la sección de fumigación central a la placa del bastidor de la máquina, y retire la sección de fumigación central de la máquina (Figura 47).
Note: Guarde los pernos y las contratuercas para la instalación de la nueva sección de fumigación central.

Piezas necesarias en este paso:
| Perno con arandela prensada (3/8" x 1") | 2 |
| Contratuercas con arandela prensada (3/8") | 2 |
| Extensión del brazo central | 1 |
| Bastidor del cilindro (ancho) | 1 |
| Pletina de unión (ancha) | 1 |
| Perno de cuello cuadrado (1/2"x 1-1/4") | 4 |
| Contratuerca con arandela prensada (1/2") | 4 |
En la sección de fumigación central, retire la contratuerca con arandela prensada que sujeta la boquilla de fumigación al soporte de la boquilla (Figura 48 y Figura 49).
Note: Guarde la contratuerca para su instalación en el paso 6 de Instalación de las boquillas de fumigación y las mangueras en la sección de fumigación central.


Retire el tornillo de acero inoxidable (Nº 12 x 1-1/4") que sujeta la mitad superior de la abrazadera y el conector de manguera de dentado simple o doble (3/4") al cuerpo de la boquilla de fumigación, y separe el conector de manguera dentado y la manguera de la boquilla (Figura 50).
Note: El perno de cabeza hexagonal (5/16" x 3/4"—acero inoxidable) se separará de la mitad superior de la abrazadera al abrirse la abrazadera; guarde el perno para la instalación.

Retire la boquilla de la sección de fumigación central (Figura 48 y Figura 49).
Repita los pasos 1 a 2 con las otras 2 boquillas de fumigación.
Note: Guarde las boquillas de fumigación, los tornillos de acero inoxidable y los pernos de cabeza hexagonal para su instalación en el paso 6 y 7 de Montaje de las boquillas de fumigación y las mangueras de la sección de fumigación central.
Retire las mangueras (¾" D.I.), los conectores dentados, las abrazaderas y el acoplamiento en T dentado de la sección de fumigación central (Figura 48).
Note: Ya no necesitará la manguera, los conectores, las abrazaderas y el acoplamiento en T.
Capacidad del equipo de izado: 41 kg
Sujete la sección de fumigación central con un equipo de izado de la capacidad especificada.
Retire los 2 pernos con arandela prensada (⅜" x 1") y las 2 contratuercas con arandela prensada (⅜") que sujetan el soporte a la sección de fumigación central, y retire el soporte (Figura 51).

Retire los 2 pernos con arandela prensada (⅜" x 1") y las 2 contratuercas con arandela prensada (⅜") que sujetan el otro soporte a la sección de fumigación central, y retire el soporte (Figura 51).
Note: Guarde los soportes, los pernos y las contratuercas para la instalación en los pasos 3 y 4 de Montaje de los soportes en la sección de fumigación central.
Retire los 2 pernos con arandela prensada (3/8" x 1") y las 2 contratuercas (3/8") que sujetan las pestañas verticales de los perfiles izquierdo y derecho del travesaño (Figura 52).

Retire los 2 pernos con arandela prensada (1/2" x 1-1/4") y las 2 contratuercas (1/2") que sujetan el bastidor de cilindro estrecho, los perfiles izquierdo y derecho del travesaño y la pletina de unión estrecha (Figura 53).

Note: Guarde los pernos con arandela prensada, los pernos de cuello cuadrado y las contratuercas para su instalación en los pasos 2 y 7 de Instalación de la extensión del brazo central. Ya no necesitará el bastidor de cilindro estrecho y la pletina de unión estrecha.
Separe los perfiles izquierdo y derecho del travesaño.
Alinee los orificios de las pestañas verticales de la extensión del brazo central con los orificios del perfil del travesaño (Figura 54).

Sujete provisionalmente la extensión del brazo central al perfil del travesaño (Figura 54) con los 2 pernos con arandela prensada (3/8" x 1") y las 2 contratuercas con arandela prensada (3/8") que retiró en el paso 1 de Separación de los perfiles de la sección de fumigación central.
Alinee los orificios de las pestañas verticales de la extensión del brazo central con los orificios del otro perfil del travesaño (Figura 54).
Ensamble provisionalmente la extensión del brazo central al otro perfil del travesaño (Figura 54) con los 2 pernos con arandela prensada (3/8" x 1") y las 2 contratuercas con arandela prensada (3/8") del kit de acabado del sistema de fumigación GeoLink (Figura 54).
Alinee los orificios del soporte de los cilindros con los orificios situados en la línea central del perfil del travesaño y de la extensión del brazo central. (Figura 55)

Inserte la pletina de unión en el perfil del travesaño y alinee el orificio de la pletina con los orificios situados en la línea central de los perfiles y de la extensión del brazo (Figura 55).
Ensamble el soporte de los cilindros, los perfiles, la extensión del brazo central y la pletina de unión con los 2 pernos de cuello cuadrado (½" x 1¼") y las 2 contratuercas con arandela prensada (½") que retiró en el paso 2 de Separación de los perfiles de la sección de fumigación central, y los 4 pernos de cuello cuadrado (½" x 1¼") y 4 contratuercas con arandela prensada (½") del kit de acabado del sistema de fumigación GeoLink (Figura 55).
Apriete los pernos con arandela prensada y las contratuercas con arandela prensada de 3/8" a 37–45 N∙m.
Apriete las contratuercas con arandela prensada de ½" a 91–113 N∙m.
Piezas necesarias en este paso:
| Boquilla de fumigación | 2 |
| Manguera (válvula de fumigación 5 o 6) | 2 |
| Contratuerca con arandela prensada (5/16") | 2 |
Capacidad del equipo de izado: 55 kg
Sujete la sección de fumigación central con un equipo de izado de la capacidad especificada.
Alinee los orificios del soporte derecho con los orificios del perfil derecho, según se muestra en Figura 56.

Monte el soporte derecho en el perfil derecho del travesaño (Figura 56) con los 2 pernos con arandela prensada (3/8" x 1") y las 2 contratuercas con arandela prensada (3/8") que retiró en los pasos 2 y 3 de Retirada de los soportes de la sección de fumigación central.
Repita los pasos 2 y 3 con el soporte izquierdo en el perfil izquierdo del travesaño (Figura 56).
Apriete los pernos con arandela prensada y las tuercas con arandela prensada a 37–45 N∙m.
Utilizando un equipo de izado, eleve la nueva sección de fumigación central a una altura de trabajo cómoda.
Trabajando con la boquilla de fumigación 2 que viene con el kit de acabado del sistema de fumigación GeoLink, retire el tornillo de acero inoxidable que fija la mitad superior de la abrazadera a la base (Figura 57).

Localice el orificio en el lateral del conector de manguera de dentado simple, al final de la manguera de 25 cm (válvula de fumigación 5 o 6) de la sección de fumigación central (Figura 57 y Figura 58).

Alinee el tubo de transferencia del soporte de una boquilla de fumigación (Figura 57) con el orificio del lateral del conector de manguera de dentado simple (13 mm).
Cierre la mitad superior de la abrazadera alrededor del conector de manguera dentado y sujete la mitad de la abrazadera y el cuerpo de la boquilla de fumigación (Figura 57) con el tornillo de acero inoxidable (Nº 12 x 1-¼"); apriete el tornillo de acero inoxidable a entre 14 y 18 N∙m.
Important: No apriete el tornillo de acero inoxidable más de la especificación del par de apriete en el paso 5.
Note: Asegúrese de que el perno de cabeza hexagonal (5/16" x 3/4") está asentado en el hueco de la mitad superior de la abrazadera al cerrar la abrazadera.
Trabajando con la boquilla de fumigación, el perno de cabeza hexagonal, y el tornillo de acero inoxidable que retiró en los pasos 1 y 2 de Retirada de las boquillas de fumigación, repita los pasos 3 a 5 con el conector de manguera de dentado simple (Figura 57 y Figura 58) del otro extremo de la manguera de 25 cm.
Trabajando con las 2 boquillas de fumigación que retiró en el paso 4 de Retirada de las boquillas de fumigación, repita los pasos 3 a 5 con los conectores de manguera de dentado simple del otro conjunto de mangueras (válvula de fumigación 5 o 6) de la sección de fumigación central (Figura 57 y Figura 58).
Enrute la manguera de 13 mm y el conjunto de la boquilla entre los tirantes del perfil exterior (Figura 59).

Enrute la manguera y la boquilla por encima del tirante y hacia fuera hasta llegar al soporte de la boquilla exterior (Figura 59).
Alinee el perno de cabeza hexagonal (5/16" x 3/4") de la boquilla de fumigación con el orificio del soporte de la boquilla, y sujete provisionalmente la boquilla al soporte con una contratuerca con arandela prensada (5/16") del Kit de acabado del sistema de fumigación GeoLink (Figura 60).

Enrute la otra manguera de 13 mm y el conjunto de la boquilla entre los tirantes del perfil exterior (Figura 59).
Enrute la manguera y la boquilla por encima del tirante y hacia dentro hasta llegar al soporte de la boquilla interior (Figura 59).
Alinee el perno de cabeza hexagonal (5/16" x 3/4") de la boquilla de fumigación con el orificio del soporte de la boquilla (Figura 60), y sujete provisionalmente la boquilla al soporte con una de las contratuercas con arandela prensada (5/16") que retiró en los pasos 1 y 4 de Retirada de las boquillas de fumigación.
Apriete la contratuerca con arandela prensada a 1978 – 2542 N·cm.
Enrute la manguera y el acoplamiento dentado de 13 mm x 810 mm por el lado de la sección de fumigación central que tiene los soportes izquierdo y derecho (Figura 59).
Repita los pasos 1 a 8 con el otro conjunto de manguera y boquilla en el otro perfil exterior (Figura 59 y Figura 60).
Piezas necesarias en este paso:
| Tapón (acoplamiento rápido) | 3 |
| Horquilla de retención | 3 |
Retire el extremo superior de la manguera de desvío, según se indica a continuación:
Máquinas sin kit opcional de lanza de mano o Kit opcional de carrete de manguera eléctrico: retire la horquilla de retención pequeña que sujeta el acoplamiento rápido de la manguera de desvío al acoplamiento rápido de la válvula de desvío de sección derecha (Figura 61).

Si la máquina tiene el kit opcional de lanza de mano o el kit opcional de carrete de manguera eléctrico, realice los pasos siguientes:
Retire la horquilla de retención que sujeta el acoplamiento rápido de la válvula de cierre al acoplamiento rápido de la válvula de desvío de sección derecha, y separe la válvula del alojamiento (Figura 62).

Retire la horquilla de retención que sujeta el acoplamiento rápido de la válvula de cierre al acoplamiento rápido del acoplamiento dentado de 90°, y separe la válvula del alojamiento (Figura 62).
Note: Guarde la válvula de cierre y las horquillas de retención para su instalación en Montaje de la válvula de cierre en la manguera de desvío.
Retire la horquilla de retención grande que sujeta el acoplamiento dentado de 90° del extremo inferior de la manguera de desvío al conector pasamuros del depósito de fumigación (Figura 63).
Note: Guarde la horquilla de retención grande para su instalación en Montaje de las mangueras de desvío en el depósito.

Retire la manguera de desvío de la máquina.
Note: Ya no necesitará la manguera de desvío y la horquilla de retención pequeña.
Retire las 3 horquillas de retención que sujetan los 3 actuadores de válvula a las válvulas de sección izquierda, central y derecha (Figura 64).

Retire los actuadores de válvula de las válvulas de sección izquierda, central y derecha (Figura 64).
Retire la horquilla de retención que sujeta el tapón al acoplamiento rápido de la válvula de desvío, y retire el tapón (Figura 65).
Note: Ya no necesitará el tapón.

Retire las 3 horquillas de retención que sujetan las 3 válvulas de desvío a las válvulas de sección la izquierda, central y derecha (Figura 66).

Levante las válvulas de desvío de las válvulas de sección (Figura 66).
Gire las válvulas de desvío 180° y móntelas en los acoplamientos rápidos de las válvulas de sección (Figura 66).
Sujete las 3 válvulas de desvío a las válvulas de sección con las 3 horquillas de retención que retiró en el paso 4 (Figura 66).
Instale el tapón en el acoplamiento rápido de la válvula de desvío (Figura 67).

Sujete el tapón al acoplamiento rápido hembra con la horquilla de retención que retiró en el paso 3 (Figura 67).
Monte los 3 actuadores de válvula en las válvulas de sección izquierda, central y derecha (Figura 64) con las horquillas de retención que retiró en el paso 1.
Note: Se añadirán las válvulas de sección a las válvulas del sistema de fumigación GeoLink de 10 válvulas en Montaje de las 3 válvulas de sección en el soporte de las válvulas.
Retire los 2 pernos con arandela prensada (¼" x ¾") y 2 contratuercas (¼") que sujetan la válvula de sección del brazo izquierdo al soporte del distribuidor (Figura 68).
Note: Ya no necesitará los 2 pernos con arandela prensada y las contratuercas.

Retire los 2 pernos con arandela prensada (¼" x ¾") y 2 contratuercas (¼") que sujetan la válvula de sección del brazo derecho al soporte del distribuidor (Figura 68).
Retire la brida de fijación (40 mm a 64 mm) y la junta (25 mm x 35 mm) que fijan la brida de la válvula de sección izquierda al adaptador (Figura 68).
Note: Guarde los 2 pernos con arandela prensada, las 2 contratuercas, la brida de fijación y la junta para su instalación en Montaje de las 3 válvulas de sección en el soporte de las válvulas.

Retire las 3 válvulas de sección de la máquina (Figura 69).
Retire las pegatinas de los actuadores de las 3 válvulas de sección (Figura 70).

Retire la brida de fijación de 51 mm y la junta de 38 mm que sujetan la brida del adaptador a la brida del caudalímetro (Figura 71).
Note: Guarde la brida de fijación y la junta para su instalación en Montaje del distribuidor en el caudalímetro.

Piezas necesarias en este paso:
| Soporte del caudalímetro | 1 |
| Sección de abrazadera | 4 |
| Perno (½" x 4-¼") | 4 |
| Contratuercas con arandela prensada (¼") | 4 |
Desconecte el conector hembra de 3 vías del arnés de cables de la máquina marcado FLOW METER del conector de 3 pines del caudalímetro (Figura 72).

Retire las 2 grapas del arnés de cables de la máquina de la pestaña inferior del panel de las válvulas de sección (Figura 72).
Retire los 4 tornillos con arandela prensada (5/16" x ¾") que sujetan el panel de las válvulas de sección del soporte de las válvulas, y retire el panel de las válvulas de la máquina (Figura 73).
Note: Guarde los 4 tornillos con arandela prensada para su instalación en Instalación del soporte y las abrazaderas del caudalímetro; ya no necesitará el panel de las válvulas de sección.

Alinee los orificios del soporte del caudalímetro con los orificios del soporte de las válvulas (Figura 74).

Monte el soporte del caudalímetro en el soporte de las válvulas con los 4 tornillos con arandela prensada que retiró en el paso 3 de Retirada del panel de las válvulas de sección, y apriete los tornillos a 1978 – 2542 N·cm.
Alinee dos secciones de abrazadera entre el caudalímetro y el soporte del caudalímetro, y alinee los orificios de las secciones de las abrazaderas con los orificios del soporte (Figura 75).

Alinee una sección de abrazadera en la parte trasera del caudalímetro con una de las secciones de abrazadera que ensambló en el paso 3 (Figura 75).
Monte las dos mitades de la abrazadera al soporte del caudalímetro (Figura 75) con 2 pernos (¼" x 4½") y 2 tuercas con arandela prensada (¼").
Repita los pasos 4 y 5 en con la otra sección de abrazadera que montó en el paso 3.
Apriete los pernos y las tuercas a 1017 – 1243 N·cm.
Piezas necesarias en este paso:
| Arnés de cables trasero | 1 |
| Brida | 7 |


Localice el rama de 84 cm del arnés de cables, la rama de 60 cm del arnés de cables y la rama de 66 cm del arnés de cables del arnés de cables del kit (Figura 76 y Figura 77).
Enrute las ramas de 84 cm, 60 cm y 66 cm del arnés de cables del kit por el lado izquierdo de la máquina junto al arnés de cables de la máquina (Figura 78 y Figura 79).


Enrute las ramas de 84 cm, 60 cm y 66 cm del arnés de cables del kit hacia adelante por el perfil izquierdo del bastidor (Figura 81 y Figura 82).



Enrute las ramas de 84 cm, 60 cm y 66 cm del arnés de cables del kit junto al arnés de cables de la máquina, por fuera del conjunto del freno de estacionamiento (Figura 83).

Enrute las ramas de 84 cm, 60 cm y 66 cm del arnés de cables del kit a través del tubo de sujeción del amortiguador, como se muestra en la Figura 84.

Sujete el arnés de cables del kit al arnés de cables de la máquina, según se muestra en Figura 82, Figura 83, y Figura 84.
En la parte trasera de la máquina, enrute la rama de 89 cm del arnés de cables hacia adelante, por delante del distribuidor de elevación, y a la derecha del caudalímetro, según se muestra en la Figura 85.

Enrute la rama de 102 cm del arnés de cables por detrás del distribuidor de elevación y hacia la derecha, según se muestra en Figura 85.
Conecte el conector de 3 pines de la rama de 89 cm del arnés de cables marcado LEFT SPRAY al conector hembra de 3 vías del arnés de cables de la máquina marcado LEFT SPRAY VALVE (Figura 86).

Conecte el conector de 3 pines del arnés de cables del kit marcado CENTER SPRAY al conector hembra de 3 vías del arnés de cables de la máquina marcado CENTER SPRAY VALVE (Figura 86).
Conecte el conector de 3 pines del arnés de cables del kit marcado RIGHT SPRAY al conector hembra de 3 vías del arnés de cables de la máquina marcado RIGHT SPRAY VALVE (Figura 86).
Introduzca la grapa del arnés de cables del kit en el orificio de la pestaña del soporte del caudalímetro (Figura 86).
Conecte el conector hembra de 3 vías de la rama de 89 cm del arnés de cables marcado FLOW METER al conector de 3 pines del caudalímetro (Figura 87).

Conecte el conector de 3 pines de la rama de 89 cm del arnés de cables del kit marcado MASTER VALVE al conector hembra de 3 vías del arnés de cables de la máquina marcado MASTER SPRAY VALVE (Figura 88).

Conecte el conector de 3 pines del actuador de la válvula de fumigación maestra al conector hembra de 3 vías de la rama de 89 cm del arnés de cables del kit marcado MASTER VALVE (Figura 88).
Conecte el conector de 4 pines del actuador de la válvula de caudal al conector hembra de 4 vías de la rama de 89 cm del arnés de cables del kit marcado RATE VALVE (Figura 89).

Piezas necesarias en este paso:
| Conector dentado recto (1" x 2") | 1 |
| Abrazadera (¾" a 1½") | 3 |
| Manguera (3" x 5¼") | 1 |
| Distribuidor | 1 |
| Manguera (1 x 16 pulgadas) | 1 |
Conecte la manguera (1" x 5¾") en el acoplamiento dentado recto (1" x 2") con una abrazadera (¾" a 1½"), y apriete la abrazadera a mano (Figura 90).

Conecte el otro extremo de la manguera (1" x 5¾") en el acoplamiento dentado del distribuidor con una abrazadera, según se muestra en Figura 90, y apriete la abrazadera a mano.
Conecte la manguera (1" x 16") al otro acoplamiento dentado del distribuidor con una abrazadera, y apriete la abrazadera a mano (Figura 90).
Conecte el conector dentado recto (1" x 2") a la brida del caudalímetro con la junta de 38 mm y la brida de fijación de 51 mm que retiró en el paso 6 de Retirada de las válvulas de sección del soporte del distribuidor.

Apriete la brida de fijación a mano (Figura 91).
Piezas necesarias en este paso:
| Conjunto de manguera de desvío | 1 |
| Válvula de cierre | 1 |
Como se muestra en la Figura 92, retire la horquilla de retención del acoplamiento rápido de 90°.

Monte la válvula de cierre en el conector hembra del acoplamiento rápido (Figura 92).
Sujete la válvula al acoplamiento con la horquilla de retención que retiró en el paso 1.
Monte la válvula de cierre y la horquilla de retención que retiró en el paso 1 de Retirada de la manguera de desvío de sección en el otro acoplamiento rápido hembra (Figura 92).
Alinee el conjunto de manguera de desvío con el depósito de fumigación (Figura 93).


Monte el acoplamiento dentado de 90° en el pasamuros del depósito de fumigación y sujete ambos con la horquilla de retención que retiró en el paso 2 de Retirada de la manguera de desvío de sección.
Capacidad del equipo de izado: 55 kg
Usando un equipo de izado con la capacidad de izado especificada, eleve la sección de fumigación central y alinee los orificios del soporte de la sección de fumigación (Figura 94) con los orificios de la placa de montaje del bastidor de la máquina que identificó en el paso 3 de Retirada de la sección de fumigación central.

Monte la sección de fumigación central en los perfiles de montaje (Figura 94) con los 4 pernos con arandela prensada (½" x 1¼") y las 4 contratuercas con arandela prensada (½") que retiró en el paso 4 de Retirada de la sección de fumigación central.
Apriete los pernos y las tuercas a 91–113 N·m.
Desate el distribuidor de elevación del soporte de montaje de la válvula.
Monte el distribuidor de elevación en el soporte de los cilindros como se indica a continuación:
Máquinas sin el kit opcional de nivelación del Ultra Sonic Boom:
Alinee los orificios del soporte del distribuidor de elevación con los orificios del soporte de los cilindros (Figura 95).

Monte el soporte del distribuidor en el soporte de los cilindros (Figura 95) con los 2 pernos con arandela prensada (5/16" x 1") y la contratuerca con arandela prensada (5/16") que retiró en el paso 1 de Retirada del distribuidor de elevación de la sección de fumigación central.
Máquinas con el kit opcional de nivelación del Ultra Sonic Boom:
Alinee los orificios del soporte del distribuidor de elevación y el soporte del controlador TEC con los orificios del soporte de los cilindros.

Monte el soporte del distribuidor y el soporte del controlador TEC en el soporte de los cilindros (Figura 96) con los 2 pernos con arandela prensada (5/16" x 1") y la contratuerca con arandela prensada (5/16") que retiró en el paso 1 de Retirada del distribuidor de elevación de la sección de fumigación central.
Apriete los pernos y las tuercas a 1978 – 2542 N·cm.
Piezas necesarias en este paso:
| Conjunto de soporte de las válvulas y válvulas de fumigación | 1 |
| Perno (4 x 10 mm) | 3 |
| Controlador de fumigación ASC 10 | 1 |
| Contratuerca con arandela prensada (4 mm) | 3 |
| Tapón (acoplamiento rápido) | 2 |
| Pernos con arandela prensada (5/16" x 3/4") | 8 |
| Contratuercas con arandela prensada (5/16") | 8 |
| Abrazadera | 1 |
| Grapa (brida) | 1 |
| Grapa (anclaje del conector) | 3 |
Alinee el controlador de fumigación ASC 10 en el lado delantero del soporte de las válvulas, orientando el conector de 4 pines hacia fuera (Figura 97).

Monte el controlador del fumigador en el soporte de las válvulas (Figura 97) con los 3 pernos (3 x 10 mm) y las 4 contratuercas con arandela prensada (4 mm).
Note: No utilice el orificio superior exterior del controlador de fumigación ASC 10 .
Apriete los pernos y las tuercas a 234–286 N·cm.
Retire las horquillas de retención que sujetan los actuadores de válvula de las válvulas de boquilla 1 a 7 (Figura 98).

Retire los actuadores de válvula de las válvulas de boquilla 1 a 7 (Figura 98).
Retire las horquillas de retención que sujetan los tapones en los conectores de los acoplamientos rápidos de las válvulas de boquilla 5 y 6, y retire los tapones (Figura 99).
Note: Ya no necesitará los tapones; guarde las horquillas de retención para su instalación en Instalación de las mangueras de desvío de sección – Máquinas con el kit opcional de lanza de mano o el kit opcional de carrete de manguera eléctrico.

Retire las horquillas de retención que sujetan las válvulas de desvío a las válvulas de boquilla 1 a 7 (Figura 100).

Retire las válvulas de desvío de las válvulas de boquilla 1 a 5 (Figura 100).
Gire las válvulas de desvío 180° y móntelas en los acoplamientos rápidos de las válvulas de sección (Figura 101).

Sujete las válvulas de desvío a las válvulas de sección con las horquillas de retención (Figura 101) que retiró en el paso 4.
Repita los pasos 5 a 7 con las válvulas de desvío de las válvulas de boquilla 6 y 7 (Figura 102).

Monte los tapones en los acoplamientos rápidos de las válvulas de desvío de las válvulas de boquilla 5 y 6 con las horquillas de retención suministradas con los tapones (Figura 101).

Monte los actuadores de válvula en las válvulas de boquilla 1 a 7 (Figura 98) con las horquillas de retención que retiró en el paso 1.
Monte las tres válvulas de sección (Figura 104) que retiró en el paso 8 de Retirada de las válvulas de sección del soporte del distribuidor sobre la brida de la válvula 7 del conjunto de válvulas de fumigación con la brida de fijación y la junta que retiró en el paso 4 de Retirada de las válvulas de sección del soporte del distribuidor.
Important: Las válvulas de sección izquierda, central y derecha se identifican en el sistema de fumigación GeoLink de la manera siguiente: válvula de sección izquierda — válvula de boquilla 8, válvula de la sección central — válvula de boquilla 9, y válvula de sección derecha — válvula de boquilla 10.

Sujete el conector hembra del acoplamiento rápido de la válvula de desvío de la válvula de boquilla 8 al acoplamiento rápido de la válvula de desvío de la válvula de boquilla 7 con la horquilla de retención que retiró en el paso 8 de Retirada de las válvulas de sección del soporte del distribuidor.

Monte la válvula de boquilla 10 en el soporte de las válvulas (Figura 106 o Figura 107) con los 2 pernos con arandela prensada (¼" x ¾") y las 2 contratuercas (¼") que retiró en el paso 2 de Retirada de las válvulas de sección del soporte del distribuidor.


Apriete los pernos con arandela prensada y las contratuercas a 1017–1243 N·m.
Capacidad del equipo de izado: 23 kg
Usando un equipo de izado con la capacidad especificada, eleve el conjunto de soporte de las válvulas y válvulas de fumigación y alinéelo sobre la sección de fumigación central (Figura 108).

Alinee los orificios del soporte de montaje del soporte de las válvulas con los orificios del perfil de travesaño de la sección de brazo central (Figura 109).

Monte el soporte de las válvulas en el perfil del travesaño (Figura 109 y Figura 110) con 4 pernos (5/16" x 3/4") y 4 contratuercas con arandela prensada (5/16").

Repita los pasos 2 a 3 con el otro soporte de montaje del soporte de las válvulas en el otro perfil del travesaño.
Apriete los pernos con arandela prensada y las contratuercas con arandela prensada a 1978–2.542 N·cm.
Conecte la manguera (2,54 cm x 40,64 cm) al acoplamiento con brida de 90° (2,54 cm), según se muestra en Figura 111.

Sujete la manguera al acoplamiento con brida con una abrazadera (Figura 111).
Inserte la brida/grapa en el orificio de la parte superior del soporte de las válvulas, según se muestra en Figura 111.
Sujete la brida/grapa (Figura 111) alrededor de la manguera (1" x 16").
Retire las horquillas de retención de los conectores hembra de los acoplamientos rápidos.
Conecte el acoplamiento rápido de la manguera de desvío al acoplamiento rápido de la válvula de desvío de la válvula de boquilla 10 (Figura 112).

Sujete los acoplamientos rápidos de la manguera de desvío y la válvula de desvío con la horquilla de retención (Figura 112).
Repita los pasos 1 a 3 con los acoplamientos rápidos de la válvula de boquilla 1.
Conecte el acoplamiento rápido de la válvula de cierre-desvío al acoplamiento rápido (conector hembra) de la válvula de desvío (Figura 113).

Sujete los acoplamientos rápidos de la válvula de cierre del desvío y la válvula de desvío con la horquilla de retención (Figura 113) que retiró en el paso 3 de Posicionamiento de las válvulas de desvío – Máquinas sin el kit opcional de lanza de mano o kit opcional de carrete de manguera eléctrico.
Repita los pasos 1 y 2 con la válvula de cierre–desvío y la válvula de desvío del otro lado de la máquina.
Inserte las grapas de anclaje de los conectores en los orificios del soporte de las válvulas (Figura 114).


Conecte el conector hembra de 3 vías (Figura 115) de la rama de 89 cm del arnés de cables del kit marcado NOZZLE VALVE 1 en el conector de 3 pines del actuador de la válvula de la izquierda (posición 1).
Note: Las posiciones 1 a 10 de los actuadores de válvula están dispuestos de izquierda a derecha, visto desde detrás de la máquina.
Conecte el conector hembra de 3 vías (Figura 115) de la rama de 89 cm del arnés de cables del kit marcado NOZZLE VALVE 2 en el conector de 3 pines del actuador de la válvula (posición 2).
Conecte los demás conectores hembra de 3 vías de la rama de 89 cm del arnés de cables del kit a los conectores de 3 pines de los actuadores de las válvulas (Figura 115).
Note: Asegúrese de que los conectores hembra de 3 vías están conectados a los actuadores de válvula correspondientes.
Piezas necesarias en este paso:
| Manguera hidráulica (¼" x 24¾") | 4 |
Alinee el extremo fijo del cilindro de elevación que retiró en el paso 3 de Retirada de los cilindros de elevación al orificio de 16 mm del bastidor del cilindro (Figura 116).
Note: Asegúrese de que los orificios de extensión y retracción del cilindro están alineados.

Sujete el cilindro al soporte de los cilindros con el pasador de giro, el perno con arandela prensada y una tuerca de arandela prensada (Figura 116).
Apriete el perno y la tuerca a 1978–2542 N·cm.
Repita los pasos 1 a 3 con el otro cilindro de elevación en el otro lado del soporte de los cilindros.
Conecte provisionalmente una manguera hidráulica nueva (¼" x 24¾") entre el orificio de extensión del cilindro de elevación del brazo izquierdo y el orificio C3 del distribuidor de elevación de los brazos (Figura 117).

Conecte provisionalmente una manguera hidráulica nueva (¼" x 24¾") entre el orificio de retracción del cilindro de elevación del brazo izquierdo y el orificio C4 del distribuidor de elevación de los brazos (Figura 117).
Conecte provisionalmente una manguera hidráulica nueva (¼" x 24¾") entre el orificio de extensión del cilindro de elevación del brazo derecho y el orificio C1 del distribuidor de elevación de los brazos (Figura 118).

Conecte provisionalmente una manguera hidráulica nueva (¼" x 24¾") entre el orificio de retracción del cilindro de elevación del brazo derecho y el orificio C2 del distribuidor de elevación de los brazos (Figura 118).
Apriete los acoplamientos de los orificios de extensión y retracción de los cilindros de elevación (Figura 117 y Figura 118) a 21–26 N·m.
Apriete las tuercas giratorias de las mangueras del distribuidor de elevación de los brazos (Figura 117 y Figura 118) a 24–30 N·m.
Piezas necesarias en este paso:
| Casquillo con brida de nylon | 4 |
| Brida | 1 |
| Conjunto de manguera de suministro 188 cm | 1 |
| Conjunto de manguera de suministro 234 cm | 1 |
| Conjunto de manguera de suministro 279 cm | 1 |
Corte la manguera entre 2 boquillas de fumigación (Figura 119).

Retire la contratuerca con arandela prensada (5/16") que sujeta la boquilla de fumigación al soporte de la boquilla (Figura 119).
Repita los pasos 2 a 1 con las otras 3 boquillas.
Note: Guarde la contratuerca con arandela prensada y la boquilla de fumigación para su instalación en Instalación de las boquillas de fumigación en las secciones de fumigación exteriores.
Note: Deseche las mangueras, las abrazaderas y el acoplamiento en T que retiró de la máquina.
Repita los pasos 2 a 3 con la otra sección de fumigación exterior.
Trabajando con las 8 boquillas de fumigación que retiró en el paso 1, retire los tornillos de acero inoxidable (Nº 12 x 1-1/4") que sujetan las mitades superiores de las abrazaderas y los conectores de manguera de dentado simple o doble (3/4") al cuerpo de cada boquilla de fumigación, y retire los conectores de manguera dentado (Figura 120).
Note: El perno de cabeza hexagonal (5/16" x 3/4"—acero inoxidable) se separará de la mitad superior de la abrazadera al abrirse la abrazadera; guarde el perno para la instalación.

Capacidad del equipo de izado: 91 kg
Usando un equipo de izado de la capacidad especificada, eleve el brazo exterior.
Inserte un casquillo con brida de nylon en el orificio de 31,8 mm de cada lado del acoplamiento de giro (Figura 121).

Alinee los casquillos del acoplamiento de giro con los orificios de las pestañas del soporte de giro situado en el extremo de la sección de fumigación central (Figura 122).

Monte el acoplamiento de giro en el soporte de giro con el pasador de giro, el perno con arandela prensada (5/16" x 1") y la contratuerca con arandela prensada (5/16") que retiró en el paso 2 de Retirada de las secciones de fumigación exteriores.
Apriete el perno y la tuerca a 1978 – 2542 N·cm.
Alinee la rótula del cilindro de elevación con el orificio de 25 mm del brazo del acoplamiento de giro (Figura 123).

Sujete el cilindro de elevación al acoplamiento de giro con el pasador y la chaveta (Figura 123) que retiró en el paso 2 de Retirada de los cilindros de elevación.
Repita los pasos 1 a 7 en la sección de fumigación exterior del otro lado de la máquina.
Piezas necesarias en este paso:
| Manguera de suministro 279 cm | 2 |
| Manguera de suministro 234 cm | 2 |
| Manguera de suministro 188 cm | 4 |
| Manguera de suministro 81 cm | 2 |
Identifique las mangueras de suministro por la longitud (Figura 124) de cada posición de las boquillas de fumigación del siguiente modo:
| Posiciones de las boquillas de fumigación – sección de fumigación izquierda | Posiciones de las boquillas de fumigación—sección de fumigación central | Posiciones de las boquillas de fumigación – sección de fumigación derecha |
|---|---|---|
| Boquilla del fumigador 1 (válvula de boquilla 1) – manguera de suministro de 279 cm | Boquillas de fumigación 5 y 6 (válvula de boquilla 5) – manguera de suministro de 81 cm con 2 mangueras derivadas | Boquilla del fumigador 9 (válvula de boquilla 7) – manguera de suministro de 188 cm |
| Boquilla del fumigador 2 (válvula de boquilla 2) – manguera de suministro de 234 cm | Boquillas de fumigación 7 y 8 (válvula de boquilla 6) – manguera de suministro de 81 cm con 2 mangueras derivadas | Boquilla del fumigador 10 (válvula de boquilla 8) – manguera de suministro de 188 cm |
| Boquilla del fumigador 3 (válvula de boquilla 3) – manguera de suministro de 188 cm | Boquilla del fumigador 11 (válvula de boquilla 9) – manguera de suministro de 234 cm | |
| Boquilla del fumigador 4 (válvula de boquilla 4) – manguera de suministro de 188 cm | Boquilla del fumigador 12 (válvula de boquilla 10) – manguera de suministro de 279 cm |
Note: Consulte la Figura 125 en Conexión de las mangueras a las válvulas de boquillas 1 a 4, Figura 126 en Conexión de las mangueras a las válvulas de boquillas 5 y 6, y Figura 127 en Conexión de las mangueras a las válvulas de boquillas 7 a 10 para conocer las posiciones de las válvulas de las boquillas.

Monte el acoplamiento dentado recto de una manguera de suministro de 279 cm en el acoplamiento de la válvula de boquilla 1 (Figura 125).
Note: Asegúrese de que el acoplamiento dentado está correctamente asentado en el acoplamiento.

Sujete el acoplamiento dentado al acoplamiento con una horquilla de retención (Figura 125).
Monte el acoplamiento dentado recto de una manguera de suministro de 234 cm en el acoplamiento de la válvula de boquilla 2 (Figura 125).
Note: Asegúrese de que el conector dentado está correctamente asentado en el acoplamiento.
Sujete el conector dentado al acoplamiento con una horquilla de retención (Figura 125).
Monte el acoplamiento dentado recto de una manguera de suministro de 188 cm en el acoplamiento de la válvula de boquilla 3 (Figura 125).
Note: Asegúrese de que el conector dentado está correctamente asentado en el acoplamiento.
Sujete el conector dentado al acoplamiento con una horquilla de retención (Figura 125).
Monte el conector dentado recto de una manguera de suministro de 188 cm en el acoplamiento de la válvula de boquilla 4 (Figura 125).
Note: Asegúrese de que el conector dentado está correctamente asentado en el acoplamiento.
Sujete el conector dentado al acoplamiento con una horquilla de retención (Figura 125).
Note: El conjunto de la manguera de suministro de 81 cm tiene un acoplamiento en T con 2 mangueras derivadas y 2 conectores de manguera de dentado único.
Monte el acoplamiento dentado recto de una manguera de suministro de 81 cm en el acoplamiento de la válvula de boquilla 5 (Figura 126).
Note: Asegúrese de que el conector dentado está correctamente asentado en el acoplamiento.

Sujete el conector dentado al acoplamiento con una horquilla de retención (Figura 126).
Monte el conector dentado recto de una manguera de suministro de 81 cm en el acoplamiento de la válvula de boquilla 6 (Figura 126).
Note: Asegúrese de que el conector dentado está correctamente asentado en el acoplamiento.
Sujete el conector dentado al acoplamiento con una horquilla de retención (Figura 126).
Monte el conector dentado recto de una manguera de suministro de 188 cm en el acoplamiento de la válvula de boquilla 7 (Figura 127).
Note: Asegúrese de que el conector dentado está correctamente asentado en el acoplamiento.

Sujete el conector dentado al acoplamiento con una horquilla de retención (Figura 127).
Monte el conector dentado recto de una manguera de suministro de 188 cm en el acoplamiento de la válvula de boquilla 8 (Figura 127).
Note: Asegúrese de que el conector dentado está correctamente asentado en el acoplamiento.
Sujete el conector dentado al acoplamiento con una horquilla de retención (Figura 127).
Monte el conector dentado recto de una manguera de suministro de 234 cm en el acoplamiento de la válvula de boquilla 9 (Figura 127).
Note: Asegúrese de que el conector dentado está correctamente asentado en el acoplamiento.
Sujete el conector dentado al acoplamiento con una horquilla de retención (Figura 127).
Monte el conector dentado recto de una manguera de suministro de 279 cm en el acoplamiento de la válvula de boquilla 10 (Figura 127).
Note: Asegúrese de que el conector dentado está correctamente asentado en el acoplamiento.
Sujete el conector dentado al acoplamiento con una horquilla de retención (Figura 127).
Enrute las mangueras de las boquillas de fumigación 1, 2, 3 y 4 a través de la abrazadera en R en el extremo exterior izquierdo de la sección de fumigación central (Figura 128 y Figura 129).


Enrute las mangueras de las boquillas de fumigación 7, 8, 9 y 10 a través de la abrazadera en R en el extremo exterior derecho de la sección de fumigación central (Figura 128 y Figura 129).
Enrute las mangueras de suministro de 279 cm y los conectores de manguera dentados (¾") por la sección de fumigación hasta las boquillas de fumigación 1 y 10, según se muestra en la Figura 128 y la Figura 129.
Enrute las mangueras de suministro de 234 cm y los conectores de manguera dentados (¾") por la sección de fumigación hasta las boquillas de fumigación 2 y 9, según se muestra en la Figura 128 y la Figura 129.
Enrute las mangueras de suministro de 188 cm y los conectores de manguera dentados (¾") por la sección de fumigación hasta las boquillas de fumigación 4 y 8, según se muestra en la Figura 128 y la Figura 129.
Note: Enrute las mangueras a través de los anillos de goma inferiores traseros de los soportes del armazón de tubos.
Enrute las mangueras de suministro de 188 cm y los conectores de manguera dentados (¾") por la sección de fumigación hasta las boquillas del fumigación 4 y 7, según se muestra en la Figura 128 y la Figura 129.
Note: Enrute las mangueras a través de los anillos de goma inferiores traseros de los soportes del armazón de tubos.
Agrupe las 4 mangueras de las boquillas de fumigación con una brida, como se muestra en la Figura 129.
Alinee el tubo de transferencia del soporte de una boquilla de fumigación (Figura 130) con el orificio del lateral del conector de manguera de dentado simple (13 mm).

Cierre la mitad superior de la abrazadera alrededor del conector de manguera dentado y sujete la mitad de la abrazadera y el cuerpo de la boquilla de fumigación (Figura 130) con el tornillo de acero inoxidable (Nº 12 x 1-¼"); apriete el tornillo de acero inoxidable a entre 14 y 18 N∙m.
Note: Asegúrese de que el perno de cabeza hexagonal (5/16" x 3/4") está asentado en el hueco de la mitad superior de la abrazadera al cerrar la abrazadera.
Monte las boquillas de fumigación de la sección de fumigación exterior como se indica a continuación:
En las posiciones de las boquillas 1 y 4, monte la boquilla de fumigación en el soporte de boquilla (Figura 131, A) con la contratuerca con arandela prensada (5/16") que retiró en el paso 2 de Retirada de las boquillas de fumigación de las secciones de fumigación exteriores.
En las posiciones de las boquillas 2 y 3, monte la boquilla de fumigación en el soporte de boquilla (Figura 131, A y B) con la contratuerca con arandela prensada (5/16") que retiró en el paso 2 de Retirada de las boquillas de fumigación de las secciones de fumigación exteriores.

Apriete la contratuerca con arandela prensada a 1978 – 2542 N·cm.
Repita los pasos 1 a 4 con las demás boquillas de fumigación de la sección de fumigación.
Repita los pasos 1 a 5 con la sección de fumigación exterior del otro lado de la máquina.
Inserte el conector hembra de 3 vías de la rama de 61 cm del arnés de cables del kit marcado PRESSURE TRANSDUCER GREEN WEDGE en el conector de 3 pines del arnés del transductor de presión (Figura 132).

Inserte el conector hembra de 40 vías de la rama de 102 cm del arnés de cables del kit en el conector de 40 pines del controlador de fumigación del ASC 10 (Figura 133).

Enrosque a mano el tornillo moleteado del conector hembra de 40 vías en el conector ASC 10 (Figura 133).
Inserte el conector hembra de 4 vías marcado TO ASC 10 en el conector de 4 pines del controlador de fumigación ASC 10 (Figura 134).

Monte el acoplamiento de 90° de la válvula de cierre del kit opcional de lanza de mano o el kit de carrete de manguera eléctrico en la brida de la válvula de boquilla 10 con la brida de fijación y la junta, y apriete la abrazadera a mano (Figura 136).

Alinee el extremo del tubo del sensor de presión (plástico) del indicador de presión del salpicadero con el anillo de bloqueo del acoplamiento del tubo en el acoplamiento de 90° de la válvula de cierre de la lanza de mano o el Kit de carrete de manguera eléctrico (Figura 137).

Inserte el tubo del sensor en el anillo de bloqueo hasta que el tubo esté correctamente asentado (Figura 137).
Piezas necesarias en este paso:
| Brida | 6 |
Enrute los tubos de las boquillas de espuma de las secciones de fumigación izquierda y derecha hacia dentro y a través de la abrazadera en R situada cerca del punto de giro de sección de fumigación exterior (Figura 139).


Enrute los tubos hacia adelante por el lado izquierdo del depósito de fumigación (Figura 139).
Sujete los tubos de las boquillas derecha e izquierda del marcador de espuma a las mangueras de fumigación con 4 bridas, según se muestra en Figura 139.
Sujete los tubos de las boquillas izquierda y derecha del marcador de espuma a los tubos de agitación con 2 bridas, según se muestra en Figura 139.
Enrute los tubos de espuma del brazo derecho según se muestra en Figura 140.


Introduzca el tubo transparente en el acoplamiento de aire de la chapa lateral del compresor (Figura 140 y Figura 141).

Introduzca el tubo azul en el acoplamiento de líquido de la chapa lateral del compresor (Figura 140 y Figura 141).
Enrute los tubos de espuma del brazo izquierdo según se muestra en Figura 140.
Introduzca el tubo transparente en el acoplamiento de aire de la chapa lateral del compresor (Figura 140 y Figura 141).
Introduzca el tubo azul en el acoplamiento de líquido de la chapa lateral del compresor (Figura 140 y Figura 141).
Conecte usando la brida que preparó en el paso 9 de Preparación de los conjuntos de tubos nuevos para las boquillas del marcador de espuma, alineando el tubo azul del sección de fumigación derecha con el acoplamiento de compresión del circuito de agua de la sección de fumigación derecha (Figura 142).

Ensamble la tuerca de compresión del tubo en el acoplamiento y apriete la tuerca a mano (Figura 142).
Alinee el tubo transparente de la sección de fumigación derecha con el acoplamiento de compresión del circuito de aire de la sección de fumigación derecha (Figura 142).
Ensamble la tuerca de compresión del tubo en el acoplamiento y apriete la tuerca a mano (Figura 142).
Conecte el tubo no marcado (sin brida) alineando el tubo azul de la sección de fumigación izquierda en el acoplamiento de compresión del circuito de agua de la sección izquierda (Figura 143).

Ensamble la tuerca de compresión del tubo en el acoplamiento y apriete la tuerca a mano (Figura 143).
Alinee el tubo transparente de la sección de fumigación izquierda con el acoplamiento de compresión del circuito de aire de la sección de fumigación izquierda (Figura 143).
Ensamble la tuerca de compresión del tubo en el acoplamiento y apriete la tuerca a mano (Figura 143).
Sujete los tubos del marcador de espuma a las mangueras de las boquillas de fumigación con 2 bridas (Figura 139).
Conecte el conector hembra de 3 vías del arnés de cables del brazo sónico al conector de 3 pines del cable para el sensor ultrasónico derecho (A de la Figura 144).

Conecte el conector hembra de 3 vías del arnés de cables del brazo sónico del conector de 3 pines del cable para el sensor ultrasónico izquierdo (B de la Figura 144).
Piezas necesarias en este paso:
| Conjunto de extensión de la cubierta (12 boquillas – Toro 120-0621) | 1 |
| Remache ciego (Pieza Toro Nº 114439) | 22 |
| Soporte de sujeción (cubierta de la sección central—Pieza Toro N° 131–3703–03) | 4 |
| Tuerca rápida (Pieza Toro Nº 94-2413) | 4 |
| Pernos con arandela prensada (3/8 x 1¼"—Pieza Toro N° 110-5050) | 16 |
| Contratuercas con arandela prensada (3/8"—Pieza Toro N° 104-8301) | 16 |
| Pletina de sujeción (Pieza Toro Nº 120–0629) | 2 |
| Pernos con arandela prensada (5/16" x 1¼"—Pieza Toro N° 323-36) | 4 |
Usando un taladro con una broca de 5 mm, perfore los orificios de los 11 remaches ciegos (Figura 145) que sujetan la pletina de refuerzo (una sola fila de remaches) y la cubierta de goma al extremo de la cubierta de sección de 11 boquillas de la sección de fumigación central que retiró en el paso 2 de Retirada de la cubierta de la sección central (11 boquillas) del kit opcional de brazo cubierto.


Retire la pletina de refuerzo, las 11 arandelas (3/16"), y la cubierta de goma de la cubierta de brazo de 11 boquillas (Figura 145).
Note: Guarde la pletina de refuerzo, las arandelas y la cubierta de goma para su instalación en los pasos 5 y 6.
Alinee los orificios de la pletina de refuerzo (dos filas) de la extensión de la cubierta con los orificios del extremo de la cubierta de brazo de 11 boquillas (Figura 146).

Sujete la extensión de la cubierta a la cubierta de sección de 11 boquillas (Figura 147) con 11 remaches ciegos (Pieza Toro N° 114439).

Alinee los orificios de la cubierta de goma y la pletina de refuerzo (una fila) que retiró en el paso 2 con los orificios del extremo de la extensión de la cubierta (Figura 148).

Sujete la pletina de refuerzo y la cubierta de goma a la extensión de la cubierta con los 11 remaches ciegos (Pieza Toro Nº 114439) y las 11 arandelas (3/16") que retiró en el paso 5.
Note: Las arandelas (3/16") deben colocarse por dentro de la extensión de la cubierta.
Instale las cuatro tuercas rápidas (Pieza Toro Nº 94-2413) en los 2 soportes de la cubierta de la sección central (Pieza Toro Nº 131–3703–03), tal y como se muestra en (Figura 149).

En la extensión de la sección de fumigación central, localice los dos pares de orificios de la cara vertical del perfil del travesaño que tienen un espaciado entre orificios de 25 mm (Figura 150).


Alinee los orificios de un soporte de sujeción (Pieza Toro Nº 131–3703–03) con los orificios de la extensión de la sección de fumigación central que identificó en el paso 2, con la pestaña ancha del soporte a la izquierda; consulte Figura 150.
Monte el soporte de sujeción en el perfil del travesaño (Figura 150) con 4 pernos con arandela prensada (3/8 x 1¼"—Pieza Toro N° 110-5050) y 4 contratuercas con arandela prensada (3/8"—Pieza Toro N° 104-8601).
Repita los pasos 2 a 4 en los otros 2 pares de orificios de la extensión de la sección de fumigación central, con el otro soporte, los pernos con arandela prensada y las contratuercas con arandela prensada.
Apriete los pernos y las tuercas a 37– 45 N·m.
Alinee los orificios de la cubierta de la sección central con los orificios del soporte de la cubierta de la sección central (Figura 151).

Alinee los orificios de 2 de las pletinas de sujeción que retiró en el paso 1 de Retirada de la cubierta de la sección central (11 boquillas) del kit opcional de brazo cubierto con los orificios de la cubierta y 2 de los soportes (Figura 151).
Sujete las pletinas de sujeción y la cubierta a los soportes con los 4 pernos con arandela prensada (5/16" x 1¼") que retiró en el paso 1 de Retirada de la cubierta de la sección central (11 boquillas) del kit opcional de brazo cubierto.
Alinee los orificios de las 2 pletinas de sujeción (Pieza Toro N° 120–0629) con los 4 orificios restantes de la cubierta y los 4 orificios restantes de los soportes de sujeción (Figura 151).
Monte las pletinas de sujeción y la cubierta a los soportes (Figura 151) con los 4 pernos con arandela prensada (5/16 x 1¼"—Pieza Toro N° 323-36).
Apriete los pernos a 1978–2542 N·cm.
Piezas necesarias en este paso:
| Placa del receptor | 1 |
| Espaciador (3/8" x 1") | 1 |
| Soporte del receptor | 1 |
| Perno (3/8" x 3¼") | 1 |
| Arandela de freno (3/8") | 1 |
| Arandela (3/8" x 13/16") | 1 |
| Contratuerca con arandela prensada (⅜") | 1 |
| Perno con arandela prensada (5/16" x ¾") | 1 |
| Contratuerca con arandela prensada (5/16") | 1 |
| Perno con arandela prensada (3/8" x 1½") | 2 |
| Espaciador (3/8" x 7/16") | 2 |
| Receptor de navegación—Sistema de fumigación de precisión GeoLink X25, Base, WAAS (Modelo 41630) | 1 |
| Perno de cabeza hexagonal (5 x 16 mm) | 3 |
| Arandela (5 mm) | 3 |
| Adaptador del pasamuros (kit opcional de módem CDMA para la corrección de RTK o Kit opcional de módem GSM para la corrección de RTK) | 1 |
| Antena celular (kit opcional de módem CDMA para la corrección de RTK o Kit opcional de módem GSM para la corrección de RTK) | 1 |
| Cable coaxial (kit opcional de módem CDMA para la corrección de RTK o Kit opcional de módem GSM para la corrección de RTK) | 1 |
Alinee los orificios de la placa del receptor de navegación, del espaciador (3/8" x 1") y del soporte del receptor (Figura 152).

Monte la placa del receptor y el espaciador en el soporte con un perno (3/8" x 3¼"), una arandela de freno (3/8"), una arandela (3/8" x 13/16") y una contratuerca con arandela prensada (3/8"), según se muestra en Figura 152.
Monte el perno con arandela prensada (5/16" x ¾") y la tuerca con arandela prensada (5/16") en el orificio más pequeño del soporte del receptor y la ranura de la placa del receptor (Figura 152).
Apriete los pernos y las tuercas hasta que pueda girar la placa del receptor con una ligera resistencia.
Monte el soporte del receptor y el espaciador (3/8" x 7/16") en la barra antivuelco con el perno con arandela prensada (3/8" x 1½"), según se muestra en Figura 153.

Apriete los pernos hasta que pueda girar la placa del receptor con una ligera resistencia.
Nivele la placa del receptor lateralmente (izquierda/derecha) (Figura 154).

Apriete el perno con arandela prensada (5/16" x ¾") y la tuerca con arandela prensada (5/16") a 1978 – 2542 N·cm.
Nivel la placa del receptor en sentido adelante/atrás (Figura 154).
Apriete el perno (3/8" x 3¼") y la contratuerca con arandela prensada (3/8") a 37 – 45 N·m.
Note: Instale la antena RTK si la máquina está equipada con un módem CDMA o GSM para la corrección de RTK.
Alinee el conector coaxial con el orificio de la pestaña de la antena RTK, con las roscas del conector hacia abajo (Figura 156).
Note: Gire el conector coaxial según sea necesario para alinear la zona plana de la rosca con la zona plana del orificio de la pestaña de la antena RTK.

Monte el conector coaxial a la pestaña de la placa del receptor con la arandela de freno y la contratuerca, y apriete la contratuerca a mano (Figura 156).
Monte la antena RTK sobre la parte superior del conector coaxial, y apriete la tuerca moleteada de la antena a mano (Figura 157).

Conecte provisionalmente el cable de la antena en la parte inferior del acoplamiento coaxial (Figura 157).
Enrute el cable por detrás del receptor de navegación hasta el conector coaxial del módem celular CDMA o GSM (Figura 157).
Enchufe el cable de antena en el conector coaxial del módem celular CDMA o GSM (Figura 157).
Apriete las tuercas moleteadas del cable de antena a mano.
Piezas necesarias en este paso:
| Soporte del monitor | 1 |
| Perno con arandela prensada (6 x 12 mm) | 3 |
| Abrazadera (5/16") | 2 |
| Contratuerca con arandela prensada (5/16") | 8 |
| Soporte de bola | 1 |
| Perno con arandela prensada (5/16" x ¾") | 4 |
| Monitor—Sistema de fumigación de precisión GeoLink X25, Base, WAAS (Modelo 41630) | 1 |
| Brazo del monitor—Sistema de fumigación de precisión GeoLink X25, Base, WAAS (Modelo 41630) | 1 |
Alinee el soporte del monitor con la máquina según se muestra en Figura 159.

Monte el soporte del monitor en el alojamiento de la válvula de dirección (Figura 160) con los 3 pernos con arandela prensada (6 mm x 12 mm).

Monte la placa del soporte del monitor en el tubo del chasis de la máquina (Figura 161) con las 2 abrazaderas y las 4 tuercas con arandela prensada (5/16").

Apriete los 3 pernos con arandela prensada (6 mm x 12 mm) de la válvula de dirección a 972 – 1198 N·cm; apriete las contratuercas con arandela prensada del tubo a 1978 – 2542 N·cm.
Alinee la cinta del volante con la cinta del alojamiento de la válvula de dirección (Figura 162).

Monte el volante sobre el eje de la válvula de dirección (Figura 162) con la arandela (5/8") y la tuerca (5/8") que retiró en el paso 3 de Retirada del volante.
Apriete la tuerca a 206 – 254 N∙m.
Instale el embellecedor que retiró en el paso 2 de Retirada del volante en el volante (Figura 168).
Monte el soporte de bola en el soporte del monitor (Figura 163) con los 4 pernos con arandela prensada (5/16" x ¾") y 4 contratuercas con arandela prensada (5/16").

Apriete los pernos y las tuercas a 1978 – 2542 N·cm.
Conecte la bola del monitor y el soporte de bola de la máquina al brazo del monitor (Figura 164).

Ajuste el monitor de manera que quede visible desde la posición del operador de la máquina, y apriete el pomo del brazo del monitor a mano (Figura 164).
Desconecte el conector hembra de 2 vías del arnés de cables de la máquina marcado SPRAY PUMP COIL del conector de 2 pines del alternador (Figura 165).

Conecte el conector de 2 pines del arnés de cables del kit (84 cm) marcado PUMP CLUTCH al conector hembra de 2 vías del arnés de cables de la máquina marcado SPRAY PUMP COIL (Figura 166).

Conecte el conector hembra de 2 vías del arnés de cables del kit marcado PUMP CLUTCH al conector de 2 pines del alternador (Figura 166).
Enrute la rama de 84 cm del arnés de cables junto al motor y la bomba de fumigación de modo que el arnés quede alejado de la correa del alternador (Figura 167).

Piezas necesarias en este paso:
| Soporte de la batería | 1 |
| Perno (5/16 x 1¾") | 1 |
| Arandela (5/16") | 1 |
| Batería (540 A) | 1 |
| Pletina de sujeción de la batería | 1 |
| Contratuerca con arandela prensada (5/16") | 1 |
| Soporte del alternador | 1 |
| Polea de transmisión (279 mm) | 1 |
| Perno (¼" x 2-¼") | 4 |
| Arandela de seguridad (¼") | 4 |
| Alternador (60 A) | 1 |
| Perno con arandela prensada (8 x 25 mm) | 1 |
| Perno con arandela prensada (3/8" x 1½") | 1 |
| Correa en V | 1 |
Retire las 2 contratuercas con arandela prensada y la varilla de sujeción de los 2 pernos en J que sujetan la batería al soporte de la batería (Figura 168).

Retire la batería de la máquina (Figura 168).
Note: Ya no necesitará las tuercas con arandela prensada, la varilla de sujeción y la batería (300 A).
Retire los pernos (10-24 x ¾") y las tuercas (10-24) que sujetan los bloques de fusibles al soporte de la batería (Figura 169).
Note: Guarde los pernos (10-24 x ¾") y las tuercas (10-24) para su instalación en Instalación del soporte de la batería y la batería (540 A).

Retire los 2 pernos con arandela prensada (⅜" x ¾") que sujetan el soporte de la batería al tubo de sujeción del amortiguador (Figura 169).
Note: Guarde los pernos con arandela prensada (¼" x ¾") para su instalación en Instalación del soporte de la batería y la batería (540 A).
Retire los 2 pernos en J y la bandeja de la batería del soporte de la batería (Figura 170).

Retire el soporte de la batería de la máquina (Figura 171).
Note: Ya no necesitará los pernos en J, la bandeja de la batería y el soporte de la batería.

Alinee el nuevo soporte de la batería con el tubo del sujeción del amortiguador y los bloques de fusibles (Figura 172).

Monte el soporte de la batería en el tubo del sujeción del amortiguador (Figura 173) con los 2 pernos con arandela prensada (3/8" x ¾") que guardó en el paso 4 de Retirada de la batería (300 A) y el soporte de la batería.

Apriete los pernos con arandela prensada a 37 – 45 N·m.
Sujete los bloques de fusibles al soporte de la batería (Figura 173) con el perno (10-24 x ¾") y las tuercas (10-24) que retiró en el paso 3 de Retirada de la batería (300 A) y el soporte de la batería.
Monte la batería en el soporte de la batería con el perno (5/16" x 1¾"), la arandela (5/16"), la pletina de sujeción y la contratuerca con arandela prensada (5/16"), según se muestra en Figura 174.

Apriete el perno y la tuerca a 1978 – 2542 N·cm.
En el cabezal de la bomba, a la posición de las 11, afloje los 2 pernos según se muestra en Figura 175 para dejar un espacio de 7 a 10 mm entre la cabeza de los pernos y la bomba.
Note: No es necesario retirar los pernos de la bomba de fumigación.

Alinee el soporte del alternador entre los pernos que aflojó en el paso 1 y el cabezal de la bomba (Figura 176).

Apriete los pernos a 61 – 75 N.
Afloje la tuerca del eje la polea tensora (Figura 177).
Note: Asegúrese de que no hay tensión de la correa.

Gire el perno tensor de la correa para eliminar la tensión de la correa de la bomba de fumigación (Figura 177).
Retire los 4 pernos (¼" x 1") y las 4 arandelas de freno (¼") que sujetan la polea a la bomba de fumigación (Figura 178).
Important: No retire la polea.
Note: Ya no necesitará los pernos y las arandelas de freno.

Alinee los orificios de la polea del alternador (kit) con los orificios de la polea de la bomba de fumigación (Figura 179).

Monte la polea del alternador en la polea de la bomba de fumigación y la bomba de fumigación con los 4 pernos (¼" x 2¼") y 4 arandelas de freno (¼").
Apriete los pernos a 1017 – 1243 N∙m.
Gire el perno tensor de la correa para aumentar la tensión de la correa hasta que la correa se desvíe 9,5 mm al aplicar una fuerza de 4,5 kg en el punto intermedio entre los piñones del motor y la bomba de fumigación.

Apriete la tuerca del eje de la polea tensora a 37 – 44 N·m.
Monte el alternador (60 A) en el saliente roscado del soporte del alternador (Figura 181) con el perno con arandela prensada (3/8" x 1½").

Sujete la pestaña roscada del alternador a la pestaña ranurada del soporte del alternador (Figura 181) con el perno con arandela prensada (8 mm x 25 mm).
Coloque la correa en V sobre la polea motriz (279 mm) y la polea del alternador (Figura 182).

Gire el alternador (Figura 183) hacia arriba para aumentar la tensión de la correa hasta que la correa se desvíe 9,5 mm al aplicar una fuerza de 4,5 kg en el punto intermedio entre la polea del alternador y la polea de transmisión (279 mm).

Apriete el perno con arandela prensada (8 mm x 25 mm) a 23 – 29 N·m.
Apriete el perno con arandela prensada (⅜" x 1½") a 37 – 45 N∙m.
Piezas necesarias en este paso:
| Relé | 1 |
| Grapa | 1 |
| Fusible (15 A) | 1 |
| Fusible (50 A) | 1 |
Conecte el conector de 2 vías del extremo del cable rosa de 57 cm del arnés de cables del kit (Figura 184) en el conector de 2 pines del alternador (50 A).

Enrute el cable rosa del sensor lejos de las correas del alternador, y sujete el cable con una brida.
Retire la tuerca del borne (Figura 185) del alternador (50 A).

Conecte el cable rojo de calibre 6 del alternador al borne del alternador (50 A) con la tuerca (Figura 185).
Enrute el cable rojo del alternador hacia los bornes de la batería, alejado de la polea y la correa del alternador.
Apriete la tuerca a 47 – 57 N∙m.
Coloque el capuchón aislante sobre el borne del alternador (Figura 185).
Conecte el conector de 5 pines del relé en el conector hembra de 5 vías (Figura 186) del arnés de cables del kit marcado ASC 10 ENABLE RELAY.

Alinee el orificio de la pestaña de montaje del relé con el orificio del tubo de sujeción del amortiguador, y sujete el relé al tubo con una grapa (Figura 186).
Configure un multímetro para realizar una prueba de continuidad.
En el bloque de fusibles 3 de la máquina, introduzca la sonda del multímetro en el contacto 4 (columna de la derecha) del bloque de fusibles 2, según se muestra en Figura 187.

En el lado delantero de los bloques de fusibles, utilice la otra sonda del multímetro para identificar el conector plano del extremo del cable rojo de calibre 10 que se conecta al contacto 4 del bloque de fusibles 2.

Utilice un trozo de cinta para marcar el conector y el cable que identificó en el paso 3 (Figura 188).
Conecte el conector plano que marcó en el paso 4 al conector del extremo del cable rosa de 51 mm del arnés de cables del kit (Figura 189).

Inserte el fusible (15 A) en la ranura 2 del bloque de fusibles 3 hasta que esté correctamente asentado (Figura 190).

Inserte el fusible (50 A) en el bloque de fusibles en línea hasta que esté correctamente asentado (Figura 191).

Piezas necesarias en este paso:
| Arnés de datos (sistema de navegación)—Sistema de fumigación de precisión GeoLink (Modelo 41630) | 1 |
| Arnés de la batería (sistema de navegación)—Sistema de fumigación de precisión GeoLink (Modelo 41630) | 1 |
| Brida | 8 |
| Abrazadera de conexión rápida (palanca roja) | 1 |
| Abrazadera de conexión rápida (palanca negra) | 1 |

Important: Algunos de los conectores de arnés de datos no se utilizan. Asegúrese de que los tapones de los conectores no utilizados están firmemente sujetos.
Conecte el conector hembra de 3 vías (interfaz de alimentación eléctrica) del arnés eléctrico de navegación al conector de 3 pines (interfaz de alimentación eléctrica) del arnés de datos (Figura 192).


Enrute la rama de 390 cm del arnés de datos por el lado trasero del tubo vertical izquierdo de la barra antivuelco.

Enrute la rama de 390 cm del arnés de datos por el tubo derecho del ROPS con el conector hembra de 12 vías (gris) y el conector hembra de 12 vías (negro) hacia arriba hasta el receptor de navegación (Figura 196).

Alinee las 2 pestañas del lado largo del conector hembra de 12 vías gris y negro del arnés de datos con las 2 muescas guía del lado horizontal inferior del conector de 12 pines izquierdo (gris) del receptor de navegación (Figura 197).
Note: Tenga cuidado al conectar el arnés de cables al receptor de navegación; las pestañas-guía de los conectores del arnés deben estar orientadas correctamente para encajar en las muescas de los conectores macho del receptor de navegación.

Conecte el conector hembra de 12 vías gris y negro del arnés de datos al conector de 12 pines izquierdo (gris) del receptor de navegación hasta que los cierres del conector se enganchen firmemente (Figura 197).
Alinee las 2 pestañas del lado corto del conector hembra de 12 vías negro del arnés de datos con las 2 muescas del lado izquierdo vertical del conector de 12 pines derecho (negro) del receptor de navegación (Figura 197).
Note: Tenga cuidado al conectar el arnés de cables al receptor de navegación; las pestañas-guía de los conectores del arnés deben estar orientadas correctamente para encajar en las muescas de los conectores macho del receptor de navegación.
Conecte el conector hembra de 12 vías negro liso del arnés de datos al conector de 12 pines izquierdo (negro) del receptor de navegación hasta que los cierres del conector se enganchen firmemente (Figura 197).
Sujete la rama de 390 cm del arnés de datos al tubo derecho del ROPS con 2 bridas, según se muestra en Figura 196.
Note: Asegúrese de que hay holgura en el cable entre los conectores hembra de 12 vías y la brida.


Enrute el arnés de datos y el arnés de la batería hacia abajo por la parte trasera del tubo vertical izquierdo de la barra antivuelco hasta el travesaño del soporte del asiento (Figura 200).

Sujete la rama de 390 cm del arnés de datos del receptor de navegación a la barra anti vuelco como se muestra en Figura 200.
Conecte el conector de 1 pin del arnés de la batería marcado ***IMPORTANT*** ONLY CONNECT THIS WIRE TO SWITCHED 12V POWER SOURCE al conector hembra de 1 vía de la rama de 66 cm del arnés de cables del kit (Figura 201) marcado (SW’D PWR FOR GEN 2 TOPCON).

Conecte el conector de 4 pines de la rama de 66 cm del arnés de cables del kit marcado ASC 10 PWR & CAN FROM X30 al conector hembra de 4 vías del arnés de datos marcado CAN 2/ASC10 BUS (Figura 201).
Enrute el arnés de datos y el arnés de la batería por el travesaño del soporte del asiento, y sujete la rama de 390 cm del arnés de datos al travesaño con 2 bridas (Figura 200 y Figura 202).

Enrute la rama de 220 cm del arnés de la batería por el tubo derecho superior del bastidor (Figura 202).
Enrute la rama de 220 cm del arnés de la batería por el tubo de sujeción del amortiguador y hacia la batería (Figura 202).
Note: Asegúrese de que la rama de 100 cm de interconexión eléctrica (alimentación conmutada) permanece enrutada junto al tubo derecho superior del bastidor.
Enrute la rama de 220 cm del arnés de datos (la rama del arnés con el conector hembra de 26 vías) por debajo de la consola de control y hacia adelante, hacia el salpicadero (Figura 202).

Enrute la rama de 220 cm del arnés de datos (la rama del arnés con el conector hembra de 26 vías) hacia adelante y por debajo del salpicadero (Figura 204).

Enrute la rama de 220 cm del arnés de datos por el tubo de sujeción del monitor (Figura 204).
Alinee el conector hembra de 26 vías del arnés de datos con el conector de 26 pines del monitor de fumigación e introduzca el conector macho en el conector hembra hasta que el cierre del conector se enganche firmemente (Figura 205).

Asegúrese de que la rama de 220 cm del arnés de datos tiene suficiente holgura para que el operador del fumigador pueda ajustar la posición del monitor, y sujete el arnés al tubo de sujeción del monitor con bridas, según se muestra en Figura 204.
Retire las tuercas hexagonales y las arandelas de las abrazaderas de desconexión rápida con palancas roja y negra (Figura 206).

Abra la palanca de la abrazadera de desconexión rápida con palanca negra (Figura 207).

Monte la abrazadera de desconexión rápida en el borne negativo de la batería, con el espárrago roscado de la abrazadera orientado hacia el centro de la batería, según se muestra en Figura 206.
Cierre la palanca de la abrazadera de desconexión rápida (Figura 207).
Note: Si es necesario ajustar la fuerza de apriete de la abrazadera de desconexión rápida, abra la palanca, gire la tuerca moleteada para aumentar o reducir la fuerza de apriete, y cierre la palanca de la abrazadera.
Repita los pasos 2 a 4 con la abrazadera de desconexión rápida con palanca roja en el borne positivo de la batería.
Un enrutado incorrecto de los cables de la batería podría dañar la máquina y los cables, causando chispas. Las chispas podrían hacer explotar los gases de la batería, causando lesiones personales.
Desconecte siempre el cable negativo (negro) de la batería antes de desconectar el cable positivo (rojo).
Conecte siempre el cable positivo (rojo) de la batería antes de conectar el cable negativo (negro).
Los bornes de la batería o las herramientas metálicas podrían hacer cortocircuito con los componentes metálicos, causando chispas. Las chispas podrían hacer explotar los gases de la batería, causando lesiones personales.
Al retirar o colocar la batería, no deje que los bornes toquen ninguna parte metálica de la máquina.
No deje que las herramientas metálicas hagan cortocircuito entre los bornes de la batería y las partes metálicas de la máquina.

Haga un corte en el capuchón aislante del cable positivo de la batería que va al motor de arranque, según se muestra en Figura 209.

Monte los siguientes cables y terminales en el espárrago roscado del borne positivo de la batería (Figura 210), en el orden siguiente:
Note: Asegúrese de que el terminal del cable positivo que va desde la batería al motor de arranque está situado encima de la pila de terminales del espárrago roscado.
Terminal de anillo – arnés de cables de la máquina de 22 cm marcado BATTERY (+)
Terminal de anillo — rama de 220 cm del arnés de la batería marcado ***IMPORTANT*** CONNECT THIS WIRE TO POSITIVE ON BATTERY
Terminal de anillo — rama de 60 cm del arnés de cables del kit marcado TO BATTERY POSITIVE
Terminal del cable de la batería (positivo) — al alternador (50 A)
Terminal del cable de la batería (positivo) — al motor de arranque

Monte la tuerca hexagonal (¼") y la arandela (¼") en el espárrago roscado, y apriete la tuerca a 1017 – 1234 N·cm.
Coloque el capuchón aislante del cable positivo de la batería que va al motor de arranque sobre el espárrago roscado (Figura 210).
Monte los siguientes cables y terminales en el espárrago roscado del borne negativo de la batería (Figura 211), en el orden siguiente:
Note: Asegúrese de que el terminal del cable negativo que va desde la batería a la conexión de masa del motor y el chasis está situado encima de la pila de terminales del espárrago roscado.
Terminal de anillo — rama de 220 cm del arnés de la batería marcado ***IMPORTANT*** CONNECT THIS WIRE TO – VE TERMINAL OF BATTERY WHICH IS CONNECTED TO TRACTOR FRAME
Terminal de anillo — rama de 60 cm del arnés de cables del kit — borne negativo de la batería
Terminal del cable de la batería (negativo) — a la conexión de masa del motor y el chasis

Recoja el exceso de cables del arnés de datos contra el tubo superior derecho del bastidor (Figura 212).

Sujete el arnés de datos al tubo de sujeción del amortiguador con una brida (Figura 212).
Sujete el exceso de cables del arnés de datos al tubo superior derecho del bastidor con una brida (Figura 212).
Compruebe que hay espacio suficiente entre las poleas y las correas y el arnés de datos, el arnés de la batería, el arnés de cables del kit y los cables de la batería.
Sujete el arnés de cables y los cables con bridas, según sea necesario, para mantenerlos alejados de las correas y de las poleas.
Piezas necesarias en este paso:
| Grapa | 13 |
Alinee los orificios del capó con los orificios del salpicadero y del bastidor de la máquina (Figura 213).

Sujete el capó al salpicadero y al bastidor con 9 grapas (Figura 213).
Conecte los 2 conectores hembra de 2 vías del arnés de cables de la máquina a los conectores de 2 pines de los faros derecho e izquierdo (Figura 214).

Alinee el panel interior del guardabarros con los tubos superior izquierdo e inferior izquierdo del bastidor (Figura 214).

Sujete el panel interior del guardabarros a los tubos del bastidor con las 6 grapas (Figura 215).
Alinee los orificios del guardabarros con los orificios del bastidor de la máquina, según se muestra en Figura 215.

Monte provisionalmente el guardabarros en el bastidor (Figura 216) con los 3 pernos (5/16" x 1") y 3 arandelas (5/16") que retiró en el paso 2 de Retirada del guardabarros delanteros izquierdo y derecho.
Sujete el guardabarros al perfil del bastidor con las 2 grapas (Figura 217).

Apriete el perno (5/16" x 1") a 1978 – 2542 N·cm.
Repita los pasos 1 a 6 con el panel interior del guardabarros y el guardabarros del otro lado de la máquina.
Alinee el asiento y la chapa del asiento con el chasis de la máquina (Figura 219).

Alinee los orificios de los soportes de giro de la base del asiento con los orificios del soporte del chasis (Figura 220).


Sujete la base del asiento a los soportes del chasis con los 2 pasadores de giro (Figura 220).
Sujete los pasadores de giro a la máquina con las 2 chavetas (Figura 220).
Sujete la varilla de sujeción al soporte del asiento con una arandela y una chaveta (Figura 221).

Enchufe el conector hembra de 2 vías del arnés de cables de la máquina en el conector del interruptor del asiento hasta que los conectores encajen firmemente (Figura 222).

Gire el asiento ligeramente hacia adelante, retire la varilla de sujeción de la muesca de retención, y gire el asiento hacia abajo hasta que se enganche correctamente.
Introduzca la llave en el interruptor de encendido y gírela a la posición de CONECTADO.
La pantalla de presentación aparece en la pantalla del InfoCenter y el testigo se enciende momentáneamente (Figura 223).
Note: No arranque el motor.

En la pantalla de Inicio, pulse el botón central del InfoCenter para acceder a la pantalla de navegación (Figura 224).

Pulse el botón central del InfoCenter para acceder al menú principal (Figura 224).
En la pantalla MAIN MENU, pulse el botón central para desplazarse a la opción SETTING, y pulse el botón derecho para seleccionar esa opción (Figura 225).

En la pantalla SETTING, pulse el botón central para desplazarse a la opción PROTECTED SETTINGS, y pulse el botón derecho para seleccionar esa opción.

Introduzca el código PIN como se indica a continuación:
Pulse el botón central las veces que sea necesario para introducir el número del código PIN que corresponde a la posición de la izquierda (Figura 227).

Pulse el botón derecho para desplazarse al número siguiente del código PIN (Figura 227).
Repita los pasos 1 y 2 para los 3 números restantes del código PIN.
Cuando termine de introducir los números del código PIN, pulse el botón derecho (Figura 227) y luego el botón central para introducir el código PIN (Figura 228).
El testigo se enciende momentáneamente.

Pulse el botón central para desplazarse a la opción GEOLINK, y pulse el botón derecho para seleccionar la opción (Figura 229).

Aparece la pantalla de confirmación de GeoLink en el InfoCenter (Figura 230).

Gire el interruptor de encendido a la posición de DESCONECTADO y luego a la posición de CONECTADO.
La pantalla de presentación de GEOLINK aparece inicialmente cuando se gira la llave de contacto a la posición de CONECTADO.

Gire la llave de contacto a la posición de MARCHA (gasolina) o PRECALENTAMIENTO/MARCHA (diésel).
Compruebe que cada uno de los siguientes componentes indica que recibe potencia:
Gire la llave de contacto a la posición de DESCONECTADO.
Compruebe que los componentes siguientes no reciben corriente:
Consola de control
Receptor de satélite
Controlador automático de secciones
Gire la llave de contacto a la posición de MARCHA (gasolina) o PRECALENTAMIENTO/MARCHA (diésel).
Pulse el icono ACERCA DE (Toro) en la esquina superior izquierda de la consola de control (Figura 235).

Compare los números de versión del software en los lugares siguientes:
Cuando se utiliza, la página de la Guía de software de su sistema GeoLink
Pantalla de la consola de control
Note: Si las versiones de software son diferentes, póngase en contacto con Toro NSN en 1-844-GEOLINK (1-844-436-5465) o con NSNTech@toro.com para obtener asistencia técnica.
Seleccione las unidades de medida; consulte el Manual del operador o la Guía de software de su sistema GeoLink.
Cree una nueva parcela; consulte el Manual del operador o la Guía de software de su sistema GeoLink.
Cree un nuevo producto y caudal de aplicación; consulte el Manual del operador o la Guía de software de su sistema GeoLink.
Equilibre las válvulas de boquilla mediante los procedimientos siguientes:
Selección de la boquilla de fumigación - Preparación del equilibrado de las válvulas de boquilla; consulte el Manual del operador o la Guía de software de su sistema GeoLink.
Selección de la válvula de boquilla – Asistente de equilibrado de válvulas – Pasos 1 a 3; consulte el Manual del operador o la Guía de software de su sistema GeoLink.
Selección de la válvula de boquilla – Asistente de equilibrado de válvulas – Pasos 4 a 6; consulte el Manual del operador o la Guía de software de su sistema GeoLink.
Pulse el menú Trabajos y pulse el icono CREAR NUEVO TRABAJO (Figura 236).

Utilice el teclado en pantalla para escribir un nombre para el trabajo genérico, y pulse el icono Confirmar (Figura 236).
En el cuadro de diálogo Nuevo trabajo, pulse el icono de la BOQUILLA (Figura 237).

En la lista de selección de boquillas, pulse cualquier icono de boquilla y pulse el icono Confirmar (Figura 237).
En el cuadro de diálogo Nuevo trabajo, pulse el icono Confirmar (Figura 238).

Accione el freno de estacionamiento.
Añada 200 litros de agua al depósito de fumigación; consulte el Manual del operador de la máquina.
Arranque el motor y ponga la velocidad del motor en Rápido.
En la consola de control GeoLink, pulse el icono CONTROLADOR DE CAUDAL DE FUMIGACIóN (Figura 239).

En el cuadro de diálogo Controlador del caudal de fumigación, pulse el icono MODO DE CONTROL DE CAUDAL hasta que aparezca el modo manual (Figura 239).
Presione el icono Reducir (-) o Aumentar (+) para ajustar la presión del sistema de fumigación (Figura 239) a 13,75 bar.
En la máquina, mueva el interruptor de sección maestro a la posición de ACTIVADO (Figura 240).

En la consola de control GeoLink, pulse el icono INTERRUPTOR MAESTRO (Figura 241) a ACTIVADO (verde).

Compruebe que todos los acoplamientos y componentes del fumigador están libres de fugas.
Note: Si encuentra fugas, apague el motor y repare el acoplamiento o el componente.
Ponga el freno de estacionamiento y arranque el motor.
Note: Deje que el motor y el sistema hidráulico se calienten durante 10 minutos.
Asegúrese de que el interruptor de sección maestro está en la posición de DESACTIVADO.
Ponga el interruptor de la bomba de fumigación y el interruptor de agitación del depósito en la posición de ACTIVADO.
Ponga los interruptores de las secciones izquierda, central y derecha en la posición de ACTIVADO.
Ponga la velocidad del motor en Rápido.
En la consola de control GeoLink, pulse el icono CONTROLADOR DE CAUDAL DE FUMIGACIóN.
En el cuadro de diálogo Controlador del caudal de fumigación, pulse el icono MODO DE CONTROL DE CAUDAL hasta que aparezca el modo manual (Figura 242).

Presione el icono Reducir (-) o Aumentar (+) para ajustar la presión del sistema de fumigación (Figura 242) a 6,9 bar.
En la máquina, ponga el interruptor de agitación del depósito en la posición de DESACTIVADO.
Observe la presión del sistema de fumigación. Si la presión del sistema de fumigación es de 6,9 bar, la válvula de agitación está correctamente ajustada.
Si la presión del sistema de fumigación ha cambiado, ajuste la válvula de desvío de agitación; consulte Ajuste de la válvula de desvío de agitación.
Con el interruptor de agitación del depósito en la posición de DESACTIVADO, vaya a la parte trasera de la máquina y localice la válvula de desvío de agitación.

Ajuste la válvula de desvío de agitación (Figura 243) hasta que el indicador indique una presión del sistema de fumigación de 6,89 bar (689 kPa).
Ponga el interruptor de agitación del depósito en la posición de ACTIVADO y observe la presión del sistema de fumigación.
Note: Si el indicador de presión del sistema de fumigación indica más de 6,9 bar, repita los pasos 1 y 2.
Ponga el interruptor de agitación del depósito en la posición de DESACTIVADO y observe la presión del sistema de fumigación.
Note: Si el indicador de presión del sistema de fumigación indica más de 6,9 bar, repita los pasos 1 y 2.
Calibre el caudalímetro; consulte el Manual del operador o la Guía de software de su sistema GeoLink.
Mueva la máquina al aire libre, lejos de edificios y líneas eléctricas.
Accione el freno de estacionamiento.
En la consola de control GeoLink, pulse el icono INFORMACIóN GPS (Figura 244).

Pulse el icono Diagnóstico Celular, y compruebe que el campo de estado celular muestra N-TRIP CONECTADO RECIBIENDO DATOS (Figura 245).
Note: Si el campo de estado celular muestra otro mensaje que no sea N-TRIP CONECTADO RECIBIENDO DATOS, póngase en contacto con Toro NSN en 1-844-GEOLINK (1-844-436-5465) o con NSNTech@toro.com para obtener asistencia técnica.

Pulse el icono Confirmar para cerrar el cuadro de diálogo.
Realice una calibración de la brújula en la ubicación del distribuidor; consulte Calibración de la brújula en el Manual del operador o la Guía de software de su sistema GeoLink.
Important: Debe borrar la memoria RAM no volátil en la ubicación del cliente.
Póngase en contacto con Toro NSN en 1-844-GEOLINK (1-844-436-5465) o con NSNTech@toro.com (asistencia al cliente) para solicitar la contraseña de acceso del distribuidor.
Gire la llave de contacto a la posición de CONECTADO.
Pulse el icono CONFIGURACIóN de la pantalla principal (Figura 246).

En la pantalla de configuración, pulse el icono USUARIO y el icono NIVEL DE ACCESO (Figura 247).

Pulse el icono CONTRASEñA (Figura 247).
Utilice el teclado en pantalla para introducir la contraseña que recibió en el paso 1, y pulse el icono Confirmar (Figura 248).

Note: La pantalla de nivel de acceso del usuario muestra el icono DISTRIBUIDOR (Figura 249).

En la pantalla Configuración, pulse el icono SISTEMA, el icono GPS y el icono CONFIGURACIóN AVANZADA (Figura 250).

En la pantalla Configuración avanzada del GPS, pulse el icono REINICIAR NVRAM (Figura 250).
En el cuadro de diálogo Advertencia recepción GPS, pulse el icono Sí (Figura 250).
Note: Se muestra brevemente la advertencia Receptor desconectado (Figura 251).

Espere 2 minutos para que se inicien el receptor de satélite y el módem.
Pulse el icono SALIR DE CONFIGURACIóN

Gire el interruptor de encendido a la posición de DESCONECTADO.
Realice una calibración de la brújula en la ubicación del cliente; consulte Calibración de la brújula en el Manual del operador o la Guía de software de su sistema GeoLink.