Onderhoud
Note: Bepaal vanuit de normale bedieningspositie de linker- en rechterzijde van de machine.
Aanbevolen onderhoudsschema
| Onderhoudsinterval | Onderhoudsprocedure |
|---|---|
| Na de eerste 10 bedrijfsuren |
|
| Bij elk gebruik of dagelijks |
|
| Vóór de stalling |
|
Waarschuwing
Als u het sleuteltje in het contact laat, bestaat de kans dat iemand de motor per ongeluk start waardoor u en andere omstanders ernstig letsel kunnen oplopen.
Haal het sleuteltje uit het contact en maak de bougiekabel los voordat u onderhoudswerkzaamheden uitvoert aan de machine. Druk de kabel opzij, zodat deze niet onbedoeld contact kan maken met de bougie.
Waarschuwing
Motoren kunnen tijdens het gebruik heet worden. Aanraking met hete oppervlakken kan brandwonden veroorzaken.
Laat motoren en vooral de geluiddemper afkoelen voordat u ze aanraakt.
Waarschuwing
Afval zoals bladeren, gras of struiken kunnen vlam vatten. Brand in het motorgedeelte kan letsel en materiële schade veroorzaken.
-
Zorg ervoor dat er zich geen vuil rond de motor en de geluiddemper verzamelt.
-
Pas op dat er bij het openen van de klep van de grasvanger geen afval op de motor en de geluiddemper valt.
-
Laat de motor afkoelen voordat u de machine stalt.
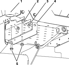
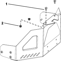
De grasvanger controleren
| Onderhoudsinterval | Onderhoudsprocedure |
|---|---|
| Na de eerste 10 bedrijfsuren |
|
| Vóór de stalling |
|
Controleer de grasvanger na de eerste 10 bedrijfsuren en daarna elke maand.
-
Inspecteer het uitwerpkanaal, de afvoerbuis en het bovenstuk van de grasvanger. Vervang deze onderdelen als zij gebarsten of gebroken zijn.
-
Draai alle moeren, bouten en schroeven goed aan.
-
Controleer alle bevestigingen en vergrendelingen; vervang deze als zij ontbreken of beschadigd zijn.
-
Controleer de graszakken op slijtage.
Waarschuwing
De bestuurder of omstanders kunnen ernstig letsel oplopen als gevolg van rondvliegende brokstukken of uitgeworpen voorwerpen uit gescheurde, beschadigde of versleten graszakken.
-
Controleer de graszakken op gaten, scheuren, slijtage en andere beschadigingen.
-
U mag de graszakken niet wassen.
-
Als de zak is versleten, moet u een nieuwe graszak plaatsen die verkrijgbaar is bij de fabrikant van deze grasvanger.
-
De maaimessen controleren
Controleer de maaimessen regelmatig, en altijd als het mes een vreemd voorwerp heeft geraakt.
Als de messen sterk zijn versleten of beschadigd, moet u nieuwe messen monteren. Raadpleeg de Gebruikershandleiding van de maaimachine voor het volledige onderhoud van de messen.
Onderhoud van de graszakken
U mag de graszakken niet wassen.
Om te voorkomen dat het materiaal waaruit de zakken zijn vervaardigd, snel slijt, moet u de zakken opslaan op een plaats waar zij na gebruik volledig kunnen drogen.
De grasvanger reinigen
| Onderhoudsinterval | Onderhoudsprocedure |
|---|---|
| Bij elk gebruik of dagelijks |
|
| Vóór de stalling |
|
-
Na elk gebruik moet de binnen- en buitenzijde van het bovenstuk van de grasvanger, de afvoerbuis, het uitwerpkanaal en de onderkant van het maaidek verwijderen en met behulp van een tuinslang schoonspuiten met water. Gebruik een mild reinigingsmiddel om hardnekkig vuil te verwijderen.
-
Let erop dat u aangekoekt gras van alle onderdelen verwijdert.
-
Spoel de graszakken met water uit een tuinslang om eventueel vuil te verwijderen.
-
Na het wassen moet u alle onderdelen grondig laten drogen.

























