Manutenção
Note: Determine os lados direito e esquerdo da máquina a partir da posição normal de utilização.
Plano de manutenção recomendado
| Intervalo de assistência | Procedimento de manutenção |
|---|---|
| Após as pimeiras 10 horas |
|
| Em todas as utilizações ou diariamente |
|
| Antes do armazenamento |
|
Aviso
Se deixar a chave na ignição, alguém pode ligar acidentalmente o motor e feri-lo a si ou às pessoas que se encontrarem próximo da máquina.
Retire a chave da ignição e os cabos das velas antes de efetuar qualquer tarefa de manutenção no veículo. Mantenha o cabo longe da máquina para evitar qualquer contacto acidental com a vela.
Aviso
Os motores podem aquecer quando estão em funcionamento. Podem ocorrer queimaduras pelo contacto com superfícies quentes.
Deixe arrefecer os motores, especialmente o escape, antes de lhe tocar.
Aviso
Os detritos, por exemplo as folhas, relva ou vegetação podem incendiar-se. Um incêndio na zona do motor pode causar ferimentos pessoais e danos materiais.
-
Mantenha a área do motor e do escape livre de acumulação de detritos.
-
Tenha cuidado ao operar a cobertura do depósito de recolha para impedir que os detritos caiam na área do motor e do escape.
-
Deixe a máquina arrefecer antes de a guardar.
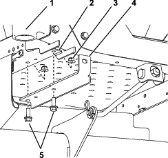
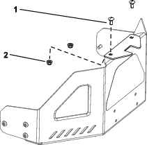
Inspeção do acessório do depósito de recolha
| Intervalo de assistência | Procedimento de manutenção |
|---|---|
| Após as pimeiras 10 horas |
|
| Antes do armazenamento |
|
Inspecione o acessório do depósito de recolha depois das primeiras 10 horas de funcionamento e mensalmente a partir daí.
-
Verifique a calha, tubo de descarga e parte superior do depósito de recolha Substitua estas peças, se estiverem rachadas ou partidas.
-
Aperte todas as porcas e parafusos.
-
Inspecione todas as fixações e fechos; substitua qualquer um que esteja em falta ou danificado.
-
Verifique se há deterioração nos sacos de relva.
Aviso
Você ou outras pessoas na área podem ficar gravemente feridas por detritos ou objetos projetados que possam passar através de sacos de relva rasgados, gastos ou deteriorados.
-
Verifique se os sacos de relva têm furos, rasgos, desgaste e outra deterioração.
-
Não lave os sacos de relva.
-
Se o saco estiver deteriorado, instale um novo saco de relva fornecido pelo fabricante deste acessório de depósito de recolha.
-
Inspeção das lâminas do cortador
Inspecione as lâminas do cortador regularmente e sempre que uma lâmina bater num objeto estranho.
Se as lâminas estiverem gastas ou danificadas, instale as novas lâminas. Consulte o Manual do utilizador do cortador para obter informações completas sobre a manutenção da lâmina.
Cuidar dos sacos de relva
Não lave os sacos de relva.
Para evitar a rápida deterioração do material do saco, guarde os sacos onde sequem completamente após cada utilização.
Limpeza do acessório do depósito de recolha
| Intervalo de assistência | Procedimento de manutenção |
|---|---|
| Em todas as utilizações ou diariamente |
|
| Antes do armazenamento |
|
-
Após cada utilização, remova e lave o interior e exterior da parte superior do depósito de recolha, tubo de descarga, calha e a parte inferior do cortador, utilizando água pulverizada de uma mangueira de jardim. Utilize detergente suave para remover sujidade mais difícil.
-
Certifique-se de que remove relva comprimida de todas as peças.
-
Enxague os sacos de relva com água utilizando uma mangueira de jardim para remover qualquer detrito.
-
Após a lavagem, deixe secar totalmente todas as partes.

























