Vedlikehold
Note: Fastslå hva som er høyre og venstre side på maskinen ved å stå i normal arbeidsstilling.
Anbefalt vedlikeholdsplan
| Vedlikeholdsintervall | Vedlikeholdsprosedyre |
|---|---|
| Etter de 10 første timene |
|
| For hver bruk eller daglig |
|
| Før lagring |
|
Advarsel
Dersom du lar nøkkelen stå i tenningsbryteren, kan noen utilsiktet starte motoren, noe som kan påføre deg eller andre personer alvorlige skader.
Ta nøkkelen ut av tenningen, og koble kabelen fra tennpluggen før du utfører vedlikehold. Legg kabelen til side, slik at den ikke kan komme i kontakt med tennpluggen ved et uhell.
Advarsel
Motorene kan bli varme under drift. Kontakt med varme overflater kan resultere i brannskader.
La motorene, særlig lyddemperen, kjøle seg ned før du rører dem.
Advarsel
Rusk, som løv, gress eller buskrester, kan ta fyr. En brann i motorområdet kan forårsake personskade eller eiendomsskade.
-
Pass på at det ikke samler seg rusk i motor- og lyddemperområdet.
-
Vær forsiktig når du åpner oppsamlerdekselet slik at ikke rusk faller ned i motor- og lyddemperområdet.
-
La motoren kjøle seg ned før oppbevaring.
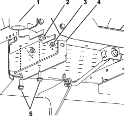
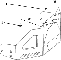
Inspisere oppsamlertilbehøret
| Vedlikeholdsintervall | Vedlikeholdsprosedyre |
|---|---|
| Etter de 10 første timene |
|
| Før lagring |
|
Inspiser oppsamlertilbehøret etter de 10 første driftstimene og deretter hver måned.
-
Kontroller sjakten, utslippsrøret og oppsamlertoppen. Skift ut disse delene hvis de er sprukne eller ødelagte.
-
Stram alle løse skruer, bolter og muttere.
-
Undersøk alle fester og låser. Erstatt alle deler som mangler eller er skadde.
-
Kontroller om gressposene er slitte.
Advarsel
Du eller personer i nærheten kan bli alvorlig skadet av rusk eller gjenstander som slynges ut gjennom en slitt eller revnet gresspose.
-
Sjekk gressposene for hull, rifter, slitasje og annen forringelse.
-
Du må ikke vaske gressposene.
-
Hvis posen har blitt forringet, monter nye gressposer fra produsenten av dette oppsamlertilbehøret.
-
Undersøke knivbladene
Inspiser knivbladene regelmessig og hver gang en kniv treffer en gjenstand.
Hvis knivene er svært slitte eller skadde, monter nye kniver. Du finner mer informasjon om vedlikeholdsprosedyrer for knivene i brukerhåndboken for gressklipperen.
Vedlikehold av gressposene
Du må ikke vaske gressposene.
For å forhindre rask forringelse av posematerialet, bør posene oppbevares på en slik måte at de tørker helt etter hver gang de brukes.
Rengjøre oppsamlertilbehøret
| Vedlikeholdsintervall | Vedlikeholdsprosedyre |
|---|---|
| For hver bruk eller daglig |
|
| Før lagring |
|
-
Fjern og vask innsiden og utsiden av oppsamlertoppen, utslippsrøret, sjakten og undersiden av gressklipperen med en vannslange. Bruk et mildt rengjøringsmiddel for å fjerne gjenstridig smuss.
-
Påse at du fjerner gresstufser fra alle deler.
-
Skyll gressposene med rent vann fra hageslange for å fjerne gressrester.
-
Når du har vasket alle delene, la dem tørke grundig.

























