Manutenzione
Note: Stabilite i lati sinistro e destro della macchina rispetto alla normale posizione di guida.
Programma di manutenzione raccomandato
| Cadenza di manutenzione | Procedura di manutenzione |
|---|---|
| Dopo le prime 10 ore |
|
| Prima di ogni utilizzo o quotidianamente |
|
| Prima del rimessaggio |
|
Avvertenza
Se lasciate la chiave nell'interruttore di accensione, qualcuno potrebbe accidentalmente avviare il motore e ferire gravemente voi od altre persone.
Prima di eseguire qualsiasi intervento di manutenzione, togliete la chiave dall'interruttore di accensione e staccate il cappellotto della candela. e riponetelo in un luogo sicuro, perché non tocchi accidentalmente la candela.
Avvertenza
I motori possono riscaldarsi durante l’uso. Il contatto con le superfici calde può causare ustioni.
Lasciate raffreddare i motori, soprattutto la marmitta, prima di toccarli.
Avvertenza
I detriti, quali foglie, erba o spazzole possono incendiarsi. Un incendio nell’area del motore può causare infortuni e danni.
-
Mantenete l’area del motore e della marmitta libera da accumulo di detriti.
-
Nel rimuovere il coperchio del sistema di raccolta fate attenzione a non far cadere i detriti nell’area del motore e della marmitta.
-
Lasciate raffreddare la macchina prima del rimessaggio.
Controllo del sistema di raccolta
| Cadenza di manutenzione | Procedura di manutenzione |
|---|---|
| Dopo le prime 10 ore |
|
| Prima del rimessaggio |
|
Controllate il sistema di raccolta dopo le prime dieci ore di servizio, ed in seguito ogni mese.
-
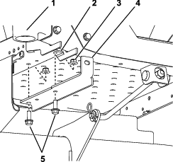
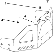
Controllate il camino di scarico, il tubo di scarico ed il coperchio del sistema di raccolta. Se sono incrinati o rotti, sostituiteli.
-
Serrate tutti i dadi, i bulloni e le viti.
-
Controllate tutti i fermagli e i dispositivi di fermo; sostituiteli se sono danneggiati o se mancano.
-
Verificate che i cesti di raccolta non siano usurati.
Avvertenza
Detriti od oggetti lanciati da cesti di raccolta lacerati, usurati o rovinati possono ferire gravemente voi e altre persone.
-
Verificate che i cesti non presentino fori, strappi, segni di usura o altro deterioramento.
-
I cesti di raccolta non devono essere lavati.
-
In caso di deterioramento del tessuto, montate nuovi cesti di raccolta forniti dal produttore di questo accessorio.
-
Controllo delle lame del tosaerba
Controllate periodicamente le lame del tosaerba ed ogni volta che una lama colpisce un corpo estraneo.
Sostituite con lame nuove le lame molto usurate o danneggiate. Per la manutenzione completa delle lame si rimanda al tosaerba o al Manuale dell’operatore del tosaerba.
Cura dei cesti di raccolta
I cesti di raccolta non devono essere lavati.
Per impedire il rapido deterioramento del tessuto dei cesti conservateli in un luogo dove possano asciugare completamente dopo l’utilizzo.
Pulizia del sistema di raccolta
| Cadenza di manutenzione | Procedura di manutenzione |
|---|---|
| Prima di ogni utilizzo o quotidianamente |
|
| Prima del rimessaggio |
|
-
Rimuovete e lavate sempre, dopo l’utilizzo, l’interno e l’esterno del coperchio del sistema di raccolta, il tubo e il camino di scarico, ed il sottoscocca, con acqua spruzzata da un flessibile da giardino. Eliminate lo sporco ostinato con un detergente neutro.
-
Non dimenticate di eliminare l’erba feltrata da tutti i componenti.
-
Usate un tubo flessibile da giardino per sciacquare i cesti con acqua ed eliminare tutti i detriti.
-
Dopo il lavaggio lasciate asciugare completamente tutti i componenti.

























