Maintenance
Note: Determine the left and right sides of the machine from the normal operating position.
Recommended Maintenance Schedule(s)
| Maintenance Service Interval | Maintenance Procedure |
|---|---|
| After the first 10 hours |
|
| Before each use or daily |
|
| Before storage |
|
Warning
If you leave the key in the ignition switch, someone could accidently start the engine and seriously injure you or other bystanders.
Remove the key from the ignition and disconnect the wire from the spark plug before you do any maintenance. Set the wire aside so that it does not accidentally contact the spark plug.
Warning
Engines can become hot when they are operating. Burns can occur from contacting hot surfaces.
Allow engines, especially the muffler, to cool before touching.
Warning
Debris, such as leaves, grass, or brush can catch fire. A fire in the engine area can cause personal injury and property damage.
-
Keep the engine and muffler area free of debris accumulation.
-
Take care when opening the bagger cover to keep debris from falling onto the engine and muffler area.
-
Allow the machine to cool before storing it.
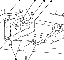
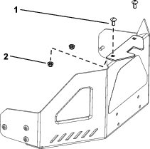
Inspecting the Bagger Attachment
| Maintenance Service Interval | Maintenance Procedure |
|---|---|
| After the first 10 hours |
|
| Before storage |
|
Inspect the bagger attachment after the first 10 hours of operation, and monthly thereafter.
-
Check the chute, discharge tube, and the bagger top. Replace these parts if they are cracked or broken.
-
Tighten all nuts, bolts, and screws.
-
Inspect all fasteners and latches; replace any missing or damaged.
-
Inspect the grass bags for deterioration.
Warning
You or bystanders could be severely injured by flying debris or thrown objects that may pass through torn, worn, or deteriorated grass bags.
-
Check the grass bags for holes, rips, wear, and other deterioration.
-
Do not wash the grass bags.
-
If the bag has deteriorated, install new grass bags supplied by the manufacturer of this bagger attachment.
-
Inspecting the Mower Blades
Inspect the mower blades regularly and whenever a blade strikes a foreign object.
If the blades are badly worn or damaged, install new blades. Refer to your mower or mower Operator's Manual for complete blade maintenance.
Caring for the Grass Bags
Do not wash the grass bags.
To prevent rapid deterioration of the bag material, store the bags where they will dry completely after each use.
Cleaning the Bagger Attachment
| Maintenance Service Interval | Maintenance Procedure |
|---|---|
| Before each use or daily |
|
| Before storage |
|
-
After each use, remove and wash the inside and outside of the bagger top, discharge tube, chute, and the underside of the mower, using water sprayed from a garden hose. Use a mild detergent to remove stubborn dirt.
-
Ensure that you remove matted grass from all parts.
-
Flush the grass bags with water using garden hose to remove any debris.
-
After washing, let all of the parts dry thoroughly.

























