Parts needed for this procedure:
| Shipping carton | 1 |
| Tape | 1 |
| Large foam panel | 2 |
| Long foam panel | 2 |
| Short foam panel | 2 |
| Bag | 1 |
| Class 9 label | 1 |
| Air-shipping label | 1 |
Unfold and assemble the shipping carton and tape the bottom flaps with the provided tape.
Important: Center the tape over the butted flaps, running it along the full length of the bottom of the carton and extending it up both vertical faces of the carton by a minimum length of 7.6 cm (3 inches); refer to Figure 2.
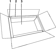
Place a large foam panel into the bottom of the carton, 2 short foam panels at the ends of the carton, and 2 long foam panels into the carton at each side (Figure 1).

Place the battery pack completely into the bag and fold the excess bag over the top of the battery.
Insert the bagged battery into the carton and place the remaining large foam panel over the top of the battery.
Close the top flaps of carton and seal it using the provided tape.
Important: Center the tape over the butted flaps, running it along the full length of the top of the carton and extending it down both vertical faces of the carton by a minimum length of 7.6 cm (3 inches); refer to Figure 2.

Affix the shipping labels to the dotted-line areas as shown in Figure 3.
Important: Do not affix the air-shipping label if you are not shipping by air.
