保守
Note: 前後左右は運転位置からみた方向です。
注意
始動キーをつけたままにしておくと、誰でもいつでもエンジンを始動させることができ、危険である。
整備・調整作業の前には必ずエンジンを停止し、キーを抜いておくこと。点火コードが点火プラグに触れないように十分離しておくこと。
危険
作動中のエンジンは高温になる。高温部に触れると大やけどを負う危険がある。
エンジン関連の機器、特にマフラーに触れる作業は、温度が下がってから行うこと。
危険
落ち葉、刈りかす、木の枝などは燃える可能性がある。エンジン付近で火災が起こると人身事故や物損事故になる恐れがある。
-
エンジンやマフラーの付近にごみを貯めないように注意すること。
-
バガーのカバーを開く時に、内部のごみをエンジンやマフラーの上に落とさないように注意すること。
-
機械の格納はエンジンが十分に冷えてから行う。
推奨される定期整備作業
| 整備間隔 | 整備手順 |
|---|---|
| 使用開始後最初の 10 時間 |
|
| 使用するごとまたは毎日 |
|
| 長期保管前 |
|
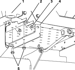
バガーアタッチメントの点検
| 整備間隔 | 整備手順 |
|---|---|
| 使用開始後最初の 10 時間 |
|
| 長期保管前 |
|
-
シュート、排出チューブ、バガートップを点検し、これらが破れていたり破損していたりしたら交換してください。
-
機体各部のゆるみを点検し、必要な締め付けや交換、修理を行う。
-
ボルト・ナットやラッチを点検し、無くなっていたり破損しているものは交換する。
-
集草バッグの劣化状態を調べる。
警告
集草バッグが破れていたり穴が開いていたりすると、そこから異物が飛び出す可能性があり、異物が人に当たると重大な人身事故に発展する恐れがある。
-
集草バッグに穴、破れ、その他の劣化がないか、よく点検すること。
-
集草バッグを洗わないこと。
-
古くなって劣化した集草バッグは新しいものに交換すること。
-
刈り込みブレードの点検
刈り込みブレードは定期的に点検し、また、異物に当たった場合には直ちに点検する。
ブレードがひどく磨耗していたり破損している場合には新しいものに交換する。ブレードの保守の詳細については、刈り込みデッキまたはマシンのオペレーターズマニュアル を参照のこと。
バガーアタッチメントの清掃
| 整備間隔 | 整備手順 |
|---|---|
| 使用するごとまたは毎日 |
|
| 長期保管前 |
|
-
使用後は毎回、バガートップ、排出チューブ、シュートを外してそれらの内側と外側、および刈り込みデッキの下側を水道の水(ホース)で洗う。落ちにくい汚れは刺激の少ない洗剤で落とす。
-
硬くこびりついている刈かすを十分に除去すること。
-
集草バッグはホースの水で洗浄して汚れを落とす。
-
洗浄後は、全部のパーツを完全に乾かす。




























