Mantenimiento
Note: Los lados derecho e izquierdo de la máquina se determinan desde la posición normal del operador.
Cuidado
Si deja la llave en el interruptor de encendido, alguien podría arrancar el motor accidentalmente y causar lesiones graves a usted o a otras personas.
Retire la llave del interruptor de encendido y desconecte el cable de la bujía antes de realizar cualquier operación de mantenimiento. Aparte el cable para evitar su contacto accidental con la bujía.
Peligro
Los motores pueden calentarse mientras están en marcha. El contacto con superficies calientes puede causar graves quemaduras.
Deje que los motores, sobre todo el silenciador, se enfríen antes de tocarlos.
Peligro
Las hojas, la hierba y la maleza pueden incendiarse. Un incendio en la zona del motor puede causar lesiones personales y daños materiales.
-
Mantenga la zona del motor y el silenciador libres de residuos.
-
Tenga cuidado al abrir la tapa del ensacador que no caigan residuos sobre la zona del motor y el silenciador.
-
Deje que se enfríe la máquina antes de almacenarla.
Calendario recomendado de mantenimiento
| Intervalo de mantenimiento y servicio | Procedimiento de mantenimiento |
|---|---|
| Después de las primeras 10 horas |
|
| Cada vez que se utilice o diariamente |
|
| Antes del almacenamiento |
|
Inspección del ensacador
| Intervalo de mantenimiento y servicio | Procedimiento de mantenimiento |
|---|---|
| Después de las primeras 10 horas |
|
| Antes del almacenamiento |
|
-
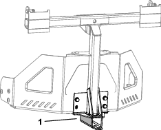
Compruebe el conducto, el tubo de descarga, y la tapa del ensacador. Cambie estos componentes si están agrietados o rotos.
-
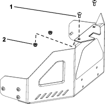
Apriete todos los pernos, tuercas y tornillos.
-
Inspeccione todos los herrajes y cierres; cambie los que estén dañados o que falten.
-
Compruebe que las bolsas de recogida no están deterioradas.
Advertencia
Si las bolsas de recogida están rotas, desgastadas o deterioradas, podrían dejar pasar y lanzar al aire residuos y otros objetos, lesionando gravemente a usted y a otras personas.
-
Compruebe las bolsas de recogida y asegúrese de que no tienen agujeros, roturas u otros deterioros.
-
No lave las bolsas de recogida.
-
Si las bolsas están deterioradas, instale bolsas de recogida nuevas suministradas por el fabricante de este accesorio ensacador.
-
Inspección de las cuchillas del cortacésped
Inspeccione las cuchillas del cortacésped regularmente, y siempre que una cuchilla haya golpeado algún objeto extraño.
Si las cuchillas están muy desgastadas o dañadas, instale cuchillas nuevas. Consulte el Manual del operador de su cortacésped respecto al mantenimiento de las cuchillas.
Limpieza del accesorio ensacador
| Intervalo de mantenimiento y servicio | Procedimiento de mantenimiento |
|---|---|
| Cada vez que se utilice o diariamente |
|
| Antes del almacenamiento |
|
-
Después de cada uso, retire y lave el interior y el exterior de la tapa del ensacador, el tubo de descarga, el conducto y los bajos del cortacésped, rociando agua con una manguera de jardín. Utilice un detergente suave para eliminar cualquier suciedad resistente.
-
Asegúrese de eliminar la hierba apelmazada de todas las piezas.
-
Enjuague las bolsas de recogida con agua usando una manguera de jardín para eliminar cualquier residuo.
-
Después del lavado, deje que se sequen completamente todas las piezas.




























