Underhåll
Note: Vänster och höger sida på maskinen är lika med förarens vänstra respektive högra sida vid normal körning.
Rekommenderat underhåll
| Underhållsintervall | Underhållsförfarande |
|---|---|
| Efter de första 10 timmarna |
|
| Varje användning eller dagligen |
|
| Före förvaring |
|
Var försiktig
Om du lämnar nyckeln i tändningslåset kan någon råka starta motorn av misstag och skada dig eller någon annan person allvarligt.
Ta ut nyckeln ur låset och lossa tändkabeln från tändstiftet innan du utför något underhåll. För kabeln åt sidan så att den inte oavsiktligt kommer i kontakt med tändstiftet.
Varning
En motor kan bli varm när den är i bruk. Varma ytor kan ge allvarliga brännskador.
Låt hela motorn, i synnerhet ljuddämparen, svalna innan du rör vid den.
Varning
Skräp, som löv, gräs och buskar, kan fatta eld. En motorbrand kan orsaka person- och egendomsskador.
-
Håll motorn och ljuddämparen rena från skräp.
-
Var försiktig när du använder uppsamlarlocket så att skräp inte faller ner på motorn eller ljuddämparen.
-
Låt maskinen svalna innan du ställer den i förvar.
Kontrollera uppsamlingsredskapet
| Underhållsintervall | Underhållsförfarande |
|---|---|
| Efter de första 10 timmarna |
|
| Före förvaring |
|
Kontrollera uppsamlingsredskapet efter de första 10 körtimmarna och därefter varje månad.
-
Kontrollera utkastaren, utkastarröret och uppsamlarlocket. Byt ut dessa delar om de är spruckna eller trasiga.
-
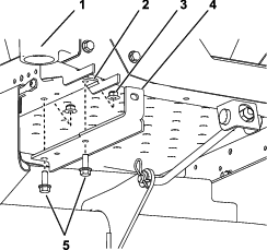
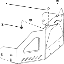
Dra åt alla muttrar, bultar och skruvar.
-
Kontrollera alla fästelement och spärrar; byt ut delar som är skadade eller saknas.
-
Kontrollera om gräspåsarna är trasiga.
Varning
Du själv eller kringstående kan skadas allvarligt om flygande skräp eller utslungade föremål passerar igenom slitna eller trasiga gräspåsar.
-
Kontrollera om det finns några hål eller revor på gräspåsarna samt om de verkar slitna eller har skadats på något annat sätt.
-
Tvätta inte gräspåsarna.
-
Om en påse är skadad ska du montera nya gräspåsar från den tillverkare som gjort det här uppsamlingsredskapet.
-
Kontrollera gräsklipparknivarna
Kontrollera gräsklipparknivarna regelbundet samt om en kniv slår emot någonting.
Montera nya knivar om de är väldigt slitna eller skadade. Komplett information om knivunderhåll finns i bruksanvisningen till klipparen.
Rengöra uppsamlingsredskapet
| Underhållsintervall | Underhållsförfarande |
|---|---|
| Varje användning eller dagligen |
|
| Före förvaring |
|
Note: För att undvika att påsmaterialet försämras snabbt, bör du förvara påsarna på en plats där de kan torka helt mellan varje användningstillfälle.
-
Ta bort och tvätta insidan och utsidan på uppsamlarlocket, utkastarröret, utkastaren och klipparens undersida efter varje användningstillfälle, med hjälp av vatten från en trädgårdsslang. Använd ett milt rengöringsmedel för att ta bort smuts som sitter fast hårt.
-
Se till att du får bort allt ihopklumpat gräs från alla delar.
-
Skölj gräspåsarna med vatten med en trädgårdsslang för att få bort eventuellt skräp.
-
Låt alla delar torka ordentligt efter att du har tvättat dem.



























