Wartung
Note: Bestimmen Sie die linke und rechte Seite der Maschine anhand der üblichen Einsatzposition.
Empfohlener Wartungsplan
| Wartungsintervall | Wartungsmaßnahmen |
|---|---|
| Nach 10 Betriebsstunden |
|
| Bei jeder Verwendung oder täglich |
|
| Vor der Einlagerung |
|
Achtung
Wenn Sie den Zündschlüssel im Zündschloss stecken lassen, könnte eine andere Person den Motor versehentlich anlassen und Sie und Unbeteiligte schwer verletzen.
Ziehen Sie vor dem Beginn von Wartungsarbeiten den Zündschlüssel und den Kerzenstecker ab. Schieben Sie außerdem den Kerzenstecker zur Seite, damit er nicht versehentlich die Zündkerze berührt.
Warnung:
Der Motor kann beim Betrieb heiß werden. Wenn Sie heiße Oberflächen berühren, können Sie schwere Verbrennungen erleiden.
Fassen Sie den Motor, besonders den Auspuff, erst nach dem Abkühlen an.
Warnung:
Rückstände, wie Laub, Gras oder Grünabfälle können Feuer fangen. Ein Brand im Motorraum kann schwere Verletzungen und Sachschäden verursachen.
-
Halten Sie den Motor und Auspuff von Rückständen frei.
-
Passen Sie beim Öffnen der Baggerabdeckung auf, dass keine Rückstände in den Motor- und Auspuffbereich fallen.
-
Lassen Sie die Maschine abkühlen, bevor Sie sie einlagern.
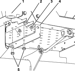
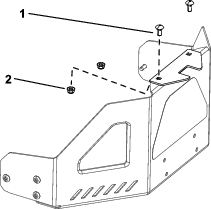
Prüfen des Heckfangsystems
| Wartungsintervall | Wartungsmaßnahmen |
|---|---|
| Nach 10 Betriebsstunden |
|
| Vor der Einlagerung |
|
Prüfen Sie das Heckfangsystem nach den ersten 10 Betriebsstunden und dann jeweils monatlich.
-
Prüfen Sie den Auswurfkanal, das Auswurfrohr und die Abdeckung des Heckfangsystems. Tauschen Sie diese Teile aus, wenn sie Risse aufweisen oder kaputt sind.
-
Ziehen Sie alle Schrauben und Muttern an.
-
Prüfen Sie alle Befestigungen und Zungen und wechseln Sie fehlende oder beschädigte aus.
-
Prüfen Sie die Grasfangkörbe auf Verschleiß.
Warnung:
Sie oder Unbeteiligte können durch herausgeschleuderte oder ausgeworfene Gegenstände, die durch zerrissene, abgenutzte oder verschlissene Grasfangkörbe austreten, schwer verletzt werden.
-
Prüfen Sie die Grasfangkörbe auf Löcher, Risse, Abnutzung oder Verschleiß.
-
Waschen Sie die Grasfangkörbe nicht.
-
Wenn der Grasfangkorb verschleißt ist, bauen Sie neue Grasfangkörbe ein, die Sie vom Hersteller dieses Heckfangsystems erhalten.
-
Prüfen der Schnittmesser
Prüfen Sie die Schnittmesser regelmäßig, besonders wenn ein Messer einen Fremdkörper berührt.
Bauen Sie neue Messer ein, wenn die Messer sehr abgenutzt oder beschädigt sind. Komplette Anweisungen zur Schnittmesserwartung finden Sie in der Bedienungsanleitung des Traktors oder des Mähwerks.
Reinigen des Heckfangsystems
| Wartungsintervall | Wartungsmaßnahmen |
|---|---|
| Bei jeder Verwendung oder täglich |
|
| Vor der Einlagerung |
|
Note: Lagern Sie die Grasfangkörbe an einem Ort, an dem sie nach jedem Einsatz ganz austrocknen können. Dies verhindert einen schnellen Verschleiß des Korbmaterials.
-
Nehmen Sie nach jedem Einsatz die Abdeckung des Heckfangsystems, den Auswurfkanal und das Auswurfrohr ab und spritzen Sie die Innenseite und Außenseite der Abdeckung des Heckfangsystems, das Auswurfsrohr, den Auswurfkanal und die Unterseite des Mähwerks mit einem Gartenschlauch ab. Festsitzenden Schmutz können Sie mit einem milden Reinigungsmittel entfernen.
-
Sie sollten auf jeden Fall alle Teile von festgeklebtem Gras befreien.
-
Spülen Sie die Grasfangkörbe mit Wasser und entfernen Sie Rückstände mit dem Gartenschlauch.
-
Lassen Sie alle Teile nach dem Reinigen komplett trocknen.



























