此程序中需要的物件:
| 装运箱 | 1 |
| 胶带 | 1 |
| 大泡沫板 | 2 |
| 长泡沫板 | 2 |
| 短泡沫板 | 2 |
| 袋子 | 1 |
| 第 9 类标签 | 1 |
| 空运标签 | 1 |
展开并组装运输箱,用提供的胶带粘贴底板。
Important: 将胶带对准对接底板中缝,粘贴整个纸箱底部,并将胶带沿纸箱的两个垂直面向上延伸至少 7.6cm;请参阅图 2。
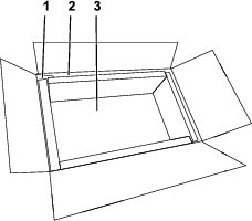
将大泡沫板放到纸箱的底部,2 个短泡沫板放到纸箱的两端,2 个长泡沫板放到纸箱的两侧(图 1)。

将电池盒完全放入袋子,将袋子多余的部分折叠到电池顶部。
将装入袋子的电池插入纸箱,然后将剩余的大泡沫板放到电池顶部。
关闭纸箱顶板,使用提供的胶带进行密封。
Important: 将胶带对准对接底板中缝,粘贴整个纸箱顶部,并将胶带沿纸箱的两个垂直面向上延伸至少 7.6cm;请参阅图 2。

如图 3 所示,将运输标签粘贴在虚线区。
Important: 如果不是使用空运,请不要粘贴空运标签。
