Benodigde onderdelen voor deze stap:
| Verzendingsdoos | 1 |
| Tape | 1 |
| Groot schuimpaneel | 2 |
| Lang schuimpaneel | 2 |
| Kort schuimpaneel | 2 |
| Vuilnisemmer | 1 |
| Label klasse 9 | 1 |
| Luchtverzendingslabel | 1 |
Ontvouw de verzendingsdoos en steek ze in elkaar. Breng de meegeleverde tape aan op de onderste flappen.
Important: Breng de tape aan in het midden over de aansluitende flappen, langs de volledige lengte van de onderkant van de doos en dan een stukje langs beide verticale zijden van de doos, waarbij de lengte van de tape op de verticale zijde minstens 7,6 cm bedraagt (Figuur 2).
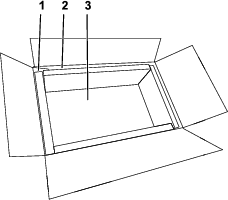
Plaats een groot schuimpaneel in de onderkant van de doos, 2 korte schuimpanelen aan de uiteinden van de doos en 2 lange schuimpanelen in de doos aan elke zijde (Figuur 1).

Plaats het accupack volledig in de zak en vouw het overschot van de zak over de bovenkant van de accu.
Plaats de accu die in de zak zit in de doos en plaats het resterende grote schuimpaneel over de bovenkant van de accu.
Sluit de bovenste flappen van de doos en verzegel deze met de meegeleverde tape.
Important: Breng de tape aan in het midden over de aansluitende flappen, langs de volledige lengte van de bovenkant van de doos en dan een stukje naar beneden langs beide verticale zijden van de doos, waarbij de lengte van de tape op de verticale zijde minstens 7,6 cm bedraagt (Figuur 2).

Breng de verzendingslabels aan op de plekken met stippenlijn zoals getoond in Figuur 3.
Important: Breng het luchtverzendingslabel niet aan als u de doos niet verzendt per vliegtuig.
