Części potrzebne do tej procedury:
| Karton transportowy | 1 |
| Taśma | 1 |
| Duża płyta piankowa | 2 |
| Długa płyta piankowa | 2 |
| Krótka płyta piankowa | 2 |
| Worek | 1 |
| Etykieta klasy 9 | 1 |
| Etykieta transportu lotniczego | 1 |
Rozłóż i zmontuj karton transportowy, a dołączoną taśmą sklej dolne skrzydełka.
Important: Sklej taśmą stykające się ze sobą skrzydełka tak, aby taśma równo obejmowała oba skrzydełka na całej długości dna kartonu oraz sięgała na obie ściany pionowe kartonu na co najmniej 7,6 cm; patrz Rysunek 2.
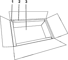
Połóż dużą płytę piankową na dnie kartonu, 2 krótkie płyty piankowe w krótkich bokach kartonu i 2 długie płyty piankowe w obu długich bokach kartonu (Rysunek 1).

Włóż cały akumulator do worka i zawiń resztę worka u góry akumulatora.
Wstaw akumulator w worku do kartonu i umieść drugą dużą płytę piankową na górze akumulatora.
Zamknij górne skrzydełka kartonu i sklej je taśmą.
Important: Sklej taśmą stykające się ze sobą skrzydełka tak, aby taśma równo obejmowała oba skrzydełka na całej długości góry kartonu oraz sięgała na obie ściany pionowe kartonu na co najmniej 7,6 cm; patrz Rysunek 2.

Naklej etykiety transportowe w miejscach zaznaczonych przerywanymi liniami zgodnie z Rysunek 3.
Important: Nie naklej etykiety transportu lotniczego, jeżeli transport nie będzie odbywał się drogą powietrzną.
