Peças necessárias para este passo:
| Caixa de envio | 1 |
| Fita | 1 |
| Painel de esponja grande | 2 |
| Painel de esponja comprido | 2 |
| Painel de esponja curto | 2 |
| Saco | 1 |
| Autocolante Classe 9 | 1 |
| Autocolante Envio aéreo | 1 |
Desdobre e monte a caixa de envio e cole as abas inferiores com a fita fornecida.
Important: Coloque a fita no centro das abas unidas, ao longo de todo o comprimento da parte inferior da caixa e passando para ambas as laterais verticais da caixa com um comprimento mínimo de 7,6 cm; consulte a Figura 2.
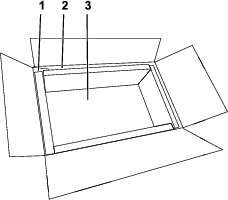
Coloque um painel de esponja grande na parte de baixo da caixa, dois painéis de esponja curtos nas extremidades da caixa e dois painéis de esponja compridos em cada lado (Figura 1).

Coloque a bateria completamente no saco e dobre o excesso de saco sobre a parte superior da bateria.
Insira a bateria ensacada na caixa e coloque o restante painel de esponja grande sobre a parte superior da bateria.
Feche as abas superiores da caixa e vede com a fita fornecida.
Important: Coloque a fita no centro das abas unidas, ao longo de todo o comprimento da parte superior da caixa e passando para ambas as laterais verticais da caixa com um comprimento mínimo de 7,6 cm; consulte a Figura 2.

Coloque os autocolantes de envio nas áreas pontilhadas como se mostra na Figura 3.
Important: Não coloque o autocolante de Envio aéreo se não enviar por meio aéreo.
