Deler som er nødvendige for dette trinnet:
| Transporteske | 1 |
| Teip | 1 |
| Stort skumpanel | 2 |
| Langt skumpanel | 2 |
| Kort skumpanel | 2 |
| Pose | 1 |
| Klasse 9-etikett | 1 |
| Lufttransportetikett | 1 |
Brett ut og monter transportesken, og teip sammen klaffene på bunnen tapen som følger med.
Important: Plasser teipen over klaffeskjøten, og trekk den langs hele bunnen av esken og minst 7,6 cm opp på hver side av esken. Se Figur 2.
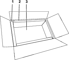
Plasser et stort skumpanel i bunnen av esken, to korte skumpaneler i hver ende av esken og to lange skumpaneler på hver langside av esken (Figur 1).

Plasser batteripakken helt inn i posen, og brett den overflødige delen av posen over toppen av batteriet.
Plasser batteriet i posen i esken, og plasser det gjenværende, store skumpanelet oppå batteriet.
Lukk klaffene øverst på esken, og forsegle den med teipen som følger med.
Important: Plasser teipen over klaffeskjøten, og trekk den langs hele toppen av esken og minst 7,6 cm ned på hver side av esken. Se Figur 2.

Fest transportetikettene i områdene som er merket med stiplede linjer, som vist i Figur 3.
Important: Ikke fest lufttransportetiketten hvis du ikke skal sende med fly.
