Delar som behövs till detta steg:
| Leveranskartong | 1 |
| Tejp | 1 |
| Stor skumpanel | 2 |
| Lång skumpanel | 2 |
| Kort skumpanel | 2 |
| Påse | 1 |
| Klass 9-dekal | 1 |
| Etikett för flygfrakt | 1 |
Veckla ut och montera leveranskartongen och tejpa ihop de nedre flikarna med den medföljande tejpen.
Important: Centrera tejpen över skåran mellan flikarna, dra den längs hela kartongens undersida och dra den upp över kartongens båda vertikala sidor minst 7,6 cm. Se Figur 2.
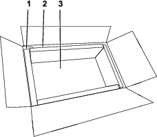
Placera en stor skumpanel i kartongens botten, två korta skumpaneler vid kartongens kortsidor och två långa skumpaneler längs kartongens långsidor (Figur 1).

Placera batteripaketet helt i påsen och vik återstoden av påsen över batteriet.
Lägg i det förpackade batteriet i kartongen och placera den återstående stora skumpanelen ovanpå batteriet.
Stäng kartongens övre flikar och förslut den med den medföljande tejpen.
Important: Centrera tejpen över skåran mellan flikarna, dra den längs kartongens hela ovansida och dra den ned över kartongens båda vertikala sidor minst 7,6 cm. Se Figur 2.

Fäst fraktetiketterna på områdena med prickade linjer enligt Figur 3.
Important: Sätt inte på flygfraktsetiketten om du inte skickar med flyg.
