Pièces nécessaires pour cette opération:
| Carton d'expédition | 1 |
| Ruban adhésif | 1 |
| Grand panneau de mousse | 2 |
| Long panneau de mousse | 2 |
| Panneau de mousse court | 2 |
| Sachet | 1 |
| Étiquette classe 9 | 1 |
| Étiquette d'expédition par avion | 1 |
Dépliez et assemblez le carton d'expédition, puis collez les rabats inférieurs avec le ruban adhésif fourni.
Important: Collez le ruban adhésif à cheval sur les rabats fermés l'un contre l'autre, sur toute la longueur du fond du carton et sur encore au moins 7,5 cm sur les faces verticales ; voir Figure 2.
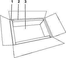
Placez un grand panneau de mousse au fond du carton, un panneau de mousse court à chaque bout et un panneau de mousse long de chaque côté (Figure 1).

Insérez la batterie au fond du sachet et repliez l'excédent du sachet par-dessus la batterie.
Placez la batterie dans son sachet dans le carton et recouvrez-la avec le dernier grand panneau de mousse.
Refermez et collez les rabats supérieurs du carton avec le ruban adhésif fourni.
Important: Collez le ruban adhésif à cheval sur les rabats fermés l'un contre l'autre, sur toute la longueur en haut du carton en descendant d'au moins 7,6 cm sur les faces verticales ; voir Figure 2.

Collez les étiquettes d'expédition aux emplacements indiqués en pointillés sur la Figure 3.
Important: Ne collez pas l'étiquette d'expédition par avion si l'expédition ne doit pas se faire par cette voie.
