Für diesen Arbeitsschritt erforderliche Teile:
| Versandkarton | 1 |
| Band | 1 |
| Große Schaumstoffplatte | 2 |
| Lange Schaumstoffplatte | 2 |
| Kurze Schaumstoffplatte | 2 |
| Fangkorb | 1 |
| Klasse 9 Etikett | 1 |
| Luftfrachtetikett | 1 |
Falten und stellen Sie den Versandkarton zusammen, und kleben Sie die Bodenlaschen mit dem mitgelieferten Klebeband fest.
Important: Mitteln Sie das Klebeband über die umgelegten Laschen, führen Sie es über die gesamte Länge des Kartonbodens und über beide Seiten des Kartons um eine Mindestlänge von 7,6 cm , siehe Bild 2.
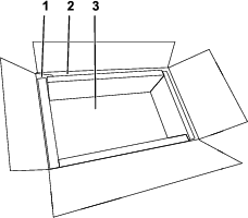
Legen Sie eine große Schaumstoffplatte in den Boden des Kartons, zwei kurze Schaumstoffplatten an den Enden des Kartons und zwei lange Schaumstoffplatten an jeder Seite des Kartons (Bild 1).

Legen Sie den Akkupack vollständig in die Tasche und falten Sie diese über die Oberseite des Akkus.
Setzen Sie den eingepackten Akku in den Karton ein und legen Sie die verbleibende große Schaumstoffplatte auf den Akku.
Schließen Sie die oberen Laschen des Kartons und verschließen Sie sie mit dem mitgelieferten Klebeband.
Important: Mitteln Sie das Klebeband über die umgelegten Laschen, führen Sie es über die gesamte Länge des Kartondeckels und über beide Seiten des Kartons um eine Mindestlänge von 7,6 cm, siehe Bild 2.

Bringen Sie die Versandetiketten an den gepunkteten Linienbereichen an, wie in Bild 3 dargestellt.
Important: Bringen Sie das Luftfrachtetikett nicht an, wenn Sie das Paket nicht per Luftfracht versenden.
