Díly potřebné k provedení tohoto kroku:
| Přepravní karton | 1 |
| Páska | 1 |
| Velký pěnový panel | 2 |
| Dlouhý pěnový panel | 2 |
| Krátký pěnový panel | 2 |
| Vak | 1 |
| Štítek třídy 9 | 1 |
| Štítek pro leteckou přepravu | 1 |
Rozložte a sestavte přepravní karton a pomocí dodané pásky slepte spodní chlopně.
Important: Vystřeďte pásku na spojovaných chlopních a veďte ji po celé délce spodní části kartonu až na obě svislá čela kartonu v délce alespoň 7,6 cm (viz Obrázek 2).
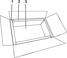
Na spodek kartonu položte velký pěnový panel, na konce kartonu 2 krátké pěnové panely a dva dlouhé pěnové panely na obě strany v kartonu (Obrázek 1).

Celý akumulátor vložte do sáčku a nadbytečnou část sáčku přeložte přes horní část akumulátoru.
Akumulátor v sáčku vložte do kartonu a na horní stranu akumulátoru položte zbývající velký pěnový panel.
Zavřete horní chlopně kartonu a slepte je pomocí dodané pásky.
Important: Vystřeďte pásku na spojovaných chlopních a veďte ji po celé délce horní části kartonu dolů až na obě svislá čela kartonu v délce alespoň 7,6 cm (viz Obrázek 2).

Nalepte přepravní štítky do tečkovaných ploch, viz Obrázek 3.
Important: Pokud nebude balík přepravován letecky, nepřilepujte štítek pro leteckou přepravu.
