Dele, der skal bruges til dette trin:
| Forsendelseskasse | 1 |
| Tape | 1 |
| Stort skumpanel | 2 |
| Langt skumpanel | 2 |
| Kort skumpanel | 2 |
| Pose | 1 |
| Klasse 9-mærkat | 1 |
| Luftfragtmærkat | 1 |
Fold forsendelseskassen ud, saml den, og tape flapperne i bunden med den medfølgende tape.
Important: Placer tapen på midten over de samlede flapper, så den løber langs den fulde længde af kassens bund og fortsætter op ad begge kassens lodrette overflader med en minimumlængde på 7,6 cm. Se Figur 2.
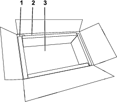
Anbring et stort skumpanel i bunden af kassen, 2 korte skumpaneler i enderne af kassen, og 2 lange skumpaneler i hver side af kassen (Figur 1).

Læg batteriet helt ned i posen, og fold overskydende posemateriale hen over toppen af batteriet.
Placer posen med batteriet i kassen, og anbring det sidste store skumpanel oven på batteriet.
Luk de øverste kasseflapper, og forsegl kassen med den medfølgende tape.
Important: Placer tapen på midten over de samlede flapper, så den løber langs den fulde længde af kassens top og fortsætter ned ad begge kassens lodrette overflader med en minimumlængde på 7,6 cm. Se Figur 2.

Påsæt forsendelsesmærkater på de stiplede områder som vist i Figur 3.
Important: Påsæt ikke luftfragtmærkaten, hvis du ikke sender med fly.
