Mantenimiento
Acceso a la unidad de corte
Acceda a la contracuchilla y al molinete para el mantenimiento como se indica a continuación:
-
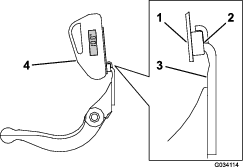
Con la unidad de corte retirada de la máquina, apoye la parte trasera de la unidad de corte para asegurarse de que las tuercas de la parte trasera de los tornillos de ajuste de la barra de asiento no están apoyadas en la superficie de trabajo (Figura 4).

-
Con la unidad de corte acoplada a la máquina, baje el manillar de la unidad de tracción al suelo (Figura 5).

Comprobación del punto de engrase del árbol de transmisión del molinete
| Intervalo de mantenimiento y servicio | Procedimiento de mantenimiento |
|---|---|
| Cada año |
|
-
Retire las fijaciones que sujetan el conjunto de transmisión del molinete a la chapa lateral (Figura 6).

-
Retire las tuercas del interior de la chapa lateral (Figura 6).
-
Compruebe la grasa que queda en el interior del árbol de transmisión del molinete (Figura 7).
Si no ve una cantidad suficiente de grasa, añada más grasa a los ejes estriados macho y hembra.

-
Utilice los tornillos allen y las tuercas que retiró anteriormente para sujetar el conjunto de transmisión del molinete a la chapa lateral.
-
Instale la unidad de corte en la unidad de tracción; consulte el Manual del operador de la unidad de tracción.
Ajuste del contacto entre la contracuchilla y el molinete
Ajuste diario de la contracuchilla
Cada día, antes de segar, o cuando sea necesario, compruebe el contacto entre la contracuchilla y el molinete. Realice este procedimiento aunque la calidad de corte sea aceptable.
Note: Este procedimiento puede realizarse con la unidad de corte instalada en la unidad de tracción.
-
Apague la unidad de tracción.
-
Acceda a la unidad de corte; consulte Acceso a la unidad de corte.
-
Gire lentamente el molinete en dirección contraria, escuchando el ruido del contacto entre molinete y contracuchilla.
-
Si no se nota ningún contacto, ajuste la contracuchilla como se indica a continuación:
-
Gire los tornillos de ajuste de la barra de asiento en sentido horario (Figura 8), un clic a la vez, hasta que se note y se oiga un contacto ligero.
Note: Los tornillos de ajuste de la barra de asiento tienen trinquetes; cada posición corresponde a un movimiento de la contracuchilla de 0.018 mm (0.0007").

-
Inserte una tira larga de papel de prueba del rendimiento de corte (Pieza Toro Nº 125-5610) entre el molinete y la contracuchilla, perpendicular a la contracuchilla (Figura 9), y gire el molinete lentamente hacia adelante; debe cortar el papel. Si no lo hace, repita los pasos 1 y 2 hasta que corte el papel.
-
-
Si se nota una resistencia excesiva del molinete, realice un autoafilado, rectifique la cara delantera de la contracuchilla, o amuele la unidad de corte, para conseguir los filos necesarios para un corte de precisión (consulte el Manual de afilado de molinetes de Toro, Impreso Nº 09168SL).
Important: Es preferible tener un contacto ligero en todo momento. Si no se mantiene dicho contacto ligero, los filos de la contracuchilla/molinete no se afilarán lo suficiente y después de cierto tiempo de uso, quedarán romos. Si se mantiene un contacto excesivo, el desgaste de contracuchilla/molinete será acelerado, puede haber un desgaste desigual, y la calidad de corte puede verse afectada negativamente.
Note: En las unidades de corte eFlex, el contacto entre molinete y contracuchilla tiene un impacto importante sobre el consumo energético. Se recomienda un contacto muy ligero para obtener el mejor rendimiento de corte y el óptimo consumo de la batería.
Note: A medida que giran las cuchillas del molinete contra la contracuchilla, aparecerá una ligera rebaba en la superficie delantera del filo de corte, en toda la longitud de la contracuchilla. Pase una lima de vez en cuando sobre el borde delantero para eliminar esta rebaba y mejorar la calidad de corte.Después de un uso prolongado, se irá formando una muesca en ambos extremos de la contracuchilla. Estas muescas deben ser redondeadas o limadas a ras del filo de corte de la contracuchilla para asegurar una operación suave.
-
Ajuste de la contracuchilla después de amolarlo, autoafilarlo o desmontarlo
Utilice este procedimiento durante la configuración inicial de la unidad de corte, y después de amolar, autoafilar o desmontar el molinete. Este no es un ajuste diario.
Note: Este procedimiento puede realizarse con la unidad de corte instalada en la unidad de tracción.
Note: En las unidades de corte eFlex, el contacto entre molinete y contracuchilla tiene un impacto importante sobre el consumo energético. Se recomienda un contacto muy ligero para obtener el mejor rendimiento de corte y el óptimo consumo de la batería.
-
Apague la unidad de tracción.
-
Acceda a la unidad de corte; consulte Acceso a la unidad de corte.
-
Gire el molinete hasta que una de las cuchillas cruce el filo de la contracuchilla entre la cabeza del primer tornillo de la contracuchilla y la cabeza del segundo tornillo, situado en el lado derecho de la unidad de corte.
-
Haga una marca de identificación en la cuchilla, en el punto en que cruza el filo de la contracuchilla.
Note: Esto facilitará los ajustes posteriores.
-
Inserte un suplemento de 0.05 mm (0.002") entre la cuchilla y el filo de la contracuchilla, en el punto marcado en el paso 4.
-
Gire el tornillo de ajuste derecho de la barra de asiento (Figura 8) hasta que note una ligera presión en el suplemento al moverlo de un lado a otro. Retire el suplemento.
-
En el lado izquierdo de la unidad de corte, gire el molinete lentamente hasta que la cuchilla más próxima cruce el filo de la contracuchilla entre las cabezas del primer y segundo tornillo.
-
Repita los pasos 4 a 6 con el lado izquierdo de la unidad de corte y el tornillo de ajuste izquierdo de la barra de asiento.
-
Repita los pasos 5 y 6 hasta que haya una ligera presión en los puntos de contacto en los lados derecho e izquierdo de la unidad de corte.
-
Para obtener un contacto ligero entre el molinete y la contracuchilla, gire cada tornillo de ajuste de la barra de asiento 3 clics en sentido horario.
Note: Cada clic del tornillo de ajuste de la barra de asiento desplaza la contracuchilla 0.018 mm (0.0007"). No apriete demasiado los tornillos de ajuste.Al girar el tornillo de ajuste en sentido horario, se acerca la contracuchilla al molinete. Al girar el tornillo de ajuste en sentido antihorario, se aleja la contracuchilla al molinete.
-
Inserte una tira larga de papel de prueba del rendimiento de corte (Pieza Toro Nº 125-5610) entre el molinete y la contracuchilla, perpendicular a la contracuchilla (Figura 9), y gire el molinete lentamente hacia adelante; debe cortar el papel. Si no lo hace, gire cada tornillo de ajuste de la barra de asiento 1 clic en sentido horario y repita este paso hasta que corte el papel.

Note: Si se nota un contacto o una resistencia excesiva del molinete, puede realizar un autoafilado, rectificar la cara delantera de la contracuchilla, o amolar la unidad de corte, para conseguir los filos necesarios para un corte de precisión (consulte el Manual de afilado de molinetes de Toro, Impreso Nº 09168SL).
Ajuste de la unidad de corte según las condiciones del césped
Utilice la tabla siguiente para determinar la contracuchilla necesaria para las condiciones del césped. Póngase en contacto con su distribuidor autorizado Toro para adquirir cuchillas y rodillos adicionales.
Consulte en Ajuste de la frecuencia de corte para las instrucciones de ajuste de la frecuencia de corte apropiadas para las condiciones del césped.
| Tabla de correspondencia recomendada entre contracuchilla y altura de corte | |
| Contracuchilla | Altura de corte |
| EdgeMax Micro-cut (estándar) | 1.5 mm – 4.7 mm (0.062" – 0.188") |
| Edgemax Tournament (opcional) | 3.1 mm – 12.7 mm (0.125" – 0.500") |
| Micro-cut (opcional) | 1.5 mm – 4.7 mm (0.062" – 0.188") |
| Tournament (opcional) | 3.1 mm – 12.7 mm (0.125" – 0.500") |
| Micro-cut extendida (opcional) | 1.5 mm – 4.7 mm (0.062" – 0.188") |
| Tournament extendida (opcional) | 3.1 mm – 12.7 mm (0.125" – 0.500") |
| Low-cut (Opcional) | 4.7 mm – 25.4 mm (0.188" – 1.00") |
Realización del ajuste de la altura de corte
Ajuste la altura de corte deseada usando un indicador de altura de corte, y asegúrese de que la unidad de corte está equipada con una contracuchilla apropiada para la altura de corte deseada; consulte Ajuste de la unidad de corte según las condiciones del césped.
Ajuste de la altura del rodillo trasero
Dependiendo del intervalo de alturas de corte deseado, ajuste los soportes del rodillo trasero (Figura 10 o Figura 11) a la posición superior o inferior:
-
Coloque el espaciador encima de la brida de montaje de la chapa lateral (ajuste de fábrica) para obtener un intervalo de alturas de corte de 1.5 a 6 mm (1/16" – ¼"), como se muestra en la Figura 10.

-
Coloque el espaciador debajo de la brida de montaje de la chapa lateral para alturas de corte de 3 mm a 25 mm (⅛" – 1"), como se muestra en la Figura 11.

-
Eleve la parte trasera de la unidad de corte y coloque un bloque debajo de la contracuchilla.
-
Retire las 2 tuercas que sujetan cada soporte de rodillo con sus espaciadores a las bridas de montaje de las chapas laterales.
-
Separe el rodillo y los tornillos de las bridas de montaje de las chapas laterales y los espaciadores.
-
Coloque los espaciadores sobre los tornillos, encima o debajo de los soportes de los rodillos, según sea necesario (Figura 10 o Figura 11).
-
Vuelva a sujetar los soportes de los rodillos y los espaciadores a la parte inferior de las bridas de montaje con las tuercas que se retiraron anteriormente.
-
Verifique que el contacto entre contracuchilla y molinete es el correcto. Incline el cortacésped para tener acceso a los rodillos delantero y trasero y a la contracuchilla.
Note: La posición del rodillo trasero respecto al molinete es controlada por las tolerancias de mecanizado de los componentes ensamblados, y no requiere ajuste de paralelismo. Es posible hacer ajustes limitados colocando la unidad de corte en una chapa plana y aflojando los pernos de montaje de las chapas laterales (Figura 12). Ajuste y apriete los pernos cuando haya terminado.

Important: Si tiene que inclinar la unidad de corte para tener acceso a la contracuchilla/el molinete, apoye la parte trasera de la unidad de corte para asegurarse de que las tuercas de los tornillos de ajuste de la barra de asiento no estén apoyadas en la superficie de trabajo (Figura 4).
Ajuste del indicador de altura de corte
Antes de ajustar la altura de corte, ajuste el indicador de altura de corte como se indica a continuación:
-
Afloje la tuerca de la barra de ajuste y ajuste el tornillo para la altura de corte deseada (Figura 13).
Note: La distancia entre la cara inferior de la cabeza del tornillo y la cara de la barra es la altura de corte.

-
Apriete la tuerca.
Ajuste de la altura de corte
Esta unidad de corte viene de serie con la contracuchilla Edgemax Micro-cut y una barra de asiento estándar. La altura de corte efectiva depende de las configuraciones anteriores del cortacésped y de las condiciones del césped (por ejemplo, tipo de rodillo, distancia de la contracuchilla del centro, greenes blandos o firmes, condiciones estacionales). Ponga la altura de corte inicial en 0.25 mm - 0.38 mm (0.010" – 0.015") más que en la configuración anterior del cortacésped, y luego ajústela según las condiciones.
Note: Para alturas de corte de más de 13 mm (0.500"), instale el Kit de altura de corte alta.
Consulte Ajuste de la unidad de corte según las condiciones del césped para determinar cuál es la contracuchilla más adecuada para la altura de corte deseada.
-
Afloje las contratuercas que sujetan los brazos de altura de corte a las chapas laterales de la unidad de corte (Figura 14).

-
Enganche la cabeza del tornillo de la barra indicadora de la altura de corte sobre el lado derecho del filo de la contracuchilla y apoye el extremo trasero de la barra sobre el rodillo trasero (Figura 15).

-
Gire el tornillo de ajuste hasta que el rodillo entre en contacto con la barra de ajuste.
-
Repita los pasos 2 y en el lado izquierdo.
-
Ajuste ambos extremos del rodillo hasta que el rodillo esté paralelo a la contracuchilla en toda su longitud.
Important: Con el ajuste correcto, los rodillos delantero y trasero tocarán la barra de ajuste y el tornillo estará apretado contra la contracuchilla. Esto asegura una altura de corte idéntica en ambos extremos de la contracuchilla.
-
Apriete las contratuercas de los brazos de ajuste de la altura de corte lo suficiente para eliminar la holgura de la arandela y fijar el ajuste.
-
Compruebe que la altura de corte es correcta; repita este procedimiento si es necesario.
Ajuste de la frecuencia de corte
La frecuencia de corte viene determinada por los ajustes siguientes de la máquina:
-
Velocidad del molinete: La velocidad de los molinetes tiene dos ajustes: alta y baja; consulte el Manual del operador de la unidad de tracción.
-
Posición de las poleas de transmisión del molinete: Las poleas de la transmisión del molinete (22 dientes y 24 dientes) tienen 2 posiciones:
Note: Las poleas se ajustan a la posición BAJA en fábrica.

Para ajustar la posición de las poleas, consulte los pasos siguientes:
-
Retire la cubierta de la correa para tener acceso a la correa (Figura 17).

-
Afloje el perno del brazo tensor y gire el brazo tensor (Figura 17) para aliviar la tensión de la correa.
-
Retire la correa (Figura 17).
-
Afloje la tuerca de cada polea, retire las poleas y utilice las tuercas para instalar las poleas en la configuración deseada.

-
Apriete las tuercas de las poleas a 37 – 45 N∙m (27 – 33 pies-libra).
-
Instale la correa y ténsela aplicando una fuerza de 4 – 5 N∙m (35 – 40 pulgadas-libra) a la cabeza hexagonal interna del brazo tensor, como se muestra en la Figura 17.
-
Apriete el perno del brazo tensor e instale la cubierta de la correa.
Ajuste de la barra de recortes
Ajuste la barra de recortes para que los recortes salgan limpiamente de la zona del molinete, de la forma siguiente:
Note: La barra es ajustable para compensar cambios en la condición del césped. Acerque la barra más al molinete si el césped está extremadamente seco. Por el contrario, aleje la barra más del molinete cuando el césped está húmedo. La barra debe estar paralela al molinete para un rendimiento óptimo. Ajústela después de afilar el molinete en una máquina de afilado de molinetes.
-
Afloje los tornillos que sujetan la barra superior (Figura 19) a la unidad de corte.

-
Inserte una galga de 1.5 mm (0.060") entre la parte superior del molinete y la barra, y apriete los tornillos.
Important: Asegúrese de que la barra y el molinete están separados por la misma distancia en toda la longitud del molinete.
Mantenimiento de la barra de asiento
Solamente los mecánicos debidamente formados deben realizar el mantenimiento de la barra de asiento y de la contracuchilla, para evitar daños en el molinete, la contracuchilla o la barra de asiento. Lo ideal sería llevar la unidad de corte a su distribuidor autorizado Toro para el mantenimiento. Consulte el Manual de mantenimiento de la unidad de tracción para obtener instrucciones detalladas, herramientas especiales y diagramas para el mantenimiento de la contracuchilla. Si alguna vez necesita desmontar o montar la barra de asiento usted mismo, a continuación se ofrecen instrucciones, así como las especificaciones de mantenimiento de la contracuchilla.
Important: Siga siempre los procedimientos descritos en el Manual de mantenimiento al realizar el mantenimiento de la contracuchilla. Instalar o rectificar la contracuchilla de forma incorrecta puede provocar daños en el molinete, la contracuchilla o la barra de asiento.
Cómo retirar la barra de asiento
-
Gire el tornillo de ajuste de la barra de asiento en sentido antihorario para alejar la contracuchilla del molinete (Figura 20).

-
Afloje la tuerca de tensado del muelle hasta que el muelle deje de presionar la arandela contra la barra de asiento (Figura 20).
-
En cada lado de la máquina, afloje la contratuerca indicada en la Figura 21.

-
Retire cada perno de la barra de asiento para poder tirar de la barra hacia abajo y retirarla de la unidad de corte (Figura 21).
Guarde las 2 arandelas de plástico y la arandela de acero de cada extremo de la barra de asiento (Figura 21).
Instalación de la barra de asiento
-
Instale la barra de asiento, posicionando las pestañas de montaje entre las arandelas y el tornillo de ajuste de la barra de asiento (Figura 20).
-
Sujete la barra de asiento a cada chapa lateral con los pernos de la barra (con tuercas en los pernos) y 3 arandelas (6 en total).
-
Coloque una arandela de nylon en cada lado del saliente de la chapa lateral. Coloque una arandela de acero por fuera de cada arandela de nylon (Figura 21).
-
Apriete los pernos de la barra de asiento a 27 – 36 N∙m (240 – 320 pulgadas-libra).
-
Apriete las contratuercas hasta que no quede holgura en las arandelas de acero, pero aún pueda girarlas a mano. Las arandelas del interior pueden tener cierta holgura.
Important: No apriete demasiado las contratuercas o desviarán las chapas laterales.
-
Apriete la tuerca de tensado del muelle hasta que el muelle esté comprimido del todo, luego aflójela 1/2 vuelta (Figura 22).

-
Ajuste la contracuchilla contra el molinete; consulte Ajuste de la contracuchilla después de amolarlo, autoafilarlo o desmontarlo.
Mantenimiento de la contracuchilla
Instalación de la contracuchilla
-
Elimine cualquier corrosión o incrustación de la superficie de la barra de asiento, y aplique una capa fina de aceite a la superficie de la barra de asiento.
-
Limpie las roscas de los tornillos.
-
Aplique compuesto antigripante a los tornillos e instale la contracuchilla en la barra de asiento.

-
Apriete los 2 tornillos exteriores a 1 N∙m (10 pulgadas-libra).
-
Trabajando desde el centro de la contracuchilla, apriete los tornillos a 23 – 28 N∙m (200 – 250 pulgadas-libra).

-
Rectifique la contracuchilla.
Preparación del molinete para el afilado
-
Asegúrese de que todos los componentes de la unidad de corte están en buenas condiciones y corrija cualquier problema antes de afilar.
-
Siga las instrucciones del fabricante del afilador del molinete para afilar el molinete según las especificaciones siguientes.
Especificaciones de afilado del molinete Diámetro del molinete nuevo 128.5 mm (5.06") Límite de ajuste del diámetro del molinete 114.3 mm (4.5") Ángulo de alivio de la cuchilla 30° ± 5° Anchura de la superficie de incidencia de la cuchilla 1.0 mm (0.04") Rango de anchuras de la superficie de incidencia de la cuchilla 0.76 mm – 1.27 mm (0.03" – 0.05") Límite de ajuste de la conicidad del diámetro del molinete 0.25 mm (0.01")
Afilado del molinete con rebajo
El molinete nuevo tiene una superficie de incidencia de 0.76 mm – 1.27 mm (0.030" – 0.050") de anchura, y un rebajo de 30°.
Si la anchura de la superficie de incidencia es superior a 3 mm (0.120"), haga lo siguiente:
-
Afile todas las cuchillas con un rebajo de 30 grados hasta que la anchura de la superficie de incidencia sea de 1.3 mm (0.050") (Figura 25.

-
Afile el molinete con muela, sin rebajo, hasta que la excentricidad del molinete sea inferior a 0.025 mm (0.001").
Note: Esto hace que la superficie de incidencia se ensanche ligeramente.
-
Ajuste la unidad de corte; consulte el Manual del operador de la unidad de corte.
Note: Para que los filos del molinete y de la contracuchilla duren más, después de rectificar el molinete y/o la contracuchilla, vuelva a comprobar el contacto entre molinete y contracuchilla después de segar 2 calles, porque esto eliminará la rebaba. Las rebabas pueden crear un espacio incorrecto entre molinete y contracuchilla, lo que puede acelerar el desgaste.
Especificaciones de rectificado de la contracuchilla

| Ángulo de rebajo de la contracuchilla estándar | Mínimo 3° |
| Ángulo de rebajo de la contracuchilla extendida | Mínimo 7° |
| Rango del ángulo delantero | 13° a 17° |
Comprobación del ángulo de amolado superior
El ángulo de amolado de las contracuchillas es muy importante.
Utilice el indicador de ángulo (Pieza Toro N° 131-6828) y el soporte del indicador de ángulo (Pieza Toro N° 131-6829) para comprobar el ángulo producido por su muela, y corrija cualquier falta de precisión.
-
Coloque el indicador de ángulo en el lado inferior de la contracuchilla, como se muestra en la Figura 27.

-
Pulse el botón Alt Zero del indicador de ángulo.
-
Coloque el soporte del indicador de ángulo sobre el filo de la contracuchilla de manera que el borde del imán esté enrasado con el filo de la contracuchilla (Figura 28).
Note: La pantalla digital debe estar visible desde el mismo lado durante este paso que durante el paso 1.

-
Coloque el indicador de ángulo en el soporte, como se muestra en la Figura 28.
Note: Este es el ángulo que produce su muela, y no debe variar en más de 2 grados del ángulo de amolado superior recomendado.
Autoafilado de la unidad de corte
Para autoafilar la unidad de corte, utilice el Kit de autoafilado de acceso (Modelo 139-4342); consulte las instrucciones de operación de las Instrucciones de instalación del kit. Póngase en contacto con su distribuidor autorizado Toro para adquirir este kit.


, que significa: Cuidado, Advertencia o Peligro
– instrucción relativa a la seguridad personal. El incumplimiento
de estas instrucciones puede dar lugar a lesiones personales o la
muerte.


