Entretien
Accès à l’unité de coupe
Pour accéder à la contre-lame et au cylindre aux fins de maintenance, procédez comme suit :
-
Quand l’unité de coupe est déposée de la machine, calez l'arrière de l’unité de coupe de sorte que les écrous à l’arrière des vis de réglage de la barre d'appui ne reposent pas sur la surface de travail (Figure 4).

-
Quand l’unité de coupe est fixée sur la machine, abaissez le guidon du groupe de déplacement au sol (Figure 5).

Contrôle du point de graissage de l'arbre d'entraînement de cylindre
| Périodicité d'entretien | Procédure d'entretien |
|---|---|
| Une fois par an |
|
-
Déposez les fixations qui maintiennent l’entraînement de cylindre sur la plaque latérale (Figure 6).

-
Retirez les écrous à l’intérieur de la plaque latérale (Figure 6).
-
Vérifiez s’il reste de la graisse à l’intérieur de l’arbre d’entraînement de cylindre (Figure 7).
Si vous ne voyez pas suffisamment de graisse, ajoutez-en sur l'arbre à cannelure mâle et femelle.

-
Servez-vous des vis à tête creuse et des écrous précédemment déposés pour fixer l’entraînement de cylindre sur la plaque latérale.
-
Remettez l’unité de coupe sur le groupe de déplacement; voir le Manuel de l'utilisateur de votre groupe de déplacement.
Réglage du contact contre-lame/cylindre
Réglage quotidien de la contre-lame
Avant de tondre chaque jour, ou selon les besoins, vérifiez le bon contact contre-lame/cylindre. Effectuez cette procédure même si la qualité de coupe est acceptable.
Note: Cette procédure peut être réalisée avec l'unité de coupe installée sur le groupe de déplacement.
-
Coupez le groupe de déplacement.
-
Accédez à l’unité de coupe; voir Accès à l’unité de coupe.
-
Faites doucement tourner le cylindre en arrière, en écoutant le contact cylindre/contre-lame.
-
Si aucun contact n'est évident, réglez la contre-lame comme suit :
-
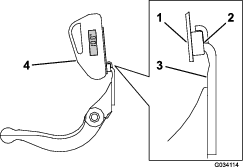
Tournez les vis de réglage de la barre d'appui dans le sens horaire (Figure 8), 1 clic à la fois, jusqu’à sentir et entendre un léger contact.
Note: Les vis de réglage de la barre d'appui ont des crans correspondant à un déplacement de 0,018 mm (0,0007 po) de la contre-lame pour chaque position indexée.

-
Insérez une longue bande de papier de performance de coupe (réf. Toro nº 125-5610) entre le cylindre et la contre-lame, perpendiculairement à la contre-lame (Figure 9), puis tournez lentement le cylindre vers l’avant; il devrait couper le papier; si ce n’est pas le cas, répétez les étapes 1 et 2 jusqu’à ce qu’il coupe le papier.
-
-
En cas de contact excessif ou si le cylindre semble trop frotter, rodez, rectifiez l’avant de la contre-lame ou affûtez l’unité de coupe pour obtenir les tranchants nécessaires pour une coupe de précision (voir le Manuel Toro pour l’affûtage des tondeuses à cylindre et rotatives, imprimé nº 09168SL).
Important: Un léger contact est préférable en permanence. Si vous ne maintenez pas un léger contact, les tranchants de la contre-lame et du cylindre ne s'aiguiseront pas suffisamment, ce qui se traduira par des tranchants émoussés au bout d'un certain temps d'utilisation. Si vous maintenez un contact excessif, la contre-lame et le cylindre s'useront plus vite, potentiellement de manière inégale, et la qualité de tonte en souffrira.
Note: Pour les unités de coupe eFlex, le contact cylindre/contre-lame a un impact considérable sur la consommation d'énergie. Un très léger contact est préférable en termes de performance de coupe et de consommation de batterie.
Note: À mesure que les lames du cylindre continuent à frotter contre la contre-lame, une légère bavure se forme sur la surface du tranchant avant, sur toute la longueur de la contre-lame. Passez une lime sur le bord avant de temps en temps pour éliminer cette bavure et améliorer la tonte.Après une longue période d’utilisation, un sillon peut se former aux deux extrémités de la contre-lame. Ébavurez ces crans ou limez-les au même niveau que le tranchant de la contre-lame pour assurer un bon fonctionnement.
-
Réglage de la contre-lame après meulage, rodage ou démontage
Suivez cette procédure durant la configuration initiale de l'unité de coupe et après toute opération de meulage, rodage ou démontage du cylindre. Il ne s’agit pas d’un réglage quotidien.
Note: Cette procédure peut être réalisée avec l'unité de coupe installée sur le groupe de déplacement.
Note: Pour les unités de coupe eFlex, le contact cylindre/contre-lame a un impact considérable sur la consommation d'énergie. Un très léger contact est préférable en termes de performance de coupe et de consommation de batterie.
-
Coupez le groupe de déplacement.
-
Accédez à l’unité de coupe; voir Accès à l’unité de coupe.
-
Tournez le cylindre de sorte que l’une des lames croise le tranchant de la contre-lame entre les têtes des première et deuxième vis de contre-lame, du côté droit de l’unité de coupe.
-
Faites un repère sur la lame à l'endroit où elle croise le tranchant de la contre-lame.
Note: Cela facilitera les réglages ultérieurs.
-
Insérez une cale de 0,05 mm (0,002 po) entre la lame et le tranchant de la contre-lame, au point repéré à l’étape 4.
-
Tournez la vis de réglage de la barre d'appui (Figure 8) jusqu’à ressentir une légère pression sur la cale quand vous la faites glisser d’un côté à l’autre. Retirez la cale.
-
Du côté gauche de l'unité de coupe, tournez lentement le cylindre afin que la lame la plus proche croise le tranchant de la contre-lame entre les têtes des première et deuxième vis.
-
Répétez les étapes 4 à 6 pour le côté gauche de l’unité de coupe et la vis de réglage de barre d'appui gauche.
-
Répétez les étapes 5 et 6 jusqu’à obtenir une légère pression aux points de contact des deux côtés (gauche et droit) de l’unité de coupe.
-
Pour obtenir un léger contact entre le cylindre et la contre-lame, tournez chaque vis de réglage de la barre d'appui de 3 clics dans le sens horaire.
Note: Chaque clic sur la vis de réglage de la barre d'appui déplace la contre-lame de 0,018 mm (0,0007 po). Ne serrez pas les vis de réglage excessivement.Tournez la vis de réglage dans le sens horaire pour rapprocher le tranchant de la contre-lame du cylindre. Tournez la vis de réglage dans le sens anti-horaire pour éloigner le tranchant de la contre-lame du cylindre.
-
Insérez une longue bande de papier de performance de coupe (réf. Toro nº 125-5610) entre le cylindre et la contre-lame, perpendiculairement à la contre-lame (Figure 9), puis tournez lentement le cylindre vers l’avant; il devrait couper le papier; si ce n’est pas le cas, tournez chaque vis de réglage de la barre d'appui d’un clic dans le sens horaire et répétez cette étape jusqu’à ce qu’il coupe le papier.

Note: En cas de contact excessif ou si le cylindre semble trop frotter, vous pouvez roder, rectifier l’avant de la contre-lame ou affûter l’unité de coupe pour obtenir les tranchants nécessaires pour une coupe de précision (voir le Manuel Toro pour l’affûtage des tondeuses à cylindre et rotatives, imprimé nº 09168SL).
Réglage de l’unité de coupe en fonction de l'état du gazon
Servez-vous du tableau suivant pour déterminer la contre-lame adaptée à l'état de votre gazon. Adressez-vous à votre distributeur Toro agréé pour vous procurer d'autres contre-lames et rouleaux.
Reportez-vous à la section Réglage de la vitesse de coupe pour savoir comment régler la vitesse de coupe adéquate en fonction de l’état de votre gazon.
| Tableau de recommandations du réglage contre-lame/hauteur de coupe | |
| Contre-lame | Hauteur de coupe |
| Edgemax Micro-cut (de série) | 1,5 à 4,7 mm (0,062 à 0,188 po) |
| Edgemax Tournament (en option) | 3,1 à 12,7 mm (0,125 à 0,500 po) |
| Micro-cut (en option) | 1,5 à 4,7 mm (0,062 à 0,188 po) |
| Tournament (en option) | 3,1 à 12,7 mm (0,125 à 0,500 po) |
| Micro-cut étendue (en option) | 1,5 à 4,7 mm (0,062 à 0,188 po) |
| Tournament étendue (en option) | 3,1 à 12,7 mm (0,125 à 0,500 po) |
| Low-cut (en option) | 4,7 à 25,4 mm (0,188 à 1,00 po) |
Réglage de la hauteur de coupe
Réglez la hauteur de coupe à la hauteur souhaitée à l’aide de la jauge, et vérifiez que votre unité de coupe est bien équipée de la contre-lame la mieux adaptée à votre hauteur de coupe désirée; voir Réglage de l’unité de coupe en fonction de l'état du gazon.
Réglage de la hauteur du rouleau arrière
En fonction de votre gamme de hauteur de coupe souhaitée, réglez les supports du rouleau arrière (Figure 10 ou Figure 11) à la position basse ou haute :
-
Placez l’entretoise au-dessus de la bride de fixation de plaque latérale (réglage d’usine) quand la hauteur de coupe est réglée entre 1,5 et 6 mm (1/16 et 1/4 po), comme illustré à la Figure 10.

-
Placez l’entretoise en dessous de la bride de fixation de plaque latérale quand la hauteur de coupe est réglée entre 3 et 25 mm (1/8 et 1 po), comme illustré à la Figure 11.

-
Soulevez l'arrière de l’unité de coupe et placez un bloc sous la contre-lame.
-
Retirez les 2 écrous qui fixent chaque support et entretoise du rouleau à chaque bride de fixation de plaque latérale.
-
Abaissez le rouleau et les vis des brides de fixation de plaque latérale et des entretoises.
-
Placez les entretoises sur les vis, au-dessus ou en dessous des supports de rouleau, selon les besoins (Figure 10 ou Figure 11).
-
Fixez les supports du rouleau et les entretoises à la face inférieure des brides de fixation au moyen des écrous retirés précédemment.
-
Vérifiez si le contact contre-lame/cylindre est correct. Basculez la machine pour exposer les rouleaux avant et arrière et la contre-lame.
Note: La position du rouleau arrière par rapport au cylindre est contrôlée par les tolérances d'usinage des composants assemblés et le réglage du parallélisme n'est pas nécessaire. Un réglage limité est possible si l'on place le plateau de coupe sur un plan de travail et si l'on desserre les boulons de fixation de la plaque latérale (Figure 12). Réglez et serrez les boulons une fois terminé.

Important: Quand vous devez basculer l’unité de coupe pour exposer la contre-lame/le cylindre, calez l'arrière de l’unité de coupe de sorte que les écrous à l’arrière des vis de réglage de la barre d'appui ne reposent pas sur la surface de travail (Figure 4).
Réglage de la jauge de hauteur de coupe
Avant de régler la hauteur de coupe, réglez la jauge de hauteur de coupe comme suit :
-
Desserrez l’écrou sur le gabarit et réglez la vis de réglage à la hauteur de coupe souhaitée (Figure 13).
Note: L'écartement entre la base de la tête de la vis et la face du gabarit correspond à la hauteur de coupe.

-
Serrez l'écrou.
Réglage de la hauteur de coupe
Cette unité de coupe est équipée de série de la contre-lame Edgemax Micro-cut et d'une barre d'appui standard. La hauteur de coupe effective dépend des configurations précédentes de la tondeuse et de l'état du gazon (à savoir, type de rouleau, distance de la contre-lame derrière le centre, verts meubles ou fermes, conditions saisonnières). Réglez la hauteur de coupe initiale entre 0,25 mm et 0,38 mm (0,010 po et 0,015 po) plus haut que le réglage de la tondeuse de verts précédente, et ajustez-la en fonction des conditions.
Note: Pour des hauteurs de coupe supérieures à 13 mm (0,500 po), installez le kit grande hauteur de coupe.
Reportez-vous à la section Réglage de l’unité de coupe en fonction de l'état du gazon pour déterminer quelle contre-lame est la mieux adaptée à la hauteur de coupe recherchée.
-
Desserrez les contre-écrous qui fixent les bras de hauteur de coupe aux plaques latérales de l’unité de coupe (Figure 14).

-
Accrochez la tête de la vis du gabarit de hauteur de coupe sur le côté droit du tranchant de la contre-lame et faites reposer l’arrière du gabarit sur le rouleau arrière (Figure 15).

-
Tournez la vis de réglage jusqu'à ce que le rouleau touche l'avant du gabarit.
-
Répétez les étapes 2 et du côté gauche.
-
Réglez les deux extrémités du rouleau jusqu'à ce que celui-ci soit parfaitement parallèle à la contre-lame.
Important: Lorsque le réglage est correct, les rouleaux avant et arrière touchent le gabarit et la vis est parfaitement en appui contre la contre-lame. On obtient ainsi une hauteur de coupe identique aux deux extrémités de la contre-lame.
-
Serrez les contre-écrous sur les bras de hauteur de coupe afin de bloquer le réglage suffisamment pour supprimer le jeu de la rondelle.
-
Vérifiez que la hauteur de coupe est correcte; répétez la procédure au besoin.
Réglage de la vitesse de coupe
La vitesse de coupe est déterminée par les réglages suivants sur la machine :
-
Vitesse de cylindre : la vitesse de cylindre peut être réglée sur Haute ou Basse; reportez-vous au Manuel de l'utilisateur de votre groupe de déplacement.
-
Position des poulies d'entraînement des cylindres : les poulies d'entraînement des cylindres (à 22 et 24 dents) peuvent être réglées sur 2 positions :
Note: La position des poulies est réglée en usine à la position BASSE.

Pour régler la position des poulies, procédez comme suit :
-
Déposez le couvercle de courroie de sorte à exposer la courroie (Figure 17).

-
Desserrez le boulon du bras de poulie de tension et tournez le bras de poulie de tension (Figure 17) de sorte à détendre la courroie.
-
Déposez la courroie (Figure 17).
-
Desserrez l'écrou sur chaque poulie, déposez les poulies et utilisez les écrous pour remettre les poulies dans votre configuration souhaitée.

-
Serrez les écrous de poulies à un couple de 37 à 45 N∙m (27 à 33 pi-lb).
-
Posez la courroie et tendez-la en appliquant une force de 4 à 5 N∙m (35 à 40 po-lb) sur l’hexagone interne du bras de poulie de tension comme illustré à la Figure 17.
-
Serrez le boulon du bras de poulie de tension et remettez le couvercle de courroie.
Réglage de la barre supérieure
Réglez la barre supérieure de manière que l'herbe coupée soit éjectée proprement de la zone du cylindre, en procédant comme suit :
Note: La barre peut être réglée pour tenir compte des différents types et états du gazon. Rapprochez la barre du cylindre quand le gazon est extrêmement sec. Au contraire, si le gazon est humide, éloignez la barre du cylindre. La barre doit être parallèle au cylindre pour garantir des performances optimales. Réglez-la après avoir affûté le cylindre sur une meule.
-
Desserrez les vis qui fixent la barre supérieure (Figure 19) sur l’unité de coupe.

-
Insérez une jauge d'épaisseur de 1,5 mm (0,060 po) entre le haut du cylindre et la barre, et serrez les vis.
Important: Vérifiez que la barre et le cylindre sont équidistants sur toute la longueur du cylindre.
Entretien de la barre d'appui
Pour éviter d’endommager le cylindre, la barre d'appui ou la contre-lame, seul un mécanicien correctement formé doit être autorisé à effectuer l'entretien de la barre d'appui et de la contre-lame. Dans l'idéal, demandez à votre distributeur Toro agréé d’effectuer l’entretien de votre unité de coupe. Reportez-vous au Manuel d'entretien de votre groupe de déplacement pour connaître toutes les instructions, les outils spéciaux et les diagrammes servant à l’entretien de la contre-lame. Si jamais vous deviez déposer ou démonter vous-même la barre d'appui, vous trouverez ci-dessous des instructions, ainsi que les spécifications pour l'entretien de la contre-lame.
Important: Quand vous effectuez l’entretien de la contre-lame, respectez toujours les procédures pour la contre-lame indiquées dans votre Manuel d’entretien. Si vous n'installez et ne meulez pas correctement la contre-lame, vous risquez d'endommager le cylindre, la barre d'appui ou la contre-lame.
Dépose de la barre d'appui
-
Tournez la vis de réglage de la barre d'appui dans le sens anti-horaire pour éloigner la contre-lame du cylindre (Figure 20).

-
Faites sortir l'écrou de tension du ressort jusqu'à ce que la rondelle ne soit plus tendue contre la barre d'appui (Figure 20).
-
De chaque côté de la machine, desserrez le contre-écrou comme illustré à la Figure 21.

-
Retirez les boulons de la barre d'appui de façon à pouvoir abaisser la barre et la déposer de l’unité de coupe (Figure 21).
Pensez aux 2 rondelles en plastique et à la rondelle en acier à chaque extrémité de la barre d’appui (Figure 21).
Montage de la barre d'appui
-
Installez la barre d'appui en plaçant les languettes de montage entre les rondelles et la vis de réglage de la barre d'appui (Figure 20).
-
Fixez la barre d'appui sur chaque plaque latérale avec les boulons (munis d'écrous) et 3 rondelles (6 au total).
-
Placez une rondelle en nylon de chaque côté du bossage de la plaque latérale. Placez une rondelle en acier à l'extérieur de chacune des rondelles en nylon (Figure 21).
-
Serrez les boulons de la barre d'appui à un couple de 27 à 36 N∙m (240 à 320 po-lb).
-
Serrez les contre-écrous jusqu’à supprimer le jeu axial des rondelles en acier, mais de façon à pouvoir les tourner à la main. Les rondelles à l'intérieur peuvent avoir un espace.
Important: Ne serrez pas les contre-écrous excessivement, sinon ils risquent de déformer les plaques latérales.
-
Serrez l'écrou de tension du ressort jusqu'à ce que les spires soient jointives, puis desserrez-le de 1/2 tour (Figure 22).

-
Réglez la contre-lame sur le cylindre; voir Réglage de la contre-lame après meulage, rodage ou démontage.
Entretien de la contre-lame
Pose de la contre-lame
-
Enlevez la rouille, le tartre et la corrosion à la surface de la barre d’appui et enduisez-la d’une fine couche d'huile.
-
Nettoyez le filetage des vis.
-
Appliquez de l'anti-grippant sur les vis et installez la contre-lame sur la barre d'appui.

-
Serrez les 2 vis extérieures à 1 N∙m (10 po-lb).
-
En commençant par le centre de la contre-lame, serrez les vis à un couple de 23 à 28 N∙m (200 à 250 po-lb).

-
Meulez la contre-lame.
Préparation du cylindre au meulage
-
Assurez-vous que toutes les parties de l'unité de coupe sont en bon état et corrigez tout problème avant le meulage.
-
Suivez les instructions du fabricant de la meule pour meuler le cylindre de coupe aux spécifications suivantes.
Spécifications de meulage du cylindre Diamètre de cylindre neuf 128,5 mm (5,06 po) Limite de service du diamètre de cylindre 114,3 mm (4,5 po) Angle de dépouille de la lame 30° ± 5° Largeur de facette de la lame 1,0 mm (0,04 po) Gamme de largeur de facette de la lame 0,76 à 1,27 mm (0,03 à 0,05 po) Limite de service de conicité du diamètre de cylindre 0,25 mm (0,01 po)
Rectification du cylindre
Le cylindre neuf possède une largeur de facette de 0,76 à 1,27 mm (0,030 à 0,050 po) et un angle de dépouille de 30°.
Quand la largeur de facette dépasse les 3 mm (0,120 po), procédez comme suit :
-
Créez un angle de dépouille de 30° sur toutes les lames de cylindre jusqu’à obtention d'une facette de 1,3 mm (0,050 po) de largeur (Figure 25.

-
Affûtez le cylindre afin d’obtenir un faux-rond <0,025 mm (0,001 po).
Note: Cela accroît légèrement la largeur de facette.
-
Réglez l’unité de coupe; voir le Manuel de l'utilisateur de votre unité de coupe.
Note: Pour prolonger la qualité du tranchant du cylindre et de la contre-lame – après meulage de l'un et/ou de l'autre –, vérifiez à nouveau le contact cylindre/contre-lame après avoir tondu 2 verts, car les bavures auront été éliminées. Les bavures peuvent affecter le jeu entre le cylindre et la contre-lame et accélérer l'usure.
Spécifications de meulage du cylindre

| Angle de dépouille de la contre-lame standard | 3° minimum |
| Angle de dépouille de la contre-lame étendu | 7° minimum |
| Plage d'angle avant | 13° à 17° |
Vérification de l'angle de meulage supérieur
L'angle que vous utilisez pour meuler vos contre-lames est très important.
Utilisez l’indicateur d’angle (Toro réf. 131-6828) et le support d'indicateur d'angle (Toro réf. 131-6829) pour contrôler l'angle produit par la meule, puis corrigez toute imprécision éventuelle.
-
Placez l’indicateur d'angle sur la face inférieure de la contre-lame, comme illustré à la Figure 27.

-
Appuyez sur le bouton Alt Zero sur l'indicateur d'angle.
-
Placez le support d’indicateur d'angle sur le bord de la contre-lame de sorte que le bord de l’aimant soit accouplé au bord de la contre-lame (Figure 28).
Note: Pendant cette opération, l’écran numérique doit être visible du même côté qu’à l’étape 1.

-
Placez l’indicateur d'angle sur le support comme illustré à la Figure 28.
Note: Il s’agit de l’angle que produit votre meule, et qui doit correspondre, à 2 degrés près, à l’angle de meulage supérieur recommandé.
Rodage de l’unité de coupe
Pour roder l’unité de coupe, servez-vous du Kit rodage d’accès (modèle nº 139-4342); reportez-vous aux instructions d’utilisation dans le kit Instructions de montage. Adressez-vous à votre distributeur Toro agréé pour vous procurer ce kit.


et la mention Prudence,
Attention ou Danger. Le non respect de ces instructions peut entraîner
des blessures graves, voire mortelles.


