Penyelenggaraan
Note: Tentukan sisi kiri dan kanan mesin dari kedudukan pengendalian yang biasa.
Menyokong Unit Pemotongan
Apabila anda perlu menjongketkanmenterbalikkan unit pemotongan untuk mendedahkan bilah pisaudasar/kili, angkat bahagian belakang unit pemotongan untuk memastikan nat di hujung belakang skru pelarasan bar dasar tidak menyentuh permukaan kerja (Rajah 8).

Melaraskan Sentuhan Bilah PisauDasar dengan Kili
Melaraskan Bilah PisauDasar Setiap Hari
Sebelum pemotongan pada setiap hari atau apabila diperlukan, periksa setiap unit pemotongan untuk mengesahkan sentuhan bilah pisaudasar dengan kili yang sewajarnya. Lakukan pemeriksaan ini walaupun kualiti pemotongan boleh diterima.
-
Turunkan unit pemotongan pada permukaan yang keras.
-
Matikan kuasa mesin seperti berikut:
-
Unit gas: Matikan kuasa enjin dan cabuttanggalkan wayar palam pencucuh.
-
Unit elektrik: Matikan mesin dan putuskan sambungan penyambung bateri (hendal T).
-
-
Putarkan kili dengan perlahan dalam arah bertentangan, dengar sentuhan kili dengan bilah pisaudasar.
-
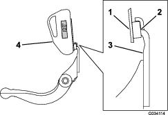
Jika tiada sentuhan dikesan, putarkan skru pelarasan bar dasar mengikut arah jam (Rajah 9), 1 klik pada satu-satu masademi 1 klik, sehingga anda merasa dan mendengar sentuhan yang ringan.

Note: Kili mestilah berupaya memotong sehelai kertas, apabila dimasukkan pada sudut tegakyang tepat pada bilah dasarbilah pisau, pada kedua-dua hujung dan tengah kili.
Note: Skru pelarasan bar dasar mempunyai penahan yang sepadan dengan pergerakan bilah pisaudasar 0.018mm (0.0007 inci) bagi setiap kedudukan berindeks.
-
Jika sentuhan berlebihan/seretan kili dikesan, anda perlu melakukan penindihan kembali, baiki permukaan hadapan bilah pisaudasar atau kisar semula unit untuk mencapai mata tajam yang diperlukan untuk pemotongan yang tepat (Rujuk Manual Toro untuk Mengasah Kili dan Mesin Rumput Putar, No. Borang 09168SL).
Important: Sentuhan ringan sentiasa diutamakan. Jika anda tidak mengekalkan sentuhan ringan, mata bilah pisaudasar/kili tidak akan mengasah sendiri dengan secukupnya dan mata pemotongan yang tumpul akan terhasil selepas pengendalian untuk satu tempoh masa. Jika anda mengekalkan sentuhan berlebihan, kehausan bilah pisaudasar/kili akan dipercepat, kehausan tidak sekata mungkin terhasil dan kualiti pemotongan mungkin merosot.
Note: Untuk unit pemotongan eFlex, sentuhan kili dengan bilah pisaudasar mempunyai kesan yang ketara pada penggunaan tenaga. Sentuhan yang sangat ringan adalah terbaik untuk prestasi pemotongan dan penggunaan bateri.
Note: Apabila bilah kili terus menyentuh bilah dasarbilah pisau, sedikit gerigis akan terbentuk pada permukaan mata pemotongan hadapan sepanjang bilah dasarbilah pisau. Kikir merentas mata hadapan sekali-sekala untuk menyingkirkan kikir ini untukdemi menambah baik pemotongan.Selepas pengendalian yang berlanjutan, lama-kelamaan rabung akan terbentuk pada kedua-dua hujung bilah pisaudasar. Bundarkan takuk ini atau kikir hingga serata dengan mata pemotongan bilah pisaudasar untuk memastikan pengendalian yang lancar.
-
Melaraskan Bilah PisauDasar selepas Pengisaran, Penindihan Kembali atau NyahpasangPenceraian
Gunakan prosedur ini selepas mengisar, melakukan penindihan kembali atau menyahpasangceraikan kili. Ini bukan pelarasan harian.
Note: Untuk unit pemotongan eFlex, sentuhan kili dengan bilah dpisauasar mempunyai kesan yang ketara pada penggunaan tenaga. Sentuhan yang sangat ringan adalah terbaik untuk prestasi pemotongan dan penggunaan bateri.
-
Letakkan unit memotong di permukaan kerja yang rata.
-
JongketkanTerbalikkan unit pemotongan untuk mendedahkan bilah pisaudasar dan kili.
Note: Pastikan nat pada bahagian belakang skru pelarasan bar dasar tidak diletakkan pada permukaan kerja (Rajah 8).
-
Putarkan kili agar salah 1 daripada bilah merentas mata bilah pisaudasar di antara kepala skru bilah pisaudasar pertama dan kedua yang terletak di bahagian kanan unit pemotongan.
-
Buat dan mengenal pasti tanda pengecaman pada bilah di tempat rentasan dengan mata bilah pisaudasar.
Note: Tindakan ini akan memudahkan pelarasan kemudian.
-
Masukkan kepipis 0.05mm (0.002 inci) di antara bilah dengan mata bilah pisaudasar pada titik yang ditandakan dalam langkah 4.
-
Putarkan skru pelarasan bar dasar kanan (Rajah 9) sehingga anda merasa sedikit tekanan pada kepipis apabila menggelangsarkan kepipis dari sisi ke sisi. Tanggalkan kepipis.
-
Bagi bahagian kiri unit pemotongan, putarkan kili dengan perlahan agar bilah yang terdekat merentas mata bilah pisaudasar di antara kepala skru pertama dengan kedua.
-
Ulangi langkah 4 hingga 6 untuk bahagian kiri unit pemotongan dan skru pelarasan bar dasar kiri.
-
Ulangi langkah 5 dan 6 hingga terasa sedikit tekanan di titik sentuhan pada bahagian kiri dan kanan unit pemotongan.
-
Untuk mendapatkan sentuhan ringan di antara kili dengan bilah pisaudasar, putarkan setiap skru pelarasan bar dasar mengikut arah jam sebanyak 3 klik.
Note: Setiap klik pada skru pelarasan bar dasar akan menggerakkan bilah pisaudasar sebanyak 0.018mm (0.0007 inci). Jangan kunci skru pelarasan sehingga terlalumpau ketat.Pemutaran skru pelarasan mengikut arah jam akan menggerakkan mata bilah pisaudasar mendekati kili. Pemutaran skru pelarasan melawan arah jam akan menggerakkan mata bilah dasarbilah pisau menjauhi kili.
-
Uji prestasi pemotongan dengan memasukkan jaluran kertas prestasi pemotongan yang panjang di antara kili dengan bilah pisaudasar, secara serenjang dengan kili dan bilah pisaudasar (Rajah 10). Putarkan kili ke hadapan dengan perlahan untuk memotong kertas.

Note: Jika sentuhan berlebihan/seretan kili dikesan, anda mungkin perlu melakukan penindihan kembali atau mengisar kili dan bilah pisaudasar untuk sampaimencapai mata tajam yang diperlukan untuk pemotongan yang tepat.
Mengisar Bilah DPisauasar
Pengisaran Lega pada Kili
Kili baharu mempunyai lebar tanah 0.76 hingga 1.27mm (0.030 hingga 0.050 inci) dan pengisaran lega 30 darjah.
Apabila lebar tanah melebihi 3mm (0.120 inci), lakukan yangperkara berikut:
-
GunakanLakukan pengisaran lega 30 darjah pada semua bilah kili sehingga lebar tanah sampaimencapai 0.76 hingga 1.27mm (0.030 hingga 0.050 inci) (Rajah 11.

-
Kisar kili dengan memutar untuk sampaimencapai penyingkiran kili <0.025mm (0.001 inci).
Note: Ini menyebabkan lebar tanah bertambah sedikit.
Note: Untuk melanjutkan kekekalan ketajaman mata kili dan bilah pisaudasar—selepas mengisar kili dan/atau bilah pisaudasar—periksa sentuhan kili dengan bilah pisaudasar sekali lagi selepas memotong 6 kawasan hijau kerana mana-mana gerigis akan disingkirkan dan ini mungkin mewujudkan ruang lega dari kili ke bilah pisaudasar yang tidak sesuai lalu mempercepat kehausan.
Memeriksa Sudut Kisar Atas
Sudut yang anda gunakan untuk mengisar bilah pisaudasar anda adalah sangat penting.
Gunakan penunjuk sudut dan lekapan penunjuk sudut untuk menyemak sudut yang dihasilkan oleh pengisar anda, betulkan mana-mana pengisar yang tidak tepat.
-
Letakkan penunjuk sudut pada bahagian bawah bilah pisaudasar seperti yang ditunjukkan dalam Rajah 12.

-
Tekan butang Alt Zero pada penunjuk sudut.
-
Letakkan lekapan penunjuk sudut pada mata bilah pisaudasar agar tepi magnet melekat dengan mata bilah pisaudasar (Rajah 13).
Note: Paparan digital seharusnya dapat dilihat dari sisi yang sama pada langkah ini seperti paparan dalampada langkah 1.

-
Letakkan penunjuk sudut pada lekapan seperti yang ditunjukkan dalam Rajah 13.
Note: Ini ialah sudut yang terhasil pada pengisar anda hasilkan dan seharusnya berada dalam julat 2 darjah daripadabagi sudut kisar atas yang disyorkan.
Spesifikasi Pengisaran Kili
| Diameter Kili (Baharu) | 128.5mm (5.06 inci) |
| Had Servis–Diameter Kili | 114.3mm (4.50 inci) |
| Diameter Aci Kili (OD) | 34.9mm (1.375 inci) |
| Sudut Lega Bilah | 25 hingga 35° |
| Lebar Tanah Bilah | 0.76 hingga 1.27mm (0.030 hingga 0.50 inci) |
| Julat Lebar Tanah Bilah | 0.8 hingga 1.2mm (0.030 hingga 0.050 inci) |
| Had Servis–Tirusan Diameter Kili | 0.25mm (0.010 inci) |
Melaraskan Ketinggian Penggelek Belakang
Bergantung pada julat ketinggian pemotongan yang anda inginkanmahu, laraskan pendakap penggelek belakang (Rajah 14 atau Rajah 15) kepada kedudukan rendah atau tinggi:
-
Letakkan peruangegang di atas bebibir lekapan plat sisi (tetapan kilang) apabila julat tetapan ketinggian pemotongan adalah dari 1.5mm hingga 6mm (1/16 inci hingga ¼ inci) seperti yang ditunjukkan dalam Rajah 14.

-
Letakkan peruangegang di bawah bebibir lekapan plat sisi apabila julat tetapan ketinggian pemotongan adalah dari 3mm hingga 25mm (⅛ inci hingga 1 inci) seperti yang ditunjukkan dalam Rajah 15.

-
Angkat bahagian belakang unit pemotongan dan letakkan satu blok di bawah bilah pisaudasar.
-
Tanggalkan 2 nat yang mengunci setiap pendakap penggelek dan peruangegang pada setiap bebibir lekapan plat sisi.
-
Turunkan penggelek dan skru dari bebibir lekapan plat sisi dan peruangegang.
-
Letakkan peregangeruang pada atas skru di bahagian atas atau di bawah pendakap penggelek, seperti yang diperlukan (Rajah 14 atau Rajah 15).
-
Kuncikan pendakap penggelek dan peregangeruang di pada bahagian bawah bebibir lekapan menggunakan nat yang ditanggalkan sebelumnya ini.
-
Sahkan bahawa sentuhan bilah pisaudasar dengan kili adalah betul. JongketkanTerbalikkan mesin rumput untuk mendedahkan penggelek hadapan dan belakang serta bilah pisaudasar.
Note: Kedudukan penggelek belakang ke kili dikawal oleh toleransi pemesinan komponen yang dipasangkan dan penyelarian tidak diperlukan. Pelarasan yang terhad boleh dilakukan dengan meletakkan unit pemotongan di atas plat permukaan dan melonggarkan bolt lekapan plat sisi (Rajah 16). Laraskan dan ketatkan bolt apabila selesai.

Important: Apabila anda perlu mentjongketkanerbalikkan unit pemotongan untuk mendedahkan bilah pisaudasar/kili, angkat bahagian belakang unit pemotongan untuk memastikan nat di hujung belakang skru pelarasan bar dasar tidak menyentuh permukaan kerja (Rajah 8).
Melaraskan Ketinggian Pemotongan
Unit pemotongan ini biasadisert disertakan dengan bilah pisaudasar Edgemax Micro-cut yang standard dan bar dasar yang standard. Ketinggian pemotongan yang berkesan bergantung pada konfigurasi mesin rumput sebelumnyaterdahulu dan keadaan tanah rumput (iaitu jenis penggelek, jarak pusat belakang bilah pisaudasar, kawasan hijau lembut atau keras, keadaan musim). Tetapkan ketinggian pemotongan awal 0.25mm hingga 0.38mm (0.010 hingga 0.015 inci) lebih tinggi daripada persediaan mesin rumput kawasan hijau sebelum initerdahulu dan buat pelarasan agar sepadan dengan keadaan.
Note: Untuk ketinggian pemotongan yang lebih tinggi daripada 13mm (0.500 inci), pasangkan kit ketinggian pemotongan tinggi.
Gunakan carta berikut untuk menentukan bilah dasarbilah pisau yang paling sesuai untuk ketinggian pemotongan yang diingini.
| Carta Bilah DasarBilah Pisau/Ketinggian Pemotongan Yang Disyorkan | ||
| Bilah DasarBilah Pisau | Nombor Bahagian | Ketinggian Pemotongan |
| Edgemax Micro-cut (Standard) | 115-1880 (2100)117-1530 (1800) | 1.5 hingga 4.7mm (0.062–0.188 inci) |
| Edgemax Tournament (Pilihan) | 115-1881 (2100)117-1532 (1800) | 3.1 hingga 12.7mm (0.125–0.500 inci) |
| Micro-cut (Pilihan) | 93-4262 (2100)98-7261 (1800) | 1.5 hingga 4.7mm (0.062–0.188 inci) |
| Tournament (Pilihan) | 93-4263 (2100)98-7260 (1800) | 3.1 hingga 12.7mm (0.125–0.500 inci) |
| Extended Micro-cut (Pilihan) | 108-4303 (2100)110-2300 (1800) | 1.5 hingga 4.7mm (0.062–0.188 inci) |
| Extended Tournament (Pilihan) | 108-4302 (2100) | 3.1 hingga 12.7mm (0.125–0.500 inci) |
| Low-cut (Pilihan) | 93-4264 (2100)110-2301 (1800) | 4.7 hingga 25.4mm (0.188–1.00 inci) |
-
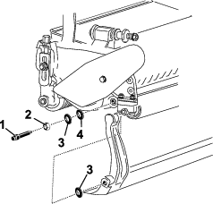
Longgarkan nat kunci yang mengunci lengan ketinggian pemotongan pada plat sisi unit pemotongan (Rajah 17).

-
Longgarkan nat pada bar tolok dan tetapkan skru pelarasan kepada ketinggian pemotongan yang diingini (Rajah 18).
Note: Jarak di antara bahagian bawah kepala skru dengan muka bar ialah ketinggian pemotongan.

-
Cangkukkan kepala skru pada mata pemotongan bilah dasarbilah pisau dan letakkan hujung belakang bar pada bahagian belakang penggelek (Rajah 19).

-
Putarkan skru pelarasan sehingga penggelek menyentuh bahagian hadapan bar tolok.
-
Laraskan kedua-dua hujung penggelek sehingga seluruh penggelek selari dengan bilah dasarbilah pisau.
Important: Apabila ditetapkan dengan betul, penggelek belakang dan hadapan akan menyentuh bar tolok dan skru dipasangkan rapat pada bilah dasarbilah pisau. Ini memastikan ketinggian pemotongan adalah sama di kedua-dua hujung bilah dasarbilah pisau.
-
Ketatkan nat untuk mengunci pelarasan dengan secukupnya agar tiada kelonggaran pada sesendal.
Melaraskan Tetapan Klip
Terdapat 6 tetapan klip pada unit pemotongan yang boleh anda tetapkan agar sepadan dengan keadaan tanah berumput anda. Mulakan penetapan klip untuk memadanmkan dengan ketinggian pemotongan, kemudian uji unit pemotongan dan laraskan klip untuk mendapatkan kualiti pemotongan yang anda inginkanmahu.
-
Matikan kuasa mesin seperti berikut:
-
Unit gas: Matikan kuasa enjin dan tanggalkan wayar palam pencucuh.
-
Unit elektrik: Matikan mesin dan putuskan sambungan penyambung bateri (hendal T).
-
-
Longgarkan bolt bebibir yang mengikat penutup sabuk dan keluarkan penutup sabuk untuk mendedahkan sabuk. (Rajah 20).

-
Keluarkan nat perumah galas (Rajah 21).

-
Menggunakan perengkuh 16 mm (⅝ inci), putarkan perumah galas untuk memastikan ia dikendalikanperumah bergerak dengan bebas.
-
Keluarkan sabuk (Rajah 21).
-
Menggunakan carta yang ditunjukkan pada pelekat dalam Rajah 22, tentukan tetapan klip yang anda mahu dan takal mana anda yang perlu dialihkan.
Note: Setiap takal bernditandai nombor (22, 24 dan 25). Alihkan takal ke kedudukan yang diteunjukkanntukan dalam carta untuk tetapan klip anda.

-
Longgarkan 2 set skru penuh pada setiap takal yang perlu dialihkan menggunakan perengkuh heks.
-
Keluarkan setiap takal.
-
Pasangkan setiap takal dalam konfigurasi baharu seperti yang dintunjukkanyatakan pada pelekat (Rajah 22).
Note: Pastikan set skru penuh pada setiap takal diletakkan pada kedudukan yang sejajar dengan kunci dan bahagian rata pada aci.
-
Tork set skru penuh kepada 8.3 hingga 8.9 N·m (74 hingga 79 inci-lb).
-
Pasangkan sabuk.
-
Pastikan pegas mampatan mengenakan tegangan pada sabuk (Rajah 21).
-
Ketatkan nat perumah galas.
-
Pasang penutup sabuk.
Melaraskan Bar Potong
Laraskan bar potong untuk memastikan potongan rumput dikeluarluahkan dari ruang kili dengan kemas, seperti berikut:
Note: Bar boleh dilaraskan untuk memampas bertindak mengikut bagi perubahan keadaan tanah berumput. Laraskan bar lebih rapat kemendekati kili apabila tanah berrumput adalah sangat kering. Sebaliknya, laraskan bar menjauhi kili apabila keadaan tanah berumput adalah basah. Bar seharusnya selari dengan kili untuk memastikan prestasi optimum. Laraskan bar selepas kili ditajamkan pada pengisar kili.
-
Longgarkan skru yang mengunci bar atas (Rajah 23) pada unit pemotongan.

-
Masukkan tolok perasa 1.5mm (0.060 inci) di antara bahagian atas kili dengan bar dan ketatkan skru.
Important: Pastikan jarak yang sekata di antara bar dengan kili dimerentas seluruh kili.
Menservis Bar Dasar/Bilah PisauDasar
Hanya mekanik yang dilatih sewajarnya boleh menservis bar dasar dan bilah dasarbilah pisau untuk mengelakkan kerosakan pada kili, bar dasar atau bilah dasarbilah pisau. Bawa unit pemotongan ke pengedarjual Toro yang dibenarkan anda untuk diservis. Rujuk kepada Manual Servis unit cengkaman anda untuk mendapatkan arahan lengkap, alatan khas dan gambar rajah untuk menservis bilah dasarbilah pisau. Sekiranya anda sendiri perlu menanggalkan atau memasangkan bar dasar, arahan dan spesifikasi untuk menservis bilah dasarbilah pisau diberikan di bawah.
Important: Sentiasa ikuti prosedur bilah dasarbilah pisau yang diperincikan dalam Manual Servis anda ketika menservis bilah dasarbilah pisau. Kegagalan untuk memasangkan dan mengisar bilah dasarbilah pisau dengan betul boleh merosakkan kili, bar dasar atau bilah dasarbilah pisau.
Menanggalkan Bar Dasar
-
Putarkan skru pelarasan bar dasar melawan arah jam untuk menjauhkan bilah dasarbilah pisau dari kili (Rajah 24).

-
Keluarkan nat ketegangan pegas sehingga sesendal tidak lagi ditegangkan pada bar dasar (Rajah 24).
-
Pada setiap sisi mesin, longgarkan nat kunci yang mengunci bolt bar dasar (Rajah 25).

-
Tanggalkan setiap bolt bar dasar, membolehkan anda menarik bar dasar ke bawah dan tanggalkannya dari bolt mesin (Rajah 25).
Tentukan tempat untuk 2 sesendal nilon dan 2 sesendal keluli tekanan pada setiap hujung bar dasar (Rajah 26).

Memasangkan Bar Dasar
-
Pasangkan bar dasar, letakkan telinga lekapan di antara sesendal dengan pelaras bar dasar.
-
Kuncikan bar dasar pada setiap plat sisi menggunakan bolt bar dasar (nat pada bolt) dan 4 sesendal (jumlah 8).
-
Letakkan sesendal nilon pada setiap sisi tombol plat sisi. Letakkan sesendal keluli di bahagian luar setiap sesendal nilon (Rajah 26).
-
Tork bolt bar dasar kepada 27 hingga 36 N∙m (240 hingga 320 inci-lb). Ketatkan nat kunci denganmenggunakan tangan sehingga bahagian luar sesendal keluli henti berputar dan tiada kelonggaran di hujung. Mungkin ada ruang pada sesendal di bahagian dalam.
Important: Jangan kunci nat kunci sehingga terlampau ketat kerana ini akan memesongkan plat sisi.Jangan kunci nat kunci terlalu ketat kerana ini akan memesongkan plat sisi.
-
Ketatkan nat ketegangan pegas sehingga pegas dilipat, kemudian undur balik sebanyak ½ putaran (Rajah 27).

Memasangkan Bilah PisauDasar
-
Singkirkan karat, kerak dan kakisan dari permukaan bar dasar dan sapukan satu lapisan minyak yang tipis pada permukaan bar dasar.
-
Bersihkan ulir skru.
-
Sapukan sebatian tidak henti pada skru dan pasangkan bilah dasarbilah pisau pada bar dasar.

-
Tork 2 skru luar kepada 1 N∙m (10 inci-lb).
-
Dengan mengendalikan dari bahagian tengah bilah dasarbilah pisau, tork skru kepada 23 hingga 28 N∙m (200 hingga 250 inci-lb).

-
Kisar bilah dasarbilah pisau.
Spesifikasi Bilah DasarBilah Pisau
Spesifikasi Pengisaran Bilah DasarBilah Pisau

| Sudut lega bilah dasarbilah pisau standard | Minimum 3° |
| Sudut lega bilah dasarbilah pisau dilanjutkan | Minimum 7° |
| Julat sudut hadapan | 13° hingga 17° |
Pemusing Balikenindihan Kembali pada Kili
Bahaya
Kecederaan diri boleh berlaku jika tersentuh kili atau bahagian bergerak yang lain.Kecederaan diri boleh berlaku jika tersentuh dengan kili atau bahagian lain yang bergerak.
Jauhkan jari, tangan dan pakaian anda daripada kili atau bahagian bergerak yang lain.
-
Jauhi kili ketika memusing balikpenindihan kembali.
-
Jangan gunakan berus cat dengan pemegang pendek untuk memusing balikpenindihan kembali. Untuk bahagian pemasangan hendal, hubungi pengedarjual Toro yang dibenarkan anda.
Anda boleh memusing baliknindih kembali kili sama ada dengan membiarkan unit pemotongan pada unit cengkaman atau menanggalkan unit pemotongan sepenuhnya dari unit cengkaman. Jika anda membiarkan unit pemotongan pada unit cengkaman, alihkan pengganding heks di antara pemacu utama dengan pemacu unit pemotongan kepada kedudukan nyahganding untuk mengelakkan kehausan berlebihan pada brek kili.
-
Letakkan mesin di permukaan yang bersih dan rata.
-
Matikan kuasa mesin seperti berikut:
-
Unit gasolin: Matikan kuasa enjin dan tanggalkan wayar palam pencucuh.
-
Unit elektrik: Matikan mesin dan putuskan sambungan penyambung bateri (hendal T).
-
-
Gunakan brek tangan.
-
Sambungkan mesin memusing balikpenindihan kembali pada unit pemotongan dengan menyambungkan soket heks ½ inci pada aci output takal kili pada bahagian kiri unit pemotongan.
Note: Arahan dan prosedur tambahan tentang pemusing balikpenindihan kembali boleh didapati dalam Manual Toro untuk Mengasah Kili dan Mesin Rumput Putar (No. Borang 80-300PT).
Note: Untuk mendapatkan mata pemotongan yang lebih baik, kikir merentas muka hadapan bilah dasarbilah pisau apabila anda melengkapkan pengendalian penindihan. Ini akan menyingkirkan gerigis atau gerigi yang mungkin membentuk pada mata memotong. Tindakan mengikir yang sangat ringan mungkin diperlukan pada mata atas untuk memisahkan gerigis dari mata pemotongan sepenuhnya.
Note: Jika anda membiarkan unit pemotongan dipasangkan pada mesin sewaktu pemusingan balikpenindihan kembali, gandingkan aci heks mesin kembali pada unit pemotongan.


, yang bermaksud Awas, Amaran atau
Bahaya—arahan keselamatan diri. Kegagalan untuk mematuhi arahan
ini boleh menyebabkan kecederaan diri atau kematian.





