유지보수
Note: 정상 운전 위치에서 장비의 좌측과 우측을 판단하십시오.
커팅 유닛 지지
베드나이프/릴을 드러내기 위해 커팅 유닛을 기울여야 할 때마다 커팅 유닛 뒤쪽을 받쳐 베드바 조정 나사 후미의 너트가 작업대 표면에 닿지 않게 하십시오(그림 8).

베드나이프-릴 접촉 조정
베드나이프 일일 조정
매일, 또는 필요에 따라 예초를 하기 전에 각 커팅 유닛을 점검하여 베드나이프-릴 접촉이 적절한지 확인해야 합니다. 커팅 품질이 적절한 경우에도 이 점검을 수행하십시오.
-
단단한 지면에 커팅 유닛을 내려 놓습니다.
-
다음과 같이 장비를 끕니다.
-
가스 장치: 엔진을 끄고 점화 플러그 와이어를 분리합니다.
-
전기 장치: 장비를 끄고 배터리 커넥터를 분리합니다(T-핸들).
-
-
릴을 천천히 반대 방향으로 돌리면서 릴-베드나이프 접촉면에서 나는 소리를 들어 봅니다.
-
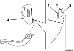
접촉이 분명하지 않으면, 가볍게 접촉한 것이 느껴질 때까지 베드바 조정 나사를 시계 방향으로 한 번에 1 눈금씩 돌립니다(그림 9).

Note: 릴의 양 끝단 및 중앙에서 베드나이프 우측 각도에서 종이 시트를 삽입하면 릴은 종이 한 장을 잘라야 합니다.
Note: 베드나이프 조정 나사에는 한 눈금이 0.018 mm 베드나이프 이동에 해당하는 멈춤 위치가 있습니다
-
지나치게 닿거나 릴이 끌리는 것이 뚜렷하게 나타나면 베드나이프를 이면 연마하거나 베드나이프 앞 부분을 재처리하거나 커팅 유닛을 재연마하여 절단면을 예리하게 만들어 정밀하게 커팅할 수 있게 하십시오(Toro 연삭 릴 및 로타리 모어 설명서 양식 번호 09168SL을 참조하십시오).
Important: 항상 살짝 닿는 것이 바람직합니다. 살짝 닿는 상태로 유지하지 않으면 베드나이프/릴 절단면이 충분히 자가 연삭되지 않으므로, 일정 기간 작동한 후에 절단면이 무디어집니다. 지나치게 닿는 상태로 유지하면 베드나이프/릴 마모 속도가 빨라져 고르지 않게 마모가 되며, 커팅의 질에 나빠질 수 있습니다.
Note: eFlex 커팅 유닛에서 릴과 베드나이프 접촉은 에너지 소비에 상당한 영향을 미칩니다. 매우 가벼운 접촉이 최적의 커팅 성능과 배터리 소비를 위한 선택입니다.
Note: 릴 블레이드가 계속 베드나이프에 닿는 상태로 작동되므로 베드나이프의 전체 길이 방향으로 전방 절단면에 약간 거칠어진 부분이 나타납니다. 가끔 전방면을 따라 줄질을 해서 이러한 거칠어진 부분을 제거하여 커팅 품질을 개선하십시오.장기간 작동하면 결국 베드나이프의 양쪽 끝에 굴곡이 생깁니다. 이렇게 생긴 홈은 베드나이프의 절단면과 수평이 되도록 다듬거나 줄질을 해야 깔끔하게 작업할 수 있습니다.
-
연마, 이면 연마 또는 분해한 후 베드나이프를 조정하십시오.
릴을 연마, 이면 연마 또는 분해한 후 이 작업을 수행하십시오. 매일 실시할 필요는 없습니다.
Note: eFlex 커팅 유닛에서 릴과 베드나이프 접촉은 에너지 소비에 상당한 영향을 미칩니다. 매우 가벼운 접촉이 최적의 커팅 성능과 배터리 소비를 위한 선택입니다.
-
수평이 맞추어진 평평한 작업면에 커팅 유닛을 놓습니다.
-
커팅 유닛을 기울여서 베드나이프와 릴이 드러나게 합니다.
Note: 베드바 조정 나사 후미의 너트가 작업면에 닿지 않게 합니다(그림 8).
-
릴을 돌려서 블레이드 중 하나가 커팅 유닛 오른쪽에 있는 첫 번째 베드나이프 나사 헤드와 두 번째 베드나이프 나사 헤드 사이의 베드나이프 가장자리와 교차하게 합니다.
-
블레이드에 베드나이프 가장자리가 통과하는 곳을 식별 표시합니다.
Note: 이렇게 하면 나중에 조정 작업이 수월해집니다.
-
4 단계에서 표시된 블레이드와 베드나이프 가장자리 사이의 지점에 0.05 mm 심을 삽입합니다.
-
심을 옆으로 밀면 약간의 압력이 느껴질 때까지 오른쪽 베드바 조정 나사(그림 9)를 돌립니다. 심을 뺍니다.
-
커팅 유닛의 왼쪽의 경우, 릴을 천천히 돌려서 가장 가까운 블레이드가 첫 번째 나사 헤드와 두 번째 나사 헤드 사이의 베드나이프 가장자리와 교차하게 합니다.
-
커팅 유닛의 왼쪽과 왼쪽 베드바 조정 나사에 대해 4~6 단계를 반복합니다.
-
커팅 유닛의 왼쪽과 오른쪽의 접촉점에서 가벼운 압력이 느껴질 때까지 5 및 6 단계를 반복합니다.
-
릴과 베드나이프가 서로 살짝 닿도록, 각 베드바 조정 나사를 시계 방향으로 3 눈금 돌립니다.
Note: 베드바 조정 나사를 한 눈금 돌리면 베드나이프는 0.018 mm 움직입니다. 조정 나사를 지나치게 조이지 마십시오.조정 나사를 시계 방향으로 돌리면 베드나이프 날이 릴에 가깝게 이동합니다. 조정 나사를 시계 반대 방향으로 돌리면 베드나이프 날이 릴에서 멀어집니다.
-
릴과 베드나이프에 수직 방향으로 릴과 베드나이프 사이로 커팅 성능 검사용 종이 띠를 끼워 넣어 커팅 성능을 시험합니다(그림 10). 릴을 서서히 앞으로 회전시켜 종이를 자릅니다.

Note: 과도한 접촉/릴 끌림이 발생하면 릴 및 베드나이프를 이면 연마하거나 연마하여 정밀한 예초에 필요한 날카로운 날을 만들어야 합니다.
베드나이프 연마
릴 릴리프 연마
새로운 릴의 랜드 폭은 0.76~1.27 mm이고 릴리프 연마 각도는 30도입니다.
랜드 폭이 3 mm 이상이 되면, 다음과 같이 하십시오.
-
랜드 폭이 0.76~1.27 mm가 될 때까지 모든 릴 블레이드에 30도 릴리프 연마를 적용합니다(그림 11).

-
릴 런아웃이 0.025 mm 이하가 되도록 릴을 회전 연마합니다.
Note: 이렇게 하면 랜드 폭이 약간 증가합니다.
Note: 릴 및/또는 베드나이프를 연마한 후 릴의 날과 베드나이프의 날카로움을 오래 유지하려면 6개의 그린을 예초한 다음 릴과 베드나이프의 접촉을 다시 점검하십시오. 릴과 베드나이프 사이의 부적절한 간격을 유발하여 마모를 가속화하는 돌기가 제거되어 있는지 점검하십시오.
상단 연마 각도 점검
베드나이프를 연마하는 데 사용하는 각도는 매우 중요합니다.
각도 표시기 및 각도 표시기 마운트를 사용하여 그라인더에서 만들어지는 각도를 확인한 다음 그라인더가 부정확하면 교정하십시오.
릴 연마 규격
| 릴 직경(신품) | 128.5 mm |
| 정비 한계값–릴 직경 | 114.3 mm |
| 릴 샤프트 직경(OD) | 34.9 mm |
| 블레이드 릴리프 각도 | 25~35° |
| 블레이드 랜드 폭 | 0.76~1.27 mm |
| 블레이드 랜드 폭 범위 | 0.8~1.2 mm |
| 정비 한계값–릴 직경 테이퍼 | 0.25 mm |
후방 롤러 높이 조정
원하는 예고 범위에 따라 후방 롤러 브래킷(그림 14 또는 그림 15)을 낮은 위치 또는 높은 위치로 조정하십시오.
-
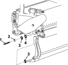
그림 14에 표시된 바와 같이 예고 설정 범위가 1.5 mm~6 mm 사이인 경우 측면 플레이트 마운팅 플랜지 위에 스페이서를 놓습니다.

-
그림 15에 표시된 바와 같이 예고 설정 범위가 3 mm~25 mm 사이인 경우 측면 플레이트 마운팅 플랜지 아래에 스페이서를 놓습니다.

-
커팅 유닛의 뒷면을 올리고 베드나이프 밑에 블록을 놓습니다.
-
각 롤러 브래킷과 스페이서를 각 측면 플레이트 마운팅 플랜지에 고정하는 2개의 너트를 뺍니다.
-
측면 플레이트 마운팅 플랜지와 스페이서에서 롤러와 나사를 아래로 내립니다.
-
필요한 경우 스페이서를 롤러 브래킷의 위 또는 아래의 나사에 스페이서를 끼웁니다(그림 14 또는 그림 15).
-
앞에서 빼둔 너트를 사용하여 롤러 브래킷과 스페이서를 마운팅 플랜지의 밑면에 고정합니다.
-
베드나이프와 릴이 올바르게 접촉되었는지 확인합니다. 모어를 기울여 전방/후방 롤러와 베드나이프가 드러나게 합니다.
Note: 릴을 기준으로 한 후방 롤러의 위치는 조립된 구성 요소의 가공 오차에 따라 조절됩니다. 평평한 플레이트에 커팅 유닛을 놓고 측면 플레이트 마운팅 볼트를 늦추면 제한적 조정을 할 수 있습니다(그림 16). 종료되면 볼트를 조정하고 조입니다.

Important: 베드나이프/릴을 드러내기 위해 커팅 유닛을 기울여야 할 때마다 커팅 유닛 뒤쪽을 받쳐 베드바 조정 나사 후미의 너트가 작업대 표면에 닿지 않게 하십시오(그림 8).
예고 조정
이 커팅 유닛에는 Edgemax 마이크로 컷 베드나이프와 표준 베드바가 기본적으로 제공됩니다. 이전 모어 구성과 잔디 상태(즉, 롤러 유형, 중앙에서 베드나이프까지의 간격, 부드럽거나 단단한 그린, 계절적 요소 등)에 따라 유효 예고가 결정됩니다. 처음 예고를 이전 그린모어 설정보다 0.25~0.38 mm 높게 설정하고 환경에 따라 조정하십시오.
Note: 예고가 13 mm 이상인 경우 고예고 키트를 장착해야 합니다.
다음 차트를 사용하여 원하는 예고에 가장 적합한 베드나이프가 어느 것인지 판단하십시오.
| 권장 베드나이프/예고 표 | ||
| 베드나이프 | 부품 번호 | 예고 |
| Edgemax 마이크로 컷(표준) | 115-1880 (2100)117-1530 (1800) | 1.5~4.7 mm |
| Edgemax 토너먼트(옵션) | 115-1881 (2100)117-1532 (1800) | 3.1~12.7 mm |
| 마이크로 컷(옵션) | 93-4262 (2100)98-7261 (1800) | 1.5~4.7 mm |
| 토너먼트(옵션) | 93-4263 (2100)98-7260 (1800) | 3.1~12.7 mm |
| 확장형 마이크로 컷(옵션) | 108-4303 (2100)110-2300 (1800) | 1.5~4.7 mm |
| 확장형 토너먼트(옵션) | 108-4302 (2100) | 3.1~12.7 mm |
| 로우 컷(옵션) | 93-4264 (2100)110-2301 (1800) | 4.7~25.4 mm |
-
예고 암을 커팅 유닛 측면 플레이트에 고정하는 록너트를 풉니다(그림 17).

-
게이지 바의 너트를 풀고 조정 나사를 원하는 예고로 설정합니다(그림 18).
Note: 나사 머리 아랫면과 바 표면 사이의 거리가 예고입니다.

-
나사 머리를 베드나이프의 절단면에 걸고 바의 뒤쪽 끝은 후방 롤러에 걸칩니다(그림 19).

-
롤러가 게이지 바 앞부분과 닿을 때까지 조정 나사를 돌립니다.
-
롤러 전체가 베드나이프와 평행이 되도록 롤러의 양끝을 조정합니다.
Important: 제대로 설정하면 후방 롤러와 전방 롤러가 게이지 바에 닿게 되고 나사가 베드나이프에 딱 맞게 고정됩니다. 그러면 베드나이프 양쪽 끝의 예고가 같아집니다.
-
와셔에 유격이 생기지 않도록 너트를 충분히 조여 조정값을 고정합니다.
클립 설정 조정
커팅 유닛에는 잔디 조건에 부합하도록 구성할 수 있는 6개의 클립 설정 장치가 있습니다. 클립을 예고에 맞도록 설정한 다음 커팅 유닛을 시험하고 클립을 조정하여 원하는 예고 품질을 얻을 수 있습니다.
-
다음과 같이 장비를 끕니다.
-
가스 장치: 엔진을 끄고 점화 플러그 와이어를 분리합니다.
-
전기 장치: 장비를 끄고 배터리 커넥터를 분리합니다(T-핸들).
-
-
벨트 덮개를 고정하는 플랜지 볼트를 풀고 벨트 덮개를 제거하여 벨트를 노출시킵니다(그림 20).

-
베어링 하우징 너트를 풉니다(그림 21).

-
16 mm 렌치를 사용하여 베어링 하우징을 돌려 자유롭게 작동하도록 합니다.
-
벨트를 분리합니다(그림 21).
-
그림 22의 데칼에 표시된 표를 사용하여 원하는 클립 설정 및 이동해야 하는 풀리를 결정합니다.
Note: 각 풀리에는 번호가 매겨져 있습니다(22, 24 및 25). 클립 설정을 위해 표에 나와 있는 위치로 풀리를 이동합니다.

-
육각 렌치를 사용하여 이동해야 하는 풀리의 멈춤 나사 2개를 풉니다.
-
해당 풀리를 분리합니다.
-
데칼에 표시된 대로 새 구성으로 해당 풀리를 설치합니다(그림 22).
Note: 샤프트의 키 및 평면 영역과 정렬하도록 각 풀리의 멈춤 나사를 배치합니다.
-
멈춤 나사를 8.3~8.9 N∙m 토크로 조입니다.
-
벨트를 설치합니다.
-
압축 스프링이 벨트에 장력을 가하는지 확인합니다(그림 21).
-
베어링 하우징 너트를 조입니다.
-
벨트 덮개를 설치합니다.
절단 바 조정
예지물이 릴 영역에서 깔끔하게 배출되도록 다음과 같이 절단 바를 조정합니다.
Note: 바는 잔디 상태에 맞추어 조정할 수 있습니다. 잔디가 매우 건조한 경우 바를 릴에 가깝게 조정하십시오. 반대로 잔디가 물기가 많은 경우에는 바를 릴에서 떨어지게 조정하십시오. 바가 릴과 평행이 되어야 가장 좋은 결과가 나옵니다. 릴 그라인더로 릴을 연삭한 후 조정하십시오.
-
상단 바(그림 23)와 커팅 유닛을 고정하는 나사를 풉니다.

-
릴 상단과 바 사이에 1.5 mm(0.069인치)의 틈새 게이지를 삽입하고 나사를 조입니다.
Important: 릴 전체에 걸쳐 바와 릴 사이의 거리가 동일한지 확인합니다.
베드바/베드나이프 정비
릴, 베드바 또는 베드나이프의 손상을 방지하기 위해 적절하게 훈련받은 기술자만이 베드바와 베드나이프를 정비해야 합니다. Toro 서비스 지정점에서 커팅 유닛의 정비를 받으십시오. 베드나이프 정비에 대한 완전한 지침, 특수 공구 및 그림은 트랙션 유닛의 정비 설명서를 참조하십시오. 베드바를 스스로 제거하거나 조립해야 할 경우, 아래에 명시된 베드나이프 정비에 대한 지침 및 규격을 참조하십시오.
Important: 베드나이프를 정비할 때 항상 정비 설명서에 명시된 베드나이프 절차를 준수하십시오. 베드나이프를 올바르게 설치 및 연마하지 않으면 릴, 베드바 또는 베드나이프가 손상될 수 있습니다.
베드바 분리
베드바 조립
-
와셔와 베드바 조정 장치 사이에서 마운팅 이어의 위치를 맞추면서 베드바를 설치합니다.
-
베드바 볼트(볼트의 너트)와 4개의 와셔(총 8개)를 사용하여 각 측면 플레이트에 베드바를 고정시킵니다.
-
나일론 와셔를 측면 플레이트 보스 양쪽에 배치합니다. 각 나일론 와셔 바깥쪽에 스틸 와셔를 놓습니다(그림 26).
-
27~36 N∙m 토크로 베드바 볼트를 조입니다. 외부 스틸 와셔가 회전을 멈추고 말단 유격이 없도록 손으로 록너트를 조입니다. 안쪽 와셔에는 빈틈을 둘 수 있습니다.
Important: 록너트를 너무 세게 조이지 마십시오. 측면 플레이트가 휘어집니다
-
스프링이 완전히 압축될 때까지 스프링 장력 너트를 조인 다음 다시 반 바퀴 정도 풉니다(그림 27).

베드나이프 장착
-
베드바 표면에서 녹, 스케일, 부식 등을 제거하고 베드바 표면에 오일을 얇게 한 겹 바릅니다.
-
나사산을 청소합니다.
-
나사에 고착 방지제를 바르고 베드바에 베드나이프를 장착합니다.

-
바깥쪽 나사 2개를 1 N∙m 토크로 조입니다.
-
베드나이프의 가운데에서부터 작업하면서, 나사를 23~28 N∙m 토크로 조입니다.

-
베드나이프를 연마합니다.
베드나이프 규격
베드나이프 연마 규격

| 표준 베드나이프 릴리프 각도 | 최소 3° |
| 확장형 베드나이프 릴리프 각도 | 최소 7° |
| 전면 각도 범위 | 13°~17° |
릴 이면 연마
위험
릴이나 움직이는 다른 부품에 닿으면 부상을 입을 수 있습니다.
손가락, 손 및 옷이 릴이나 기타 움직이는 부품에 닿지 않게 하십시오.
-
이면 연마 중에는 릴에서 떨어지십시오.
-
이면 연마에는 절대로 손잡이가 짧은 페인트 브러시를 사용하지 마십시오. 핸들 조립 부품이 필요하면 Toro 공식 판매 대리점에 문의하십시오.
커팅 유닛을 트랙션 유닛에 부착한 상태에서, 또는 커팅 유닛을 트랙션 유닛에서 떼어낸 후에 릴을 이면 연마할 수 있습니다. 트랙션 유닛에 커팅 유닛을 부착한 상태에서 작업하려면 기본 드라이브 및 커팅 유닛 사이의 육각 커플러를 분리 위치로 이동시켜 릴 브레이크의 과도한 마모를 방지하십시오.
-
청결하고 평평한 곳에 장비를 주차합니다.
-
다음과 같이 장비를 끕니다.
-
휘발유 장치: 엔진을 끄고 점화 플러그 와이어를 분리합니다.
-
전기 장치: 장비를 끄고 배터리 커넥터를 분리합니다(T-핸들).
-
-
주차 브레이크를 겁니다.
-
1/2 인치 육각 소켓을 커팅 유닛 좌측 릴 풀리 출력 샤프트에 연결하여 커팅 유닛에 이면 연마 장치를 연결합니다.
Note: 이면 연마에 대한 추가 지침 및 절차는 Toro 연삭 릴 및 로터리 모어 설명서(양식 번호 80-300PT)를 참조하십시오.
Note: 연마 작업이 끝나면 베드나이프의 앞면을 줄로 다듬어 커팅 날을 좀 더 매끄럽게 하십시오. 이렇게 하면 커팅 날에 생길 수 있는 돌기나 울퉁불퉁한 부분이 제거됩니다. 커팅 날의 울퉁불퉁한 부분을 완전히 제거하려면 상단 날에 매우 가벼운 줄질이 필요할 수 있습니다.
Note: 이면 연마 작업 시 장비에 부착된 커팅 유닛을 제거한 경우, 장비의 육각 샤프트를 커팅 유닛에 다시 연결하십시오.


에 항상 주의를 기울이십시오.
이 지침을 따르지 않으면 사람이 다치거나 사망하는 사고가 발생할 수 있습니다.










