Zaparkujte vozidlo na rovné ploše.
Zatáhněte parkovací brzdu.
Vypněte motor a vyjměte klíč.
Odpojte akumulátor; viz provozní příručka.
Zvedněte nákladní korbu do polohy vyklápění a zajistěte ji vzpěrou.
Díly potřebné k provedení tohoto kroku:
| Přední montážní trubka | 2 |
| Šroub s přírubovou hlavou (5/16 x 3 in) | 2 |
| Rozpěrka (5/8 x 1 in) | 2 |
| Přírubová matice (5/16 in) | 4 |
| Vratový šroub (5/16 x 2 in) | 2 |
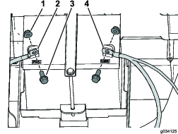
Volně namontujte 2 přední montážní trubky pomocí 2 šroubů s přírubovou hlavou (5/16 x 3 in), 2 rozpěrek (5/8 x 1 in), 4 přírubových matic (5/16 in) a 2 vratových šroubů (5/16 x 2 in), viz Obrázek 3.

Important: Před provedením tohoto postupu zkontrolujte, zda jsou již přítomny montážní otvory. Pokud ne, pokračujte tímto postupem.
Note: Uschovejte veškerý spojovací materiál, který demontujete při tomto postupu.
Demontujte šroub s přírubovou hlavou, který upevňuje palivovou nádrž k přihrádky nádrže (Obrázek 4).

Demontujte šrouby, jež upevňují držák (Obrázek 4).
Odpojte odvzdušňovací hadici a palivové potrubí od nádrže (Obrázek 4).
Note: Před odpojením palivového potrubí od nádrže se připravte, že bude zapotřebí zachycovat vytékající palivo a rovněž jej bude nutné vyčistit.
Za určitých podmínek je palivo extrémně hořlavé a vysoce výbušné. Požár nebo výbuch způsobený palivem může popálit vás i jiné osoby a způsobit škody na majetku.
Palivo z nádrže vypouštějte, jen když je motor studený. Provádějte to na otevřeném prostranství. Rozlité palivo utřete.
Při práci s palivem nikdy nekuřte, zůstávejte dále od otevřeného ohně nebo od míst, kde by mohlo jiskřením dojít ke vznícení palivových výparů.
Demontujte palivovou nádrž z přihrádky.
Demontujte 2 šrouby s přírubovou hlavou upevňující přihrádku nádrže k rámu (Obrázek 5).

Demontujte 4 šrouby, jež upevňují levý panel ke spodní sestavě sedadla (Obrázek 6).

Odpojte záporný (–) kabel od akumulátoru, poté odpojte kladný (+) kabel (Obrázek 7).

Demontujte 2 šrouby s přírubovou hlavou upevňující přihrádku akumulátoru k rámu (Obrázek 8).

Demontujte 4 šrouby, jež upevňují pravý panel ke spodní sestavě sedadla (Obrázek 8).
Important: Před provedením tohoto postupu zkontrolujte, zda jsou již přítomny montážní otvory. Pokud ne, pokračujte tímto postupem.
Note: Uschovejte veškerý spojovací materiál, který demontujete při tomto postupu.
Nosnou konzolu vrtejte podle uvedených rozměrů, viz Obrázek 11.
Při vrtání nejvyššího horního otvoru se ujistěte, že zcela provrtáte vnější držák, trubku rámu a protipožární přepážku.
Při vrtání otvorů do pravé strany rámu na elektrickém stroji postupujte opatrně.
Pokud budete vrtat příliš daleko, mohlo by dojít k poškození akumulátorů nebo jiných součástí.

Upevněte pravý boční panel pomocí 4 dříve demontovaných šroubů (Obrázek 8).
Připevněte přihrádku akumulátoru k rámu pomocí 2 dříve demontovaných šroubů s přírubovou hlavou (Obrázek 8).
Zajistěte kabely akumulátoru pomocí 2 dříve demontovaných šroubů a 2 matic a připojte svorky akumulátoru (Obrázek 7).
Upevněte levý boční panel pomocí 4 dříve demontovaných šroubů (Obrázek 6).
Připevněte přihrádku nádrže k rámu pomocí 2 dříve demontovaných šroubů s přírubovou hlavou (Obrázek 5).
Umístěte palivovou nádrž do přihrádky.
Připojte palivové potrubí a odvzdušňovací hadici k palivové nádrži (Obrázek 4).
Upevněte držák pomocí dříve demontovaných šroubů (Obrázek 4).
Připevněte palivovou nádrž k přihrádce nádrže pomocí dříve demontovaného šroubu s přírubovou hlavou (Obrázek 4).
Naplňte palivovou nádrž; viz provozní příručka.
Díly potřebné k provedení tohoto kroku:
| Zadní montážní trubka | 2 |
| Montážní konzola trubky | 1 |
| Šroub s přírubovou hlavou (5/16 x 3 in) | 2 |
| Přírubová matice (5/16 in) | 2 |
| Šroub s přírubovou hlavou ( ⅜ x 1-¾ in) | 2 |
| Šroub s přírubovou hlavou ( ⅜ x 3-½ in) | 2 |
| Pojistná matice ( ⅜ in) | 4 |
| Lemovací těsnění | 1 |
Volně namontujte 2 zadní montážní trubky pomocí 2 šroubů s přírubovou hlavou ( ⅜ x 3-½ in), 2 šroubů s přírubovou hlavou ( ⅜ x 1-¾ in) a 4 pojistných matic ( ⅜ in), viz Obrázek 12.

Připevněte montážní konzolu trubky k zadním montážním trubkám pomocí 2 šroubů s přírubovou hlavou (5/16 x 3 in) a 2 přírubových matic (5/16 in), viz Obrázek 13.
Nasaďte lemovací těsnění na montážní držák trubky (Obrázek 13).

Utáhněte upevňovací prvky namontované v kroku 1.
Upevňovací prvky (5/16 in) utáhněte na utahovací moment 20 až 25 Nm (175 až 225 in-lb).
Upevňovací prvky (3/8 in) utáhněte na utahovací moment 37 až 45 Nm (27 až 33 ft-lb).
Díly potřebné k provedení tohoto kroku:
| Nosná konzola dlouhé stříšky | 2 |
| Šroub se šestihrannou hlavou a podložkou (5/16 x 3/4 in) | 8 |
| Lemovací těsnění | 2 |
Díly potřebné k provedení tohoto kroku:
| Stříška | 1 |
| Šroub s přírubovou hlavou (1/4 x 1-3/4 in) | 4 |
| Těsnicí podložka | 4 |
| Pojistná matice (1/4 in) | 4 |
Important: Pokud chcete namontovat soupravu zpětného zrcátka, učiňte tak před montáží stříšky.
Připevněte stříšku k předním a zadním montážním trubkám pomocí 4 šroubů s přírubovou hlavou (1/4 x 1-3/4 in), 4 těsnicích podložek a 4 pojistných matic (1/4 in), viz Obrázek 15.

Díly potřebné k provedení tohoto kroku:
| Nosná konzola stříšky | 1 |
| Šroub s přírubovou hlavou (1/4 x 2-1/4 in) | 2 |
| Pojistná matice (1/4 in) | 2 |
| Těsnicí podložka | 2 |
| Lemovací těsnění | 1 |
| Rozpěrka (1/4 in) | 2 |
Díly potřebné k provedení tohoto kroku:
| Nosná trubka stříšky | 1 |
| Pojistná matice (1/4 in) | 6 |
| Těsnicí podložka | 2 |
| Šroub s přírubovou hlavou (¼ x 1-½ in) | 2 |
| Pěnová podložka | 1 |
| Šroub s přírubovou hlavou (1/4 x 1-1/4 in) | 4 |
Na nosnou trubku stříšky připevněte pěnovou podložku (Obrázek 18).

Připevněte nosnou trubku stříšky k nosným trubkám dlouhé stříšky pomocí 4 šroubů s přírubovou hlavou (1/4 x 1-1/4 in) a 4 pojistných matic (1/4 in), viz Obrázek 19.

Pomocí nosné trubky stříšky jako šablony vyvrtejte do stříšky 2 otvory 6 mm (1/4 in).
Připevněte nosnou trubku stříšky ke stříšce pomocí 2 šroubů s přírubovou hlavou (¼ x 1-½ in), 2 těsnicích podložek a 2 pojistných matic (¼ in), viz Obrázek 20.
