| Karbantartási időköz | Karbantartási intézkedés |
|---|---|
| Minden egyes használat előtt, vagy naponta |
|
Ez a forgókéses fűnyíró traktor professzionális kezelők számára, kereskedelmi alkalmazásokra készült. Elsősorban házikerti vagy közterületi füves területek jól karbantartott gyepén végzett fűnyírásra tervezték.
Gondosan olvassa el ezt a tájékoztatót, hogy a termék megfelelő üzemeltetését és karbantartását elsajátítva elkerülje a sérüléseket, valamint a termék károsodását. Ön felelős a termék megfelelő és biztonságos üzemeltetéséért.
A www.Toro.com webhelyen további információk is találhatók, például munkavédelmi tanácsok, oktatóanyagok, tartozékokról szóló információk, segítség márkakereskedés kereséséhez, valamint a termékregisztráció is itt végezhető el.
Ha szervizre, eredeti Toro alkatrészekre vagy további információkra van szüksége, forduljon hivatalos márkaszervizhez vagy a Toro ügyfélszolgálathoz, és tartsa kéznél terméke típus- és sorozatszámát. Az Ábra 1 jelzi a típus- és sorozatszám helyét a terméken. Írja a számokat a megfelelő helyre.
Important: Mobileszköze segítségével a sorozatszámot tartalmazó címkén található QR-kódot (ha van) beolvasva elérheti a garanciális tudnivalókat, az alkatrészekre vonatkozó adatokat és az egyéb termékinformációkat.

Ez a kézikönyv 2 szót használ az információ kiemelésére. A Fontos speciális műszaki információra hívja fel a figyelmet, a Megjegyzés külön figyelemre érdemes általános információt hangsúlyoz.
A termék megfelel minden vonatkozó európai irányelvnek; a részletekért kérjük, olvassa el a különálló termékspecifikus megfelelőségi nyilatkozatot (DOC).
A konkrét géptípus műszaki adatai a www.Toro.com címen találhatók meg.
Bruttó vagy nettó nyomaték: A motor bruttó vagy nettó forgatónyomatékát laboratóriumban állapította meg a gyártó az SAE J1940 vagy J2723 szabvány szerint. A biztonsági, károsanyag-kibocsátási és üzemeltetési követelmények teljesítése érdekében a motor tényleges nyomatéka ebben a fűnyíróosztályban jelentősen kisebb. Olvassa el a motorgyártó által a géphez mellékelt információkat.
Important: Ha Toro motorral felszerelt gépét tartósan 1500 m tengerszint feletti magasság fölött használja, feltétlenül szerelje fel a nagy magasságú használhatósági készletet, hogy a motor megfeleljen a CARB/EPA kibocsátási előírásoknak. A nagy magasságú használhatósági készlet megnöveli a motor teljesítményét, miközben megelőzi a gyújtógyertya beköpését, a nehéz indítást és a megnövekedett kibocsátást. Ha felszerelte a készletet, ragassza fel a nagy magasság” (high altitude) címkét a gépre a sorozatszámot tartalmazó címke mellé. A géphez való megfelelő nagy magasságú használhatósági készlet és nagy magasság” (high altitude) címke bármelyik hivatalos Toro márkaszervizben beszerezhető. Az Önhöz legközelebbi márkakereskedést megkeresheti webhelyünkön a www.Toro.com címen, vagy hívja fel ügyfélszolgálatunkat a motor károsanyag-kibocsátást szabályozó rendszerére vonatkozó jótálláson található hívószámon.Távolítsa el a készletet a motorról és állítsa vissza a motort az eredeti gyári konfigurációjára, ha 1500 m alatt fogja használni a gépet. Ne működtesse a nagy magasságú üzemre átalakított motort alacsonyabb területeken, mert így a motor túlhevülhet és károsodhat.Ha nem tudja biztosan, hogy a gépe át lett-e alakítva nagy magasságban történő használatra, keresse az alábbi címkét (Ábra 2).

A gép tervezése az EN ISO 5395:2013 szabvány alapján történt.
Ez a kézikönyvben és a gépen is megtalálható biztonsági figyelmeztető jelzés (Ábra 3) fontos biztonsági üzenetet jelöl, amelyet a balesetek elkerülése érdekében követni kell.
A jelzés jelentése: FIGYELEM! LEGYEN KÖRÜLTEKINTŐ! A BIZTONSÁGA MÚLIK RAJTA!

A biztonsági figyelmeztető jelzés olyan információ fölött látható, amely valamilyen nem biztonságos cselekedetre vagy helyzetre figyelmeztet, és a VESZÉLY, a FIGYELMEZTETÉS vagy a FIGYELEM kifejezés követi.
VESZÉLY: Olyan közvetlenül veszélyes helyzetet jelöl, amely halált vagy súlyos személyi sérülést eredményez, ha nem sikerül elkerülni.
FIGYELMEZTETÉS: Olyan potenciálisan veszélyes helyzetet jelöl, amely halált vagy súlyos személyi sérülést eredményezhet, ha nem sikerül elkerülni.
FIGYELEM: Olyan potenciálisan veszélyes helyzetet jelöl, amely enyhébb vagy mérsékelt személyi sérülést okozhat, ha nem sikerül elkerülni.
Ez a kézikönyv két másik szót is használ az információk kiemelésére. A Fontos speciális műszaki információra hívja fel a figyelmet, a Megjegyzés külön figyelemre érdemes általános információt hangsúlyoz.
Ez a gép levághatja a kezét és lábát, továbbá tárgyakat dobhat ki. A Toro úgy tervezte és tesztelte ezt a fűnyírót, hogy kellő biztonsággal lehessen üzemeltetni; ugyanakkor a biztonsági előírások betartásának hiánya személyi sérüléshez vagy halálhoz vezethet.
Olvassa el, értelmezze és kövesse a Kezelői kézikönyvben és más oktatóanyagokban, valamint a gépen, a motoron és a munkaeszközön található összes utasítást és figyelmeztetést. Valamennyi kezelő és szerelő oktatását meg kell tartani. Ha a kezelő(k) vagy a szerelő(k) nem tudja vagy tudják elolvasni ezt a kézikönyvet, a tulajdonos felelőssége az anyag elmagyarázása a számukra; a webhelyen további nyelvek is elérhetőek lehetnek.
Kizárólag képzett, felelősségteljes és fizikailag arra alkalmas kezelőnek engedje meg a gép kezelését, aki ismeri a biztonságos működtetését, a kezelőszerveit, valamint a biztonsági jelzéseket és utasításokat. Soha ne engedje, hogy gyermekek vagy oktatásban nem részesült személyek üzemeltessék vagy szervizeljék a berendezést. A helyi szabályozás korlátozhatja a kezelő életkorát.
Tartsa mindig teljesen felhajtott és reteszelt helyzetben a bukócsövet, és használja a biztonsági övet.
Ne működtesse a gépet suvadások, árkok, töltések vagy vizek és egyéb veszélyek közelében, illetve 15 foknál meredekebb lejtőkön.
Ne tegye a kezeit vagy lábait a gép mozgó alkatrészeinek közelébe.
Ne működtesse a gépet sérült burkolattal, védőelemekkel vagy fedelekkel. A biztonsági védőelemek, burkolatok kapcsolók és egyéb berendezések mindig legyenek a helyükön és megfelelő üzemállapotban.
Álljon meg a géppel, állítsa le a motort és vegye ki az indítókulcsot, mielőtt nekikezdene a gép szervizeléséhez, tankolásához, vagy elhárítaná annak eltömődését.

![]() |
A biztonságra figyelmeztető matricák és utasítások a kezelő által jól láthatóan, a potenciálisan veszélyes helyek mellett vannak elhelyezve. A sérült vagy hiányzó matricát cserélje le, illetve pótolja. |



























A motor beindítása és a gép működtetése előtt ismerkedjen meg az összes kezelőszervvel.

A motor beindítására és leállítására szolgáló gyújtáskapcsoló 3 helyzetbe állítható: KI, ÜZEM és INDíTáS. Lásd: A motor beindítása.
A hidegindító gomb a hideg motor beindítására szolgál.
A gázkar a motor fordulatszámának szabályozására szolgál és fokozatmentesen állítható a LASSú és a GYORS helyzet között (Ábra 6).
A mellékhajtás (TLT) jelzéssel rendelkező késkapcsolóval kapcsolható be és ki a fűnyírókések meghajtása (Ábra 6).
Az üzemóra számláló a motor működéssel töltött idejét rögzíti. Akkor működik, amikor a motor jár. A rajta megjelenő érték alapján kell ütemezni a rendszeres karbantartást (Ábra 7).

Az üzemóra számlálón visszajelzők találhatók, amelyek fekete háromszöggel jelzik, ha egy reteszelő részegység megfelelő helyzetben van (Ábra 7).
A gyújtáskapcsolót BE helyzetbe fordítva pár másodpercig kijelzésre kerül az akkumulátorfeszültség ott, ahol normál esetben az üzemóraszám látható.
Az akkumulátor visszajelző a gyújtást bekapcsolva világítani kezd, majd elalszik, amint a motor beindul, és a töltés beáll a megfelelő szintre (Ábra 7).
A haladásvezérlő karok segítségével vezethető a gép előre, hátrafelé, illetve ezekkel lehet elfordulni valamelyik irányba (Ábra 5).
Mielőtt elhagyja a gépet, állítsa a haladásvezérlő karokat középhelyzetből a SEMLEGES-RETESZELT helyzetbe (Ábra 25). Állítsa a haladásvezérlő karokat mindig SEMLEGES-RETESZELT helyzetbe, ha megáll a géppel vagy őrizetlenül hagyja.
Amikor leállítja a motort, mindig húzza be a rögzítőféket, hogy a gép ne mozdulhasson el.
Zárja el az üzemanyag-elzáró szelepet, ha a gépet szállítja vagy tárolásba helyezi; lásd: Az üzemanyag-elzáró szelep használata.
Note: A műszaki adatok és a kialakítások külön értesítés nélkül változhatnak.
| 122 cm-es nyíróasztal | 132 cm-es nyíróasztal | |
|---|---|---|
| Nyíróasztal nélkül | 121 cm | 124 cm |
| Terelőlap felhajtva | 133 cm | 144 cm |
| Terelőlap lehajtva | 160 cm | 171 cm |
| 122 cm-es nyíróasztal | 132 cm-es nyíróasztal | |
|---|---|---|
| Hossz | 208 cm | 208 cm |
| Bukócső felhajtva | Bukócső lehajtva |
|---|---|
| 179 cm | 125 cm |
| Gépek | Tömeg |
| 122 cm-es, oldalsó kidobású gépek | 385–425 kg |
| 132 cm-es, oldalsó kidobású gépek | 391–434 kg |
A Toro által jóváhagyott tartozékok és adapterek széles választéka kapható a géphez, melyek javítják és bővítik annak képességeit. A jóváhagyott tartozékok és adapterek listájáért forduljon hivatalos márkaszervizhez, hivatalos Toro-forgalmazóhoz, vagy látogasson el a www.Toro.com webhelyre.
Az optimális teljesítmény és a gép folyamatos tanúsított biztonsága érdekében csak eredeti Toro-pótalkatrészeket használjon. A más által gyártott cserealkatrészek és tartozékok használata veszélyes lehet, és emellett a jótállást is érvényteleníti.
Note: A gép jobb és bal oldalát normál üzemeltetési helyzetben határozza meg.
Értékelje ki a területet annak meghatározására, hogy milyen tartozékok és adapterek szükségesek a munka megfelelő és biztonságos elvégzéséhez. Csak a Toro által jóváhagyott tartozékokat és munkaeszközöket használjon.
Vizsgálja át a területet, ahol a gépet használni kívánja, távolítson el minden követ, játékot, faágat, huzalt, csontot és egyéb idegen tárgyat. Ezeket a gép kidobhatja, vagy ezek gátolhatják a gép működését, emellett a kezelő vagy a közelben tartózkodók személyi sérülését is okozhatják.
Viseljen megfelelő személyi védőfelszerelést, például védőszemüveget, a megfelelő, csúszásgátló lábbelit és a hallásvédelmi eszközt. Ha hosszú a haja, hátul kösse össze, és kerülje a laza öltözéket, ékszereket, mert ezek beakadhatnak a mozgó alkatrészekbe.
A gép 85 dBA-t meghaladó zajszintet produkál a kezelő fülénél, ami hosszan tartó kitettség esetén halláskárosodást okozhat.
Viseljen hallásvédő eszközt, amikor a géppel dolgozik.
Ellenőrizze, hogy a kezelőszervek, biztonsági kapcsolók és védőelemek fel vannak szerelve és megfelelően működnek. Ne üzemeltesse a gépet, csak ha ezek megfelelően működnek.
Ne üzemeltesse a gépet, ha emberek, különösen gyermekek, valamint kisállatok vannak a közelben. Ha valaki a területre lép, állítsa le a gépet és a munkaeszközeit.
Csak akkor működtesse a gépet, ha a teljes fűgyűjtő rendszer, a fűterelő lemez vagy egyéb biztonsági berendezések a helyükön vannak és teljesen üzemképesek. A fűgyűjtő alkatrészei kopnak, károsodhatnak és idővel elhasználódnak, ami miatt Ön mozgó alkatrészeknek lehet kitéve, vagy tárgyak repülhetnek ki belőle. Ellenőrizze gyakran az alkatrészeket kopás, elhasználódás szempontjából, szükség szerint cserélje le azokat a gyártó által javasolt alkatrészekre.
Az üzemanyag kezelése során járjon el különös körültekintéssel.
A benzin bizonyos körülmények között rendkívül gyúlékony, és a gőzei robbanásveszélyesek.
A benzin okozta tűz vagy robbanás megégetheti Önt, vagy másokat, valamint anyagi kárt okozhat.
A tankolást kültéren, vízszintes talajon, nyílt területen végezze, amikor a motor hideg. Törölje fel a kiömlött benzint.
Soha ne tankoljon vagy ürítse le a gépet beltéren vagy zárt pótkocsin.
Ne töltse teljesen tele az üzemanyagtartályt. Tankoljon a betöltőnyak alsó pereméig. Az üres rész teszi lehetővé a benzin tágulását a tartályban. A túltöltés üzemanyag-szivárgást okozhat, valamint a motor vagy a kibocsátást szabályozó rendszer károsodását okozhatja.
Ne dohányozzon, amikor benzinnel foglalkozik, és maradjon távol nyílt lángtól és olyan helyektől ahol a benzin gőzeit szikra begyújthatja.
Benzint csak jóváhagyott üzemanyagtartályban tároljon, gyerekek számára nem hozzáférhető helyen.
Még a motor beindítása előtt tankoljon. Ne vegye le a tanksapkát és ne tankoljon, amíg a motor jár vagy a motor meleg.
Ha az üzemanyag kiömlött, NE kísérelje meg beindítani a motort. Távolodjon el arról a helyről és kerülje a gyújtóforrások létrehozását, amíg a kifolyt üzemanyag el nem párolgott.
Csak akkor működtesse a gépet, ha a teljes kipufogórendszer a helyén van és teljesen üzemképes.
Tankoláskor bizonyos körülmények között statikus elektromosság halmozódhat föl, ami olyan szikrát okozhat, amely képes begyújtani a benzinpárát. A benzin okozta tűz vagy robbanás megégetheti Önt, vagy másokat, valamint anyagi kárt okozhat.
Tankolás előtt mindig helyezze a benzines kannákat a földre, messze a járművétől.
Ne járműben, tehergépkocsin vagy pótkocsi platóján töltse meg a benzines kannákat, mert a belső kárpit vagy a műanyag platóborítás szigetelheti a kannát és lassíthatja a statikus elektromosság elvesztését.
Ha kivitelezhető, a benzinüzemű berendezést vegye le a tehergépkocsiról vagy pótkocsiról, és a földön végezze a tankolását.
Ha ez nem lehetséges, akkor az ilyen berendezéseket hordozható tartályból tankolja meg a tehergépkocsin vagy pótkocsin ahelyett, hogy benzinkút töltőpisztolyából tenné.
Töltőpisztoly használata esetén tartsa azt a benzintank vagy benzinkanna betöltőnyílásának széléhez érintve mindaddig, míg a tankolás befejeződik. Ne használjon töltőpisztoly-nyitókart rögzítő eszközt.
A benzin lenyelve káros az egészségre, halált is okozhat. A gőzöknek való tartós kitettség a kísérleti állatoknál rákot okozott. A körültekintés hiánya súlyos egészségkárosodást vagy betegséget okozhat.
Kerülje az üzemanyagpárák tartós belégzését.
Tartsa távol az arcát a töltőpisztolytól és az üzemanyagtartály/-kanna nyílásától.
Az üzemanyag szemtől és bőrtől távol tartandó.
Ne szippantson a szájával.
Az üzemanyagtartály szellőzőnyílása a bukócső csövében található. A bukócső eltávolítása vagy módosítása üzemanyag-szivárgást és a kibocsátási előírások megsértését okozhatja.
Ne távolítsa el a bukócsövet.
Ne végezzen semmiféle hegesztést, fúrást, sem más módosítást a bukócsövön.
A tűzesetek megelőzése érdekében:
Tartsa a motort és a motorteret fűtől, levelektől, felesleges zsírtól és olajtól, valamint az ezeken a területeken esetlegesen felgyülemlő egyéb hulladéktól mentesen.
Takarítsa fel a kiömlött olajat és üzemanyagot, és távolítson el minden üzemanyaggal átitatott törmeléket.
Zárt térben való tárolás előtt mindig hagyja a gépet lehűlni. Ne tárolja a gépet nyílt láng közelében, sem olyan zárt területen, ahol őrláng ég vagy melegítő berendezés működik.
A legjobb eredmény elérése érdekében csak tiszta, friss (maximum 30 napos), ((R+M)/2 besorolási módszer szerint) legalább 87-es oktánszámú ólommentes benzint használjon.
Etanol: maximum 10% (V/V) etanolt (benzin–alkohol keverék) vagy 15% (V/V) MTBE-t (metil-tercier-butil-éter) tartalmazó benzin használható. Az etanol és az MTBE nem ugyanaz. 15% (V/V) etanolt tartalmazó üzemanyag (E15) nem használható. Ne használjon 10% (V/V)-nál több etanolt tartalmazó üzemanyagot, amilyen például az E15 (15% etanolt tartalmaz), az E20 (20% etanolt tartalmaz) vagy az E85 (legfeljebb 85% etanolt tartalmaz). A nem engedélyezett üzemanyag használata teljesítményproblémákat és/vagy olyan motorkárosodást okozhat, amelyekre a garancia nem terjed ki.
Ne használjon metanolt tartalmazó benzint.
Ne tároljon télen üzemanyagot sem az üzemanyagtartályban, sem más tartályban, kivéve, ha üzemanyag-stabilizátort használ.
Ne adjon olajat a benzinhez.
Töltsön a gépbe üzemanyag-stabilizáló/-kondicionáló anyagot az alábbi előnyök érdekében:
Az üzemanyag-stabilizáló a gyártója utasításait követve az üzemanyagot tovább frissen tartja
Tisztítja a motort üzem közben
Kiküszöböli a gumiszerű lakknak a nehéz indítást okozó felhalmozódását az üzemanyagrendszerben
Important: Ne használjon metanolt vagy etanolt tartalmazó üzemanyag-adalékot.
A megfelelő mennyiségben adagolja az üzemanyaghoz az üzemanyag-stabilizálót/-kondicionálót.
Note: Az üzemanyag-stabilizáló/-kondicionáló friss üzemanyaggal keverve a leghatékonyabb. Az üzemanyag-rendszerben a lakk lerakódás minimalizálása érdekében használjon mindig üzemanyag-stabilizálót.
Parkolja le a gépet sík talajon.
Húzza be a rögzítőféket.
Állítsa le a motort, és vegye ki az indítókulcsot.
Tisztítsa meg a tanksapka körüli területet.
Tankoljon a betöltőnyak alsó pereméig (Ábra 8).
Note: Ne töltse teljesen tele az üzemanyagtartályt. Az üres rész teszi lehetővé az üzemanyag tágulását a tartályban.

Mielőtt elkezdené a napi munkát a géppel, végezze el a minden használat előtti/napi ellenőrzéseket, melyek felsorolásáért lásd: .
Az új motor bizonyos idő elteltével éri el a teljes teljesítményét. A nyíróasztalok és hajtásrendszerek belső súrlódása új állapotukban nagyobb, ami többletterhelést ró a motorra. Hagyjon 40–50 óra bejáratási időt az új gépnek, hogy aztán csúcsteljesítményen tudjon működni.
A felborulás okozta akár halálos sérülés elkerülése érdekében: tartsa a bukócsövet teljesen felhajtott, reteszelt helyzetben, és használja a biztonsági övet.
Győződjön meg arról, hogy az ülés a géphez van rögzítve.
A bukócső lehajtott helyzetében nincs borulásvédelem.
Csak akkor hajtsa le a bukócsövet, ha ez elengedhetetlen.
A bukócső lehajtott helyzetében ne használja a biztonsági övet.
Vezessen lassan és óvatosan.
Hajtsa fel a bukócsövet, mihelyt a gép így is elfér.
Ügyeljen körültekintően arra, hogy ne ütközzön akadályba (pl. ágakba, ajtókeretbe, elektromos vezetékbe), ha elhalad valami alatt.
Important: Csak akkor hajtsa le a bukócsövet, ha ez elengedhetetlen.
Important: Csak a bukócső felhajtott helyzetében használja a biztonsági övet.
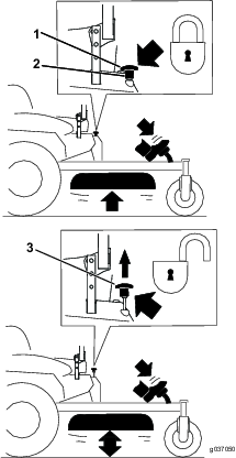
Hajtsa fel a bukócsövet üzemi helyzetbe és fordítsa el a gombokat, hogy részben becsússzanak a résekbe (Ábra 9).
Hajtsa fel teljesen a bukócsövet a felső részére nyomást kifejtve, hogy a csapok beugorhassanak a helyükre, amikor a furatokhoz kerülnek (Ábra 9).
Ellenőrizze a bukócsövet megnyomva, hogy mindkét csap reteszelve van-e.
A biztonsági reteszelő kapcsolók lekötése vagy károsodása esetén a gép váratlanul működni kezdhet, amivel személyi sérülést okozhat.
Ne bolygassa a reteszelő kapcsolókat.
Ellenőrizze naponta a reteszelő kapcsolók működését, cserélje ki a károsodott kapcsolókat, mielőtt működtetni kezdené a gépet.
A biztonsági reteszelő rendszer az alábbi feltételek mellett engedi meg a motor beindítását:
A rögzítőfék be van húzva.
A késkapcsoló (TLT) ki van kapcsolva.
A haladásvezérlő karok SEMLEGES-RETESZELT helyzetben vannak.
A biztonsági reteszelő rendszer emellett leállítja a motort, ha a haladásvezérlő karokat a kezelő behúzott rögzítőfék mellett mozdítja ki SEMLEGES-RETESZELT helyzetből, vagy bekapcsolt TLT mellett hagyja el a kezelőülést.
Az üzemóra számláló visszajelzőkkel is rendelkezik, amelyek értesítik a kezelőt, ha adott reteszelő elem nem a megfelelő helyzetben van. Ha az elem a megfelelő helyzetbe került, visszajelző jelenik meg a képernyőn.

| Karbantartási időköz | Karbantartási intézkedés |
|---|---|
| Minden egyes használat előtt, vagy naponta |
|
Ellenőrizze a gép minden használata előtt a biztonsági reteszelő rendszer működését. Ha a biztonsági reteszelő rendszer nem az alább ismertetett módon működik, azonnal javíttassa meg a gépet hivatalos márkaszervizben.
Üljön be az ülésbe, húzza be a rögzítőféket és állítsa a késkapcsolót (TLT) BEKAPCSOLT helyzetbe. Próbálja meg beindítani a motort; nem szabad beindulnia.
Üljön be az ülésbe, húzza be a rögzítőféket és állítsa a késkapcsolót (TLT) KIKAPCSOLT helyzetbe. Állítsa SEMLEGES-RETESZELT helyzetbe valamelyik haladásvezérlő kart. Próbálja meg beindítani a motort; nem szabad beindulnia. Ismételje meg az ellenőrzést a másik karral is.
Üljön be az ülésbe, húzza be a rögzítőféket, állítsa a késkapcsolót (TLT) KIKAPCSOLT helyzetbe, majd állítsa SEMLEGES-RETESZELT helyzetbe a haladásvezérlő karokat. Most indítsa be a motort. Járó motor mellett engedje ki a rögzítőféket, kapcsolja be a késkapcsolót (TLT), majd emelkedjen el kissé az ülésből; a motornak le kell állnia.
Üljön be az ülésbe, húzza be a rögzítőféket, állítsa a késkapcsolót (TLT) KIKAPCSOLT helyzetbe, majd állítsa SEMLEGES-RETESZELT helyzetbe a haladásvezérlő karokat. Most indítsa be a motort. Járó motor mellett húzza középre az egyik haladásvezérlő kart és tolja előre vagy húzza hátra; a motornak le kell állnia. Ismételje meg az ellenőrzést a másik karral is.
Üljön be az ülésbe, engedje ki a rögzítőféket, állítsa a késkapcsolót (TLT) KIKAPCSOLT helyzetbe, majd állítsa SEMLEGES-RETESZELT helyzetbe a haladásvezérlő karokat. Próbálja meg beindítani a motort; nem szabad beindulnia.
Az ülés előre és hátra eltolható. Állítsa be az ülést úgy, hogy a leghatékonyabban végezhesse a gép irányítását, és a legkényelmesebb legyen a testhelyzete (Ábra 11).

A MyRide™ felfüggesztési rendszer zökkenőmentes, kényelmes haladást biztosít. A hátsó két lengéscsillapító egység beállításával gyorsan és könnyen módosítható a felfüggesztési rendszer. Állítsa abba a helyzetbe a felfüggesztési rendszert, ahol a legkényelmesebb a testhelyzete.
A hátsó lengéscsillapító egységek viszonyításként reteszelő helyzetekkel rendelkeznek. A hátsó lengéscsillapító egységek bárhova beállíthatók a résben, nem csak a reteszelő helyzetekbe. Az alábbi ábrán a lágy és a merev rugózási véghelyzet és a különböző reteszelő helyzetek láthatók (Ábra 12).

Note: Ügyeljen rá, hogy a bal és a jobb oldali lengéscsillapító egység mindig azonos helyzetben legyen.
A hátsó lengéscsillapító egységek beállítása (Ábra 13).


Csak a Toro által jóváhagyott munkaeszközöket és kiegészítőket használjon.
Ha a Ábra 14 szerinti 4 helyre egynél több tartozékrögzítő készletet (pl. kanálkészlet vagy univerzális rögzítőkészlet) szerel fel, akkor szereljen fel előre súlykészletet. A súlykészlet beszerzéséhez vegye fel a kapcsolatot hivatalos márkakereskedővel.

A kezelőnek a teljes figyelmét az általa végzett tevékenységre kell fordítania a gép üzemeltetésekor. Ne végezzen olyan tevékenységet, amely elvonhatja a figyelmét, különben személyi sérülés vagy anyagi kár lehet a következmény.
A működő motor alkatrészei, különösen a kipufogó rendkívül felforrósodhatnak. Súlyos égési sérüléseket okozhatnak, ha valaki hozzáér, a törmelék, például a levelek, fű, gallyak stb. pedig felgyulladhatnak.
Hagyja lehűlni a motor alkatrészeit, különösen a kipufogóját, mielőtt hozzányúl.
Távolítsa el a felgyűlt törmeléket a kipufogó és a motor környékéről.
A kipufogógáz szénmonoxidot tartalmaz, amely egy szagtalan, halálos méreg, amely megölheti Önt.
NE járassa a motort beltéren vagy szűk helyen, ahol a veszélyes szénmonoxidot tartalmazó füstök felgyűlhetnek.
A tulajdonos/felhasználó megelőzheti a saját magának, más személyeknek vagy tulajdonban okozott baleseteket vagy sérüléseket, és felelős azokért.
A fűnyíró csak egy kezelő általi üzemeltetésre készült. Ne szállítson rajta másokat, és tartson távol mindenkit a géptől annak használata közben.
Ne üzemeltesse a gépet, ha fáradt, vagy amíg alkohol vagy gyógyszer befolyása alatt áll.
A gépet csak nappali fényben vagy megfelelő erősségű mesterséges fényben üzemeltesse.
A villámcsapás súlyos, akár halálos személyi sérülést is okozhat. Ha a munkaterület környékén villámlás látható, vagy mennydörgés hallható, ne működtesse a gépet; keressen menedéket.
Járjon el fokozott körültekintéssel, ha munkaeszközzel vagy kiegészítővel, például fűgyűjtő rendszerekkel használja. Ezek ronthatják a gép stabilitását, és az irányítás elvesztését okozhatják. Ha ellensúlyt kell használni, kövesse az ezekre vonatkozó előírásokat.
Kerülje a gödröket, keréknyomokat, huppanókat, köveket és más rejtett veszélyeket. Ügyeljen, amikor be nem látható kanyarokhoz, cserjékhez, fákhoz, magas fűhöz vagy más olyan tárgyakhoz közelít, melyek takarhatják az akadályokat vagy a látást. Egyenetlen terepen a gép felborulhat, vagy kezelő elveszítheti az egyensúlyát vagy leeshet a gépről.
A motor beindítása előtt ellenőrizze, hogy az összes meghajtás semleges helyzetben van, a rögzítőfék pedig be van húzva. Csak a bukócső felhajtott és reteszelt helyzetében használja a biztonsági övet.
A motort körültekintően, az utasítások szerint indítsa be, a lábát távol tartva a késektől.
Ne működtesse a fűnyírót sérült burkolattal, védőelemekkel vagy fedelekkel. A biztonsági védőelemek, burkolatok kapcsolók és egyéb berendezések mindig legyenek a helyükön és megfelelő üzemállapotban.
Soha ne tartózkodjon a kimeneti nyílás előtt. Ne végezzen fűnyírást a kimeneti ajtó felhajtott, eltávolított vagy módosított állapotában, kivéve, ha fűgyűjtő vagy mulcsozó készlet van a helyén és az megfelelően működik.
Kezeit és lábait tartsa távol a mozgó alkatrészektől. Ha lehetséges, járó gépen NE végezzen beállításokat.
A forgó alkatrészek beránthatják a kezét, lábát, haját, ruházatát vagy ékszereit. A forgó alkatrészekhez való hozzáérés traumatikus végtaglevágást vagy súlyos vágási sérüléseket okozhat.
Ne működtesse a gépet felszerelt és üzemképes védőburkolatok és biztonsági berendezések nélkül.
Tartsa távol kezét, lábát, haját, ékszereit és ruházatát a forgó alkatrészektől.
Soha ne hajtsa fel a fűnyíróasztalt, amíg forognak a kések.
Ügyeljen a fűnyíró kidobási útvonalára és arra, hogy az ne irányuljon mások felé. Kerülje az anyag falra vagy akadályokra ürítését, mivel az visszaverődhet a kezelő felé. Állítsa le a késeket, lassítson le és járjon el körültekintően, ha nem füves területet keresztez, vagy a fűnyírót a kaszálandó területre, illetve területről azon keresztül szállítja.
Legyen óvatos, lassítson le és körültekintően kanyarodjon. Irányváltás előtt nézzen hátra és oldalra. Ne végezzen fűnyírást hátrafelé, csak ha feltétlenül szükséges.
Ne változtassa meg a motor szabályozási beállítását, és ne pörgesse túl a motort.
Parkolja le a gépet sík terepen. Állítsa le a motort, várja meg, amíg minden mozgó alkatrész megáll, majd vegye le a gyertyapipá(ka)t.
A fűnyírón végzett ellenőrzési, tisztítási vagy egyéb munka előtt.
Idegen tárgynak való ütközés után, vagy ha szokatlan rezgést tapasztal (vizsgálja át a fűnyírót, nem sérült-e meg, és végezze el a javításokat az újraindítása és üzemeltetése előtt).
Az elakadások elhárítása előtt.
Ha bármikor otthagyja a fűnyírót. NE hagyja a járó gépet felügyelet nélkül!
Állítsa le a motort és várja meg, míg leállnak a mozgó alkatrészek:
Tankolás előtt.
A fűgyűjtő kiürítése előtt.
A vágásmagasság beállítása előtt.
Tragikus balesetek fordulhatnak elő, amennyiben a kezelő nem észleli gyermekek jelenlétét. A gyerekek gyakran vonzódnak a gépekhez és a kaszálási tevékenységhez. Soha ne feltételezze, hogy a gyerekek ugyanott maradnak, ahol utoljára látta őket.
Tartsa a gyerekeket a kaszálási területen kívül egy felelős felnőtt figyelmes felügyelete alatt, aki nem a gépkezelő.
Legyen készenlétben és állítsa le a gépet, amennyiben gyerek lép a területre.
Tolatás és irányváltás előtt és során nézzen hátra, lefele és oldalra minkét irányba, nincs-e valahol a közelben kisgyermek.
Soha ne engedje, hogy a gépet gyerekek üzemeltessék.
NE szállítson gyermekeket, még leállított késekkel se. A gyermekek leeshetnek a gépről és súlyosan megsérülhetnek, vagy akadályozhatják a gép biztonságos működtetését. A gépen utaztatott gyermekek később hirtelen feltűnhetnek a munkaterületen egy újabb kör reményében, a gép pedig előre vagy hátramenetben véletlenül elgázolhatja őket.
A lejtők a megcsúszásos és borulásos balesetek fő tényezői, melyek súlyos sérülésekhez vezethetnek. A kezelő a felelős a lejtőn történő biztonságos munkavégzésért. A gép üzemeltetése bármilyen lejtőn különös óvatosságot igényel. Mielőtt a géppel lejtős területre hajtana, a kezelő feladatai az alábbiak:
Tekintse át és értelmezze a kézikönyvben és a gépen található, lejtőre vonatkozó utasításokat.
Határozza meg a terület hozzávetőleges lejtőszögét dőlésmérő segítségével.
Ne használja a gépet 15°-nál meredekebb lejtőn.
Értékelje ki a napi helyszíni körülményeket, hogy meghatározza, a lejtő biztonságos-e a gép üzemeltetésére. Használja a józan eszét és ítélőképességét ezen értékelés során. A területen bekövetkező változások, például a nedvesség gyorsan befolyásolhatja a gép lejtőn történő használatát.
Mérje fel a veszélyt az emelkedő aljánál. Ne működtesse a gépet suvadások, árkok, töltések, vizek és más veszélyek közelében. A gép hirtelen felborulhat, ha egy kereke túllóg azok peremén, vagy a perem beszakad. Tartson biztonságos távolságot (a gép szélességének kétszeresét) a gép és a veszély között. Az ilyen területeken használjon a gyep karbantartására tolókaros fűnyírót vagy kézi szegélynyírót.

Kerülje lejtőn való elindulást megállást vagy kanyarodást. Ne változtassa hirtelen se a sebességét, se a haladási irányát; forduljon lassan és fokozatosan.
Ne működtesse a gépet, ha a tapadása, kormányzása vagy a stabilitása kérdéses lehet. Ne felejtse el, hogy nedves fűben, rézsűn vagy lejtőn haladva a gép elveszítheti a tapadását. Ha a hajtókerekek elveszítik a tapadásukat, a gép megcsúszhat, és megszűnhet a fékhatás és a kormányozhatóság. A gép megcsúszhat akkor is, ha a hajtókerekei megálltak.
Távolítsa el vagy jelölje meg az akadályokat, például árkot, lyukakat, keréknyomot, kiemelkedéseket, köveket és egyéb rejtett veszélyeket. A magas fű akadályokat rejthet. Egyenetlen terepen a gép fel is borulhat.
Járjon el fokozott körültekintéssel, ha munkaeszközzel vagy kiegészítővel, például fűgyűjtő rendszerekkel használja. Ezek ronthatják a gép stabilitását, és az irányítás elvesztését okozhatják. Kövesse az ellensúlyra vonatkozó előírásokat.
Lejtőn való munkavégzéskor tartsa a nyíróasztalt lehetőség szerint a talajra leengedett helyzetben. Lejtőn a nyíróasztal felemelt helyzetében a gép instabillá válhat.
A gépen borulásvédelmi rendszer (bukócső) található.
A bukócső lehajtott helyzetében nincs borulásvédelem. A szélek, árkok, meredek partok vagy víz fölé kerülő kerekek boruláshoz vezethetnek, ami súlyos sérüléseket, halált vagy fulladást okozhat.
Ne távolítsa el a borulásvédelmi rendszert.
Tartsa mindig teljesen felhajtott és reteszelt helyzetben a bukócsövet, és használja a biztonsági övet.
Csak akkor hajtsa le a bukócsövet, ha ez elengedhetetlen.
A bukócső lehajtott helyzetében Ne használja a biztonsági övet.
Vezessen lassan és óvatosan.
Hajtsa fel a bukócsövet, mihelyt a gép így is elfér.
Ügyeljen arra, hogy a biztonsági övet vészhelyzet esetén gyorsan ki tudja kapcsolni.
Ügyeljen körültekintően arra, hogy Ne ütközzön akadályba (pl. ágakba, ajtókeretbe, elektromos vezetékbe), ha elhalad valami alatt.
Ha felborult, vigye az egységet hivatalos márkaszervizbe a borulásvédelmi rendszer átvizsgálása érdekében.
A sérült borulásvédelmi rendszert cserélje ki. Ne végezzen rajta javítást vagy felülvizsgálatot.
A borulásvédelmi rendszer bármiféle átalakítása és kiegészítése tartozékkal vagy munkaeszközzel kizárólag a Toro jóváhagyásával történhet.
Használja fellépőként a nyíróasztalt a kezelői hely elfoglalásához (Ábra 16).

Húzza be mindig a rögzítőféket, ha megáll a géppel vagy őrizetlenül hagyja azt.
Parkolja le a gépet sík talajon.


A késkapcsoló (TLT) segítségével indíthatók el és állíthatók le a fűnyíró kései és bármely meghajtott munkaeszköz.
Note: A késkapcsoló (TLT) bekapcsolása félgáznál vagy kisebb gáznál az ékszíjak fokozott kopását eredményezi.


A gázkar a GYORS és a LASSú helyzet között állítható (Ábra 21).
A TLT bekapcsolásakor mindig a GYORS helyzetet használja.

Note: Meleg vagy forró motornál nem kell használnia a hidegindítót.
Important: Ne indítózzon egyszerre 5 másodpercnél hosszabban. 5 másodpercnél hosszabban indítózva az indítómotor károsodhat. Ha a motor nem indul be, az újabb indítózás előtt várjon 10 másodpercet.

Személyi sérüléshez vezethet, ha a felügyelet nélkül hagyott gépet gyermekek vagy nézelődők megkísérlik működtetni.
Mindig vegye ki a kulcsot és húzza be a rögzítőféket, ha a gépet felügyelet nélkül hagyja.

Important: Az üzemanyag-elzáró szelep legyen zárt helyzetben a gép szállítása és tárolása során, különben üzemanyag-szivárgás léphet fel. Húzza be a rögzítőféket a szállítás megkezdése előtt. Feltétlenül vegye ki az indítókulcsot, mert az üzemanyag-szivattyú beindulhat és lemerítheti az akkumulátort.

A tengelyeken a hidraulikus motorokkal hajtott kerekek egymástól függetlenül forognak. Az egyik oldali kereket hátramenetbe, míg a másikat előremenetbe kapcsolva a gép fordulás helyett megpördül. Ez nagy mértékben javítja a gép manőverezhetőségét, de némi időbe beletelik, amíg hozzászokik, hogyan mozgathatja a gépet.
A gázkar a motor fordulatszámát szabályozza, melynek mértékegysége a fordulat/perc (f/p). A legjobb teljesítmény érdekében állítsa a gázkart GYORS helyzetbe. Fűnyírást mindig teljes gázzal végezzen.
A gép nagyon gyorsan megpördülhet. Elveszítheti uralmát a gép felett, ami személyi sérüléssel vagy a gép károsodásával járhat.
Óvatosan kanyarodjon.
Éles kanyar előtt lassítson le.
Note: Ha behúzott rögzítőfék mellett mozdítja meg a haladási kezelőszerveket, a motor leáll.
Megálláshoz húzza a haladásvezérlő karokat SEMLEGES helyzetbe.
Engedje ki a rögzítőféket; lásd: A rögzítőfék kiengedése.
Állítsa a karokat középső, kioldott helyzetbe.
Előremenethez tolja lassan előre a haladásvezérlő karokat (Ábra 26).

Állítsa a karokat középső, kioldott helyzetbe.
Hátramenethez húzza lassan hátra a haladásvezérlő karokat (Ábra 27).

A fűnyíró csuklópántos fűterelő lemezzel van felszerelve, amely oldalra és lefelé, a gyep felé tereli a fűkaszálékot.
A fűterelő lemez, kidobónyílás-fedél vagy fűgyűjtő rendszer nélkül Ön és a közelben levők ki lehetnek téve a késekkel és a kirepülő hulladékkal való érintkezésnek. A forgó fűnyírókések és a kirepülő hulladék személyi sérülést okozhatnak, akár végzeteset is.
Ne távolítsa el a fűterelő lemezt a nyíróasztalról, mert a fűterelő lemez irányítja lefele az anyagot a gyep felé. Ha a fűterelő lemez károsodott, azonnal cserélje le.
Ne nyúljon a kezével vagy lábával a nyíróasztal alá.
Ne kísérelje meg a kidobási terület vagy a kések környékének tisztítását, csak ha a késkapcsolót (TLT) KI helyzetbe kapcsolta, a gyújtáskapcsolót KI helyzetbe fordította és kivette az indítókulcsot a gyújtáskapcsolóból.
Győződjön meg arról, hogy a fűterelő lemez lehajtott helyzetben van.
A vonulási retesz 2 helyzetbe állítható, és a nyíróasztal-emelő pedállal együtt kell használni. A nyíróasztal vonulási helyzetbe állításához a vonulási retesz RETESZELő és KIOLDOTT helyzettel rendelkezik (Ábra 28).

A vágásmagasság csapot a különböző furatokba áthelyezve a vágásmagasság 38 és 127 mm között állítható 6 mm-es lépésekben.
Állítsa a vonulási reteszt RETESZELő helyzetbe.
A nyíróasztal-emelő pedált lenyomva emelje a nyíróasztalt a lábával VONULáSI helyzetbe (mely egyben a 127 mm-es vágásmagasság) a Ábra 29 szerint.
Vegye ki a csapot a vágásmagasság konzolból (Ábra 29).
Válasszon ki a vágásmagasság konzolban a kívánt vágásmagassághoz tartozó furatot, és helyezze bele a csapot (Ábra 29).
Nyomja le a nyíróasztal-emelő pedált, húzza fel a vonulási retesz gombot, és engedje lassan le a nyíróasztalt.

Amikor állít a vágásmagasságon, mindig állítson a lenyesés elleni védelemre szolgáló görgőkön is.
Note: Állítsa be úgy a lenyesés elleni védelemre szolgáló görgőket, hogy a görgők a normál, sík fűnyírási területeken ne érjenek a talajhoz.
Parkolja le a gépet sík talajon, kapcsolja ki a kések kapcsolóját és húzza be a rögzítőféket.
Állítsa le a motort, vegye ki az indítókulcsot, és várja meg, amíg az összes mozgó alkatrész leáll, csak ezután hagyja el a kezelőülést.
Állítsa be a lenyesés elleni védelemre szolgáló görgőket a Ábra 30 alapján.


A legjobb fűnyírási teljesítmény és maximális levegőkeringés érdekében a motort a gázkar GYORS helyzetében működtesse. Mivel a fűkaszálék alapos lenyírásához levegőre van szükség, ne állítsa annyira alacsonyra a vágásmagasságot, hogy teljesen körülvegye a nyíróasztalt a nyíratlan fű. Igyekezzen elérni, hogy a nyíróasztal egyik oldalánál ne legyen nyíratlan fű, hogy a levegőt a gép beszívhassa a nyíróasztal alá.
Nyírja a füvet a normálnál valamivel nagyobb vágásmagassággal, hogy a nyíróasztal ne vágjon bele az esetleg egyenetlen talajba. Ugyanakkor általában a korábban használt vágásmagasság a legjobb választás. 15 cm-nél magasabb fű lenyírásakor az elfogadható vágásminőség érdekében előfordulhat, hogy két menetben kell elvégeznie a fűnyírást.
A legjobb, ha a fűszálnak nagyjából csak a harmadát vágja le. Nem ajánlott ennél többet levágni belőle, kivéve, ha a fű ritka, vagy késő ősszel, amikor a fű már lassabban nő.
Váltogassa a fűnyírás irányát, hogy a fű mindig egyenesen álljon. Ez segít egyben jobban szétszórni a fűkaszálékot, ami elősegíti a lebomlást és a trágyázó hatást.
A fű az év különböző szakaiban eltérő sebességgel nő. Az azonos vágásmagasság megtartása érdekében kora tavasszal végezze gyakrabban a fűnyírást. Ahogy a fű növekedése a nyár közepére lelassul, a fűnyírás is ritkulhat. Ha hosszabb ideig nem volt fűnyírás, először végezze azt nagy vágásmagasságon, majd 2 nappal később alacsonyabb beállítás mellett.
A vágás minőségének javítása érdekében bizonyos körülmények mellett használjon kisebb munkasebességet.
Egyenetlen gyepen növelje a vágásmagasságot, hogy elkerülje a gyep lenyesését.
Ha fűnyírás közben előremenetben meg kell állnia, egy halom fűkaszálék hullhat a gyepre. Ennek megelőzése érdekében vezesse a gépet egy már lenyírt részre bekapcsolt késhajtással, vagy még haladás közben állítsa le a nyíróasztal meghajtását.
Tisztítsa le a fűkaszálékot és a koszt a fűnyíró aljáról minden használat után. Ha fű és kosz gyűlik fel a nyíróasztal belsejében, a vágás minősége romlani fog.
Gondoskodjon arról, hogy a fűnyírási szezonban mindig éles legyen a kés, mivel az éles kés a fűszálakat egyenesen metszi el anélkül, hogy tépné vagy szaggatná azokat. Az eltépett, leszakított fűszál vége megbarnul, ami lassítja a növekedését és növeli a megbetegedés esélyét. Ellenőrizze a fűnyírókéseket minden használat után, megnézve azok élességét, illetve kopás vagy sérülés jeleit keresve. Reszelje le a csorbulást és élezze meg a kést szükség szerint. Ha a kés megsérült vagy elkopott, cserélje ki azonnal, eredeti Toro cserekést használva.
Parkolja le a gépet sík talajon, kapcsolja ki a késhajtást, húzza be a rögzítőféket, állítsa le a motort, vegye ki a kulcsot vagy vegye le a gyertyapipát. Várja meg, amíg minden mozgás leáll és a gép lehűl, mielőtt beállítást, tisztítást, tárolást vagy javítást végezne. Soha ne engedje, hogy a gépet oktatásban nem részesült személyzet üzemeltesse.
Tisztítsa meg a gépet a Karbantartás című részben ismertetett módon. Tartsa a motort és a motorteret fűtől, levelektől, felesleges zsírtól és olajtól, valamint az ezeken a területeken esetlegesen felgyülemlő egyéb hulladéktól mentesen. Ezek az anyagok éghetővé válhatnak, ami tüzet eredményezhet.
Rendszeresen ellenőrizze, hogy vannak-e kopott vagy elhasználódó alkatrészek, amelyek veszélyt okozhatnak. Húzza meg a laza kötőelemeket.
Zárja el az üzemanyag-elzáró szelepet szállítás, karbantartás és tárolás előtt (Ábra 32).
A motor beindítása előtt győződjön meg arról, hogy az üzemanyag-elzáró szelep meg van nyitva.


A kezét elkaphatják a motorháztető alatt forgó motoralkatrészek, ami súlyos sérüléssel járhat.
Állítsa le a motort, vegye ki az indítókulcsot és várja meg, amíg az összes mozgó alkatrész leáll, csak ezután nyúljon hozzá a hajtókerék-kioldó szelepekhez.
A motor és a hidraulikus hajtás nagyon felforrósodhat. A forró motor és hidraulikus hajtás megérintése súlyos égési sérüléseket okozhat.
Várja meg, amíg a motor és a hidraulikus hajtóegységek teljesen lehűlnek, csak azután nyúljon hozzá a hajtókerék-kioldó szelepekhez.
A hajtókerék-kioldó szelepek a motorházfedél alatt bal és jobb oldalt találhatók.
Parkolja le a gépet sík talajon, kapcsolja ki a kések kapcsolóját és húzza be a rögzítőféket.
Állítsa le a motort, vegye ki az indítókulcsot, és várja meg, amíg az összes mozgó alkatrész leáll, csak ezután hagyja el a kezelőülést.
Keresse meg az áthidaló szelepek karjait az ülés mögött, lent a vázkeret bal és jobb oldalán.
Ahhoz, hogy a gépet tolni lehessen, állítsa hátsó helyzetbe a két gombot és rögzítse azokat ott (Ábra 33).
A gép tolásához engedje ki a rögzítőféket.

Ahhoz, hogy a gépet használni lehessen, állítsa ELőRE a két gombot és rögzítse azokat ott (Ábra 33).
A gép szállításához használjon nagy teherbírású pótkocsit vagy tehergépkocsit. Használjon teljes szélességű rámpát. Ügyeljen rá, hogy az utánfutó vagy tehergépkocsi rendelkezzen a jogszabályban előírt fékekkel, világítással és jelzésekkel. Olvassa el figyelmesen a biztonsági előírásokat. Ezen információk ismerete segít elkerülni a személyi sérüléseket. Az utánfutóra és a lekötésre vonatkozó követelmények tekintetében tanulmányozza a helyi jogszabályokat.
Az irányjelzők, lámpák, fényvisszaverő jelzések vagy lassú jármű embléma nélküli közúti közlekedés veszélyes és olyan balesetekhez vezethet, amelyek személyi sérüléseket is okozhatnak.
Ne parkoljon a géppel közúton.
A gép utánfutóra vagy tehergépkocsira való felrakodása megnöveli a felborulás kockázatát és súlyos, akár végzetes sérüléssel is járhat (Ábra 34).
Ne a gép két oldalánál elhelyezett két külön rámpát, hanem egyetlen, teljes szélességű rámpát használjon.
Ne legyen 15°-nál meredekebb a rámpa lejtése a talajhoz, valamint a pótkocsi vagy a tehergépkocsi platójához képest.
A rámpa hossza legyen legalább négyszerese a plató felülete és a talaj közti távolságnak. Ezzel biztosítható, hogy sík talajon a rámpa szöge ne haladja meg a 15°-ot.

A gép utánfutóra vagy tehergépkocsira való felrakodása megnöveli a felborulás kockázatát és súlyos, akár végzetes sérüléssel is járhat.
Járjon el rendkívül körültekintően, amikor a géppel a rámpán halad.
A rámpára tolasson fel és előremenetben hajtson le róla.
Kerülje a hirtelen gyorsítást és lassítást, amikor a rámpán halad a géppel, mert elveszítheti felette az uralmát és felborulhat.
Utánfutó használata esetén kapcsolja azt fel a gépjárműre és akassza be a biztonsági láncokat is.
Adott esetben kösse be az utánfutó fék- és világítási rendszerét is.
Hajtsa le a rámpát, ügyelve rá, hogy a rámpa és a talaj közti szög ne legyen több mint 15° (Ábra 34).
Tolasson fel a géppel a rámpán (Ábra 35).

Állítsa le a motort, vegye ki a kulcsot és húzza be a rögzítőféket.
Pányvázza le a gépet az elülső önbeálló kerekeknél és a hátsó lökhárítónál heveder, lánc, sodrony vagy kötél segítségével (Ábra 36). A lekötésre vonatkozó követelmények tekintetében tanulmányozza a helyi jogszabályokat.

A karbantartás vagy beállítás alatt valaki esetleg beindíthatja a motort. A motor véletlen beindítása súlyos sérülést okozhat Önnek és a közelben tartózkodóknak.
Karbantartási munkák előtt vegye ki a kulcsot a gyújtáskapcsolóból, húzza be a rögzítőféket és vegye le a gyertyapipá(ka)t. Hajtsa félre a gyertyapipá(ka)t, hogy ne érhessen(ek) véletlenül a gyújtógyertyá(k)hoz.
A motor nagyon felforrósodhat. A forró motor és megérintése súlyos égési sérüléseket okozhat.
Hagyja teljesen lehűlni a motort, mielőtt a motor környékén szervizelésbe vagy javításba kezd.
Parkolja le a gépet sík talajon, kapcsolja ki a késhajtást, húzza be a rögzítőféket, állítsa le a motort, vegye ki a kulcsot vagy vegye le a gyertyapipát. Várja meg, amíg minden mozgás leáll, és a gép lehűl, mielőtt beállítást, tisztítást vagy javítást végezne. Soha ne engedje, hogy a gépet oktatásban nem részesült személyzet üzemeltesse.
Kösse le az akkumulátort vagy szerelje ki a gyújtógyertyát, mielőtt bármilyen javításba kezd. Kösse le először a negatív, majd csak ezután a pozitív pólust. Először a pozitív sarut kösse vissza, csak utána a negatívat.
Tartsa a gépet, a védőelemeket, a burkolatokat és a biztonsági berendezéseket biztonságos üzemállapotban. Ellenőrizze gyakran az alkatrészeket kopás, elhasználódás szempontjából, szükség szerint cserélje le azokat a gyártó által javasolt alkatrészekre.
Az eredeti berendezések, alkatrészek és/vagy tartozékok eltávolítása vagy módosítása hatással lehet a garanciára, a vezérelhetőségre és a gép biztonságára. Az eredeti berendezések jogosulatlan módosítása vagy az eredeti Toro alkatrészek használatának mellőzése súlyos sérüléshez, akár halálhoz is vezethet. A gép, a motor, az üzemanyag- vagy a szellőzőrendszer illetéktelen megváltoztatásával megsértheti a hatályos biztonsági előírásokat, például: ANSI, OSHA és NFPA, és/vagy kormányzati rendeleteket, lásd EPA és CARB.
A kiszökő nagy nyomású hidraulikafolyadék a bőrön áthatolva sérülést okozhat. A bőr alá véletlenül befecskendezett folyadékot sebészi úton pár órán belül el kell távolíttatni ilyen kezelésben jártas orvossal; ellenkező esetben üszkösödés alakulhat ki.
Győződjön meg arról, hogy minden hidraulikatömlő és -vezeték (ha van) megfelelő állapotban van, az összes hidraulikus csatlakozó és szerelvény pedig szorosan illeszkedik, mielőtt nyomás alá helyezi a hidraulika-rendszert.
Ne kerüljön közel egyetlen testrészével sem olyan szivárgó lyukakhoz, fúvókákhoz, ahonnan nagynyomású hidraulikafolyadék távozhat.
A hidraulikafolyadék esetleges szivárgását kartonlap vagy papírlap segítségével ellenőrizze, ne a kezével.
A rajta végzett minden munka megkezdése előtt szüntesse meg biztonságosan a nyomást a hidraulikarendszerben a haladásvezérlő karokat semleges helyzetbe állítva és a motort leállítva.
Az üzemanyagrendszer elemei nagy nyomás alatt vannak. A nem megfelelő részegységek használata rendszerhibát, benzinszivárgást okozhat, akár robbanás is keletkezhet.
Csak jóváhagyott üzemanyag-vezetékeket és -szűrőket használjon a nagynyomású rendszerekben.
Óvatosan járjon el a kések ellenőrzésekor. Burkolja be a kést vagy viseljen védőkesztyűt, és legyen nagyon óvatos a szervizelésükkor. A sérült késeket csak cserélje ki. Ne kísérelje meg kiegyenesíteni, meghegeszteni azokat.
Szükség esetén emelővel támassza alá a gépet és/vagy az alkatrészeit.
Kizárólag a mechanikus vagy hidraulikus emelővel alátámasztani a szervizeléshez vagy karbantartáshoz megemelt gépet veszélyes lehet. A mechanikus vagy hidraulikus emelő kevésnek bizonyulhat a megtámasztáshoz vagy meghibásodhat, így a gép leeshet és sérülést okozhat.
Ne hagyatkozzon kizárólag a mechanikus vagy hidraulikus emelőre alátámasztásként. Használjon megfelelő emelőállványt vagy ennek megfelelő alátámasztást.
Az energiát tároló alkatrészekből engedje ki óvatosan a nyomást.
Kezeit és lábait tartsa távol a mozgó alkatrészektől. Ha lehetséges, járó gépen NE végezzen beállításokat. Ha a karbantartási vagy beállítási eljárás miatt a motornak járnia az alkatrészeknek pedig mozogniuk kell, járjon el rendkívül körültekintően.
A mozgó alkatrészek vagy forró felületek érintése személyi sérüléssel járhat.
Tartsa távol ujjait, a kezét és a ruházatát a forgó alkatrészektől és forró felületektől.
Ellenőrizze rendszeresen minden csavar megfelelően meghúzott állapotát.
| Karbantartási időköz | Karbantartási intézkedés |
|---|---|
| Az első 5 óra után |
|
| Az első 75 óra után |
|
| Minden egyes használat előtt, vagy naponta |
|
| Minden 25 órában |
|
| Minden 50 órában |
|
| Minden 100 órában |
|
| Minden 200 órában |
|
| Minden 250 órában |
|
| Minden 500 órában |
|
| Havonta |
|
| Évente, vagy tárolás előtt |
|
Ha a kulcsot a gyújtáskapcsolóban hagyja, mások véletlenül beindíthatják a motort, és a közelben állók súlyos sérülését okozhatják.
Karbantartási munkák előtt állítsa le a motort, és vegye ki az indítókulcsot a gyújtáskapcsolóból.
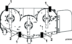
Hajtsa ki a függöny felső csavarját a függöny leoldásához és a nyíróasztal felső részének eléréséhez (Ábra 37). A karbantartás befejeztével húzza meg a csavart a függöny rögzítéséhez.

Hajtsa ki a 2 első csavart és távolítsa el a védőlemezt, hogy hozzáférjen a nyíróasztal-ékszíjakhoz és a tengelyekhez (Ábra 38). A karbantartás befejeztével szerelje vissza a védőlemezt és húzza meg a csavarokat.

| Karbantartási időköz | Karbantartási intézkedés |
|---|---|
| Minden 25 órában |
|
| Minden 50 órában |
|
Koszos vagy poros körülmények között gyakrabban kenje meg a gépet.
Kenőzsír típusa: 2. sz. lítiumos vagy molibdénes kenőzsír
Parkolja le a gépet sík talajon, kapcsolja ki a kések kapcsolóját és húzza be a rögzítőféket; lásd: A rögzítőfék behúzása.
Állítsa le a motort, vegye ki az indítókulcsot, és várja meg, amíg az összes mozgó alkatrész leáll, csak ezután hagyja el a kezelőülést.
Tisztítsa le ronggyal a zsírzószemeket.
Note: Kaparja le a festéket a zsírzószem(ek) elejéről.
Pumpáljon 1 vagy 2 löket zsírt a szivattyú feszítőtárcsa-forgócsapjába (Ábra 39).
Az elülső önbeállókerék-tengelyek kenése (Ábra 39).

Törölje le a felesleges zsírt.
Az olajszint ellenőrzését és a forgattyúházba az olaj betöltését álló motornál végezze.
Tartsa távol a kezét, lábát, arcát, ruházatát és más testrészeit a kipufogótól és egyéb forró felületektől.
| Karbantartási időköz | Karbantartási intézkedés |
|---|---|
| Minden egyes használat előtt, vagy naponta |
|
| Minden 25 órában |
|
| Minden 100 órában |
|
| Minden 200 órában |
|
Note: Szervizelje gyakrabban a légszűrőt, ha az üzemeltetési környezet rendkívül poros vagy homokos.
Parkolja le a gépet sík talajon, kapcsolja ki a kések kapcsolóját (TLT) és húzza be a rögzítőféket.
Állítsa le a motort, vegye ki az indítókulcsot, és várja meg, amíg az összes mozgó alkatrész leáll, csak ezután hagyja el a kezelőülést.
Tisztítsa meg a légszűrőfedél környékét, hogy ne kerülhessen szennyeződés a motorba, ahol károsodást okozhat.
Hajtsa fel a fedelet és fordítsa ki a légszűrőegységet a motorból (Ábra 40).


Válassza szét a szivacs- és a papírbetétet (Ábra 41).

Mossa ki a szivacsbetétet folyékony szappan meleg vizes oldatában. A már megtisztított betétet öblítse ki alaposan.
Szárítsa meg a betétet száraz rongyban kicsavarva.
Important: Cserélje ki a betétet, ha elszakadt vagy elhasználódott.
Ütögesse ki finoman a szennyeződést a papírbetétből.
Note: A papírbetétet ne mossa ki és ne fúvassa ki sűrített levegővel, mert így károsítja azt.
Note: A koszos, meghajlott vagy károsodott betétet cserélje ki. Kezelje az új betétet óvatosan; ne használja, ha a tömítő felületek meggörbültek vagy károsodtak.
Tisztítsa meg szükség szerint a légszűrő alapját és ellenőrizze az állapotát.
Helyezze fel a szivacsbetétet a papírbetétre.
Note: Ügyeljen a betétek épségére.
Igazítsa a szűrő nyílásait a szívócsonk bemeneteihez.
Fordítsa be lefele a szűrőt a kamrába és ültesse rá teljesen a szívócsonkra (Ábra 42).

Csukja le a fedelét.
| Karbantartási időköz | Karbantartási intézkedés |
|---|---|
| Az első 5 óra után |
|
| Minden egyes használat előtt, vagy naponta |
|
| Minden 100 órában |
|
Olaj típusa: detergens tartalmú kenőolaj (API-specifikáció: SF, SG, SH, SJ vagy SL)
A forgattyúház kapacitása: 2,4 liter az olajszűrővel együtt
Viszkozitás: lásd az alábbi táblázatot.

Note: Az olajszintet hideg motornál ellenőrizze.
Important: Ha a motort túl sok vagy kevés motorolajjal járatja, a motor egyaránt károsodhat.
Parkolja le a gépet sík talajon, kapcsolja ki a kések kapcsolóját (TLT) és húzza be a rögzítőféket.
Állítsa le a motort, vegye ki az indítókulcsot, és várja meg, amíg az összes mozgó alkatrész leáll, csak ezután hagyja el a kezelőülést.
Note: Ellenőrizze, hogy a motor lehűlt, így az olajnak volt ideje, hogy lecsorogjon az olajteknőbe.
Tisztítsa meg az olajbetöltő sapka és nívópálca környékét, mielőtt eltávolítja, hogy ne kerülhessen szennyeződés, fűkaszálék stb. a motorba (Ábra 44).


Parkolja le a gépet sík talajon, hogy az olaj teljesen lefolyhasson.
Kapcsolja ki a kések kapcsolóját (TLT), és húzza be a rögzítőféket.
Állítsa le a motort, vegye ki az indítókulcsot, és várja meg, amíg az összes mozgó alkatrész leáll, csak ezután hagyja el a kezelőülést.
Ürítse le az olajat a motorból.


Cserélje ki az olajszűrőt (Ábra 46).
Note: Csavarja fel a helyére a szűrőt annyira, hogy a tömítése felüljön, majd húzzon rá még 3/4 fordulatot.

Öntse be lassan a megadott olaj kb. 80%-át a betöltőcsőbe, majd töltsön utána annyit, hogy az olajszint elérje a FULL” (tele) jelzést (Ábra 47).

A fáradt olaj ártalmatlanítását megfelelő módon végezze egy helyi újrahasznosító központban.
| Karbantartási időköz | Karbantartási intézkedés |
|---|---|
| Minden 100 órában |
|
| Minden 200 órában |
|
A gyújtógyertya beszerelése előtt ellenőrizze a középső és a szélső elektróda közti légrést. A gyújtógyertya ki- és beszereléséhez használjon gyertyakulcsot, a légrés ellenőrzéséhez és beállításához pedig hézagmérőt. Szükség szerint szereljen be új gyújtógyertyát.
Típus: Champion® RN9YC vagy NGK® BPR6ES
Légrés: 0,76 mm
Parkolja le a gépet sík talajon, kapcsolja ki a kések kapcsolóját (TLT) és húzza be a rögzítőféket.
Állítsa le a motort, vegye ki az indítókulcsot, és várja meg, amíg az összes mozgó alkatrész leáll, csak ezután hagyja el a kezelőülést.
Tisztítsa meg a gyújtógyertya alapja körüli területet, hogy ne juthasson szennyeződés a motorba.
Keresse meg és távolítsa el a gyújtógyertyá(ka)t a Ábra 48 szerint.


Important: Ne tisztítsa meg a gyújtógyertyát. A gyújtógyertyát cserélje ki, ha fekete bevonatot lát rajta, elhasználódtak az elektródái, olajos réteg vagy repedések láthatók rajta.
Ha a szigetelőn világosbarna vagy szürke réteg látható, a motor megfelelően üzemel. A fekete réteg a szigetelőn rendszerint elszennyeződött légszűrőre utal.
Állítsa be a légrést 0,76 mm-re.


| Karbantartási időköz | Karbantartási intézkedés |
|---|---|
| Minden egyes használat előtt, vagy naponta |
|
Parkolja le a gépet sík talajon, kapcsolja ki a kések kapcsolóját (TLT) és húzza be a rögzítőféket.
Állítsa le a motort, vegye ki az indítókulcsot, és várja meg, amíg az összes mozgó alkatrész leáll, csak ezután hagyja el a kezelőülést.
Szerelje le a légszűrőt a motorról.
Távolítsa el a motor burkolatát.
Szerelje fel a légszűrőt az alapjára, hogy ne kerüljön szennyeződés a motorba.
Tisztítsa le a szennyeződéseket és a füvet az alkatrészekről.
Távolítsa el a légszűrőt és szerelje fel a motor burkolatát.
Szerelje fel a légszűrőt.
| Karbantartási időköz | Karbantartási intézkedés |
|---|---|
| Minden 50 órában |
|
A kipufogórendszer forró elemei leállított motornál is begyújthatják az üzemanyagpárát. A működő motor által kibocsátott forró részecskék begyújthatják a gyúlékony anyagokat, amivel személyi sérülést vagy anyagi kárt okozhatnak.
Csak felszerelt szikrafogóval tankoljon vagy járassa a motort.
Parkolja le a gépet sík talajon, kapcsolja ki a TLT-t és húzza be a rögzítőféket.
Állítsa le a motort, vegye ki az indítókulcsot, és várja meg, amíg az összes mozgó alkatrész leáll, csak ezután hagyja el a kezelőülést.
Várja meg, amíg a kipufogó lehűl.
Ha a hálón vagy a varratokon törést, szakadást lát, cserélje ki a szikrafogót.
Ha a háló eltömődött, szerelje le a szikrafogót, rázza le róla a laza részecskéket, majd tisztítsa meg drótkefével (szükség esetén áztassa be oldószerbe).
Szerelje fel a szikrafogót a kipufogónyílásra.
| Karbantartási időköz | Karbantartási intézkedés |
|---|---|
| Minden 500 órában |
|
Parkolja le a gépet sík talajon, kapcsolja ki a kések kapcsolóját (TLT) és húzza be a rögzítőféket.
Állítsa le a motort, vegye ki az indítókulcsot, és várja meg, amíg az összes mozgó alkatrész leáll, csak ezután hagyja el a kezelőülést.
Távolítsa el a szűrőt a szellőzőtömlőből.
Szerelje be az új szűrőt a szellőzőtömlő végébe.
Az üzemanyag bizonyos körülmények között rendkívül gyúlékony és robbanásveszélyes. Az üzemanyag okozta tűz vagy robbanás megégetheti Önt vagy másokat, és anyagi károkat okozhat.
Az üzemanyagra vonatkozó óvintézkedések teljes listája tekintetében lásd: Tankolás.
| Karbantartási időköz | Karbantartási intézkedés |
|---|---|
| Minden 500 órában |
|
Important: Szerelje fel az üzemanyagtömlőket és rögzítse azokat műanyag kötegelőkkel úgy, ahogy eredetileg voltak, hogy ne érjenek olyan alkatrészekhez, amelyek károsíthatják az üzemanyag-szállító rendszert.
Az üzemanyagszűrő a motor elejénél bal oldalt, a motor közelében található.
Parkolja le a gépet sík talajon, kapcsolja ki a kések kapcsolóját (TLT) és húzza be a rögzítőféket.
Állítsa le a motort, vegye ki az indítókulcsot, és várja meg, amíg az összes mozgó alkatrész leáll, csak ezután hagyja el a kezelőülést.
Hagyja a gépet lehűlni.
Zárja el az ülés alatt található üzemanyag-elzáró szelepet.
Cserélje ki az üzemanyagszűrőt (Ábra 51).
Note: Ügyeljen rá, hogy a szűrőn található jelölés megegyezzen az üzemanyag áramlási irányával.

Nyissa meg az üzemanyag-elzáró szelepet.
Ne kísérelje meg az üzemanyagtartály leürítését. Bízza hivatalos szakszervizre az üzemanyagtartály leürítését és az üzemanyagrendszer elemeinek a szervizelését.
Kösse le az akkumulátort a gép javítása előtt. Kösse le először a negatív, majd csak ezután a pozitív pólust. Kösse vissza először a pozitív, majd csak ezután a negatív pólust.
Az akkumulátor töltését végezze nyitott, jó szellőző helyen, szikráktól és nyílt lángtól távol. A töltőt az akkumulátorra való csatlakoztatása vagy leválasztása előtt húzza ki a konnektorból. Viseljen védőöltözéket, és használjon szigetelt szerszámokat.
| Karbantartási időköz | Karbantartási intézkedés |
|---|---|
| Havonta |
|
Az akkumulátor pólusai vagy a fémszerszámok a gép fémalkatrészeihez érve szikrázást keltő rövidzárlatot okozhatnak. A szikrák hatására az akkumulátor gázai berobbanhatnak, ami személyi sérülést okozhat.
Az akkumulátor ki- vagy beszerelése során ügyeljen arra, hogy a pólusai ne érjenek a gép fémalkatrészeihez.
Ügyeljen rá, hogy fémszerszámok ne okozzanak rövidzárlatot az akkumulátor pólusai és a gép fémalkatrészei között.
Az akkumulátor kábeleinek helytelen lekötése szikrákat okozva károsíthatja a gépet és a kábeleket. A szikrák hatására az akkumulátor gázai berobbanhatnak, ami személyi sérülést okozhat.
Először mindig a negatív (fekete) akkumulátorkábelt kösse le, csak ezután a pozitív (piros) kábelt.
Először mindig a pozitív (piros) akkumulátorkábelt kösse vissza, csak ezután a negatív (fekete) kábelt.
Parkolja le a gépet sík talajon, kapcsolja ki a kések kapcsolóját (TLT) és húzza be a rögzítőféket.
Állítsa le a motort, vegye ki az indítókulcsot, és várja meg, amíg az összes mozgó alkatrész leáll, csak ezután hagyja el a kezelőülést.
Szerelje ki az akkumulátort az Ábra 52 alapján.


Az akkumulátor töltése során robbanásveszélyes gázok keletkeznek.
Ne dohányozzon az akkumulátor közelében, és tartson távol minden szikrát, nyílt lángot az akkumulátortól.
Important: Az akkumulátort tartsa mindig teljesen feltöltve (1,265-ös fajsúly). Különösen fontos az akkumulátort megvédeni a károsodástól 0 °C alatti hőmérsékleten.
Szerelje ki az akkumulátort a vázkeretből, lásd Az akkumulátor eltávolítása.
Töltse az akkumulátort 10–15 percig 25–30 A vagy 30 percig 10 A áramerősséggel.
Note: Ne töltse túl az akkumulátort.
Ha az akkumulátor teljesen feltöltődött, húzza ki a töltőt a konnektorból, majd kösse le az akkumulátor pólusairól (Ábra 53).
Szerelje be az akkumulátort a gépbe, és kösse rá a kábeleit; lásd: Az akkumulátor beszerelése.
Note: Ne járassa a gépet lekötött akkumulátorral, elektromos károsodások léphetnek fel.

Helyezze el úgy az akkumulátort a tálcájában, hogy a pólusai a hidraulikatartállyal ellenkező oldalon legyenek (Ábra 52).
Szerelje fel a pozitív (piros) akkumulátorkábelt a pozitív (+) akkumulátorpólusra.
Szerelje fel a negatív (fekete) akkumulátorkábelt a negatív (–) akkumulátorpólusra.
Note: MyRide gépeknél ügyeljen rá, hogy a testkábel ne dörzsölődjön a lengőkarhoz vagy a lengéscsillapító alsó bekötéséhez (Ábra 55).

Rögzítse a kábeleket 2 csavar, 2 alátét és 2 önbiztosító anya segítségével (Ábra 52).
Csúsztassa rá a piros gumisapkát a pozitív (+) akkumulátorsarura.
Rögzítse az akkumulátort a gumipánttal (Ábra 52).
Az elektromos rendszert biztosítékok védik. A biztosítékok nem igényelnek karbantartást, de ha valamelyik kiég, ellenőrizni kell az általa védett részegységet és áramkört, rövidzárlat vagy egyéb hiba jeleit keresve.
A biztosítékok az ülés mellett a jobb oldali konzolon találhatók (Ábra 55).
Biztosítékcsere esetén húzza ki a biztosítékot az eltávolításához.
Helyezze be az új biztosítékot (Ábra 55).

| Karbantartási időköz | Karbantartási intézkedés |
|---|---|
| Minden egyes használat előtt, vagy naponta |
|
Ellenőrizze a biztonsági övet kopás, vágások, valamint a visszahúzó szerkezet és a csat működése szempontjából. Cserélje ki a biztonsági övet, ha károsodott.
| Karbantartási időköz | Karbantartási intézkedés |
|---|---|
| Minden egyes használat előtt, vagy naponta |
|
A felborulás okozta akár halálos sérülés elkerülése érdekében: tartsa a bukócsövet teljesen felhajtott, reteszelt helyzetben, és használja a biztonsági övet.
Győződjön meg arról, hogy az ülés a géphez van rögzítve.
Ellenőrizze, hogy a rögzítőelemek és a gombok is megfelelő üzemállapotban vannak.
Ügyeljen rá, hogy a gombok a bukócső felhajtott helyzetében teljesen rögzített helyzetben legyenek.
Note: Előfordulhat, hogy a bukócső felső, ívelt részét előre-hátra mozgatva kell elérni, hogy a gombok (Ábra 56 és Ábra 57) teljesen a helyükre üljenek.


Kapcsolja ki a késkapcsolót (TLT).
Haladjon a géppel egy nyílt, sík területre és állítsa a haladásvezérlő karokat SEMLEGES-RETESZELT helyzetbe.
A gázkart állítsa középre a GYORS és a LASSú helyzet közé.
Tolja előre mindkét haladásvezérlő kart a T-nyílásban ütközésig.
Ellenőrizze, merre tartva halad a gép.
Ha a gép jobbra tart, dugjon be egy 3/16"-es imbuszkulcsot a jobb oldali burkolatpanel szerviznyílásán, és forgassa el jobbra vagy balra a kar elmozdulását határoló csavart (Ábra 58).
Ha a gép balra tart, dugjon be egy 3/16"-es imbuszkulcsot a jobb oldali burkolatpanel szerviznyílásán, és forgassa el jobbra vagy balra a kar elmozdulását határoló csavart (Ábra 58).
Induljon el a géppel és ellenőrizze az egyenesfutását teljesen előretolt karokkal.
Ismételje meg a beállítást, amíg el nem éri a kívánt egyenesfutást.

| Karbantartási időköz | Karbantartási intézkedés |
|---|---|
| Minden 50 órában |
|
Tartsa a légnyomást az első és a hátsó gumiabroncsokban 90 kPa értéken. A nem egyforma gumiabroncsnyomás egyenetlen vágást eredményez. A legpontosabb nyomásérték hideg gumiabroncsoknál mérhető.

Ellenőrizze, és húzza meg a kerékanyákat 122–136 Nm nyomatékkal.
| Karbantartási időköz | Karbantartási intézkedés |
|---|---|
| Minden egyes használat előtt, vagy naponta |
|
Minden használat előtt távolítsa el a felhalmozódott füvet, koszt és egyéb szennyeződést a motor védőrácsáról, a kipufogóról és a motor környékéről. Ez segít biztosítani a megfelelő hűtést és motorfordulatszámot, valamint csökkenteni a túlmelegedés és a motor mechanikai károsodásának kockázatát.
| Karbantartási időköz | Karbantartási intézkedés |
|---|---|
| Minden 500 órában |
|
Note: Végezze el ezt az eljárást, ha fékalkatrészt távolít el vagy cserél.
Parkolja le a gépet sík talajon, kapcsolja ki a kések kapcsolóját (TLT) és húzza be a rögzítőféket.
Állítsa le a motort, vegye ki az indítókulcsot, és várja meg, amíg az összes mozgó alkatrész leáll, csak ezután hagyja el a kezelőülést.
Készítse elő a gépet, hogy kézzel tolható legyen. Lásd: A hajtókerék-kioldó szelepek használata.
Emelje fel a gép hátulját és támassza alá emelőállványokkal.
Kizárólag a mechanikus vagy hidraulikus emelőre hagyatkozni alátámasztásként szervizelés vagy karbantartás céljából veszélyes lehet, mert ezek gyengének bizonyulhatnak a megtámasztáshoz vagy meghibásodhatnak, így a gép leeshet és súlyos sérülést okozhat.
Ne hagyatkozzon kizárólag a mechanikus vagy hidraulikus emelőre alátámasztásként. Használjon megfelelő emelőállványt vagy ennek megfelelő alátámasztást.
Húzza be és engedje ki a rögzítőféket, ellenőrizve mindegyik hajtókeréknél, hogy a fék működésbe lép és kiold-e.
Ha beállításra van szükség, engedje ki a rögzítőféket. Távolítsa el a sasszeget a fékműködtető rudazatból (Ábra 60).

Ellenőrizze a két rugó hosszát a Ábra 61 alapján. Ha beállítás szükséges, a rugóhossz csökkentéséhez forgassa el a felső anyát az óra járása szerint, a növeléséhez pedig ellenkező irányba.

Tolja teljesen előre és le a rögzítőfék karját.
Forgassa el a fékműködtető rudazatot annyira, hogy a vége egybe essen a kar furatával.
A rudazat jobbra forgatva rövidíthető.
A rudazat balra forgatva nyújtható.
Illessze bele a fékműködtető rudazatot a rögzítőfék-furatba, és rögzítse a sasszeggel. Szükség esetén a(z) 5. lépést megismételve állítson rajta.
Ha a beállítást befejezte, távolítsa el az emelőállványt vagy hasonló eszközt, és engedje le a gépet.
Állítsa vissza a gépet az ÜZEMI helyzetébe. Lásd: A hajtókerék-kioldó szelepek használata.
| Karbantartási időköz | Karbantartási intézkedés |
|---|---|
| Minden 50 órában |
|
Cserélje ki az ékszíjat, ha elkopott. A kopott ékszíj üzem közben nyikorog; a kések fűnyírás közben csúsznak; az ékszíj szélei rojtosak, égésnyomok és repedések láthatók rajta.
Parkolja le a gépet sík talajon, kapcsolja ki a kések kapcsolóját (TLT) és húzza be a rögzítőféket.
Állítsa le a motort, vegye ki az indítókulcsot, és várja meg, amíg az összes mozgó alkatrész leáll, csak ezután hagyja el a kezelőülést.
Engedje le a fűnyírót 76 mm vágásmagasságra.
Hajtsa ki az ékszíjburkolatok csavarjait.
Hajtsa ki az alsó csavart, amely a nyíróasztalfüggönyt a nyíróasztalhoz rögzíti; lásd: A nyíróasztal függönyének leoldása.
Távolítsa el a védőlemezt; lásd: A védőlemez eltávolítása.
Távolítsa el a szíjburkolatokat és a csavarjaikat (Ábra 62).

Szüntesse meg a rugós feszítőgörgőt terhelő rugóerőt. Lásd: Ábra 64.
Note: A rugóeltávolító eszköz (Toro cikksz. 92-5771) segítségével akassza le a rugót a nyíróasztal csapról (Ábra 64).
Távolítsa el az ékszíjat a nyíróasztal-ékszíjtárcsákról és a tengelykapcsoló szíjtárcsáról.
Tegye fel az új ékszíjat a nyíróasztal-ékszíjtárcsákra és a motor alatti tengelykapcsoló szíjtárcsára (Ábra 63).


Szerelje fel a feszítőrugót (Ábra 63).
Note: Ültesse be a rugóvégeket a csapok hornyaiba.
Szerelje fel a szíjburkolatokat és a csavarjaikat (Ábra 65).

Szerelje fel a védőlemezt; lásd: A védőlemez eltávolítása.
Húzza meg az alsó csavart, amely a nyíróasztalfüggönyt a nyíróasztalhoz rögzíti; lásd: A nyíróasztal függönyének leoldása.
Parkolja le a gépet sík talajon, kapcsolja ki a kések kapcsolóját (TLT) és húzza be a rögzítőféket.
Állítsa le a motort, vegye ki az indítókulcsot, és várja meg, amíg az összes mozgó alkatrész leáll, csak ezután hagyja el a kezelőülést.
Távolítsa el a nyíróasztal-ékszíjat; lásd: A nyíróasztal ékszíj cseréje.
Emelje meg a gépet és támassza alá emelőállványokkal (Ábra 67).
Távolítsa el a tengelykapcsoló-ütközőt (Ábra 66).

Távolítsa el a feszítőrugót a csapról (Ábra 67).
Távolítsa el az ékszíjat a hidraulikaszivattyú-hajtótárcsákról és a motor-szíjtárcsáról.
Szerelje fel az új ékszíjat a motor-szíjtárcsára és a 2 hidraulikaszivattyú-hajtótárcsára (Ábra 67).

Szerelje fel a tengelykapcsoló-ütközőt (Ábra 66).
Szerelje fel a nyíróasztal-ékszíjat; lásd: Ékszíjak karbantartása.
Ha a karok végei egymáshoz ütköznek, lásd: A haladásvezérlő rudazat beállítása.
A haladásvezérlő karok magasságban állíthatók a maximális kényelem érdekében.
Parkolja le a gépet sík talajon, kapcsolja ki a kések kapcsolóját (TLT) és húzza be a rögzítőféket.
Állítsa le a motort, vegye ki az indítókulcsot, és várja meg, amíg az összes mozgó alkatrész leáll, csak ezután hagyja el a kezelőülést.
Távolítsa el a kötőelemeket, amelyek a vezérlőkarokat a tengelyükhöz rögzítik.

Helyezze át a vezérlőkart a következő furatokhoz. Rögzítse a vezérlőkart a kötőelemekkel.
Ismételje meg a beállítást a másik karnál.
Parkolja le a gépet sík talajon, kapcsolja ki a kések kapcsolóját (TLT) és húzza be a rögzítőféket.
Állítsa le a motort, vegye ki az indítókulcsot, és várja meg, amíg az összes mozgó alkatrész leáll, csak ezután hagyja el a kezelőülést.
Lazítsa meg a vezérlőkart a tengelyéhez rögzítő felső csavart.
Lazítsa meg az alsó csavart annyira, hogy a vezérlőkart előre-hátra billenthesse. A csavarokat meghúzva rögzítse a vezérlőkart az új helyzetében.
Ismételje meg a beállítást a másik karnál.

A gép két oldalán az ülés alatt található a szivattyúkat vezérlő rudazat. A rudazat végén található anyát ½"-es, mély dugókulccsal elforgatva finomhangolható a beállítás, hogy a gép a karok semleges helyzetében ne mozduljon el. Minden beállítás csak a semleges helyzet pozícióját érintheti.
A beállítás elvégzéséhez a motornak járnia, a hajtókerekeknek pedig forogniuk kell. A mozgó alkatrészek vagy forró felületek érintése személyi sérüléssel járhat.
Tartsa távol ujjait, a kezét és a ruházatát a forgó alkatrészektől és forró felületektől.
Parkolja le a gépet sík talajon, kapcsolja ki a kések kapcsolóját (TLT) és húzza be a rögzítőféket.
Állítsa le a motort, vegye ki az indítókulcsot, és várja meg, amíg az összes mozgó alkatrész leáll, csak ezután hagyja el a kezelőülést.
Nyomja le a nyíróasztal emelő pedált, vegye ki a vágásmagasság-csapot, és engedje le a talajra a nyíróasztalt.
Emelje fel a gép hátulját és támassza alá emelőállványokkal (vagy annak megfelelő eszközzel) olyan magasságba, hogy a hajtókerekek szabadon foroghassanak.
Húzza le az elektromos csatlakozót az ülés biztonsági kapcsolójáról, amelyet az üléspárna alatt talál.
Note: A kapcsoló az ülésegység része.
Zárja átmenetileg rövidre a fő vezetékköteg csatlakozójának érintkezőit.
Indítsa be a motort, járassa teljes gázon és engedje ki a rögzítőféket.
Note: A motor beindítása előtt győződjön meg arról, hogy a rögzítőfék be van húzva és a haladásvezérlő karok külső helyzetben vannak. Nem kell beülnie az ülésbe.
Járassa a motort legalább 5 percig a haladásvezérlő karok teljes előremeneti sebesség helyzetében, hogy a hidraulikafolyadék üzemi hőmérsékletre melegedjen.
Note: A haladásvezérlő karoknak semleges helyzetben kell lenniük, amikor a beállítást végzi.
Állítsa SEMLEGES helyzetbe a haladásvezérlő karokat.
Ellenőrizze, hogy a vezérlőlemez fülei hozzáérnek-e a visszatérítő lemezekhez a hidraulikus egységeken.
A szivattyúvezérlő rudak hosszán az anyát megfelelő irányba hajtva állítson annyit, hogy a kerekek kissé meginduljanak hátramenetben (Ábra 70).

Állítsa a haladásvezérlő karokat HáTRAMENET helyzetbe, majd enyhe nyomást kifejtve a karra hagyja, hogy a hátramenetjelző rugók visszatérítsék a kart semleges helyzetbe.
Note: A kerekeknek meg kell állniuk vagy kissé el kell indulniuk hátramenetben.
Note: Előfordulhat, hogy a megfelelő hozzáférés érdekében el kell távolítania a haladásvezérlő burkolatot.
Állítsa le a motort.
Távolítsa el az áthidaló vezetéket a vezetékkötegből és kösse vissza a csatlakozót az üléskapcsolóba.
Távolítsa el az emelőállványokat.
Emelje fel a nyíróasztalt és helyezze be a vágásmagasság-csapot.
Ügyeljen, hogy a gép ne induljon el hátramenetben, amikor kiengedi a rögzítőféket.
Azonnal kérjen orvosi segítséget, ha hidraulikafolyadék került a bőre alá. A bejutott folyadékot pár órán belül orvossal sebészileg el kell távolíttatni.
Győződjön meg arról, hogy minden hidraulikatömlő és -vezeték megfelelő állapotban van, az összes hidraulikus csatlakozó és szerelvény pedig szorosan illeszkedik, mielőtt nyomás alá helyezi a hidraulikarendszert.
Ne kerüljön közel egyetlen testrészével sem olyan szivárgó lyukakhoz, fúvókákhoz, ahonnan nagynyomású hidraulikafolyadék távozhat.
A hidraulikafolyadék esetleges szivárgását ellenőrizze kartonlap vagy papírlap segítségével.
Szüntesse meg biztonságosan a nyomást a hidraulikarendszerben, mielőtt bármilyen munkába kezd rajta.
Hidraulikafolyadék típusa: Toro® HYPR-OIL™ 500 hidraulikafolyadék vagy Mobil 1 15W-50 olaj.
Important: Használja az előírt folyadékot. A többi folyadék károsíthatja a hidraulikarendszert.
A hidraulikarendszer kapacitása (szűrők eltávolítva): 4,45 liter
| Karbantartási időköz | Karbantartási intézkedés |
|---|---|
| Minden egyes használat előtt, vagy naponta |
|
Hagyja a hidraulikafolyadékot lehűlni. A szintet akkor ellenőrizze, amikor hideg a folyadék.
Ellenőrizze a tágulási tartályt, szükség esetén töltsön utána Toro® HYPR-OIL™ 500 hidraulikafolyadékot a FULL COLD” (hidegen tele) szintig.

| Karbantartási időköz | Karbantartási intézkedés |
|---|---|
| Az első 75 óra után |
|
| Minden 250 órában |
|
| Minden 500 órában |
|
A hidraulikafolyadék cseréje esetén a szűrőket el kell távolítani. A kettőt egyszerre cserélje; a folyadékkal kapcsolatos előírásokért lásd: A hidraulikarendszer szűrőinek eltávolítása.
Az új szűrők felszerelése és a folyadék betöltése után légtelenítse a rendszert. Lásd: A hidraulikarendszer légtelenítése. A légtelenítést akkor hagyja abba, amikor a folyadék a légtelenítési eljárást követően a tágulási tartály FULL COLD (hidegen tele) szintjénél marad. Az eljárás nem megfelelő elvégzése a közlőmű-hajtásrendszer javíthatatlan károsodását okozhatja.
Parkolja le a gépet sík talajon, kapcsolja ki a kések kapcsolóját (TLT) és húzza be a rögzítőféket.
Állítsa le a motort, vegye ki az indítókulcsot, és várja meg, amíg az összes mozgó alkatrész leáll, csak ezután hagyja el a kezelőülést.
Hagyja lehűlni a motort.
Keresse meg a szűrőt és a védőburkolatát a közlőmű-hajtásrendszereken (Ábra 72).
Távolítsa el a szűrő védőburkolatát rögzítő 3 csavart (Ábra 72).

Tisztítsa meg alaposan a szűrők környezetét.
Important: Ügyeljen rá, hogy ne kerülhessen por a hidraulikarendszerbe, mert az szennyeződést eredményezhet.
Helyezzen egy megfelelő edényt a szűrő alá a szűrő és a légtelenítő csavar eltávolításakor leürülő folyadék felfogásához.
Keresse meg a hajtóműveken és távolítsa el a légtelenítő csavart
Csavarja le a szűrőt az eltávolításához és hagyja leürülni a folyadékot a hajtásrendszerből.
Végezze el az eljárást mindkét szűrőnél.
Vonja be vékonyan hidraulikafolyadékkal a szűrők gumitömítésének felületét.
Húzza meg a szűrőt az óramutató járása szerint annyira, hogy a gumitömítés a szűrőadapterhez érjen, majd még 3/4–1 fordulattal.
Végezze el az eljárást a másik szűrőnél is.
Szerelje fel a korábban eltávolított védőburkolatokat a szűrők fölé.
Rögzítse a védőburkolatokat a 3 csavarral.
Ellenőrizze, hogy kiszerelte a légtelenítő csavarokat, mielőtt megkezdené betölteni a folyadékot.
Öntse lassan az előírt folyadékot a kiegyenlítő tartályba, amíg az meg nem jelenik az egyik légtelenítőcsavar-nyílásnál.
Szerelje be a légtelenítő csavart.
Húzza meg 20 Nm nyomatékkal.
Folytassa tovább a folyadék betöltését a tágulási tartályba, amíg a másik hajtómű légtelenítőcsavar-nyílásán is elkezd kicsorogni.
Szerelje be a másik légtelenítő csavart is.
Húzza meg 20 Nm nyomatékkal.
Töltse be tovább a folyadékot, amíg a kiegyenlítő tartályban el nem éri a szintje a FULL COLD (hidegen tele) jelzést.
Folytassa itt: A hidraulikarendszer légtelenítése.
Important: Ha a hidraulikarendszer szűrőinek és folyadékának cseréje után nem történik meg a hidraulikarendszer légtelenítési eljárása, az a közlőmű-hajtásrendszer javíthatatlan károsodását okozhatja.

Emelje fel a gép hátulját és támassza alá emelőállványokkal (vagy annak megfelelő eszközzel) olyan magasságba, hogy a hajtókerekek szabadon foroghassanak.

Indítsa be a motort, állítsa a gázkart 1/2-gáz helyzetbe, és engedje ki a rögzítőféket.
Állítsa át a megkerülő szelepek karját a gép tolását lehetővé tevő helyzetbe. A megkerülő szelepek nyitott helyzetében, járó motor mellett döntse lassan előre és hátra 5 vagy 6 alkalommal a haladásvezérlő karokat.
Állítsa át a megkerülő szelepek karját a gép használatát lehetővé tevő helyzetbe.
A megkerülő szelepek zárt helyzetében, járó motor mellett döntse lassan előre és hátra 5 vagy 6 alkalommal a haladásvezérlő karokat.
Állítsa le a motort, és ellenőrizze a folyadékszintet a tágulási tartályban. Töltsön be az előírt folyadékból, amíg a kiegyenlítő tartályban el nem éri a szintje a FULL COLD (hidegen tele) jelzést.
Ismételje a 2. lépést, amíg minden levegő el nem távozik a rendszerből.
Note: Ha a közlőmű normál zajszinttel működik, zökkenőmentesen viszi a gépet előre- és hátramenetben normál sebességgel, a légtelenítés megtörtént.
Ellenőrizze még egyszer utoljára a folyadékszintet a kiegyenlítő tartályban. Töltsön be az előírt folyadékból, amíg a kiegyenlítő tartályban el nem éri a szintje a FULL COLD (hidegen tele) jelzést.
A kopott vagy sérült kés eltörhet, a letört darab pedig kirepülve súlyos, akár végzetes személyi sérülést is okozhat. A sérült kés javítására tett kísérlet a termék biztonsági tanúsítványának érvénytelenítését is eredményezheti.
Ellenőrizze rendszeresen a késeket kopás és sérülés szempontjából.
Óvatosan járjon el a kések ellenőrzésekor. Burkolja be a késeket, vagy viseljen védőkesztyűt, és legyen óvatos a szervizelésükkor. A késeket csak cserélni vagy fenni szabad; tilos azokat kiegyenesíteni vagy hegeszteni.
Többkéses gépeknél figyelembe kell venni, hogy egy kés forgatásakor a többi kés is forogni kezd.
Parkolja le a gépet sík talajon, kapcsolja ki a kések kapcsolóját (TLT) és húzza be a rögzítőféket.
Állítsa le a motort, vegye ki a kulcsot és húzza le a gyertyapipát a gyújtógyertyákról.
| Karbantartási időköz | Karbantartási intézkedés |
|---|---|
| Minden egyes használat előtt, vagy naponta |
|
Ellenőrizze a vágóéleket (Ábra 75).
Ha a vágóél tompa, vagy sérülések láthatók rajta, szerelje le, és fenje meg kést; lásd A kések élezése.
Vizsgálja meg a késeket, különösen az ívelt részen.
Ha ezen a területen bármilyen repedést, kopást vagy alakuló bevágást lát, azonnal cserélje ki a kést (Ábra 75).

Note: A következő eljáráshoz a gépnek sík talajon kell állnia.
Emelje a nyíróasztalt a legnagyobb vágásmagasságba.
Vastagon párnázott kesztyűben vagy más megfelelő kézvédelemmel ellátva fordítsa lassan a kést olyan helyzetbe, hogy megmérhesse a távolságot a vágóél és a vízszintes felület között, amelyen a gép áll (Ábra 76).

Mérje meg a kés hegye és a vízszintes felület közti távolságot (Ábra 77).

Fordítsa el a kést 180°-kal, hogy a másik vágóél ugyanebbe a helyzetbe kerüljön (Ábra 78).

Mérje meg a kés hegye és a vízszintes felület közti távolságot (Ábra 79).
Note: Az eltérés nem lehet több, mint 3 mm.

Ha az A és a B közti eltérés nagyobb, mint 3 mm, cserélje le a kést; lásd A kések leszerelése és A kések felszerelése.
Note: Ha a görbének talált kést lecserélve az ismételt mérés továbbra is 3 mm-t meghaladó eltérést mutat, a kés tengelye görbülhetett el. Vegye fel a kapcsolatot a hivatalos márkakereskedővel a javítás miatt.
Ha az eltérés nem haladja meg a határértéket, térjen át a következő késre.
Ismételje meg az eljárást minden késnél.
Cserélje le a kést, ha szilárd tárgynak ütközött, ha elveszítette az egyensúlyát vagy ha elgörbült.
Tartsa meg a tengelyt csavarkulccsal.
Távolítsa el a tengelyből a késcsavart, az ívelt alátétet és a kést (Ábra 80).

Reszelő segítségével fenje meg a kés mindkét vágóélét (Ábra 81).
Note: Őrizze meg az eredeti letörési szöget.
Note: A kés megtartja az egyensúlyát, ha mindkét vágóéléről ugyanannyi anyagot távolít el.

Ellenőrizze a kés egyensúlyát késegyensúlyozóra téve (Ábra 82).
Note: Ha a kés vízszintes helyzetben marad, akkor kiegyensúlyozott, használható.
Note: Ha a kés nincs egyensúlyban, reszeljen le némi fémet a nehéz végéből, csak a terelőlapnál (Ábra 81).

Ismételje az eljárást, amíg a kés egyensúlyba nem kerül.
Szerelje fel a kést a tengelyre (Ábra 80).
Important: A kés ívelt része a megfelelő vágás érdekében nézzen felfele, a nyíróasztal belseje irányába.
Szerelje fel az ívelt alátétet és szerelje be a késcsavart (Ábra 80).
Note: Az ívelt alátét kúpja nézzen a csavarfej felé.
Húzza meg a késcsavart 115–150 Nm nyomatékkal.
Ellenőrizze a nyíróasztal vízszintes helyzetét minden alkalommal, amikor felszereli azt és ha ferde nyomot hagy a fűnyíró.
A szintezés előtt ellenőrizze, hogy nincs-e elgörbülve valamelyik kés, és cserélje le a görbe kést; a továbblépés előtt lásd: A kések ellenőrzése görbülés szempontjából.
Először oldalirányban szintezze a nyíróasztalt; utána állítsa be a hosszirányú lejtését.
Követelmények:
A gépnek sík talajon kell állnia.
Az összes gumiabroncs legyen megfelelően felfújva; lásd: A gumiabroncsok nyomásának ellenőrzése.
Parkolja le a gépet sík talajon, kapcsolja ki a kések kapcsolóját (TLT) és húzza be a rögzítőféket.
Állítsa le a motort, vegye ki az indítókulcsot, és várja meg, amíg az összes mozgó alkatrész leáll, csak ezután hagyja el a kezelőülést.
Ellenőrizze a légnyomást a hajtókerekek gumiabroncsaiban. Lásd: A gumiabroncsok nyomásának ellenőrzése.
Állítsa a nyíróasztalt vonulási reteszelt helyzetbe.
Forgassa el óvatosan keresztbe a késeket.
Mérje meg a szélső késhegyek és a vízszintes felület közti távolságot (Ábra 83). Ha az értékek közti eltérés több, mint 5 mm, végezze el a szintezést; folytassa ezzel az eljárással.


Ellenőrizze a lejtést a késeknél (Ábra 84). Ellenőrizze, hogy az első késhegy alacsonyabban van, mint a hátsó késhegy, ahogy a Blokkmagasság és ferdeség táblázatban látható. Ha beállítás szükséges, folytassa ezzel az eljárással.

Állítsa be a lenyesés elleni védelem görgőit a felső furatokba vagy szerelje le őket, amíg tart a beállítás.
Helyezzen 2 blokkot (lásd az alábbi táblázatot) a nyíróasztal szoknyájának hátsó széle alá; egyet-egyet a nyíróasztal két oldalához (Ábra 85).
A vágásmagasság-kart állítsa 76 mm-es helyzetbe.
Helyezzen 2 blokkot a nyíróasztal első széle alá két oldalt, de ne a lenyesés elleni védelem görgőkonzolja vagy hegesztési varrat alá.

| Nyíróasztal mérete | Blokkmagasság | Ferdeség |
| Minden nyíróasztal | 7,3 cm | 4,8–6,4 mm |
Forgassa el óvatosan keresztbe a késeket (Ábra 83).
Lazítsa meg az önbiztosító anyákat (Ábra 86) mind a 4 sarokban, és gondoskodjon arról, hogy a nyíróasztal biztonságosan üljön a 4 blokkon.
Húzza feszesre a nyíróasztal-függesztőket és ellenőrizze, hogy a fűnyíróasztal-emelő kar nekinyomódik az ütközőnek.
Húzza meg a 4 önbiztosító anyát.

Ellenőrizze, hogy a blokkok szorosan állnak a nyíróasztal szoknyája alatt, és minden rögzítőcsavar meg van húzva
Folytassa a nyíróasztal szintezését a kések hosszirányú lejtésének ellenőrzésével.
Ellenőrizze a kések egyenességét és szükség esetén ismételje meg a nyíróasztal szintezési eljárását.
Parkolja le a gépet sík talajon, kapcsolja ki a kések kapcsolóját (TLT) és húzza be a rögzítőféket.
Állítsa le a motort, vegye ki a kulcsot és húzza le a gyertyapipát a gyújtógyertyákról.
Helyezze be a vágásmagasság beállító csapot a 7,6 cm-es vágásmagasság furatába.
Távolítsa el a szíjburkolatokat.
Lazítsa meg a nyíróasztal feszítőgörgőjét és vegye le a nyíróasztal-ékszíjat; lásd: Ékszíjak karbantartása.
Távolítsa el a csavarokat és anyákat a lábtámasz alatti lemez elejéből.
Távolítsa el és őrizze meg a gép két oldalából származó csavarokat és anyákat (Ábra 87).

Csúsztassa el jobbra a nyíróasztalt a géptől.
A fedetlen kidobónyíláson át a gép tárgyakat hajíthat a közelben tartózkodóknak, súlyos személyi sérülést okozva ezzel. Emellett a késekhez is hozzá lehet így érni.
Ne használja a gépet felszerelt mulcsozólemez, fűterelő lemez vagy fűgyűjtő rendszer nélkül.
Távolítsa el a terelőlemezt a csuklópánt-konzolokhoz rögzítő önbiztosító anyát, csavart, rugót és távtartót (Ábra 88).
Távolítsa el a sérült vagy elhasználódott fűterelő lemezt (Ábra 88).

Szerelje rá a távtartót és a rugót a fűterelő lemezre.
A rugó J-kampós végét akassza be a nyíróasztal szélébe.
Note: Ellenőrizze, hogy a rugó J-kampós vége beakadt a nyíróasztal szélébe, mielőtt beszereli a csavart a Ábra 88 szerint.
Szerelje be a csavart és szerelje fel az anyát.
A rugó J-kampós végét helyezze el a fűterelő lemez körül (Ábra 88).
Important: A fűterelő lemeznek el kell tudnia fordulni. Hajtsa fel teljesen a terelőlemezt annak ellenőrzésére, hogy lehajlik-e teljesen az alsó helyzetbe.
| Karbantartási időköz | Karbantartási intézkedés |
|---|---|
| Minden egyes használat előtt, vagy naponta |
|
Parkolja le a gépet sík talajon, kapcsolja ki a kések kapcsolóját (TLT) és húzza be a rögzítőféket.
Állítsa le a motort, vegye ki az indítókulcsot, és várja meg, amíg az összes mozgó alkatrész leáll, csak ezután hagyja el a kezelőülést.
Emelje a nyíróasztalt VONULáSI helyzetbe.
A felfüggesztési rendszer tisztításához használjon sűrített levegőt.
Note: Ne tisztítsa a lengéscsillapító egységeket nagy nyomású vízzel (Ábra 89).

A motorolaj, az akkumulátor, a hidraulikafolyadék és a hűtőfolyadék a környezetet szennyező anyagok. Ezeket az állami és a helyi előírásoknak megfelelően ártalmatlanítsa.
Állítsa le a motort, vegye ki a kulcsot, és mielőtt eltenné, várja meg, amíg minden mozgás leáll és a gép lehűl.
Ne tárolja a gépet vagy az üzemanyagot nyílt láng közelében, és ne ürítse le zárt térben az üzemanyagot.
Vegye ki a kulcsot és tegye el biztonságos helyre, ahol gyermekek nem férhetnek hozzá.
Kapcsolja ki a kések kapcsolóját (TLT), és húzza be a rögzítőféket.
Állítsa le a motort, vegye ki az indítókulcsot, és várja meg, amíg az összes mozgó alkatrész leáll, csak ezután hagyja el a kezelőülést.
Távolítsa el a fűkaszálékot, koszt és szennyeződést a teljes gép külső felületeiről, különösen a motorról és a hidraulikarendszerről. Tisztítsa le a koszt és kaszálékot a hengerfej bordái közül és a ventilátorházból.
Important: A gépet kímélő mosószerrel és vízzel le is moshatja. Ne használjon a lemosásához nagynyomású mosót. Kerülje a bő víz használatát, különösen a vezérlőpanel, a motor, a hidraulikaszivattyúk, és a hidromotorok környékén.
Ellenőrizze a rögzítőfék működését; lásd: A rögzítőfék beállítása.
Végezze el a légszűrő szervizelését; lásd: A légszűrő szervizelése.
Zsírozza meg a gépet; lásd: Kenés.
Cserélje le a motorolajat; lásd: A motorolaj szervizelése.
Ellenőrizze a gumiabroncsok nyomását; lásd: A gumiabroncsok nyomásának ellenőrzése.
Cserélje le a hidraulikaszűrőket; lásd: A hidraulikafolyadék és a szűrők cseréje.
Töltse fel az akkumulátort; lásd: Az akkumulátor töltése.
Kaparjon le minden rátapadt füvet és koszt a fűnyíró aljáról, majd mossa le a fűnyírót kerti locsolótömlővel.
Note: Járassa a gépet bekapcsolt késsel (TLT) magas alapjáraton 2–5 percig a lemosás után.
Ellenőrizze a kések állapotát; lásd: A vágókések szervizelése.
Készítse elő a gépet tárolásra, ha 30 napot meghaladó ideig nem használja. Készítse elő a gépet tárolásra az alábbi módon:
Töltsön a tartályban lévő üzemanyagba kőolaj alapú üzemanyag-stabilizáló/-kondicionálót. Kövesse az üzemanyag-stabilizáló gyártójának keverési utasításait. Ne használjon alkohol-alapú üzemanyag-stabilizálót (etanolt vagy metanolt).
Note: Az üzemanyag-stabilizáló/-kondicionáló friss üzemanyaggal keverve és folyamatosan használva a leghatékonyabb.
Járassa a motort 5 percig, hogy átjárja az üzemanyagrendszert a kondicionált üzemanyag.
Állítsa le a motort, hagyja lehűlni, majd ürítse le az üzemanyagtartályt.
Indítsa be és hagyja a motort járni, míg le nem áll.
Helyezze el az üzemanyagot környezetbarát módon. Végezze el az újrahasznosítását a helyi rendelkezések alapján.
Important: Ne tárolja az üzemanyag-stabilizáló/-kondicionálót hosszabban, mint ahogy a gyártója javasolja.
Szerelje ki és ellenőrizze a gyújtógyertyákat; lásd: A gyújtógyertya szervizelése. A kiszerelt gyújtógyertya nyílásán át töltsön 30 ml (2 evőkanál) motorolajat a hengerekbe. Az indítómotorral forgassa meg a motort, hogy eloszlassa az olajat a hengerben. Szerelje be a gyújtógyertyákat. Ne tegye rájuk a gyertyapipát.
Ellenőrizzen és húzzon meg minden csavart és anyát. Javítsa meg vagy cserélje ki a sérült alkatrészeket.
Fesse be az összes karcos vagy csupasz fémfelületet. A festék a márkaszerviztől beszerezhető.
Tárolja a gépet tiszta, száraz garázsban vagy tárolóhelyiségben. Vegye ki az indítókulcsot és tegye el úgy, hogy gyerekek vagy illetéktelenek ne férhessenek hozzá. A védelme érdekében takarja le, és tartsa tisztán a gépet.
| Problem | Possible Cause | Corrective Action |
|---|---|---|
| A motor túlmelegszik. |
|
|
| Az indítómotor nem forgatja a motort. |
|
|
| A motor nem indul be, nehezen indul be vagy leáll. |
|
|
| A motor gyenge. |
|
|
| A gép balra vagy jobbra húz (a haladásvezérlő karok teljesen előretolt helyzetében). |
|
|
| A gép nem indul el se előre-, se hátramenetben. |
|
|
| A gép rendellenes rezgésbe kezdett. |
|
|
| A vágásmagasság egyenetlen. |
|
|
| A kések nem forognak. |
|
|
| A tengelykapcsoló nem kapcsol. |
|
|
