Karbantartás
A kihajtható támasz használata a nyíróegység felhajtásakor
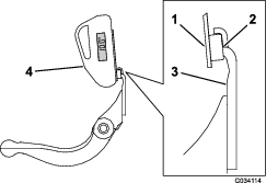
Amikor a nyíróegységet fel kell billenteni a fenékkéshez/hengerkéshez való hozzáféréshez, támassza alá a nyíróegység hátulját a kihajtható támasszal (a vontatóegység tartozéka), de úgy, hogy a fenékkésrúd-állítócsavar hátsó végén az anyák ne érjenek a munkafelülethez (Ábra 22).

A nyíróegységek kenése
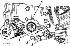
Pumpáljon rendszeresen 2. sz lítiumos kenőzsírt a nyíróegységek 5 zsírzószemébe (Ábra 23).
Az első hengernél 2, a hátsó hengernél 2, a hengerkésmotor bordáinál pedig 1 kenési pont található.
Note: Ha a lemosást követően rögtön elvégzi a nyíróegység kenését, azzal segít vízteleníteni a csapágyakat és meghosszabbítani a csapágyak élettartamát.
-
Törölje le mindegyik zsírzószemet tiszta ronggyal.
-
Addig pumpálja a zsírt, amíg tiszta zsírt nem lát kijönni a henger tömítéseinél és a csapágy biztonsági szelepénél.
-
Törölje le a felesleges zsírt.

A hengerkés hátraköszörülése
Új hengerkésnél a profilszélesség 1,3–1,5 mm, a hátraköszörülési szög pedig 30°-os.
Ha a profilszélesség 3 mm-nél nagyobbra nő, végezze el az alábbi eljárást:
-
Végezzen 30°-os hátraköszörülést az összes hengerkéspengén, amíg ki nem alakul az 1,3 mm profilszélesség (Ábra 24).

-
Köszörülje meg forgatva a hengerkést, hogy az ütése <0,025 mm legyen.
Note: Ettől a profilszélesség kissé megnő.
Note: A hengerkés és a fenékkés élességének minél hosszabb megőrzése érdekében – a hengerkés és/vagy a fenékkés megköszörülése után – 2 rend lenyírását követően ellenőrizze újra a hengerkés és a fenékkés érintkezésének beállítását, hogy minden sorja el legyen távolítva, mivel azok helytelen érintkezési hézagot eredményezhetnek és ezért felgyorsíthatják a kopást.
A fenékkés szervizelése
Az alábbi táblázat a fenékkés szervizelési határértékeit tartalmazza.
Important: A nyíróegységet a fenékkés szervizelési határértéke alatt használva a nyíráskép és a fenékkés ütésekkel szembeni szerkezeti integritása is romlik.
| Fenékkés szervizelési határérték-táblázata | ||||
| Fenékkés | Cikksz. | Fenékkés élmagasság* | Szervizelési határérték* | Köszörülési szögekFelső/elülső szög |
| Kis vágásmagasság (opcionális) | 120–1641 (69 cm)120–1642 (81 cm) | 5,6 mm | 4,8 mm | 10°/5° |
| EdgeMax® (opcionális) | 112–8910 (69 cm)112–8956 (81 cm) | 6,9 mm | 4,8 mm | 10°/5° |
| Standard (gyári) | 114–9388 (69 cm)114–9389 (81 cm) | 6,9 mm | 4,8 mm | 10°/5° |
| Heavy Duty (nagy teljesítményű, opcionális) | 114–9390 (69 cm)114–9391 (81 cm) | 9,3 mm | 4,8 mm | 10°/5° |

Note: Az összes szervizelési határértékét a fenékkés alsó síkjától kell mérni (Ábra 26).

A felső köszörülési szög ellenőrzése
A fenékkés élesítésénél nagyon fontos a köszörülési szög szerepe.
A szögmérő (Toro cikksz. 131-6828) és a szögmérő tartó (Toro cikksz. 131-6829) segítségével ellenőrizheti a köszörült szöget és korrigálhatja az esetleges pontatlanságot.
-
Helyezze a szögmérőt a fenékkés aljára a Ábra 27 szerint.

-
Nyomja meg a szögmérő nullázó gombját.
-
Helyezze a szögmérő tartót a fenékkés aljára úgy, hogy a mágnes széle a fenékkés élére feküdjön fel (Ábra 28).
Note: A digitális kijelzőnek ugyanarról az oldalról kell láthatónak lennie, mint az 1. lépésnél.

-
Helyezze a szögmérőt a tartóra a Ábra 28 szerint.
Note: Ez az a szög, amelyet a köszörűgép hoz létre, és amely a javasolt értéktől legfeljebb 2°-kal térhet el.
A fenékkésrúd szervizelése
A fenékkésrúd eltávolítása
-
A fenékkésrúd-állítócsavarokat az óra járásával ellentétesen elforgatva távolítsa el a fenékkést a hengerkéstől (Ábra 29).

-
Lazítson annyit a rugó terhelésű anyán, hogy az alátét már ne szoruljon a fenékkésrúdnak (Ábra 29).
-
Lazítsa meg a fenékkésrúd csavarját rögzítő önbiztosító anyát a gép mindkét oldalán (Ábra 30).

-
Szerelje ki mindkét fenékkésrúd csavart, hogy a fenékkésrúd lefele húzva eltávolítható legyen a gép csavarjáról (Ábra 30). Ügyeljen a 2 nejlon alátétre és az 1 sajtolt alátétre a fenékkésrúd két oldalán (Ábra 31).

A fenékkésrúd felszerelése
-
Szerelje fel a fenékkésrudat a rögzítőfüleket az alátét és a fenékkésrúd-beállító szerkezet közé illesztve.
-
Rögzítse a fenékkésrudat az oldalsó lemezekhez a fenékkésrúd-csavarok (anyákkal a csavarokon) és a 6 alátét segítségével.
-
Tegyen nejlon alátétet az oldalsó lemez nyúlványának minkét oldalára.
-
Tegyen acél alátétet a nejlon alátétek külső oldalára (Ábra 31).
Note: Húzza meg a fenékkésrúd-csavarokat 37–45 Nm nyomatékkal. Húzza meg az önbiztosító anyákat annyira, hogy a külső acél alátét már ne tudjon elforogni, és ne legyen tengelyirányú játék, de ne húzza túl az anyákat, mert az oldalsó lemezek elgörbülhetnek. A belső alátéteknél hézag is lehet.
-
Húzza meg a rugó terhelésű anyát annyira, hogy a rugó teljesen összenyomódjon, majd engedjen vissza ½ menetet (Ábra 32).

A fenékkés felszerelése
-
Távolítsa el a rozsdát és egyéb lerakódásokat a fenékkésről és vonja be vékony réteg olajjal a felületét.
-
Tisztítsa meg a csavarmeneteket.
-
Kenjen beragadásgátló pasztát a csavarokra, majd szerelje fel a fenékkést a fenékkésrúdra az alábbi módon (Ábra 33):

-
Köszörülje meg a fenékkést.
A HD kétpontos állítószerkezetek (DPA) szervizelése
-
Távolítsa el az összes alkatrészt (a HD DPA készlet Felszerelési utasításai és a Ábra 35 alapján).
-
Kenjen beragadásgátló pasztát a nyíróegység központi vázán a persely helyére (Ábra 35).
-
Igazítsa a karimás perselyek ékét a váz réséhez, majd szerelje be a perselyeket (Ábra 35).
-
Szereljen fel egy hullámos alátétet az állítótengelyre, majd csúsztassa be az állítótengelyt a nyíróegység vázának karimás perselyeibe (Ábra 35).
-
Rögzítse az állítótengelyt lapos alátét és önbiztosító anya segítségével (Ábra 35).
-
Húzza meg az önbiztosító anyát 20–27 Nm nyomatékkal.
Note: A fenékkésrúd-állítótengely balmenetes.

-
Hordjon fel beragadásgátló pasztát az állítótengelybe szerelendő fenékkésrúd-állítócsavar meneteire.
-
Hajtsa be a fenékkésrúd-állítócsavart az állítótengelybe.
-
Szerelje fel az edzett alátétet, a rugót és a rugó terhelésű anyát az állítócsavarra, de ne szorosan.
-
Szerelje fel a fenékkésrudat a rögzítőfüleket az alátét és a fenékkésrúd-beállító szerkezet közé illesztve.
-
Rögzítse a fenékkésrudat az oldalsó lemezekhez a fenékkésrúd-csavarok (anyákkal a csavarokon) és a 6 alátét segítségével.
Note: Tegyen nejlon alátétet az oldalsó lemez nyúlványának minkét oldalára.
-
Tegyen acél alátétet a nejlon alátétek külső oldalára (Ábra 35).
-
Húzza meg a fenékkésrúd-csavarokat 37–45 Nm nyomatékkal.
-
Húzza meg az önbiztosító anyákat annyira, hogy a külső acél alátét már ne tudjon elforogni, és ne legyen tengelyirányú játék, de ne húzza túl az anyákat, mert az oldalsó lemezek elgörbülhetnek.
Note: A belső alátéteknél hézag is lehet (Ábra 35).
-
Húzza meg az anyát mindkét fenékkésrúd-beállító egységen annyira, hogy a rugó teljesen összenyomódjon, majd engedjen vissza ½ menetet (Ábra 35).
-
Ismételje meg az eljárást a nyíróegység másik oldalán is.
-
A fenékkés beállítása a hengerkéshez; lásd: A fenékkés beállítása a hengerkéshez.
A henger szervizelése
A henger szervizeléséhez hengerfelújító készlet (cikksz. 114-5430) és hengerfelújító szerszámkészlet (cikksz. 115-0803) (Ábra 36) kapható. A hengerfelújító készlet tartalmazza a henger felújításához szükséges összes csapágyat, csapágyanyát, belső tömítést és külső tömítést. A hengerfelújító szerszámkészlet minden szerszámot és szerelési utasítást tartalmaz a hengernek a henger felújító készlettel történő felújításához. Segítségért tekintse át az alkatrész-katalógust vagy forduljon a hivatalos Toro-forgalmazóhoz.



, melynek jelentése lehet Figyelem, Vigyázat
vagy Veszély – személyes biztonsági utasítások.
Az utasítások be nem tartása személyi
sérülést vagy halált okozhat.



















