Modellnr 31957 monteras på klippenhetsmodellnr 31970
Modellnr 31958 monteras på klippenhetsmodellnr 31972
Modellnr 31959 monteras på klippenhetsmodellnr 31971
Modellnr 31960 monteras på klippenhetsmodellnr 31973
Utför följande steg om klippenheten har monterats på maskinen:
Parkera maskinen på en plan yta.
Koppla in parkeringsbromsen.
Sänk ned klippenheten.
Stäng av motorn och ta ut nyckeln.
Ta bort klippenheten från maskinen. Se klippenhetens bruksanvisning.
Delar som behövs till detta steg:
| Växellådsskiva | 1 |
| Kniv | 3 |
| Sidoremkåpsfäste | 2 |
| Mittremkåpsfäste | 1 |
| Bult (5/16 tum) | 3 |
| Bricka | 3 |
| Tryckmutter | 3 |
| U-mutter | 3 |
| Vagnsskruv | 4 |
| Mutter (⅜ tum) | 4 |
| Knivremskiva (endast modellnr 31957 och 31958) | 3 |
| Rem (endast modellnr 31957 och 31958) | 1 |
| Gängtätningsmassa | 1 |
Ta bort remkåporna och drivaxelkåpan (Figur 1).

Ta bort remmen. Se klippenhetens bruksanvisning.
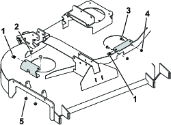
Ta bort de fyra uppsättningarna av fästelement som fäster växellådsfästet på klippenheten (Figur 2).

På maskiner som redan har klippenheten monterad: När drivaxeln är ansluten drar du ut växelenheten flera centimeter och roterar den uppåt för att komma åt remskivan.
Ta bort de två fyrkantskruvarna från den befintliga växellådsskivan (Figur 3).

Ta bort den befintliga remskivan från klippenheten.
Applicera monteringssmörjmedel på växellådsaxeln (Figur 4) och kilspåret.

Montera den nya remskivan löst på växellådsaxeln.
Kontrollera att axeln är i linje med remskivans navände (Figur 4) och att fyrkantsnyckeln (Figur 3) inte sticker ut från skivnavet.
Applicera gängtätningsmassa på fyrkantskruvarna.
Fäst den nya remskivan på växellådsaxeln med fyrkantskruvarna (Figur 3).
Dra åt skruvarna och till 14–18 Nm.
Ta bort de befintliga remkåpsfästena (Figur 6) från klippenheten.

Fäst sidoremkåpsfästena på klippenheten med fyra vagnsskruvar och fyra muttrar (⅜ tum) (Figur 7).

Fäst mittremkåpsfästet på klippenheten med två muttrar (5/16 tum) och de tidigare borttagna vagnsskruvarna (Figur 7).
Placera U-muttrarna på remkåpsfästena enligt Figur 7.
Dra den nya remmen runt remskivorna. Se klippenhetens bruksanvisning.
Note: Modellnr 31957 och 31958 har en ny rem. Montera den här remmen och kassera den gamla remmen.
För klippenheten till SERVICELäGET. Se traktorenhetens bruksanvisning.
Montera de nya knivarna. Se klippenhetens bruksanvisning.
Fäst remkåporna på remkåpsfästena med tre tryckmuttrar, tre brickor och tre skruvar (5/16 tum) (Figur 8).
