Modelnr. 31957 wordt gemonteerd op maai-eenheid modelnr. 31970
Modelnr. 31958 wordt gemonteerd op maai-eenheid modelnr. 31972
Modelnr. 31959 wordt gemonteerd op maai-eenheid modelnr. 31971
Modelnr. 31960 wordt gemonteerd op maai-eenheid modelnr. 31973
Voer de volgende stappen uit als uw maai-eeheid uitgerust is op de machine:
Parkeer de machine op een horizontaal oppervlak.
Stel de parkeerrem in werking.
Breng de maai-eenheid omlaag.
Zet de motor af en haal het sleuteltje uit het contact.
Verwijder de maai-eenheid van de machine, raadpleeg de Gebruikershandleiding van de maai-eenheid.
Benodigde onderdelen voor deze stap:
| Poelie van tandwielkast | 1 |
| Mes | 3 |
| Zijdelingse drijfriemkapbeugel | 2 |
| Middelste drijfriemkapbeugel | 1 |
| Bout (5/16") | 3 |
| Ring | 3 |
| Drukmoer | 3 |
| U-moer | 3 |
| Slotbout | 4 |
| Moer (⅜") | 4 |
| Mespoelie (uitsluitend modelnr. 31957 en 31958) | 3 |
| Riem (uitsluitend modelnr. 31957 en 31958) | 1 |
| Schroefdraadborgmiddel | 1 |
Verwijder de drijfriemkappen en de kap van de aandrijfas (Figuur 1).

Verwijder de riem; raadpleeg de Gebruikershandleiding van uw maai-eenheid.
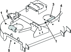
Verwijder de 4 sets bevestigingsmateriaal waarmee de beugel van de tandwielkast is bevestigd aan de maai-eenheid (Figuur 2).

Op machines waarbij de maai-eenheid al gemonteerd is: Trek met de aandrijfas aangesloten de tandwielkast een aantal cm naar buiten en draai deze omhoog om bij de poelie te kunnen komen.
Verwijder de 2 schroeven met vierkante kop van de aanwezige poelie van de tandwielkast (Figuur 3).

Verwijder de bestaande poelie van de maai-eenheid.
Breng anti-seize smeermiddel aan op de as van de tandwielkast (Figuur 4) en de sleuf.

Monteer de nieuwe poelie losjes aan de as van de tandwielkast.
Zorg ervoor dat de as gelijk komt met het uiteinde van de poelienaaf (Figuur 4) en dat de vierkante sleutel (Figuur 3) niet uit de poelienaaf uitsteekt.
Breng schroefdraadborgmiddel aan op de schroeven met vierkante kop.
Gebruik de schroeven met vierkante kop om de nieuwe poelie aan de as van de tandwielkast te bevestigen (Figuur 3).
Draai de schroeven aan met een torsie van 14 tot 18 N·m.
Verwijder de bestaande drijfriemkapbeugels (Figuur 6) van de maai-eenheid.

Gebruik 4 slotbouten en 4 moeren (⅜") om de zijdelingse drijfriemkapbeugels aan de maai-eenheid te bevestigen (Figuur 7).

Gebruik 2 moeren (5/16") en de eerder verwijderde slotbouten om de middelste drijfriemkapbeugel aan de maai-eenheid te bevestigen (Figuur 7).
Plaats de U-moeren aan de drijfriemkapbeugels zoals in Figuur 7.
Leid de nieuwe riem rond de poelies; raadpleeg de Gebruikershandleiding van uw maai-eenheid.
Note: Modelnr. 31957 en 31958 hebben een nieuwe riem. Monteer deze riem en gooi de oude riem weg.
Zet de maai-eenheid naar de SERVICE-stand; raadpleeg de Gebruikershandleiding van de tractie-eenheid.
Monteer de nieuwe messen; raadpleeg de Gebruikershandleiding van uw maai-eenheid.
Gebruik 3 drukmoeren, 3 ringen en 3 moeren (5/16") om de drijfriemkappen aan de drijfriemkapbeugels te bevestigen (Figuur 8).
