Modell-Nr. 31957 wird an Mähwerk Modell-Nr. 31970 installiert
Modell-Nr. 31958 wird an Mähwerk Modell-Nr. 31972 installiert
Modell-Nr. 31959 wird an Mähwerk Modell-Nr. 31971 installiert
Modell-Nr. 31960 wird an Mähwerk Modell-Nr. 31973 installiert
Wenn das Mähwerk an der Maschine installiert ist, führen Sie die folgenden Schritte aus:
Stellen Sie die Maschine auf einer ebenen Fläche ab.
Aktivieren Sie die Feststellbremse.
Senken Sie das Mähwerk ab.
Stellen Sie den Motor ab und ziehen Sie den Zündschlüssel ab.
Nehmen Sie das Mähwerk von der Maschine ab, siehe Bedienungsanleitung des Mähwerks.
Für diesen Arbeitsschritt erforderliche Teile:
| Getriebe-Riemenscheibe | 1 |
| Messer | 3 |
| Seitliche Halterung der Riemenabdeckung | 2 |
| Mittlere Halterung der Riemenabdeckung | 1 |
| Schraube (5/16") | 3 |
| Scheibe | 3 |
| Steckmutter | 3 |
| U-Mutter | 3 |
| Schlossschraube | 4 |
| Mutter (⅜") | 4 |
| Messer-Riemenscheibe (nur Modell-Nr. 31957 und 31958) | 3 |
| Riemen (nur Modell-Nr. 31957 und 31958) | 1 |
| Gewindesperrmittel | 1 |
Entfernen Sie die Riemenabdeckungen und die Abdeckung der Antriebswelle (Bild 1).

Entfernen Sie den Riemen, siehe Bedienungsanleitung des Mähwerks.
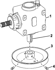
Nehmen Sie die vier Befestigungselementsätze ab, mit denen die Getriebehalterung am Mähwerk befestigt ist (Bild 2).

An Maschinen, bei denen bereits das Mähwerk installiert ist: Ziehen Sie bei angeschlossener Antriebswelle die Getriebebaugruppe einige Zentimeter heraus und drehen Sie diese nach oben, um Zugang zur Riemenscheibe zu erhalten.
Entfernen Sie beiden Vierkant-Zylinderschrauben von der vorhandenen Getriebe-Riemenscheibe (Bild 3).

Entfernen Sie die vorhandene Riemenscheibe vom Mähwerk.
Tragen Sie Korrosionshemmendes Schmiermittel auf die Welle (Bild 4) und Keilnut des Getriebes auf.

Montieren Sie die neue Riemenscheibe lose auf der Getriebewelle.
Achten Sie darauf, dass die Welle bündig mit dem Ende der Riemenscheibennabe (Bild 4) abschließt und die Passfeder (Bild 3) nicht aus der Riemenscheibennabe herausragt.
Schmieren Sie die Vierkant-Zylinderschraube mit Gewindesperrmittel ein.
Befestigen Sie die neue Antriebsscheibe mit den Vierkant-Zylinderschrauben an der Getriebewelle (Bild 3).
Ziehen Sie die Schrauben auf ein Drehmoment von 14-18 N·m an.
Nehmen Sie die Mutter und Unterlegscheibe ab, mit denen die vorhandene Messer Riemenscheibe an der Spindelwelle befestigt ist (Bild 5).

Nehmen Sie die Scheibe ab (Bild 5).
Befestigen Sie die neue Antriebsscheibe mit der Mutter und Unterlegscheibe an der Spindelwelle (Bild 5).
Ziehen Sie die Mutter auf ein Drehmoment von 203-216 N·m an.
Entfernen Sie die vorhandenen Halterungen der Riemenabdeckung (Bild 6) vom Mähwerk.

Befestigen Sie die seitlichen Halterungen der Riemenabdeckung mit vier Schlossschrauben und vier Muttern (⅜") am Mähwerk (Bild 7).

Befestigen Sie die mittlere Halterung der Riemenabdeckung mit zwei Muttern (5/16") und den zuvor entfernten Schlossschrauben am Mähwerk (Bild 7).
Platzieren Sie die U-Muttern an den Halterungen der Riemenabdeckung, wie in Bild 7 dargestellt.
Legen Sie den neuen Riemen um die Antriebsscheiben, siehe Bedienungsanleitung des Mähwerks.
Note: Modell-Nr. 31957 und 31958 besitzen einen neuen Riemen. Bauen Sie den Riemen ein und entsorgen Sie alten Riemen.
Heben Sie das Mähwerk in die WARTUNGS-Stellung, weitere Informationen finden Sie in der Bedienungsanleitung Ihrer Zugmaschine.
Bauen Sie die neuen Messer ein, siehe Bedienungsanleitung der Schneideinheit.
Befestigen Sie das Riemenabdeckungen mit drei Steckmuttern, drei Unterlegscheiben und drei Schrauben (5/16") an den Halterungen der Riemenabdeckung (Bild 8).
