El modelo 31957 se instala en la unidad de corte modelo 31970
El modelo 31958 se instala en la unidad de corte modelo 31972
El modelo 31959 se instala en la unidad de corte modelo 31971
El modelo 31960 se instala en la unidad de corte modelo 31973
Si su unidad de corte está instalada en la máquina, siga estos pasos:
Aparque la máquina en una superficie nivelada.
Accione el freno de estacionamiento.
Baje la unidad de corte.
Apague el motor y retire la llave.
Retire la unidad de corte de la máquina; consulte el Manual del operador de la unidad de corte.
Piezas necesarias en este paso:
| Polea de la caja de engranajes | 1 |
| Pieza de sujeción | 3 |
| Soporte de la cubierta lateral de la correa | 2 |
| Soporte de la cubierta central de la correa | 1 |
| Perno (5/16") | 3 |
| Arandela | 3 |
| Tuerca rápida | 3 |
| Tuerca de chapa | 3 |
| Tornillo de cuello cuadrado | 4 |
| Tuerca (ā ") | 4 |
| Polea de la cuchilla (modelos 31957 y 31958 solamente) | 3 |
| Correa (modelos 31957 y 31958 solamente) | 1 |
| Fijador de roscas | 1 |
Retire las cubiertas de la correa y la cubierta del árbol de transmisión (Figura 1).

Retire la correa; consulte el Manual del operador de la unidad de corte.
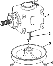
Retire los 4 juegos de fijaciones que sujetan el soporte de la caja de engranajes a la unidad de corte (Figura 2).

En máquinas que ya tienen instalada la unidad de corte: Con el árbol de transmisión conectado, extraiga varios centímetros el conjunto de la caja de engranajes y gírelo hacia arriba para tener acceso a la polea.
Retire los 2 tornillos de cabeza cuadrada de la polea existente de la caja de engranajes (Figura 3).

Retire la polea existente de la unidad de corte.
Aplique compuesto antigripante al eje de la caja de engranajes (Figura 4) y a la ranura.

Instale provisionalmente la polea nueva en el eje de la caja de engranajes.
Asegúrese de que el eje está enrasado con el extremo del cubo de la polea (Figura 4) y que la chaveta cuadrada (Figura 3) no sobresale del cubo de la polea.
Aplique fijador de roscas a los tornillos de cabeza cuadrada.
Utilice los tornillos de cabeza cuadrada para sujetar la polea nueva al eje de la caja de engranajes (Figura 3).
Apriete los tornillos a 14–18 N·m.
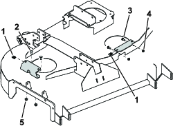
Retire los soportes existentes de las cubiertas de la correa (Figura 6) de la unidad de corte.

Utilice 4 pernos de cuello cuadrado y 4 tuercas (ā ") para sujetar los soportes de las cubiertas laterales de la correa a la unidad de corte (Figura 7).

Utilice 2 tuercas (5/16") y los pernos de cuello cuadrado que retiró anteriormente para sujetar el soporte de la cubierta central de la correa a la unidad de corte (Figura 7).
Coloque las tuercas en U en los soportes de las cubiertas de la correa, como se muestra en la Figura 7.
Enrute la correa nueva alrededor de las poleas; consulte el Manual del operador de la unidad de corte.
Note: Los modelos 31957 y 31958 tienen una correa nueva. Instale esta correa y deseche la correa antigua.
Eleve la unidad de corte a la posición de MANTENIMIENTO; consulte el Manual del operador de la unidad de tracción.
Instale las cuchillas nuevas; consulte el Manual del operador de la unidad de corte.
Utilice 3 tuercas rápidas, 3 arandelas y 3 pernos (5/16") para sujetar las cubiertas de la correa a los soportes de las cubiertas de la correa (Figura 8).
