Il modello n. 31957 si installa sull’apparato di taglio modello n. 31970
Il modello n. 31958 si installa sull’apparato di taglio modello n. 31972
Il modello n. 31959 si installa sull’apparato di taglio modello n. 31971
Il modello n. 31960 si installa sull’apparato di taglio modello n. 31973
Se il vostro apparato di taglio è montato sulla macchina, effettuate quanto segue:
Parcheggiate la macchina su terreno pianeggiante.
Inserite il freno di stazionamento.
Abbassate l'apparato di taglio.
Spegnete il motore ed estraete la chiave.
Rimuovete l’apparato di taglio dalla macchina; fate riferimento al Manuale dell’operatore del vostro apparato di taglio.
Parti necessarie per questa operazione:
| Puleggia della scatola ingranaggi | 1 |
| Lama | 3 |
| Staffa del copricinghia laterale | 2 |
| Staffa del copricinghia centrale | 1 |
| Bullone (5/16") | 3 |
| Rondella | 3 |
| Dado in gabbia | 3 |
| Dado a U | 3 |
| Vite a testa tonda | 4 |
| Dado (⅜") | 4 |
| Puleggia della lama (solo modelli n. 31957 e 31958) | 3 |
| Cinghia (solo modelli n. 31957 e 31958) | 1 |
| Composto frenafiletti | 1 |
Rimuovete i copricinghia e la copertura dell’albero di trasmissione (Figura 1).

Rimuovete la cinghia; fate riferimento al Manuale dell’operatore del vostro apparato di taglio.
Rimuovete i 4 set di bulloneria che fissano la staffa della scatola ingranaggi all’apparato di taglio (Figura 2).

Sulle macchine con l’apparato di taglio già montato: Con l’albero di trasmissione collegato, estraete il gruppo della scatola ingranaggi di diversi centimetri e ruotatelo verso l’alto per avere accesso alla puleggia.
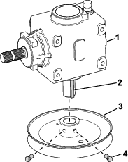
Rimuovete le 2 viti a testa quadrata dalla puleggia della scatola ingranaggi esistente (Figura 3).

Rimuovete la puleggia esistente dall’apparato di taglio.
Applicate un composto frenafiletti sull’albero della scatola ingranaggi (Figura 4) e sulla scanalatura.

Montate, senza serrarla, la nuova puleggia sull’albero della scatola ingranaggi.
Assicuratevi che l’albero sia a livello con l’estremità del mozzo della puleggia (Figura 4) e che la chiave quadrata (Figura 3) non sporga dal mozzo della puleggia.
Applicate un composto frenafiletti sulle viti a testa quadrata.
Utilizzate le viti a testa quadrata per fissare la nuova puleggia all’albero della scatola ingranaggi (Figura 3).
Serrate le viti a una coppia compresa tra 14 e 18 N∙m.
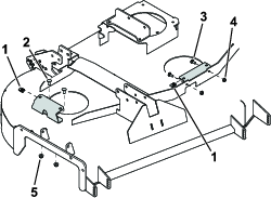
Rimuovete le staffe dei copricinghia esistenti (Figura 6) dall’apparato di taglio.

Utilizzate 4 bulloni a testa tonda e 4 dadi (⅜") per fissare le staffe dei copricinghia laterali all’apparato di taglio (Figura 7).

Utilizzate 2 dadi (5/16") e i bulloni a testa tonda precedentemente rimossi per fissare la staffa del copricinghia centrale all’apparato di taglio (Figura 7).
Posizionate i dadi a U sulle staffe dei copricinghia, come illustrato nella Figura 7.
Disponete la nuova cinghia attorno alle pulegge; fate riferimento al Manuale dell’operatore del vostro apparato di taglio.
Note: I modelli n. 31957 e 31958 presentano una nuova cinghia. Montate questa cinghia ed eliminate quella vecchia.
Spostate l’apparato di taglio alla posizione di MANUTENZIONE; fate riferimento al Manuale dell’operatore del vostro trattorino.
Montate le nuove lame; fate riferimento al Manuale dell’operatore del vostro apparato di taglio.
Utilizzate 3 dadi in gabbia, 3 rondelle e 3 bulloni (5/16") per fissare i copricinghia alle staffe dei copricinghia (Figura 8).
