Le modèle nº 31957 se monte sur l'unité de coupe modèle nº 31970
Le modèle nº 31958 se monte sur l'unité de coupe modèle nº 31972
Le modèle nº 31959 se monte sur l'unité de coupe modèle nº 31971
Le modèle nº 31960 se monte sur l'unité de coupe modèle nº 31973
Si l'unité de coupe est montée sur la machine, effectuez la procédure suivante :
Garez la machine sur une surface plane et horizontale.
Serrez le frein de stationnement.
Abaissez l'unité de coupe.
Coupez le moteur et enlevez la clé.
Déposez l'unité de coupe de la machine ; voir le Manuel de l'utilisateur de l'unité de coupe.
Pièces nécessaires pour cette opération:
| Poulie de boîtier d'engrenages | 1 |
| Lame | 3 |
| Support de protège-courroie latéral | 2 |
| Support de protège-courroie central | 1 |
| Boulon (5/16") | 3 |
| Rondelle | 3 |
| Écrou poussoir | 3 |
| Clip-écrou | 3 |
| Boulon de carrosserie | 4 |
| Écrou (3/8") | 4 |
| Poulie de lame (modèles nº 31957 et 31958 seulement) | 3 |
| Courroie (modèles nº 31957 et 31958 seulement) | 1 |
| Frein-filet | 1 |
Déposez les protège-courroies et la protection de l'arbre d'entraînement (Figure 1).

Déposez la courroie ; voir le Manuel de l'utilisateur de l'unité de coupe.
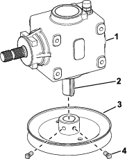
Déposez les 4 jeux de fixations qui maintiennent le support du boîtier d'engrenages sur l'unité de coupe (Figure 2).

Sur les machines déjà équipées de l'unité de coupe : l'arbre d'entraînement étant accouplé, sortez le boîtier d'engrenages de quelques centimètres et tournez-le pour accéder à la poulie.
Retirez les 2 vis à tête carrée de la poulie existante du boîtier d'engrenages (Figure 3).

Déposez la poulie existante de l'unité de coupe.
Appliquez du composé antigrippant sur l'arbre du boîtier d'engrenages (Figure 4) et la rainure.

Fixez légèrement la poulie neuve sur l'arbre du boîtier d'engrenages.
Vérifiez que l'arbre affleure le côté moyeu de la poulie (Figure 4) et que la clavette carrée (Figure 3) ne dépasse pas du moyeu de la poulie.
Appliquez du frein-filet sur les vis à tête carrée.
Fixez la poulie neuve sur l'arbre du boîtier d'engrenages avec les vis à tête carrée (Figure 3).
Serrez les vis à un couple de 14 à 18 N·m.
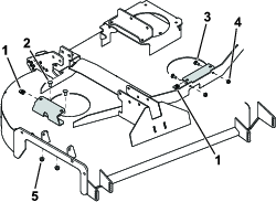
Déposez les supports de protège-courroies (Figure 6) de l'unité de coupe.

Fixez les supports latéraux des protège-courroies sur l'unité de coupe à l'aide de 4 boulons de carrosserie et de 4 écrous (3/8") (Figure 7).

Fixez le support de protège-courroie central sur l'unité de coupe à l'aide de 2 écrous (5/16") et des boulons de carrosserie retirés précédemment (Figure 7).
Placez les écrous-clips sur les supports des protège-courroies, comme montré à la Figure 7.
Installez la courroie neuve sur les poulies ; voir le Manuel de l'utilisateur de l'unité de coupe.
Note: Les modèles nº 31957 et 31958 sont équipés d'une nouvelle courroie. Installez cette courroie et mettez l'ancienne au rebut.
Placez l'unité de coupe en position d'ENTRETIEN ; voir le Manuel de l'utilisateur du groupe de déplacement.
Montez les nouvelles lames ; voir le Manuel de l'utilisateur de l'unité de coupe.
Fixez les protège-courroies sur leurs supports à l'aide de 3 écrous poussoirs, 3 rondelles et 3 boulons (5/16") (Figure 8).
