Model No. 31957 installs to cutting unit Model No. 31970
Model No. 31958 installs to cutting unit Model No. 31972
Model No. 31959 installs to cutting unit Model No. 31971
Model No. 31960 installs to cutting unit Model No. 31973
If your cutting unit is equipped on the machine, perform the following steps:
Park the machine on a level surface.
Engage the parking brake.
Lower the cutting unit.
Shut off the engine and remove the key.
Remove the cutting unit from the machine; refer to your cutting unit Operator’s Manual.
Parts needed for this procedure:
| Gearbox pulley | 1 |
| Blade | 3 |
| Side belt-cover bracket | 2 |
| Middle belt-cover bracket | 1 |
| Bolt (5/16 inch) | 3 |
| Washer | 3 |
| Push nut | 3 |
| U-nut | 3 |
| Carriage screw | 4 |
| Nut (3/8 inch) | 4 |
| Blade pulley (Model No. 31957 and 31958 only) | 3 |
| Belt (Model No. 31957 and 31958 only) | 1 |
| Thread-locking compound | 1 |
Remove the belt covers and driveshaft cover (Figure 1).

Remove the belt; refer to your cutting unit Operator’s Manual.
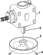
Remove the 4 sets of hardware that secures the gearbox bracket to the cutting unit (Figure 2).

On machines that already have the cutting unit installed: With the driveshaft connected, pull the gearbox assembly out several inches and rotate it up to gain access to the pulley.
Remove the 2 square-head screws from the existing gearbox pulley (Figure 3).

Remove the existing pulley from the cutting unit.
Apply anti-seize compound to the gearbox shaft (Figure 4) and keyway.

Loosely install the new pulley to the gearbox shaft.
Ensure that the shaft is flush with the pulley-hub end (Figure 4) and that the square key (Figure 3) is not protruding from the pulley hub.
Apply thread-locking compound to the square-head screws.
Use the square-head screws to secure the new pulley to the gearbox shaft (Figure 3).
Torque the screws to 14 to 18 N∙m (130 to 160 in-lb).
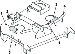
Remove the existing belt-cover brackets (Figure 6) from the cutting unit.

Use 4 carriage bolts and 4 nuts (3/8 inch) to secure the side belt-cover brackets to the cutting unit (Figure 7).

Use 2 nuts (5/16 inch) and the previously-removed carriage bolts to secure the middle belt-cover bracket to the cutting unit (Figure 7).
Position the U-nuts to the belt-cover brackets as shown in Figure 7.
Route the new belt around the pulleys; refer to your cutting unit Operator’s Manual.
Note: Model No. 31957 and 31958 have a new belt. Install this belt and discard the old belt.
Move the cutting unit to the SERVICE position; refer to your traction unit Operator’s Manual.
Install the new blades; refer to your cutting unit Operator’s Manual.
Use 3 push nuts, 3 washers, and 3 bolts (5/16 inch) to secure the belt covers to the belt-cover brackets (Figure 8).
