Kunnossapito
Note: Koneen vasen ja oikea puoli määritellään normaalista käyttöasennosta käsin.
Leikkuuyksikön tukeminen
Jos leikkuuyksikköä on kallistettava kiinteän terän / kelan esiin saamiseksi, nosta leikkuuyksikön takaosa siten, että runkopalkin säätöruuvien takaosan mutterit eivät nojaa työpintaan (Kuva 8).

Kiinteän terän ja kelan kosketuksen säätö
Kiinteän terän päivittäinen säätö
Ennen ruohonleikkuuta (päivittäin tai tarvittaessa) on tarkistettava, että jokaisen leikkuuyksikön kiinteän terän ja kelan kosketus on oikea. Suorita tämä tarkistus, vaikka leikkuujäljen laatu on hyväksyttävä.
-
Laske leikkuuyksiköt kovalle alustalle.
-
Sammuta kone seuraavasti:
-
Bensiiniyksiköt: sammuta moottori ja irrota sytytystulpan johto.
-
Sähköyksiköt: katkaise koneesta virta ja irrota akun kytkentä (T-liitin).
-
-
Pyöritä kelaa varovaisesti vastakkaiseen suuntaan ja kuuntele samalla, koskettaako kela kiinteään terään.
-
Jos kosketusta ei ole, käännä runkopalkin säätöruuveja myötäpäivään (Kuva 9) yksi pykälä kerrallaan, kunnes lievä kosketus tuntuu ja kuuluu.

Note: Kelan on leikattava paperiarkki, kun paperi syötetään kiinteään terään oikeassa kulmassa molemmista päistä ja kelan keskeltä.
Note: Runkopalkin säätöruuvien hampaat vastaavat kiinteän terän 0,018 mm:n liikettä kussakin osoitetussa asennossa.
-
Jos kosketus / kelan vastus on voimakas, voidaan joko läpätä, hioa kiinteän terän etureuna tai hioa leikkuuyksikkö uudelleen, kunnes saadaan tarkassa leikkuussa tarvittavat terävät särmät (katso Toron opas Sharpening Reel and Rotary Mowers, lomakenro 09168SL).
Important: Suosittelemme jatkuvaa kevyttä kosketusta. Jos kevyttä kosketusta ei säilytetä, kiinteän terän / kelan särmät eivät teroitu riittävästi, ja leikkuusärmät tylsistyvät jonkin ajan kuluttua. Jos kosketus on jatkuvasti liian voimakas, kiinteä terä / kela kuluvat nopeammin ja epätasaisesti, jolloin leikkuulaatu saattaa heikentyä.
Note: eFlex-leikkuuyksiköissä kelan ja kiinteän terän kosketus vaikuttaa huomattavasti energiankulutukseen. Erittäin kevyt kosketus takaa optimaalisen leikkuutuloksen ja akun keston.
Note: Kun kelaterät käyvät jatkuvasti kiinteää terää vasten, leikkuusärmän etupinnalle muodostuu jäystettä kiinteän terän koko pituudelle. Leikkuujälkeä voi parantaa poistamalla ajoittain jäysteet etureunasta viilaamalla.Pitkään jatkuneen käytön jälkeen kiinteän terän molempiin päihin muodostuu harjanne. Pyöristä tai hio nämä pykälät samalle tasolle kiinteän terän leikkuusärmän kanssa, jotta laite toimisi tasaisesti.
-
Kiinteän terän säätö hionnan, läppäyksen tai purkamisen jälkeen
Noudata näitä ohjeita hionnan, läppäyksen tai kelan purkamisen jälkeen. Tämä ei ole päivittäinen säätö.
Note: eFlex-leikkuuyksiköissä kelan ja kiinteän terän kosketus vaikuttaa huomattavasti energiankulutukseen. Erittäin kevyt kosketus takaa optimaalisen leikkuutuloksen ja akun keston.
-
Aseta leikkuuyksikkö tasaiselle työskentelyalustalle.
-
Tuo kiinteä terä ja kela esiin kallistamalla leikkuuyksikköä.
Note: Varmista, että runkopalkin säätöruuvien takaosan mutterit eivät ole työpintaa vasten (Kuva 8).
-
Käännä kelaa siten, että yksi teristä ylittää kiinteän terän särmän ensimmäisen ja toisen kiinteän terän ruuvin kannan välissä leikkuuyksikön oikealla puolella.
-
Merkitse terä kohdassa, jossa se ylittää kiinteän terän särmän.
Note: Tämän tekeminen helpottaa myöhempiä säätöjä.
-
Aseta 0,05 mm:n (0,002 tuuman) välilevy merkityn terän ja kiinteän terän särmän väliin kohdassa, joka on merkitty vaiheessa 4.
-
Käännä runkopalkin oikeanpuoleista säätöruuvia, kunnes tunnet kevyen paineen välilevyssä, kun liikutat sitä sivulta toiselle (Kuva 9). Irrota välilevy.
-
Siirry leikkuuyksikön vasemmalle puolelle ja käännä kelaa hitaasti siten, että lähin terä ylittää kiinteän terän särmän ensimmäisen ja toisen ruuvin kannan välistä.
-
Toista vaiheet 4–6 leikkuuyksikön vasemmalla puolella ja runkopalkin vasemmanpuoleiselle säätöruuville.
-
Toista vaiheet 5 ja 6, kunnes tunnet kontaktikohdissa kevyen vastuksen sekä leikkuuyksikön oikealla että vasemmalla puolella.
-
Luo kelan ja kiinteän terän välille kevyt kosketus kääntämällä kumpaakin runkopalkin säätöruuvia myötäpäivään kolme pykälää.
Note: Yksi runkopalkin säätöruuvin pykälä liikuttaa kiinteää terää 0,018 mm. Älä kuitenkaan kiristä säätöruuveja liikaa.Säätöruuvin myötäpäivään kääntäminen siirtää kiinteän terän reunaa lähemmäksi kelaa. Säätöruuvin vastapäivään kääntäminen siirtää kiinteän terän reunaa kauemmaksi kelasta.
-
Testaa leikkuutulos asettamalla pitkä liuska leikkuutuloksen testauspaperia kelan ja kiinteän terän väliin kohtisuoraan kelan ja kiinteän terän suhteen (Kuva 10). Leikkaa paperi kiertämällä kelaa hitaasti eteenpäin.

Note: Jos kosketus / kelan vastus on voimakas, on ehkä läpättävä tai hiottava kela ja kiinteä terä, kunnes saadaan tarkassa leikkuussa tarvittavat terävät särmät.
Kiinteän terän hionta
Kelan takatahkoaminen
Uudessa kelassa on 0,76–1,27 mm:n kierreleveys ja 30 asteen takatahkous.
Kun kierreleveys on suurempi kuin 3 mm, on tehtävä seuraavat toimenpiteet:
-
Tee kaikkiin kelan lehtiin 30 asteen takatahkous, kunnes kierreleveys on 0,76–1,27 mm (Kuva 11).

-
Hio kelaa, kunnes sen jättö on <0,025 mm.
Note: Tämä kasvattaa hieman kierreleveyttä.
Note: Kelan ja kiinteän terän leikkuureunan pysymistä terävänä voi pidentää tarkistamalla kelan ja/tai kiinteän terän hionnan jälkeen kelan ja kiinteän terän kosketuksen uudelleen kuuden viheriön leikkaamisen jälkeen. Tämä poistaa mahdolliset jäysteet, jotka voivat aiheuttaa virheellisen kelan ja kiinteän terän välyksen ja siten nopeuttaa kulumista.
Yläosan hiontakulman tarkistus
Kiinteän terän hiontakulma on erittäin tärkeä.
Hiontalaitteen kulma on tarkistettava kulman osoittimella ja kulman osoittimen kiinnittimellä ja mahdollinen epätarkkuus on korjattava.
-
Aseta kulman osoitin kiinteän terän alaosaan kuvan mukaisesti (Kuva 12).

-
Paina kulman osoittimen Alt Zero -painiketta.
-
Aseta kulman osoittimen kiinnitin kiinteän terän reunaan siten, että magneetin reuna kiinnittyy kiinteän terän reunaan (Kuva 13).
Note: Digitaalinäytön tulee näkyä samalta puolelta tämän vaiheen aikana kuin vaiheessa 1.

-
Aseta kulman osoitin kiinnittimeen kuvan mukaisesti (Kuva 13).
Note: Tämä on hiontalaitteen kulma, joka saa poiketa enintään kaksi astetta suositellusta yläosan hiontakulmasta.
Kelan hiomistiedot
| Kelan läpimitta (uusi) | 128,5 mm |
| Huoltoraja – kelan läpimitta | 114,3 mm |
| Kelan akselin läpimitta (OD) | 34,9 mm |
| Terän takakulma | 25–35° |
| Terän kierreleveys | 0,76–1,27 mm |
| Terän kierreleveyden alue | 0,8–1,2 mm |
| Huoltoraja – kelan läpimitan kaventuma | 0,25 mm |
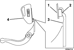
Takarullan korkeuden säätö
Säädä takarullan kannattimet (Kuva 14 tai Kuva 15) ylempään tai alempaan asentoon halutun leikkuukorkeuden mukaan:
-
Aseta välikappale sivulevyn kiinnityslaipan yläpuolelle (tehdasasetus), kun leikkuukorkeusasetus on 1,5–6 mm, kuvan mukaisesti (Kuva 14).

-
Aseta välikappale sivulevyn kiinnityslaipan alapuolelle, kun leikkuukorkeusasetus on 3–25 mm kuvan mukaisesti (Kuva 15).

-
Nosta leikkuuyksikön takaosa ja aseta kiinteän terän alle puukappale.
-
Irrota kaksi mutteria, joilla rullan kannattimet ja välikappaleet on kiinnitetty sivulevyn kiinnityslaippoihin.
-
Laske rulla ja ruuvit sivulevyn kiinnityslaipoista ja välikappaleista.
-
Aseta välikappaleet tarpeen mukaan rullan kannattimien ylä- tai alapuolella oleviin ruuveihin (Kuva 14 tai Kuva 15).
-
Kiinnitä rullan kannatin ja välikappaleet kiinnityslaippojen alapuolelle aiemmin irrotetuilla muttereilla.
-
Varmista, että kiinteän terän kosketus kelaan on säädetty oikein. Kallista ruohonleikkuria, jotta etu- ja takarullat ja kiinteä terä tulisivat näkyviin.
Note: Takarullan kohdistus kelaan määräytyy kokoonpanon osien työstötoleranssien mukaan, ja kohdistusta ei tarvitse tehdä. Vähäisiä säätöjä voidaan tehdä asettamalla leikkuuyksikkö tasaiselle alustalle ja löysäämällä sivulevyn kiinnityspultteja (Kuva 16). Säädä ja kiristä pultit lopuksi.

Important: Jos leikkuuyksikköä on kallistettava kiinteän terän tai kelan esiin saamiseksi, tue leikkuuyksikön takaosa siten, että runkopalkin säätöruuvien mutterit eivät nojaa työpintaan (Kuva 8).
Leikkuukorkeuden säätö
Leikkuuyksikössä on kiinteä Edgemax-mikroleikkuuterä ja normaali runkopalkki vakiovarusteina. Tehokas leikkuukorkeus riippuu aikaisemmista leikkurimäärityksistä ja nurmen olosuhteista (eli rullatyypistä, kiinteän terän sijainnista keskilinjaan nähden, nurmen pehmeydestä tai kiinteydestä ja vuodenajasta). Aseta aloitusleikkuukorkeus 0,25–0,38 mm edellistä viheriöleikkuriasetusta korkeammalle ja säädä olosuhteiden mukaan.
Note: Jos leikkuukorkeus on yli 13 mm, asenna suuren leikkuukorkeuden välineet.
Valitse halutulle leikkuukorkeudelle sopivin kiinteä terä seuraavan taulukon avulla.
| Leikkuukorkeudelle suositeltu kiinteä terä | ||
| Kiinteä terä | Osanro | Leikkuukorkeus |
| Edgemax-mikroleikkuu (vakio) | 115-1880(2100)117-1530 (1800) | 1,5–4,7 mm |
| Edgemax Tournament (lisävaruste) | 115-1881(2100)117-1532 (1800) | 3,1–12,7 mm |
| Mikroleikkuu (lisävaruste) | 93-4262(2100)98-7261 (1800) | 1,5–4,7 mm |
| Tournament (lisävaruste) | 93-4263(2100)98-7260 (1800) | 3,1–12,7 mm |
| Pitkä mikroleikkuu (lisävaruste) | 108-4303(2100)110-2300 (1800) | 1,5–4,7 mm |
| Pitkä Tournament (lisävaruste) | 108-4302(2100) | 3,1–12,7 mm |
| Matalaleikkuu (lisävaruste) | 93-4264(2100)110-2301 (1800) | 4,7–25,4 mm |
-
Löysää lukkomuttereita, jotka kiinnittävät leikkuukorkeusvarret leikkuuyksikön sivulevyihin (Kuva 17).

-
Löysää mittapalkin mutteria ja aseta säätöruuvi haluamaasi leikkuukorkeuteen (Kuva 18).
Note: Ruuvin kannan alareunan ja palkin pään etäisyys on leikkuukorkeus.

-
Kiinnitä ruuvin kanta kiinteän terän leikkuureunaan ja aseta palkin takapää takarullalle (Kuva 19).

-
Pyöritä säätöruuvia, kunnes rulla koskettaa mittapalkin etuosaa.
-
Säädä rullan molempia päitä, kunnes koko rulla on yhdensuuntainen kiinteän terän kanssa.
Important: Kun asetus on oikein, etu- ja takarullat koskettavat mittapalkkia ja ruuvi on tiiviisti kiinteää terää vasten. Näin varmistetaan, että leikkuukorkeus on sama kiinteän terän kummassakin päässä.
-
Lukitse säätö kiristämällä muttereita sen verran, että aluslaatassa ei ole välystä.
Leikkuuasetuksen säätö
Leikkuuyksikössä on kuusi leikkuuasetusta, jotka voi säätää nurmiolosuhteiden mukaan. Aloita säätämällä leikkuuasetus ensin leikkuukorkeuden mukaan. Tämän jälkeen leikkuuyksikköä on testattava ja leikkuuasetusta säädettävä halutun leikkuujäljen mukaan.
-
Sammuta kone seuraavasti:
-
Bensiiniyksiköt: sammuta moottori ja irrota sytytystulpan johto.
-
Sähköyksiköt: katkaise koneesta virta ja irrota akun kytkentä (T-liitin).
-
-
Avaa hihnasuojusta kiinnittävä laippakantapultti ja irrota hihnasuojus, jotta hihna tulee näkyviin (Kuva 20).

-
Löysää laakeripesän mutteria (Kuva 21).

-
Kierrä laakeripesää 16 mm:n (⅝ tuuman) kiintoavaimella ja varmista, että se pyörii esteettä.
-
Irrota hihna (Kuva 21).
-
Määritä haluttu leikkuuasetus ja siirrettävät hihnapyörät tarran taulukon (Kuva 22) avulla.
Note: Hihnapyörät on numeroitu (22, 24 ja 25). Siirrä hihnapyörät taulukossa osoitettuihin sijainteihin leikkuuasetuksen mukaan.

-
Löysää siirrettävien hihnapyörien kahta säätöruuvia kuusioavaimella.
-
Irrota hihnapyörät.
-
Asenna hihnapyörät uuteen asetukseen tarran mukaan (Kuva 22).
Note: Varmista, että hihapyörien säätöruuvit ovat kohdakkain kiilan ja akselin tasaisen alueen kanssa.
-
Kiristä säätöruuvit momenttiin 8,3–8,9 N·m.
-
Asenna hihna.
-
Varmista, että painejousi kiristää hihnaa (Kuva 21).
-
Kiristä laakeripesän mutteri.
-
Asenna hihnasuojus.
Leikkuutangon säätö
Säädä leikkuutanko seuraavasti, jotta leikkuujätteet poistuvat siististi kelan alueelta:
Note: Tankoa voidaan säätää vastaamaan nurmen olosuhteissa tapahtuvia muutoksia. Tanko on säädettävä lähemmäs kelaa, kun nurmi on erittäin kuivaa. Toisaalta tanko on säädettävä kauemmas kelasta, kun nurmi on märkää. Tangon on oltava yhdensuuntainen kelan kanssa, jotta lopputulos olisi paras mahdollinen. Säädä se, kun kela on teroitettu hiomalla.
-
Löysää ruuveja, jotka kiinnittää ylätangon leikkuuyksikköön (Kuva 23).

-
Aseta 1,5 mm:n rakotulkki kelan yläosan ja tangon väliin ja kiristä ruuvit.
Important: Varmista, että tangon ja kelan etäisyys pysyy samana koko kelan pituudelta.
Runkopalkin / kiinteän terän huolto
Vain asianmukaisesti koulutettu mekaanikko saa huoltaa runkopalkin ja kiinteän terän, jotta kela, runkopalkki tai kiinteä terä eivät vaurioidu. Huollata leikkuuyksikkö valtuutetulla Toro-jälleenmyyjällä. Kattavat ohjeet, erikoistyökalut ja kaaviot kiinteän terän huoltoon ovat ajoyksikön huolto-oppaassa. Jos runkopalkki täytyy irrottaa tai koota itse, katso alla olevat ohjeet ja tekniset tiedot kiinteän terän huoltoon.
Important: Noudata huolto-oppaan kiinteän terän huoltomenettelyä sitä huollettaessa. Jos kiinteää terää ei asenneta ja hiota oikein, kela, runkopalkki tai kiinteä terä saattavat vaurioitua.
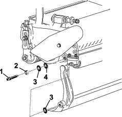
Runkopalkin irrotus
-
Käännä runkopalkin säätöruuvia vastapäivään, jotta kiinteä terä siirtyy etäämmälle kelasta (Kuva 24).

-
Löysää jousen kiristysmutteria, kunnes aluslaatta ei ole enää painunut runkopalkkia vasten (Kuva 24).
-
Löysää runkopalkin pultin lukkomutteria koneen molemmilta puolilta (Kuva 25).

-
Irrota jokainen runkopalkin pultti, jolloin runkopalkki voidaan vetää alas, ja irrota se koneen pultista (Kuva 25).
Ota talteen kaksi nailonista ja kaksi stanssattua teräsaluslaattaa runkopalkin kummastakin päästä (Kuva 26).

Runkopalkin kokoaminen
-
Asenna runkopalkki kohdistaen asennuskorvakkeet aluslaatan ja runkopalkin säätimen väliin.
-
Kiinnitä runkopalkki molempiin sivulevyihin runkopalkin pulteilla (pulteissa mutterit) ja neljällä aluslaatalla (kahdeksan yhteensä).
-
Aseta nailoninen aluslaatta sivulevyn keskiön kummallekin puolelle. Aseta teräksinen aluslaatta jokaisen nailonaluslaatan ulkopuolelle (Kuva 26).
-
Kiristä runkopalkin pultit momenttiin 27–36 N·m. Kiristä lukkomuttereita käsin, kunnes ulkopuolen teräksinen aluslaatta lakkaa pyörimästä ja päittäisvälys on saatu pois. Sisäpuolella olevissa aluslaatoissa saa olla rako.
Important: Älä kiristä lukkomuttereita liikaa, sillä muuten sivulevyt voivat taipua.
-
Kiristä jousen kiristysmutteria, kunnes jousi on painunut kokoon, ja löysää sitten mutteria puoli kierrosta (Kuva 27).

Kiinteän terän asennus
-
Poista ruoste, karsta ja korroosio runkopalkin pinnasta ja levitä ohut kerros öljyä runkopalkin pinnalle.
-
Puhdista ruuvikierteet.
-
Levitä ruuveihin lukkiintumisen estoainetta ja asenna kiinteä terä runkopalkkiin.

-
Kiristä kaksi ulompaa ruuvia momenttiin 1 N·m.
-
Aloita kiinteän terän keskeltä ja kiristä ruuvit momenttiin 23–28 N·m.

-
Hio kiinteä terä.
Kiinteän terän tiedot
Kiinteän terän hiomistiedot

| Vakiomallisen kiinteän terän takakulma | 3°minimi |
| Jatketun kiinteän terän takakulma | 7°minimi |
| Etukulman alue | 13–17° |
Kelan läppäys
Hengenvaara
Kelan tai muiden liikkuvien osien koskettaminen saattaa johtaa loukkaantumiseen.
Pidä sormet, kädet ja vaatteet etäällä keloista ja muista liikkuvista osista.
-
Pysy etäällä kelasta läppäyksen aikana.
-
Älä koskaan käytä läppäykseen lyhytvartista pensseliä. Kahvakokoonpanon osia saa ottamalla yhteyden valtuutettuun Toro-jälleenmyyjään.
Keloja voidaan läpätä joko jättämällä leikkuuyksikkö ajoyksikköön tai irrottamalla se ajoyksiköstä. Jos leikkuuyksikkö jätetään kiinni ajoyksikköön, pääkäytön ja leikkuuyksikön käyttölaitteen välinen kuusioliitin on siirrettävä irtikytkettyyn asentoon, jotta kelan jarru ei kuluisi liikaa.
-
Sijoita kone puhtaalle, tasaiselle alustalle.
-
Sammuta kone seuraavasti:
-
Bensiiniyksiköt: sammuta moottori ja irrota sytytystulpan johto.
-
Sähköyksiköt: katkaise koneesta virta ja irrota akun kytkentä (T-liitin).
-
-
Kytke seisontajarru.
-
Kytke läppäyskone leikkuuyksikköön liittämällä 1/2 tuuman kuusiokolo kelan hihnapyörän ulostuloakseliin leikkuuyksikön vasemmalla puolella.
Note: Lisäohjeita läppäyksestä ja siihen liittyvistä menettelyistä on Toro Sharpening Reel & Rotary Mowers -oppaassa (lomakenro 80-300PT).
Note: Saat paremman leikkuusärmän, jos pyyhkäiset kiinteän terän etusivua viilalla läppäyksen jälkeen. Tämä poistaa mahdolliset jäysteet ja särmät, joita on saattanut muodostua leikkuusärmään. Erittäin kevyt viilakosketus voi olla tarpeen yläreunassa, jotta jäyste saadaan kokonaan pois leikkuusärmästä.
Note: Jos leikkuuyksikkö jätettiin kiinni koneeseen läppäyksen ajaksi, kytke koneen akseli takaisin leikkuuyksikköön.


, joka tarkoittaa
varoitusta, vaaraa tai hengenvaaraa – henkilöturvallisuusohjeet.
Ohjeiden laiminlyönti saattaa johtaa henkilövahinkoon tai
kuolemaan.





