Údržba
Používanie stojana pri nakláňaní rezacej jednotky
Vždy keď musíte nakloniť rezaciu jednotku, aby ste odkryli nôž plošiny/kotúč, podoprite zadnú časť rezacej jednotky stojanom (dodáva sa s trakčnou jednotkou), aby ste zaručili, že sa matice na zadnej časti regulačných skrutiek tyče plošiny neopierajú o pracovný povrch (Obrázok 22).

Mazanie rezacích jednotiek
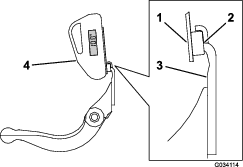
Pravidelne mažte 5 mazacích armatúr všetkých rezacích jednotiek (Obrázok 23) lítiovým mazivom č. 2.
Na prednom valci sú 2 mazacie body, na zadnom valci sú 2 a na drážkovom hriadeli motora kotúča je 1.
Note: Okamžité namazanie rezacích jednotiek po umytí pomáha zbaviť sa vody z ložísk a zvyšuje ich životnosť.
-
Každú mazaciu armatúru utrite čistou handrou.
-
Mazivo nanášajte dovtedy, kým z tesnení valca a poistného ventilu ložísk nezačne vytekať čisté mazivo.
-
Utrite všetko nadbytočné mazivo.

Podbrúsenie kotúča
Nový kotúč má šírku plochy 1,3 až 1,5 mm a uhol podbrúsenia 30°.
Ak je šírka plochy väčšia ako 3 mm, vykonajte tieto kroky:
-
Všetky čepele kotúča podbrusujte pod uhlom 30°, kým nebude šírka plochy 1,3 mm (Obrázok 24).

-
Pri ostrení kotúč otáčajte, aby ste dosiahli obrúsenie kotúča < 0,025 mm.
Note: Týmto spôsobom sa šírka plochy o niečo zväčší.
Note: Ak chcete predĺžiť životnosť naostrenej hrany kotúča a noža plošiny po naostrení, po pokosení 2 polí znova skontrolujte kontakt medzi kotúčom a nožom plošiny, či sa odstránili všetky drsné časti. Tie totiž môžu vytvárať nesprávnu vzdialenosť medzi kotúčom a nožom plošiny, čo môže urýchliť opotrebovanie.
Servis noža plošiny
Servisné limity noža plošiny sú uvedené v nasledujúcej tabuľke.
Important: Používanie rezacej jednotky s nožom plošiny mimo servisného limitu môže viesť k neuspokojivému vzhľadu trávnika po kosení a môže znížiť odolnosť štruktúry noža plošiny pri nárazoch.
| Tabuľka servisných limitov noža plošiny | ||||
| Nôž plošiny | Diel č. | Výška okraja noža plošiny* | Servisný limit* | Uhol podbrúseniaUhol zhora/spredu |
| Nízka výška kosenia (voliteľný) | 120-1641 (69 cm)120-1642 (81 cm) | 5,6 mm | 4,8 mm | 10/5° |
| EdgeMax® (voliteľný) | 112-8910 (69 cm)112-8956 (81 cm) | 6,9 mm | 4,8 mm | 10/5° |
| Štandard (výroba) | 114-9388 (69 cm)114-9389 (81 cm) | 6,9 mm | 4,8 mm | 10/5° |
| Vysokozáťažový (voliteľný) | 114-9390 (69 cm)114-9391 (81 cm) | 9,3 mm | 4,8 mm | 10/5° |

Note: Všetky rozmery servisného limitu noža plošiny sa vzťahujú na spodnú časť noža plošiny (Obrázok 26).

Kontrola uhla vrchného podbrúsenia
Uhol, pri ktorom ostríte nože plošiny, je veľmi dôležitý.
Na kontrolu uhla brúsky a následnú opravu akýchkoľvek nepresností pri ostrení používajte indikátor uhla (diel č. 131-6828 spoločnosti Toro) a držiak indikátora uhla (diel č. 131-6829 spoločnosti Toro).
-
Indikátor uhla umiestnite na spodnú časť noža plošiny, ako je znázornené na Obrázok 27.

-
Na indikátore uhla stlačte tlačidlo Alt+0.
-
Držiak indikátora uhla umiestnite na hranu noža plošiny tak, aby hrana magnetu lícovala s hranou noža plošiny (Obrázok 28).
Note: Digitálny displej by mal byť pri tomto kroku viditeľný z rovnakej strany ako pri kroku 1.

-
Indikátor uhla umiestnite na držiak, ako je znázornené na Obrázok 28.
Note: Tento uhol vytvára brúska a od odporúčaného uhla vrchného podbrúsenia by sa mal líšiť maximálne o 2 stupne.
Servis tyče plošiny
Demontáž tyče plošiny
-
Otočením regulačných skrutiek tyče plošiny proti smeru hodinových ručičiek odsuňte nôž plošiny smerom od kotúča (Obrázok 29).

-
Uvoľňujte napínaciu maticu pružiny, kým sa neuvoľní napnutie podložky na tyči plošiny (Obrázok 29).
-
Na oboch stranách stroja uvoľnite poistnú maticu zaisťujúcu skrutku tyče plošiny (Obrázok 30).

-
Odskrutkujte všetky skrutky tyče plošiny, aby ste mohli tyč plošiny stiahnuť nadol a demontovať ju zo skrutky stroja (Obrázok 30). Nastavte 2 nylonové a 1 lisovanú oceľovú podložku na oboch koncoch tyče plošiny (Obrázok 31).

Montáž tyče plošiny
-
Namontujte tyč plošiny tak, že umiestníte montážne ušká medzi podložku a nastavovací prvok tyče plošiny.
-
Tyč plošiny zaistite na oboch bočných doskách pomocou skrutiek tyče plošiny (matice na skrutkách) a 6 podložiek.
-
Na obe strany výčnelka bočnej dosky umiestnite nylonovú podložku.
-
Na obe nylonové podložky zvonka umiestnite oceľové podložky (Obrázok 31).
Note: Skrutky tyče plošiny utiahnite momentom 37 až 45 N∙m. Poistné matice uťahujte, kým sa vonkajšia oceľová podložka neprestane otáčať a neodstráni sa koncová vôľa, no neuťahujte ich nadmerne ani nevychyľujte bočné dosky. Podložky na vnútornej strane môžu mať medzeru.
-
Uťahujte napínaciu maticu pružiny, kým sa pružina nestiahne, potom ju otočte späť o ½ otočky (Obrázok 32).

Montáž noža plošiny
-
Odstráňte z povrchu tyče plošiny hrdzu a šupinky a naneste naň tenkú vrstvu oleja.
-
Dôkladne vyčistite závity skrutiek.
-
Na skrutky naneste prostriedok proti zachytávaniu a namontujte nôž plošiny na tyč plošiny týmto postupom (Obrázok 33):

-
Naostrite nôž plošiny.
Servis nastavovacích prvkov HD s dvoma bodmi (DPA)
-
Demontujte všetky časti (pozrite si pokyny na montáž súpravy HD DPA a Obrázok 35).
-
Na vnútornú časť objímky na strednom ráme rezacej jednotky naneste prostriedok proti zachytávaniu (Obrázok 35).
-
Kľúče na objímkach príruby zarovnajte s otvormi v ráme a namontujte objímky (Obrázok 35).
-
Na hriadeľ nastavovacieho nástoja nasaďte vlnitú podložku a hriadeľ nastavovacieho prvku zasuňte do objímok príruby v ráme rezacej jednotky (Obrázok 35).
-
Hriadeľ nastavovacieho nástroja zaistite rovnou podložkou a poistnou maticou (Obrázok 35).
-
Poistnú maticu utiahnite momentom 20 až 27 N∙m.
Note: Hriadeľ nastavovacieho nástroja tyče plošiny má ľavé závity.

-
Na závity skrutky nastavovacieho prvku tyče plošiny, ktorá sa zasúva do hriadeľa nastavovacieho prvku, naneste prostriedok proti zachytávaniu.
-
Skrutku nastavovacieho prvku tyče plošiny zaskrutkujte do hriadeľa nastavovacieho prvku.
-
Na skrutku nastavovacieho nástroja voľne nasaďte tvrdenú podložku, pružinu a napínaciu maticu pružiny.
-
Namontujte tyč plošiny tak, že umiestníte montážne ušká medzi podložku a nastavovací prvok tyče plošiny.
-
Tyč plošiny zaistite na oboch bočných doskách pomocou skrutiek tyče plošiny (matice na skrutkách) a 6 podložiek.
Note: Na obe strany výčnelka bočnej dosky umiestnite nylonovú podložku.
-
Na obe nylonové podložky zvonka umiestnite oceľové podložky (Obrázok 35).
-
Skrutky tyče plošiny utiahnite momentom 37 až 45 N∙m.
-
Poistné matice uťahujte, kým sa vonkajšia oceľová podložka neprestane otáčať a neodstráni sa koncová vôľa, no neuťahujte ich nadmerne ani nevychyľujte bočné dosky.
Note: Podložky na vnútornej strane môžu mať medzeru (Obrázok 35).
-
Uťahujte maticu na každej zostave nastavovacieho prvku tyče plošiny, kým sa kompresná pružina nestlačí, a potom maticu uvoľnite o ½ otočky (Obrázok 35).
-
Tento postup zopakujte na druhej strane rezacej jednotky.
-
Nastavte nôž plošiny na kotúči. Pozrite si časť Nastavenie noža plošiny na kotúči.
Servis valca
Na servis valca sú k dispozícii súprava na opravu valca (diel č. 114-5430) a súprava nástrojov na opravu valca (diel č. 115-0803) (Obrázok 36). Súprava na opravu valca zahŕňa všetky ložiská, matice ložísk, vnútorné a vonkajšie tesnenia na opravu valca. Súprava nástrojov na opravu valca zahŕňa všetky nástroje a pokyny na montáž potrebné na opravu valca pomocou súpravy na opravu valca. Pozrite si katalóg dielov alebo sa so žiadosťou o pomoc obráťte na autorizovaného distribútora spoločnosti Toro.



, ktorý znamená
Pozor, Výstraha alebo Nebezpečenstvo – osobné
bezpečnostné pokyny. Nedodržanie týchto
pokynov môže zapríčiniť zranenie
alebo smrť.



















