Maintenance
Note: Determine the left and right sides of the machine from the normal operating position.
Recommended Maintenance Schedule(s)
| Maintenance Service Interval | Maintenance Procedure |
|---|---|
| After the first 2 hours |
|
| After the first 10 hours |
|
| After the first 50 hours |
|
| Before each use or daily |
|
| Every 50 hours |
|
| Every 100 hours |
|
| Every 400 hours |
|
Greasing the Bearings and Bushings
| Maintenance Service Interval | Maintenance Procedure |
|---|---|
| Before each use or daily |
|
| Every 50 hours |
|
The machine has grease fittings that you must lubricate regularly with No. 2 lithium grease.
-
Park the machine on a level surface, lower the cutting unit, engage the parking brake, shut off the engine, and remove the key.
-
Lubricate the following areas:
Checking the Lubricant in the Gearbox
| Maintenance Service Interval | Maintenance Procedure |
|---|---|
| After the first 50 hours |
|
| Every 50 hours |
|
| Every 400 hours |
|
The gearbox in designed to operate on SAE 80-90 weight gear lube. Although the gearbox comes with lubricant from the factory, check the level before operating the cutting unit. The gearbox capacity is 283 ml (15 fl oz).
-
Park the machine on a level surface, lower the cutting unit, engage the parking brake, shut off the engine, and remove the key.
-
Remove the dipstick/fill plug from the top of the gearbox (Figure 17) and ensure that the lubricant is between the marks on the dipstick. If the lubricant level is low, add enough lubricant until the level is between the marks.

-
Install the dipstick and torque it to 9 N∙m (84 in-lbs).
Checking the Torque of the PTO Driveshaft-to-Gearbox Fasteners
| Maintenance Service Interval | Maintenance Procedure |
|---|---|
| After the first 10 hours |
|
| Every 100 hours |
|
Check the torque of the fasteners that secure the PTO driveshaft to the gearbox (Figure 18); refer to the setup section in your machine Operator’s Manual for the appropriate torque specification.

Removing the Cutting Unit from the Traction Unit
-
Park the machine on a level surface with the cutting unit raised.
-
Remove the height-of-cut pins (Figure 19) from the cutting-unit side plates.

-
Lower the cutting unit, engage the parking brake, shut off the engine, and remove the key.
-
Remove the bolts and washers that secure the lift arms to the castor arms.

-
Remove the bolts and nuts from the PTO shaft (Figure 21) and slide the yoke out of the gearbox.

Danger
If the engine is started and the PTO shaft is allowed to rotate, serious injury could result.
Do not start the engine and engage the PTO lever when the PTO shaft is not connected to the gearbox on the cutting unit.
Servicing the Bushings in the Castor Arms
The castor arms have bushings pressed into the top and bottom of the tube, and after many hours of operation, the bushings wear.
To check the bushings, move the castor fork back and forth and from side to side. If the castor spindle is loose inside the bushings, the bushings are worn; replace them.
-
Park the machine on a level surface, lower the cutting unit, engage the parking brake, shut off the engine, and remove the key.
-
Remove the tensioning cap, spacer(s), and thrust washer from the top of the castor spindle.
-
Pull the castor spindle out of the mounting tube. Allow the thrust washer and spacer(s) to remain on the bottom of the spindle.
-
Insert a pin punch into the top or bottom of the mounting tube and drive the bushing out of the tube (Figure 22). Also, drive the other bushing out of the tube. Clean the inside of the tubes to remove dirt.

-
Apply grease to the inside and outside of the new bushings. Use a hammer and flat plate to drive the bushings into the mounting tube.
-
Inspect the castor spindle for wear and replace it if damaged.
-
Push the castor spindle through the bushings and mounting tube, slide the thrust washer and spacer(s) onto the spindle, and install the tensioning cap on the castor spindle.
Servicing the Castor Wheels and Bearings
| Maintenance Service Interval | Maintenance Procedure |
|---|---|
| After the first 2 hours |
|
| After the first 10 hours |
|
| Every 50 hours |
|
-
Park the machine on a level surface, lower the cutting unit, engage the parking brake, shut off the engine, and remove the key.
-
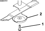
Remove the locknut from the bolt holding the castor wheel assembly between the castor fork (Figure 23). Grasp the castor wheel and slide the bolt out of the fork or pivot arm.
-
Remove the bearing from the wheel hub and allow the bearing spacer to fall out (Figure 23). Remove the bearing from the opposite side of the wheel hub.
-
Check the bearings, spacer, and inside of the wheel hub for wear. Replace any damaged parts.
-
To assemble the castor wheel, push the bearing into the wheel hub. When installing the bearings, press on the outer race of the bearing.

-
Slide the bearing spacer into the wheel hub. Push the other bearing into the open end of the wheel hub to captivate the bearing spacer inside the wheel hub.
-
Install the castor wheel assembly between the castor fork and secure it in place with the bolt and locknut.
Servicing the Cutting Blades
Blade Safety
A worn or damaged blade can break, and a piece of the blade could be thrown toward you or bystanders, resulting in serious personal injury or death.
-
Inspect the blade periodically for wear or damage.
-
Use care when checking the blades. Wrap the blades or wear gloves, and use caution when servicing the blades. Only replace or sharpen the blades; never straighten or weld them.
-
On multi-bladed machines, take care as rotating 1 blade can cause other blades to rotate.
Checking for a Bent Blade
After striking a foreign object, inspect the machine for damage and make repairs before starting and operating the equipment. Torque all of the spindle-pulley nuts to 176 to 203 N∙m (130 to 150 ft-lb).
-
Park the machine on a level surface, raise the cutting unit to the TRANSPORT position, engage the parking brake, shut off the engine, and remove the key.
-
Raise the cutting unit to the SERVICE position; refer to your traction unit Operator’s Manual.
-
Rotate the blade until the ends face forward and backward and measure from the inside of the cutting unit to the cutting edge at the front of the blade (Figure 24).
Note: Remember this dimension.

-
Rotate the opposite end of the blade forward and measure between the cutting unit and cutting edge of the blade at the same position as in step 3.
Note: The difference between the dimensions obtained in steps 3 and 4 must not exceed 3 mm (1/8 inch). If the dimension exceeds 3 mm (1/8 inch), the blade is bent and must be replaced; refer to Removing and Installing the Cutting-Unit Blade(s).
Removing and Installing the Cutting-Unit Blade(s)
Replace the blade if it hits a solid object, is out of balance, or is bent. Always use genuine Toro replacement blades to ensure safety and optimum performance.
-
Park the machine on a level surface, raise the cutting unit to the TRANSPORT position, engage the parking brake, shut off the engine, and remove the key.
-
Raise the cutting unit to the SERVICE position; refer to your traction unit Operator’s Manual.
-
Grasp the end of the blade using a rag or thickly-padded glove.
-
Remove the blade bolt, anti-scalp cup, and blade from the spindle shaft (Figure 25).

-
Install the blade, anti-scalp cup, and blade bolt and tighten the blade bolt to 115 to 149 N∙m (85 to 110 ft-lb).
Important: The curved part of the blade must be pointing toward the inside of the cutting unit to ensure proper cutting.
Note: After striking a foreign object, torque all spindle-pulley nuts to 115 to 149 N∙m (85 to 110 ft-lb).
Inspecting and Sharpening the Cutting Unit Blade(s)
Both cutting edges and the sail, which is the turned-up portion opposite of the cutting edge, contribute to a good quality of cut.
Maintain sharp blades throughout the cutting season. Sharp blades create a clean cut without tearing or shredding the grass blades.
Check the blades for any wear or damage. The sail lifts the grass up straight, thereby producing an even cut and gradually wears down during operation.
-
Park the machine on a level surface, raise the cutting unit to the TRANSPORT position, engage the parking brake, shut off the engine, and remove the key.
-
Raise the cutting unit to the SERVICE position; refer to your traction unit Operator’s Manual.
-
Examine the cutting ends of the blade carefully, especially where the flat and curved parts of the blade meet (Figure 26).
Note: Because sand and abrasive material can wear away the metal that connects the flat and curved parts of the blade, check the blade before using the mower. If you notice wear (Figure 26), replace the blade.

-
Examine the cutting edges of all of the blades and sharpen the cutting edges if they are dull or nicked (Figure 27).
Note: Sharpen only the top of the cutting edge and maintain the original cutting angle to ensure sharpness (Figure 27). The blade remains balanced if the same amount of metal is removed from both cutting edges.

Note: Remove the blades and sharpen them on a grinder. After sharpening the cutting edges, install the blade with the anti-scalp cup and blade bolt; refer to Inspecting and Sharpening the Cutting Unit Blade(s).
Checking and Correcting Mismatch of Blades
If there is mismatch between the blades, the grass will appear streaked when it is cut. This problem can be corrected by making sure that the blades are straight and all of the blades are cutting on the same plane.
-
Using a 1 m (3 ft) long carpenters level, find a level surface on the shop floor.
-
Raise the height-of-cut to the highest position; refer to Adjusting the Height of Cut.
-
Lower the cutting unit onto the flat surface. Remove the covers from the top of the cutting unit.
-
Rotate the blades until the ends face forward and backward. Measure from the floor to the front tip of the cutting edge. Remember this dimension. Then rotate the same blade so that the opposite end is forward, and measure again. The difference between the dimensions must not exceed 1m (3 ft). If the dimension exceeds 1m (3 ft), replace the blade because it is bent. Measure all of the blades.
-
Compare the measurements of the outer blades with the center blade. The center blade must not be more than 1m (3 ft) lower than the outer blades. If the center blade is more than 1m (3 ft) lower than the outer blades, proceed to step 6 and add shims between the spindle housing and the bottom of the cutting unit.
-
Remove the bolts, flat washers, lock washers, and nuts from the outer spindle in the area where the shims must be added. To raise or lower the blade, add a shim, Part No. 3256-24, between the spindle housing and the bottom of the cutting unit. Continue to check the alignment of the blades and add shims until the tips of the blades are within the required dimension.
Important: Do not use more than 3 shims at any 1 hole location. Use decreasing numbers of shims in adjacent holes if more than 1 shim is added to any 1 hole location.
-
Install the belt covers.
Replacing the Drive Belt
| Maintenance Service Interval | Maintenance Procedure |
|---|---|
| Every 50 hours |
|
The blade drive belt, tensioned by the spring-loaded idler pulley, is very durable. However, after many hours of use, the belt will show signs of wear. Signs of a worn belt are squealing when belt is rotating, blades slipping when cutting grass, frayed edges, burn marks, and cracks. Replace the belt if any of these conditions occur.
-
Park the machine on a level surface, lower the cutting unit, engage the parking brake, shut off the engine, and remove the key.
-
Remove the belt covers from the top of the cutting unit and set the covers aside.
-
Using a torque wrench or similar tool, move the idler pulley (Figure 28) away from the drive belt to release the belt tension and allow the belt to be slipped off the gearbox pulley.

-
Remove the old belt from around the spindle pulleys and idler pulley.
-
Using a torque wrench or similar tool to hold the idler pulley, route the new belt around the spindle pulleys and idler-pulley assembly as shown in Figure 29.

-
Install the belt covers.
Cleaning Under the Cutting Unit
| Maintenance Service Interval | Maintenance Procedure |
|---|---|
| Before each use or daily |
|
Remove the grass buildup under the cutting unit daily.
-
Park the machine on a level surface, raise the cutting unit to the TRANSPORT position, engage the parking brake, shut off the engine, and remove the key.
-
Raise the cutting unit to the SERVICE position; refer to your traction unit Operator’s Manual.
-
Thoroughly clean the underside of the cutting unit with water.


, which means Caution, Warning,
or Danger—personal safety instruction. Failure to comply with
these instructions may result in personal injury or death.




















