Техническое обслуживание
Note: Определите левую и правую стороны машины относительно места оператора.
Рекомендуемый график(и) технического обслуживания
| Периодичность технического обслуживания | Порядок технического обслуживания |
|---|---|
| Через первые 2 часа |
|
| Через первые 10 часа |
|
| Через первые 50 часа |
|
| Перед каждым использованием или ежедневно |
|
| Через каждые 50 часов |
|
| Через каждые 100 часов |
|
| Через каждые 400 часов |
|
Перечень операций ежедневного технического обслуживания
Скопируйте эту страницу для повседневного использования.
| Пункт проверки при техобслуживании | Дни недели: | ||||||
|---|---|---|---|---|---|---|---|
| Пн. | Вт. | Ср. | Чт. | Пт. | Сб. | Вс. | |
| Проверьте состояние ножей | |||||||
| Заправьте все масленки консистентной смазкой1 | |||||||
| Восстановите поврежденное лакокрасочное покрытие | |||||||
|
1. Незамедлительно после каждой мойки, независимо от указанного интервала. |
|||||||
| Отметки о проблемных зонах | ||
| Проверил: | ||
| Пункт | Дата | Информация |
Предостережение
Если вы оставите ключ в замке зажигания, кто-нибудь может случайно запустить двигатель и нанести серьезные травмы вам или окружающим.
Перед выполнением любого технического обслуживания вынимайте ключ из замка зажигания.
Смазка подшипников и втулок
| Периодичность технического обслуживания | Порядок технического обслуживания |
|---|---|
| Перед каждым использованием или ежедневно |
|
| Через каждые 50 часов |
|
На машине установлены пресс-масленки, которые должны регулярно заполняться консистентной смазкой № 2 на литиевой основе.
-
Припаркуйте машину на ровной горизонтальной поверхности, опустите режущий блок, включите стояночный тормоз, выключите двигатель и извлеките ключ.
-
Смажьте следующие зоны:
Проверка уровня масла в редукторе
| Периодичность технического обслуживания | Порядок технического обслуживания |
|---|---|
| Через первые 50 часа |
|
| Через каждые 50 часов |
|
| Через каждые 400 часов |
|
Редуктор рассчитан на эксплуатацию с трансмиссионным маслом SAE 80-90. Несмотря на то что редуктор поставляется с завода с маслом, проверьте его уровень перед эксплуатацией режущего блока. Заправочный объем масла в редукторе 283 мл.
-
Припаркуйте машину на ровной горизонтальной поверхности, опустите режущий блок, включите стояночный тормоз, заглушите двигатель и извлеките ключ.
-
Извлеките щуп/снимите пробку заливной горловины в верхней части редуктора (Рисунок 17) и убедитесь в том, что уровень масла находится между отметками на щупе. Если уровень масла низкий, долейте такое количество масла, чтобы его уровень располагался между отметками.

-
Вставьте масломерный щуп и затяните его с моментом 9 Н∙м.
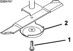
Проверка моментов затяжки деталей крепления приводного вала механизма отбора мощности к редуктору
| Периодичность технического обслуживания | Порядок технического обслуживания |
|---|---|
| Через первые 10 часа |
|
| Через каждые 100 часов |
|
Проверьте момент затяжки деталей крепления приводного вала механизма отбора мощности к редуктору (Рисунок 18); см. раздел «Настройка» в Руководстве оператора для вашей машины, в котором приведены соответствующие моменты затяжки.

Снятие режущего блока с тягового блока
-
Припаркуйте машину на ровной горизонтальной поверхности и поднимите режущий блок.
-
Снимите штифты высоты скашивания (Рисунок 19) с пластин режущего блока.

-
Опустите режущий блок, включите стояночный тормоз, выключите двигатель и извлеките ключ.
-
Отверните болты с шайбами, которые крепят подъемные рычаги к рычагам поворотных колес.

-
Выверните болты с гайками с вала отбора мощности (Рисунок 21) и снимите вилку с редуктора.

Опасно
Вращение вала отбора мощности после запуска двигателя может привести к серьезной травме.
Не запускайте двигатель и не включайте рычаг ВОМ, когда вал отбора мощности не подсоединен к редуктору на режущем блоке.
Техническое обслуживание втулок рычагов поворотных колес
В рычагах поворотных колес имеются втулки, запрессованные в верхней и нижней частях трубы, и после многих часов работы эти втулки изнашиваются.
Для проверки втулок поворачивайте вилку поворотного колеса вперед-назад и вправо-влево. Свободное перемещение шпинделя поворотного колеса внутри втулок свидетельствует о износе втулок; замените их.
-
Припаркуйте машину на ровной горизонтальной поверхности, опустите режущий блок, включите стояночный тормоз, выключите двигатель и извлеките ключ.
-
Снимите колпачковую гайку, проставку (проставки) и упорную шайбу с верха вала поворотного колеса.
-
Извлеките вал поворотного колеса из монтажной трубы. Упорную шайбу и проставки оставьте на нижней части вала.
-
Вставьте выколотку сверху или снизу монтажной трубы и выбейте втулку из трубы (Рисунок 22). Выбейте также из трубы другую втулку. Очистите от грязи внутреннюю поверхность трубы.

-
Нанесите консистентную смазку на внутренние и наружные поверхности новых втулок. С помощью молотка и плоской пластины забейте втулки в монтажную трубу.
-
Проверьте шпиндель поворотного колеса на наличие износа и замените, если он поврежден.
-
Проденьте шпиндель поворотного колеса через втулки и монтажную трубу, наденьте упорную шайбу и проставку (проставки) на шпиндель и установите колпачковую гайку на шпиндель поворотного колеса.
Техническое обслуживание поворотных колес и подшипников
| Периодичность технического обслуживания | Порядок технического обслуживания |
|---|---|
| Через первые 2 часа |
|
| Через первые 10 часа |
|
| Через каждые 50 часов |
|
-
Припаркуйте машину на ровной горизонтальной поверхности, опустите режущий блок, включите стояночный тормоз, выключите двигатель и извлеките ключ.
-
Удалите контргайку с болта, удерживающего узел поворотного колеса между вилкой поворотного колеса (Рисунок 23). Захватите поворотное колесо и выньте болт из вилки или поворотного рычага.
-
Извлеките подшипник из ступицы колеса и дайте выпасть проставке подшипников (Рисунок 23). Снимите подшипник с противоположной стороны ступицы колеса.
-
Проверьте на износ подшипники, проставку и внутреннюю поверхность ступицы колеса. Замените все поврежденные части.
-
Для сборки поворотного колеса вставьте подшипники в ступицу колеса. При установке подшипников нажимайте на наружное кольцо подшипника.

-
Вставьте проставку подшипников в ступицу колеса. Вставьте другой подшипник в открытый конец ступицы колеса до зажима проставки подшипников внутри ступицы колеса.
-
Установите узел поворотного колеса между вилкой колеса и закрепите его болтом и контргайкой.
Обслуживание режущих ножей
Правила техники безопасности при обращении с ножами
Износ или повреждение ножа может привести к его разрушению. Выброс фрагментов ножа в направлении оператора или находящихся поблизости людей может стать причиной серьезной травмы или гибели.
-
Периодически проверяйте ножи на наличие износа или повреждений.
-
При проверке ножей будьте внимательны. При техническом обслуживании ножей оберните их ветошью или наденьте перчатки и будьте внимательны. Выполняйте только замену или заточку ножей; никогда не выпрямляйте и не сваривайте их.
-
При использовании газонокосилок с несколькими ножами будьте осторожны, поскольку вращение одного ножа может привести к вращению других ножей.
Проверка на наличие погнутых ножей
После столкновения машины с посторонним предметом проверьте ее на отсутствие повреждений и при необходимости отремонтируйте машину перед повторным пуском и возобновлением эксплуатации. Затяните все гайки шкивов шпинделей с моментом от 176 до 203 Н∙м.
-
Припаркуйте машину на ровной горизонтальной поверхности, поднимите режущий блок в транспортное положение, включите стояночный тормоз, выключите двигатель и извлеките ключ.
-
Поднимите режущий блок в положение технического обслуживания; см. Руководство оператора для вашего тягового блока.
-
Поверните нож так, чтобы его концы были направлены вперед и назад, и измерьте расстояние между внутренней частью режущего блока и режущей кромкой в передней части ножа (Рисунок 24).
Note: Запомните этот размер.

-
Поверните вперед противоположный конец ножа и измерьте расстояние между режущим блоком и режущей кромкой ножа в том же положении, что на этапе 3.
Note: Разность между размерами, полученными на этапах 3 и 4, не должна превышать 3 мм. Если этот размер превышает 3 мм, нож погнут и его следует заменить; см. Демонтаж и установка ножа (ножей) режущего блока.
Демонтаж и установка ножа (ножей) режущего блока
Замените нож, если он ударился о твердый предмет, разбалансирован или погнут. Обязательно используйте оригинальные запасные ножи Toro, чтобы быть уверенным в их безопасности и оптимальных характеристиках.
-
Припаркуйте машину на ровной горизонтальной поверхности, поднимите режущий блок в транспортное положение, включите стояночный тормоз, выключите двигатель и извлеките ключ.
-
Поднимите режущий блок в положение технического обслуживания; см. Руководство оператора для вашего тягового блока.
-
Возьмитесь за конец ножа рукой в перчатке на толстой подкладке или через слой ветоши.
-
Снимите болт ножа, защитный колпак и нож с вала шпинделя (Рисунок 25).

-
Установите нож, защитный колпак и болт ножа, затяните болт ножа с моментом от 115 до 149 Н∙м.
Important: Для правильного скашивания криволинейная часть ножа должна быть направлена вперед и внутрь режущего блока.
Note: Если нож ударился об инородный предмет, затяните все гайки шкивов шпинделей с моментом от 115 до 149 Н∙м.
Проверка и заточка ножа (ножей) режущих блоков
И режущая кромка, и крыло, которое представляет собой отогнутую вверх часть, противоположную режущей кромке, имеют важное значение для качества скашивания.
Следите, чтобы ножи были острыми в течение всего сезона скашивания. Острые ножи могут обеспечить ровное срезание травы, без разрывов и измельчения.
Проверьте ножи на наличие износа или повреждений. Крыло имеет важное значение, потому что оно поднимает траву вверх, тем самым обеспечивая ровный срез, и при этом постепенно изнашивается в процессе работы.
-
Припаркуйте машину на ровной горизонтальной поверхности, поднимите режущий блок в транспортное положение, включите стояночный тормоз, выключите двигатель и извлеките ключ.
-
Поднимите режущий блок в положение технического обслуживания; см. Руководство оператора для вашего тягового блока.
-
Осторожно проверьте режущие кромки ножей, особенно в точке соединения плоской и изогнутой частей ножа (Рисунок 26).
Note: Так как песок и абразивные материалы могут вызвать износ металла, соединяющего плоскую и изогнутую части ножа, проверьте нож перед использованием газонокосилки. В случае обнаружения износа (Рисунок 26) замените нож.

-
Проверьте режущие кромки всех ножей и заточите их, если они затупились или имеют зазубрины (Рисунок 27).
Note: Чтобы ножи всегда оставались острыми, затачивайте только верхнюю сторону режущей кромки и сохраняйте первоначальный угол заточки (Рисунок 27). Балансировка ножа не нарушается, если с обеих режущих кромок удаляется одинаковое количество материала.

Note: Снимите ножи и заточите их на точильном станке. После заточки режущих кромок установите нож с защитным колпаком и болтом; см. Проверка и заточка ножа (ножей) режущих блоков.
Проверка и исправление рассогласования ножей
При рассогласовании между ножами на траве после скашивания будут видны полосы. Эту проблему можно устранить, убедившись в прямолинейности ножей и в том, что все ножи осуществляют скашивание в одной плоскости.
-
Используя длинный (1 м) плотницкий уровень, найдите на полу мастерской горизонтальный участок.
-
Поднимите высоту скашивания в наивысшее положение; см. Регулировка высоты скашивания.
-
Опустите режущий блок на плоскую поверхность. Снимите верхние крышки с режущих блоков.
-
Поворачивайте ножи до тех пор, пока их концы не будут направлены вперед и назад. Измерьте расстояние от пола до передней кромки ножа. Запомните этот размер. Затем поверните этот же нож так, чтобы вперед был направлен его противоположный конец, и снова произведите измерение. Разница между этими размерами не должна превышать 1 м. Если это значение превышает 1 м, замените нож, т.к. он погнут. Измерьте все ножи.
-
Сравните результаты измерения наружных ножей с результатом измерения среднего ножа. Средний нож должен быть не более чем на 1 м ниже наружных ножей. Если средний нож более чем на 1 м ниже наружных ножей, перейдите к пункту 6 и добавьте регулировочные прокладки между корпусом шпинделя и нижней частью режущего блока.
-
Отверните болты, снимите плоские шайбы, стопорные шайбы и гайки с наружного шпинделя в зоне, где необходимо добавить регулировочные прокладки. Чтобы поднять или опустить нож, добавьте регулировочную прокладку № по каталогу 3256-24 между корпусом шпинделя и нижней частью режущего блока. Продолжайте проверять выравнивание ножей и добавлять регулировочные прокладки, пока концы всех ножей не будут в пределах требуемых размеров.
Important: Не используйте более трех регулировочных прокладок в любом месте расположения отверстия. Если к какому-либо из отверстий нужно добавить более одной прокладки, уменьшите количество регулировочных прокладок в соседних отверстиях.
-
Установите крышки ремней.
Замена приводного ремня
| Периодичность технического обслуживания | Порядок технического обслуживания |
|---|---|
| Через каждые 50 часов |
|
Ремень привода ножей, натягиваемый подпружиненным натяжным роликом, очень прочный. Однако после многих часов эксплуатации на ремне появляются признаки износа. Признаки износа ремня: визг при вращении ремня, проскальзывание ножей во время скашивания, бахрома по краям, следы подгорания и трещины. Замените ремень при появлении любого из этих признаков.
-
Припаркуйте машину на ровной горизонтальной поверхности, опустите режущий блок, включите стояночный тормоз, выключите двигатель и извлеките ключ.
-
Снимите кожухи ремней с верхней стороны режущего блока и уложите их рядом.
-
Используя динамометрический ключ или аналогичный инструмент, отодвиньте натяжной ролик (Рисунок 28) от ремня привода, чтобы ослабить ремень и снять его со шкивов редуктора.

-
Снимите старый ремень со шкивов шпинделей и с натяжного ролика.
-
Удерживая натяжной ролик с помощью динамометрического ключа или аналогичного инструмента, проложите новый ремень вокруг шкивов шпинделей и натяжного ролика в сборе, как показано на Рисунок 29.

-
Установите крышки ремней.
Очистка пространства под режущим блоком
| Периодичность технического обслуживания | Порядок технического обслуживания |
|---|---|
| Перед каждым использованием или ежедневно |
|
Удаляйте скопления травы из пространства под режущим блоком ежедневно.
-
Припаркуйте машину на ровной горизонтальной поверхности, поднимите режущий блок в транспортное положение, включите стояночный тормоз, выключите двигатель и извлеките ключ.
-
Поднимите режущий блок в положение технического обслуживания; см. Руководство оператора для вашего тягового блока.
-
Тщательно промойте нижнюю сторону режущего блока водой.


, которые
имеют следующее
значение: «Осторожно!»,
«Предупреждение!»
или «Опасно!» —
указания по обеспечению
личной безопасности.
Несоблюдение данных
инструкций может
стать причиной
травмы или гибели.




















