Zaparkuj maszynę na równej powierzchni.
Zaciągnij hamulec postojowy.
Wyłącz silnik i wyjmij kluczyk ze stacyjki.
Odłącz akumulator; patrz odpowiedni rozdział w instrukcji obsługi.
Unieś platformę ładunkową do pozycji opróżniania i podeprzyj ją podpórką.
Części potrzebne do tej procedury:
| Przednia rura montażowa | 2 |
| Śruba z łbem kołnierzowym (5/16 x 3 cale) | 2 |
| Tuleja dystansowa (5/8 x 1 cal) | 2 |
| Nakrętka kołnierzowa (5/16 cala) | 4 |
| Śruba zamkowa (5/16 x 2 cale) | 2 |
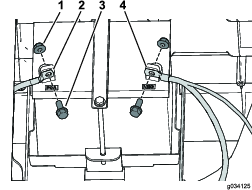
Luźno zamontuj 2 przednie rury montażowe wykorzystując 2 śruby z łbem kołnierzowym (5/16 x 3 cala), 2 tuleje dystansowe (5/8 x 1 cal), 4 nakrętki kołnierzowe (5/16 cala) i 2 śruby zamkowe (5/16 x 2 cala) w sposób przedstawiony na Rysunek 3.

Important: Przed wykonaniem tej procedury sprawdź, czy otwory do montażu już istnieją na maszynie. Jeśli nie, postępuj zgodnie z tą procedurą.
Note: Zachowaj wszystkie elementy mocujące usunięte podczas tej procedury.
Odkręć śrubę z łbem kołnierzowym mocującą zbiornik paliwa do płyty zbiornika (Rysunek 4).

Odkręć śruby mocujące dociskacz (Rysunek 4).
Odłącz od zbiornika przewód odpowietrzający i przewód paliwowy (Rysunek 4).
Note: Przygotuj się do wychwycenia i oczyszczania paliwa wyciekającego po odłączeniu przewodu paliwowego od zbiornika.
W niektórych warunkach paliwo jest niezwykle łatwopalne i wybuchowe. Zapłon lub wybuch paliwa może poparzyć operatora i osoby postronne oraz spowodować straty materialne.
Spuszczaj paliwo ze zbiornika, gdy silnik jest zimny. Czynność tę wykonuj na zewnątrz, na otwartej przestrzeni. Wytrzyj paliwo, które się rozlało.
Nie wolno palić podczas postępowania z paliwem. Należy również przebywać w bezpiecznej odległości od źródła otwartego ognia lub miejsc, w których opary mogą się zapalić od iskry.
Zdemontuj zbiornik paliwa z płyty.
Odkręć 2 śrub z łbem kołnierzowym mocujące płytę zbiornika do ramy (Rysunek 5).

Odkręć 4 śruby mocujące lewy panel boczny do dolnego zespołu fotela (Rysunek 6).

Odłącz ujemny (–) przewód od akumulatora, a następnie dodatni (+) przewód (Rysunek 7).

Odkręć 2 śrub z łbem kołnierzowym mocujące płytę akumulatora do ramy (Rysunek 8).

Odkręć 4 śruby mocujące prawy panel boczny do dolnego zespołu fotela (Rysunek 8).
Important: Przed wykonaniem tej procedury sprawdź, czy otwory do montażu już istnieją na maszynie. Jeśli nie, postępuj zgodnie z tą procedurą.
Note: Zachowaj wszystkie elementy mocujące usunięte podczas tej procedury.
Nawierć wspornik zgodnie z wymiarami przedstawionymi na Rysunek 11.
Przy wierceniu najwyższego otworu górnego dopilnuj, aby przewiercić na wylot zewnętrzny wspornik, rurę ramy i przegrodę ognioodporną.
Podczas wiercenia otworów w prawej stronie ramy na maszynie elektrycznej zachowaj ostrożność.
Wiercenie na zbyt dużą głębokość grozi uszkodzeniem akumulatorów lub innych elementów.

Zamocuj prawy panel z wykorzystaniem 4 śrub odkręconych wcześniej (Rysunek 8).
Zamocuj płytę akumulatora do ramy z wykorzystaniem 2 śrub z łbem kołnierzowym odkręconych wcześniej (Rysunek 8).
Zamocuj przewody akumulatora z wykorzystaniem 2 śrub i 2 nakrętek odkręconych wcześniej, a następnie podłącz zaciski akumulatora (Rysunek 7).
Zamocuj lewy panel z wykorzystaniem 4 śrub odkręconych wcześniej (Rysunek 6).
Zamocuj płytę zbiornika do ramy z wykorzystaniem 2 śrub z łbem kołnierzowym odkręconych wcześniej (Rysunek 5).
Ustaw zbiornik paliwa na płycie zbiornika.
Podłącz przewód paliwowy i przewód odpowietrzający do zbiornika paliwa (Rysunek 4).
Zamocuj dociskacz z wykorzystaniem śrub odkręconych wcześniej (Rysunek 4).
Zamocuj zbiornik paliwa na płycie zbiornika z wykorzystaniem śruby z łbem kołnierzowym wykręconej wcześniej (Rysunek 4).
Napełnij zbiornik paliwa, patrz Instrukcja obsługi.
Części potrzebne do tej procedury:
| Tylna rura montażowa | 2 |
| Wspornik montażowy rury | 1 |
| Śruba z łbem kołnierzowym (5/16 x 3 cale) | 2 |
| Nakrętka kołnierzowa (5/16 cala) | 2 |
| Śruba z łbem kołnierzowym (⅜ x 1-¾ cala) | 2 |
| Śruba z łbem kołnierzowym (⅜ x 3-½ cala) | 2 |
| Przeciwnakrętka (⅜ cala) | 4 |
| Uszczelka | 1 |
Luźno zamontuj 2 tylne rury montażowe wykorzystując 2 śruby z łbem kołnierzowym (⅜ x 3-½ cala), 2 śruby z łbem kołnierzowym (⅜ x 1-¾ cala) i 4 przeciwnakrętki (⅜ cala) w sposób przedstawiony na Rysunek 12.

Zamocuj wspornik montażowy rury do tylnych rur montażowych za pomocą 2 śrub z łbem kołnierzowym (5/16 x 3 cale) i 2 nakrętek kołnierzowych (5/16 cala) w sposób przedstawiony na Rysunek 13.
Zamontuj uszczelkę na wsporniku montażowym rury (Rysunek 13).

Dokręcić elementy mocujące zamontowane w kroku 1.
Dokręć przeciwnakrętkę 5/16 cala z momentem od 20 do 25 N∙m.
Dokręć elementy mocujące 3/8 cala z momentem od 37 do 45 N∙m.
Części potrzebne do tej procedury:
| Wspornik długiego daszku | 2 |
| Śruba z łbem sześciokątnym (5/16 x ¾ cala) | 8 |
| Uszczelka | 2 |
Części potrzebne do tej procedury:
| Daszek | 1 |
| Śruba z łbem kołnierzowym (¼ x 1-¾ cala) | 4 |
| Podkładka uszczelniająca | 4 |
| Przeciwnakrętka (¼ cala) | 4 |
Important: Jeżeli montujesz zestaw lusterek, zamontuj go przed zamontowaniem daszku.
Zamocuj daszek do przednich i tylnych rur montażowych z wykorzystaniem 4 śrub z łbem kołnierzowym (¼ x 1-¾ cala), 4 podkładek uszczelniających i 4 przeciwnakrętek (¼ cala) w sposób przedstawiony na Rysunek 15.

Części potrzebne do tej procedury:
| Wspornik daszku | 1 |
| Śruba z łbem kołnierzowym (¼ x 2-¼ cala) | 2 |
| Przeciwnakrętka (¼ cala) | 2 |
| Podkładka uszczelniająca | 2 |
| Uszczelka | 1 |
| Rozpórka(1/4 cala) | 2 |
Zamontuj uszczelkę na wsporniku montażowym rury (Rysunek 16).

Zamocuj wspornik daszku do przednich i tylnych rur wsporczych i daszku z wykorzystaniem 2 śrub z łbem kołnierzowym (¼ x 2-¼ cala), 2 rozpórek (¼ cala), 2 podkładek uszczelniających i 2 przeciwnakrętek (¼ cala) w sposób przedstawiony na Rysunek 17.

Części potrzebne do tej procedury:
| Rura wsporcza daszku | 1 |
| Przeciwnakrętka (¼ cala) | 6 |
| Podkładka uszczelniająca | 2 |
| Śruba kołnierzowa (¼ x 1-½ cala) | 2 |
| Podkładka piankowa | 1 |
| Śruba kołnierzowa (1/4 x 1¼ cala) | 4 |
Nałóż podkładkę piankową na rurę wsporczą daszku (Rysunek 18).

Zamocuj rurę wsporczą daszku do wsporników długiego daszku z wykorzystaniem 4 śrub z łbem kołnierzowym (¼ x 1-¼ cala) i 4 przeciwnakrętek (¼ cala) w sposób przedstawiony na Rysunek 19.

Wykorzystując rurę wsporczą jako szablon, wywierć w daszku 2 otwory (6 mm).
Zamocuj rurę wsporczą daszku do daszku z wykorzystaniem 2 śrub z łbem kołnierzowym (¼ x 1-¼ cala), 2 podkładek uszczelniających i 2 przeciwnakrętek (¼ cala) w sposób przedstawiony na Rysunek 20.
