유지보수
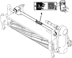
커팅 유닛 접근
릴 드라이브샤프트 윤활 개소 점검
베드나이프-릴 접촉 조정
베드나이프 일일 조정
매일, 또는 필요에 따라 예초를 하기 전에 베드나이프-릴 접촉이 적절한지 확인해야 합니다. 커팅 품질이 적절한 경우에도 이 절차를 수행하십시오.
Note: 트랙션 유닛에 장착된 커팅 유닛에 대해 이 절차를 수행할 수 있습니다.
-
트랙션 유닛을 끕니다.
-
커팅 유닛에 접근합니다. 커팅 유닛 접근을 참조하십시오.
-
릴을 천천히 반대 방향으로 돌리면서 릴-베드나이프 접촉면에서 나는 소리를 들어 봅니다.
-
접촉이 분명하지 않으면 다음과 같이 베드나이프를 조정합니다.
-
과도한 접촉/릴 끌림이 뚜렷하면 베드나이프를 이면 연마하거나 베드나이프 앞부분을 재처리하거나 커팅 유닛을 연마하여 절단면을 예리하게 만들어 정밀하게 커팅할 수 있도록 하십시오(Toro 연삭 릴 및 로타리 모어 설명서 양식 번호 09168SL을 참조하십시오).
Important: 항상 살짝 닿는 것이 바람직합니다. 살짝 닿는 상태로 유지하지 않으면 베드나이프/릴 절단면이 충분히 자가 연삭되지 않으므로, 일정 기간 작동한 후에 절단면이 무디어집니다. 지나치게 닿는 상태로 유지하면 베드나이프/릴 마모 속도가 빨라져 고르지 않게 마모가 되며, 커팅의 질에 나빠질 수 있습니다.
Note: eFlex 커팅 유닛에서 릴과 베드나이프 접촉은 에너지 소비에 상당한 영향을 미칩니다. 매우 가벼운 접촉이 최적의 커팅 성능과 배터리 소비를 위한 선택입니다.
Note: 릴 블레이드가 계속 베드나이프에 닿는 상태로 작동되므로 베드나이프의 전체 길이 방향으로 전방 절단면에 약간 거칠어진 부분이 나타납니다. 가끔 전방면을 따라 줄질을 해서 이러한 거칠어진 부분을 제거하여 커팅 품질을 개선하십시오.장기간 작동하면 결국 베드나이프의 양쪽 끝에 굴곡이 생깁니다. 이렇게 생긴 홈은 베드나이프의 절단면과 수평이 되도록 다듬거나 줄질을 해야 깔끔하게 작업할 수 있습니다.
-
연마, 이면 연마 또는 분해한 후 베드나이프 조정
커팅 유닛을 처음 설정하거나, 연마 작업, 백래핑, 릴 분해 작업 뒤에는 이 절차를 수행하십시오. 매일 실시할 필요는 없습니다.
Note: 트랙션 유닛에 장착된 커팅 유닛에 대해 이 절차를 수행할 수 있습니다.
Note: eFlex 커팅 유닛에서 릴과 베드나이프 접촉은 에너지 소비에 상당한 영향을 미칩니다. 매우 가벼운 접촉이 최적의 커팅 성능과 배터리 소비를 위한 선택입니다.
-
트랙션 유닛을 끕니다.
-
커팅 유닛에 접근합니다. 커팅 유닛 접근을 참조하십시오.
-
릴을 돌려서 블레이드 중 하나가 커팅 유닛 오른쪽에 있는 첫 번째 베드나이프 나사 헤드와 두 번째 베드나이프 나사 헤드 사이의 베드나이프 가장자리와 교차하게 합니다.
-
블레이드에 베드나이프 가장자리가 통과하는 곳을 식별 표시합니다.
Note: 나중에 조정 작업이 수월해 집니다.
-
4 단계에서 표시된 블레이드와 베드나이프 가장자리 사이의 지점에 0.05 mm 심을 삽입합니다.
-
심을 옆으로 밀면 약간의 압력이 느껴질 때까지 오른쪽 베드바 조정 나사(그림 8)를 돌립니다. 심을 뺍니다.
-
커팅 유닛의 왼쪽의 경우, 릴을 천천히 돌려서 가장 가까운 블레이드가 첫 번째 나사 헤드와 두 번째 나사 헤드 사이의 베드나이프 가장자리와 교차하게 합니다.
-
커팅 유닛의 왼쪽과 왼쪽 베드바 조정 나사에 대해 4~6 단계를 반복합니다.
-
커팅 유닛의 왼쪽과 오른쪽의 접촉점에서 가벼운 압력이 느껴질 때까지 5 및 6 단계를 반복합니다.
-
릴과 베드나이프이 서로 살짝 닿도록, 각 베드바 조정 나사를 시계 방향으로 3 눈금 돌립니다.
Note: 베드바 조정 나사를 한 눈금 돌리면 베드나이프는 0.018 mm 움직입니다. 조정 나사를 지나치게 조이지 마십시오.조정 나사를 시계 방향으로 돌리면 베드나이프 날이 릴에 가깝게 이동합니다. 조정 나사를 시계 반대 방향으로 돌리면 베드나이프 날이 릴에서 멀어집니다.
-
베드나이프에 수직 방향으로 릴과 베드나이프 사이로 커팅 성능 검사용 종이 띠(Toro 부품 번호 125- 5610)를 삽입합니다(그림 9). 그 다음 릴을 진행 방향으로 천천히 돌리면 종이가 잘려야 합니다. 그렇지 않으면 종이가 잘릴 때까지 각 베드바 조정 나사를 시계 방향으로 한 눈금씩 돌리고 이 단계를 반복하십시오.

Note: 과도한 접촉 또는 릴 끌림이 뚜렷하면 베드나이프를 이면 연마하거나 베드나이프 앞부분을 재처리하거나 커팅 유닛을 연마하여 절단면을 예리하게 만들어 정밀하게 커팅할 수 있도록 하십시오(Toro 연삭 릴 및 로타리 모어 설명서 양식 번호 09168SL을 참조하십시오).
커팅 유닛을 잔디 상태에 맞게 설정
잔디 상태에 적합한 적절한 베드나이프를 결정할 때 다음 표를 사용하십시오. Toro 공식 판매 대리점에 문의하여 추가 베드나이프 및 롤러를 구입하십시오.
잔디 상태에 적합한 클립 속도를 설정하려면 클립 속도 조정을 참조하십시오.
| 권장 베드나이프/예고 차트 | |
| 베드나이프 | 커팅 높이 |
| Edgemax 마이크로 컷(표준) | 1.5~4.7 mm |
| Edgemax 토너먼트(옵션) | 3.1~12.7 mm |
| 마이크로 컷(옵션) | 1.5~4.7 mm |
| 토너먼트(옵션) | 3.1~12.7 mm |
| 확장형 마이크로 컷(옵션) | 1.5~4.7 mm |
| 확장형 토너먼트(옵션) | 3.1~12.7 mm |
| 로우 컷(옵션) | 4.7~25.4 mm |
예고 조정 점검
예고 게이지를 사용하여 원하는 높이로 예고를 설정하고 커팅 유닛에 원하는 예고에 적합한 베드나이프가 장착되었는지 확인합니다. 커팅 유닛을 잔디 상태에 맞게 설정을 참조하십시오.
후방 롤러 높이 조정
원하는 예고 범위에 따라 후방 롤러 브래킷(그림 10 또는 그림 11)을 낮은 위치 또는 높은 위치로 조정하십시오.
-
그림 10에 표시된 바와 같이 예고 설정 범위가 1.5 mm~6 mm 사이인 경우 측면 플레이트 마운팅 플랜지 위에 스페이서를 놓습니다.

-
그림 11에 표시된 바와 같이 예고 설정 범위가 3 mm~25 mm 사이인 경우 측면 플레이트 마운팅 플랜지 아래에 스페이서를 놓습니다.

-
커팅 유닛의 뒷면을 올리고 베드나이프 밑에 블록을 넣습니다.
-
각 롤러 브래킷과 스페이서를 각 측면 플레이트 마운팅 플랜지에 고정하는 2개의 너트를 뺍니다.
-
측면 플레이트 마운팅 플랜지와 스페이서에서 롤러와 나사를 아래로 내립니다.
-
앞에서 빼둔 너트를 사용하여 롤러 브래킷과 스페이서를 마운팅 플랜지의 밑면에 고정합니다.
-
베드나이프와 릴이 올바르게 접촉되었는지 확인합니다. 모어를 기울여 전방/후방 롤러와 베드나이프가 드러나게 합니다.
Note: 릴을 기준으로 한 후방 롤러의 위치는 조립된 구성 요소의 가공 오차에 따라 조절됩니다. 평평한 플레이트에 커팅 유닛을 놓고 측면 플레이트 마운팅 볼트를 늦추면 제한적 조정을 할 수 있습니다(그림 12). 종료되면 볼트를 조정하고 조입니다.

Important: 베드나이프/릴을 드러내기 위해 커팅 유닛을 기울여야 할 때마다 커팅 유닛 뒤쪽을 받쳐 베드바 조정 나사 후미의 너트가 작업대 표면에 닿지 않게 하십시오(그림 4).
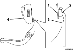
예고 게이지 조정
예고를 조정하기 전에 다음과 같이 예고 게이지를 조정하십시오.
-
게이지 바의 너트를 풀고 조정 나사를 원하는 예고로 설정합니다(그림 13).
Note: 나사 머리 아랫면과 바 표면 사이의 거리가 예고입니다.

-
너트를 조입니다.
예고 조정
본 커팅 유닛은 Edgemax 마이크로 컷 베드나이프 및 표준 베드바가 함께 제공됩니다. 효과적인 예고는 이전 모어 구성 및 잔디 상태에 따라 달라집니다(즉, 롤러 유형, 중앙 뒤쪽 베드나이프의 간격, 그린의 거친 정도, 계절 환경). 초기 예고를 이전 그린모어 설정보다 0.25 mm~0.38 mm 높게 설정하고 작업 조건에 따라 조정하십시오.
Note: 예고가 13 mm 이상인 경우 고예고 키트를 장착해야 합니다.
커팅 유닛을 잔디 상태에 맞게 설정을 참조하여 원하는 예고에 가장 적합한 베드나이프가 어느 것인지 판단하십시오.
-
예고 암을 커팅 유닛 측면 플레이트에 고정하는 록너트를 풉니다(그림 14).

-
예고 게이지의 나사 머리를 베드나이프의 절단면 우측에 걸고 바의 뒤쪽 끝은 후방 롤러에 걸칩니다(그림 15).

-
롤러가 게이지 바 앞부분과 닿을 때까지 조정 나사를 돌립니다.
-
왼쪽에 대해 2에서 단계를 반복합니다.
-
롤러 전체가 베드나이프와 평행이 되도록 롤러의 양끝을 조정합니다.
Important: 제대로 설정하면 후방 롤러와 전방 롤러가 게이지 바에 닿게 되고 나사가 베드나이프에 딱 맞게 고정됩니다. 그러면 베드나이프 양쪽 끝의 예고가 같아집니다.
-
와셔에 유격이 생기지 않도록 예고 암의 록너트를 충분히 조여 조정값을 고정하십시오.
-
예고 설정이 올바른지 확인합니다. 필요 시 절차를 반복하십시오.
클립 속도 조정
다음과 같은 장비 설정을 통해 클립 속도를 결정합니다.
-
릴 속도: 릴 속도를 고속 또는 저속 설정으로 조정할 수 있습니다. 트랙션 유닛의 사용 설명서를 참조하십시오.
-
릴 드라이브 풀리 위치: 릴 드라이브 풀리(22 톱니 및 24 톱니)를 2가지 위치로 설정할 수 있습니다.
Note: 공장 출하 시 풀리 위치는 LOW(저속) 위치로 설정되어 있습니다.

풀리 위치를 조정하려면 다음 절차를 참조하십시오.
차단 바 조정
예지물이 릴 영역에서 깔끔하게 배출되도록 다음과 같이 차단 바를 조정합니다.
Note: 바는 잔디 상태에 맞추어 조정할 수 있습니다. 잔디에 매우 건조한 경우 바를 릴에 가깝게 조정하십시오. 반대로 잔디가 물기가 많은 경우에는 바를 릴에서 떨어지게 조정하십시오. 바가 릴과 평행이 되어야 가장 좋은 결과가 나옵니다. 릴 연마기로 릴을 연마한 다음 조정합니다.
-
상단 바(그림 19)를 커팅 유닛에 고정하는 나사를 풉니다.

-
릴 상단과 바 사이에 1.5 mm의 틈새 게이지를 삽입하고 나사를 조입니다.
Important: 릴 전체에 걸쳐 바와 릴 사이의 거리가 동일한지 확인합니다.
베드바 정비
릴, 베드바 또는 베드나이프의 손상을 방지하기 위해 적절하게 훈련받은 기술자만이 베드바와 베드나이프를 정비해야 합니다. Toro 지정 판매 대리점에 커팅 유닛 정비를 의뢰하는 것이 좋습니다. 베드나이프 정비에 대한 완전한 지침, 특수 공구 및 그림은 트랙션 유닛의 정비 설명서를 참조하십시오. 스스로 베드바를 분리하거나 조립해야 한다면, 베드나이프 정비 사양을 따르는 지침은 아래와 같습니다.
Important: 베드나이프를 정비할 때 항상 정비 설명서에 명시된 베드나이프 절차를 준수하십시오. 베드나이프를 올바르게 설치 및 연마하지 않으면 릴, 베드바 또는 베드나이프가 손상될 수 있습니다.
베드바 분리
베드바 설치
-
와셔와 베드바 조정 나사 사이에서 마운팅 이어의 위치를 맞추면서 베드바를 설치합니다(그림 20).
-
베드바 볼트(볼트의 너트)와 3개의 와셔(총 6개)를 사용하여 각 측면 플레이트에 베드바를 고정시킵니다.
-
나일론 와셔를 측면 플레이트 보스 양쪽에 배치합니다. 각 나일론 와셔 바깥쪽에 스틸 와셔를 놓습니다(그림 21).
-
27~36 N∙m 토크로 베드바 볼트를 조입니다.
-
스틸 와셔를 손으로 돌릴 수 있을 정도로 스틸 와셔의 유격이 제거될 때까지 록너트를 조입니다. 안쪽 와셔에는 빈틈을 둘 수 있습니다.
Important: 베드나이프를 릴에 지나치게 조이지 마십시오. 그렇게 하면 측면 플레이트가 굴절됩니다.
-
스프링이 완전히 압축될 때까지 스프링 장력 너트를 조인 다음 다시 반 바퀴 정도 풉니다(그림 22).

-
릴에 맞춰 베드나이프를 조정합니다. 연마, 이면 연마 또는 분해한 후 베드나이프 조정를 참조하십시오.
베드나이프 정비
베드나이프 장착
-
베드바 표면에서 녹, 스케일, 부식 등을 제거하고 베드바 표면에 오일을 얇게 한 겹 바릅니다.
-
나사산을 청소합니다.
-
나사에 고착 방지제를 바르고 베드바에 베드나이프를 장착합니다.

-
바깥쪽 나사 2개를 1 N∙m 토크로 조입니다.
-
베드나이프의 가운데에서부터 작업하면서, 나사를 23~28 N∙m 토크로 조입니다.

-
베드나이프를 연마합니다.
릴 연마 준비
-
연마하기 전에 모든 커팅 유닛 부품이 양호한 상태이며 문제가 없는지 확인하십시오.
-
릴 연마기 제조자의 지침에 따라 다음 규격을 참조하여 커팅 릴을 연마합니다.
릴 연마 규격 새로운 릴 지름 128.5 mm 릴 지름 정비 한계값 114.3 mm 블레이드 릴리프 각도 30° ± 5° 블레이드 랜드 폭 1.0 mm 블레이드 랜드 폭 범위 0.76~1.27 mm 릴 지름 테이퍼 정비 한계값 0.25 mm
릴 릴리프 연마
새 릴의 랜드 폭은 0.76~1.27 mm이며 릴리프 그라인드 각도는 30°입니다.
랜드 폭이 3 mm 이상이 되면, 다음과 같이 하십시오.
-
랜드 폭이 1.3 mm가 될 때까지 모든 릴 블레이드에 대해 30° 릴리프 연마를 적용합니다(그림 25).

-
릴 런아웃이 0.025 mm 이하가 되도록 릴을 회전 연마합니다.
Note: 이렇게 하면 랜드 폭이 약간 증가합니다.
-
커팅 유닛을 조정합니다. 커팅 유닛 사용 설명서를 참조하십시오.
Note: 릴 및/또는 베드나이프를 연마한 후 릴의 날과 베드나이프의 날카로움을 오래 유지하려면 2개의 그린을 예초한 다음 릴과 베드나이프의 접촉을 다시 점검하십시오. 돌기가 제거되어 있는지 점검하십시오. 돌기는 릴과 베드나이프의 간격이 부적절해지게 하여 마모를 가속화할 수 있습니다.
베드나이프 연마 규격

| 표준 베드나이프 릴리프 각도 | 최소 3° |
| 확장형 베드나이프 릴리프 각도 | 최소 7° |
| 전면 각도 범위 | 13°~17° |
상단 연마 각도 점검
베드나이프를 연마하는 데 사용하는 각도는 매우 중요합니다.
각도 표시기(Toro 부품 번호 131-6828) 및 각도 표시기 마운트(Toro 부품 번호 131-6829)를 사용하여 연마기에서 만들어지는 각도를 확인한 다음 연마기가 부정확하면 교정하십시오.
커팅 유닛 백래핑
커팅 유닛을 이면 연마하려면 액세스 이면 연마 키트(모델 번호 139-4342)를 사용하십시오. 키트 설치 지침의 사용 설명서를 참조하십시오. 이 키트를 구입하려면 Toro 공식 판매 대리점에 문의하십시오.


에 항상 주의를 기울이십시오. 이 지침을 따르지
않을 경우 사람이 다치거나 사망하는 사고가 발생할 수 있습니다.













