Údržba
Prístup k rezacej jednotke
Prístup k nožu plošiny a kotúču pri údržbe získate takto:
-
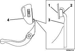
Demontujte rezaciu jednotku zo stroja, podoprite zadnú časť rezacej jednotky a dbajte na to, aby matice na nastavovacích skrutkách na zadnom konci tyče plošiny neboli umiestnené na pracovnom povrchu (Obrázok 4).

-
Po pripevnení rezacej jednotky k stroju spustite rukoväť trakčnej jednotky na zem (Obrázok 5).

Kontrola mazacieho bodu hnacieho hriadeľa kotúča
| Servisný interval | Postup pri údržbe |
|---|---|
| Každý rok |
|
-
Demontujte hardvér, ktorý zaisťuje zostavu pohonu kotúča na bočnej doske (Obrázok 6).

-
Demontujte matice z vnútornej strany bočnej dosky (Obrázok 6).
-
Skontrolujte, či vnútri hnacieho hriadeľa kotúča (Obrázok 7) zostalo mazivo.
Ak nevidíte dostatočné množstvo maziva, doplňte ho na oboch koncoch drážkového hriadeľa.

-
Pomocou predtým demontovaných inbusových skrutiek a matíc zaistite zostavu pohonu kotúča na bočnej doske.
-
Namontujte rezaciu jednotku na trakčnú jednotku. Pozrite si používateľskú príručku k trakčnej jednotke.
Nastavenie kontaktu medzi nožom plošiny a kotúčom
Denné nastavenie noža plošiny
Pred každodenným kosením alebo podľa potreby skontrolujte správny kontakt medzi nožom plošiny a kotúčom. Tento postup vykonajte aj vtedy, ak je kvalita kosenia prijateľná.
Note: Tento postup možno vykonať s rezacou jednotkou namontovanou na trakčnej jednotke.
-
Vypnite trakčnú jednotku.
-
Otvorte rezaciu jednotku. Pozrite si časť Prístup k rezacej jednotke.
-
Pomaly otáčajte kotúčom dozadu a počúvajte, či je medzi kotúčom a nožom plošiny kontakt.
-
Ak je kontakt zjavný, nastavte nôž plošiny takto:
-
Postupne po jednotlivých kliknutiach otáčajte regulačné skrutky tyče plošiny v smere hodinových ručičiek (Obrázok 8), kým nepocítite a nezačujete ľahký kontakt.
Note: Regulačné skrutky tyče plošiny majú západky zodpovedajúce 0,018 mm pohybu noža plošiny pre každú indexovanú polohu.

-
Zasuňte dlhý pásik papiera na overenie výsledku kosenia (diel č. 125-5610 spoločnosti Toro) medzi kotúč a nôž plošiny, kolmo na nôž plošiny (Obrázok 9). Potom pomaly otáčajte kotúč dopredu. Mal by rozrezať papier. Ak ho nerozreže, zopakujte kroky 1 až 2, kým sa to nepodarí.
-
-
Ak spozorujete nadmerný kontakt/zadrhávanie kotúča, naostrite a prebrúste prednú časť noža plošiny alebo nabrúste rezaciu jednotku, aby ste dosiahli ostré hrany potrebné na presné kosenie (pozrite si príručku spoločnosti Toro k ostreniu kotúča a rotačných kosačiek, formulár č. 09168SL).
Important: Vždy sa preferuje ľahký kontakt. Ak nezaručíte ľahký kontakt, okraje noža plošiny/kotúča sa nebudú dostatočne automaticky brúsiť a po chvíli prevádzky sa rezné hrany otupia. Ak vytvoríte nadmerný kontakt, opotrebovanie noža plošiny/kotúča sa urýchli, čo môže viesť k nerovnomernému opotrebovaniu a zníženiu kvality kosenia.
Note: V prípade rezacích jednotiek eFlex má kontakt medzi kotúčom a nožom plošiny výrazný vplyv na spotrebu energie. Veľmi ľahký kontakt je najvhodnejší z hľadiska výkonu pri kosení a spotreby energie z batérie.
Note: Pri trení čepelí kotúča s nožom plošiny vznikne na prednom povrchu rezacej hrany po celej dĺžke noža plošiny zľahka drsný okraj. Prednú hranu z času na čas prebrúste pilníkom, čím odstránite drsnosť okraja a zlepší sa kvalita kosenia.Po dlhodobejšej prevádzke sa na oboch koncoch noža plošiny vytvorí zvlnená hrana. Tieto výstupky zbrúste alebo ich opracujte pilníkom zarovno reznou hranou noža plošiny, aby ste zaručili hladkú prevádzku.
-
Nastavenie noža plošiny po frézovaní, ostrení či demontáži
Tento postup využite pri úvodnom nastavení rezacej jednotky a po frézovaní, ostrení či demontáži kotúča. Toto nastavenie sa nerobí každý deň.
Note: Tento postup možno vykonať s rezacou jednotkou namontovanou na trakčnej jednotke.
Note: V prípade rezacích jednotiek eFlex má kontakt medzi kotúčom a nožom plošiny výrazný vplyv na spotrebu energie. Veľmi ľahký kontakt je najvhodnejší z hľadiska výkonu pri kosení a spotreby energie z batérie.
-
Vypnite trakčnú jednotku.
-
Otvorte rezaciu jednotku. Pozrite si časť Prístup k rezacej jednotke.
-
Kotúč otočte tak, aby 1 z čepelí križovala hranu noža plošiny medzi hlavou prvej a druhej skrutky noža plošiny na pravej strane rezacej jednotky.
-
Na mieste, kde čepeľ križuje hranu noža plošiny, urobte značku.
Note: Neskôr vám to uľahčí nastavovanie.
-
Medzi čepeľ a hranu noža plošiny zasuňte 0,05 mm vložku, a to v bode označenom v kroku 4.
-
Otáčajte pravú regulačnú skrutku tyče plošiny (Obrázok 8), kým nebudete pri posúvaní vložky zo strany na stranu cítiť ľahký tlak na vložku. Vyberte vložku.
-
Na ľavej strane rezacej jednotky pomaly otočte kotúč tak, aby najbližšia čepeľ križovala hranu noža plošiny medzi hlavou prvej a druhej skrutky.
-
Zopakujte kroky 4 až 6 na ľavej strane rezacej jednotky a s ľavou regulačnou skrutkou tyče plošiny.
-
Kroky 5 až 6 opakujte dovtedy, kým nebude na ľavej aj pravej strane rezacej jednotky vyvinutý ľahký tlak na kontaktné body.
-
Ľahký kontakt medzi kotúčom a nožom plošiny dosiahnete otočením každej regulačnej skrutky tyče plošiny o 3 kliknutia v smere hodinových ručičiek.
Note: Každé kliknutie regulačnej skrutky tyče plošiny posunie nôž plošiny o 0,018 mm. Neuťahujte nadmerne regulačné skrutky.Otočením regulačnej skrutky v smere hodinových ručičiek posunie hranu noža plošiny bližšie ku kotúču. Otočením regulačnej skrutky proti smeru hodinových ručičiek posunie hranu noža plošiny smerom od kotúča.
-
Zasuňte dlhý pásik papiera na overenie výsledku kosenia (diel č. 125-5610 spoločnosti Toro) medzi kotúč a nôž plošiny, kolmo na nôž plošiny (Obrázok 9). Potom pomaly otáčajte kotúč dopredu. Mal by rozrezať papier. Ak ho nerozreže, otočte každú regulačnú skrutku tyče plošiny o 1 klik v smere hodinových ručičiek a zopakujte tento krok, kým sa to nepodarí.

Note: Ak spozorujete nadmerný kontakt alebo zadrhávanie kotúča, naostrite a prebrúste prednú časť noža plošiny alebo nabrúste rezaciu jednotku, aby ste dosiahli ostré hrany potrebné na presné kosenie (pozrite si príručku spoločnosti Toro k ostreniu kotúča a rotačných kosačiek, formulár č. 09168SL).
Nastavenie rezacej jednotky podľa stavu trávnika
Na určenie vhodného noža plošiny potrebného pre daný stav trávnika použite nasledujúcu tabuľku. O ďalšie nože plošiny a kotúče požiadajte autorizovaného distribútora spoločnosti Toro.
Pokyny na nastavenie vhodnej rýchlosti kosenia podľa stavu trávnika nájdete v časti Nastavenie rýchlosti kosenia.
| Tabuľka odporúčaného noža plošiny/výšky kosenia | |
| Nôž plošiny | Výška kosenia |
| Edgemax Micro-cut (štandard) | 1,5 až 4,7 mm |
| Edgemax Tournament (voliteľné) | 3,1 až 12,7 mm |
| Micro-cut (voliteľné) | 1,5 až 4,7 mm |
| Tournament (voliteľné) | 3,1 až 12,7 mm |
| Extended Micro-cut (voliteľné) | 1,5 až 4,7 mm |
| Extended Tournament (voliteľné) | 3,1 až 12,7 mm |
| Low-cut (voliteľné) | 4,7 až 25,4 mm |
Nastavenie výšky kosenia
Požadovanú výšku kosenia nastavte pomocou ukazovateľa výšky kosenia a dbajte na to, aby bola rezacia jednotka vybavená nožom plošiny, ktorý sa najlepšie hodí pre požadovanú výšku kosenia. Pozrite si časť Nastavenie rezacej jednotky podľa stavu trávnika.
Nastavenie výšky zadného valca
V závislosti od požadovaného rozsahu výšky kosenia nastavte konzoly zadného valca (Obrázok 10 alebo Obrázok 11) do nízkej alebo vysokej polohy:
-
Keď je rozsah výšky kosenia nastavený na 1,5 mm až 6 mm, umiestnite rozperu nad montážnu prírubu bočnej dosky (výrobné nastavenie), ako je znázornené na Obrázok 10.

-
Keď je rozsah výšky kosenia nastavený na 3 mm až 25 mm, umiestnite rozperu pod montážnu prírubu bočnej dosky, ako je znázornené na Obrázok 11.

-
Zdvihnite zadnú časť rezacej jednotky a pod nôž plošiny umiestnite blok.
-
Odmontujte dve matice, ktorými sú jednotlivé konzoly valca a rozpery pripevnené k jednotlivým montážnym prírubám bočnej dosky.
-
Spustite valec a skrutky z montážnych prírub bočnej dosky a rozpier.
-
Rozpery podľa potreby umiestnite na skrutky nad alebo pod konzoly valca (Obrázok 10 alebo Obrázok 11).
-
Pomocou matíc, ktoré ste predtým demontovali, pripevnite konzolu valca a rozpery k spodnej strane montážnych prírub.
-
Overte, či je správny kontakt medzi nožom plošiny a kotúčom. Nakloňte kosačku a odkryte predný a zadný valec a nôž plošiny.
Note: Polohu zadného valca vzhľadom na kotúč regulujú prípustné strojové odchýlky zmontovaných súčastí, umiestňovanie do rovnobežnej polohy teda nie je potrebné. K dispozícii je len obmedzená miera úprav, a to umiestnením rezacej jednotky na primeriavaciu dosku a uvoľnením montážnych skrutiek na bočnej doske (Obrázok 12). Po dokončení nastavte a utiahnite skrutky.

Important: Keď musíte nakloniť rezaciu jednotku, aby ste získali prístup k nožu plošiny/kotúču, podoprite zadnú časť rezacej jednotky a dbajte na to, aby matice na nastavovacích skrutkách na zadnom konci tyče plošiny neboli umiestnené na pracovnom povrchu (Obrázok 4).
Nastavenie ukazovateľa výšky kosenia
Pred nastavením výšky kosenia nasledujúcim spôsobom nastavte ukazovateľ výšky kosenia:
-
Uvoľnite maticu na tyči ukazovateľa a nastavte regulačnú skrutku na požadovanú výšku kosenia (Obrázok 13).
Note: Výšku kosenia predstavuje vzdialenosť medzi spodnou časťou hlavy skrutky a prednou časťou tyče.

-
Utiahnite maticu.
Nastavenie výšky kosenia
Táto rezacia jednotka sa dodáva so štandardným nožom plošiny Edgemax Micro-cut a štandardnou tyčou plošiny. Efektívna výška kosenia závisí od predchádzajúcich konfigurácií kosačky a stavu trávnika (t. j. od typu valca, umiestnenia noža plošiny mimo stredu, mäkkých alebo pevných greenov, podmienok danej sezóny). Úvodnú výšku kosenia nastavte o 0,25 mm až 0,38 mm vyššie ako pri predchádzajúcom nastavení kosačky a upravte ju podľa aktuálnych podmienok.
Note: V prípade výšky kosenia väčšej ako 13 mm namontujte súpravu vysokého nastavenia výšky kosenia.
Na základe informácií v časti Nastavenie rezacej jednotky podľa stavu trávnika určite, ktorý nôž plošiny je na požadovanú výšku kosenia najvhodnejší.
-
Uvoľnite poistné matice, ktoré zaisťujú ramená nastavenia výšky kosenia na bočných doskách rezacej jednotky (Obrázok 14).

-
Zaháknite hlavu skrutky ukazovateľa výšky kosenia do pravej strany reznej hrany noža plošiny a zadnú časť tyče oprite o zadný valec (Obrázok 15).

-
Otáčajte regulačnú skrutku, kým sa valec nedotkne prednej časti tyče ukazovateľa.
-
Kroky 2 až zopakujte na ľavej strane.
-
Nastavujte oba konce valca, kým nebude celý valec vo vodorovnej polohe s nožom plošiny.
Important: Po správnom nastavení sa bude predný a zadný valec dotýkať tyče ukazovateľa a skrutka sa upevní na noži plošiny. Zaručíte tým rovnakú výšku kosenia na oboch koncoch noža plošiny.
-
Utiahnutím poistných matíc na ramenách nastavenia výšky kosenia zaistite nastavenie dostatočne na to, aby sa podložka voľne nepohybovala.
-
Skontrolujte, či je nastavenie výšky kosenia správne. V prípade potreby tento postup zopakujte.
Nastavenie rýchlosti kosenia
Rýchlosť kosenia určujú nasledujúce nastavenia stroja:
-
Otáčky kotúča: otáčky kotúča môžete upraviť na vysoké alebo nízke nastavenie. Pozrite si používateľskú príručku k trakčnej jednotke.
-
Poloha hnacej remenice kotúča: hnacie remenice kotúča (22 zubov a 24 zubov) možno nastaviť do 2 polôh:
Note: Poloha remenice je z výroby nastavená do NíZKEJ polohy.

Postup nastavenia polohy remeníc nájdete v nasledujúcich krokoch:
-
Zložte kryt remeňa, aby ste získali prístup k remeňu (Obrázok 17).

-
Uvoľnite skrutku pomocnej páky riadenia a otočením pomocnej páky riadenia (Obrázok 17) uvoľnite napnutie remeňa.
-
Demontujte remeň (Obrázok 17).
-
Uvoľnite maticu na každej remenici, demontujte remenice a pomocou matíc namontujte remenice do požadovanej konfigurácie.

-
Matice remenice utiahnite momentom 37 až 45 N∙m.
-
Remeň namontujte na vnútorný šesťhran pomocnej páky riadenia a napnite ho silou 4 až 5 N∙m, ako je znázornené na Obrázok 17.
-
Utiahnite skrutku pomocnej páky riadenia a nasaďte kryt remeňa.
Nastavenie tyče kosenia
Nastavte tyč kosenia, aby ste zaručili, že pokosená tráva bude čisto vystupovať z oblasti kotúča. Vykonajte tieto kroky:
Note: Tyč je nastaviteľná, aby sa prispôsobila zmenám stavu trávnika. Ak je trávnik extrémne suchý, tyč nastavte bližšie ku kotúču. Ak je naopak trávnik mokrý, tyč nastavte vo väčšej vzdialenosti od kotúča. Optimálny výkon sa zaručí, ak je tyč umiestnená vodorovne s kotúčom. Po naostrení na brúske kotúč nastavte.
-
Uvoľnite skrutky, ktoré zaisťujú vrchnú tyč (Obrázok 19) na rezacej jednotke.

-
Medzi vrchnú časť kotúča a tyč zasuňte 1,5 mm špáromer a utiahnite skrutky.
Important: Uistite sa, že sú tyč a kotúč od seba vzdialené v rovnakej vzdialenosti po celej šírke kotúča.
Servis tyče plošiny
Servis tyče plošiny a noža plošiny smie vykonávať len vhodne školený mechanik, aby sa predišlo poškodeniu kotúča, tyče plošiny alebo noža plošiny. V ideálnom prípade odneste rezaciu jednotku k autorizovanému distribútori spoločnosti Toro, aby vykonal servis. Úplné pokyny, informácie o špeciálnych nástrojoch a schémy na servis noža plošiny nájdete v servisnej príručke k trakčnej jednotke. Ak budete niekedy potrebovať sami demontovať alebo zmontovať tyč plošiny, pokyny spolu so špecifikáciami servisu noža plošiny nájdete nižšie.
Important: Pri vykonávaní servisu noža plošiny vždy dodržiavajte postupy týkajúce sa noža plošiny detailne uvedené v servisnej príručke. Nesprávna montáž a ostrenie noža plošiny môžu spôsobiť poškodenie kotúča, tyče plošiny alebo noža plošiny.
Demontáž tyče plošiny
-
Otočením regulačnej skrutky tyče plošiny proti smeru hodinových ručičiek odsuňte nôž plošiny smerom od kotúča (Obrázok 20).

-
Uvoľňujte napínaciu maticu pružiny, kým sa neuvoľní napnutie podložky na tyči plošiny (Obrázok 20).
-
Na oboch stranách stroja uvoľnite poistnú maticu, ako je znázornené na Obrázok 21.

-
Odskrutkujte všetky skrutky tyče plošiny, aby ste mohli tyč plošiny stiahnuť nadol a demontovať ju z rezacej jednotky (Obrázok 21).
Nastavte 2 plastové a 1 oceľovú podložku na oboch koncoch tyče plošiny (Obrázok 21).
Montáž tyče plošiny
-
Namontujte tyč plošiny tak, že umiestníte montážne ušká medzi podložky a regulačnú skrutku tyče plošiny (Obrázok 20).
-
Tyč plošiny zaistite na oboch bočných doskách pomocou skrutiek tyče plošiny (matice na skrutkách) a 3 podložiek (celkovo 6).
-
Na obe strany výčnelka bočnej dosky umiestnite nylonovú podložku. Na obe nylonové podložky zvonka umiestnite oceľové podložky (Obrázok 21).
-
Skrutky tyče plošiny utiahnite momentom 27 až 36 N∙m.
-
Poistné matice uťahujte, kým sa oceľové podložky pevne nezaistia, no musíte ich byť stále schopní otočiť rukou. Podložky na vnútornej strane môžu mať medzeru.
Important: Poistné matice neuťahujte nadmerne, inak poškodia bočné dosky.
-
Uťahujte napínaciu maticu pružiny, kým sa pružina nestiahne, potom ju otočte späť o ½ otočky (Obrázok 22).

-
Nastavte nôž plošiny na kotúči. Pozrite si časť Nastavenie noža plošiny po frézovaní, ostrení či demontáži.
Servis noža plošiny
Montáž noža plošiny
-
Odstráňte z povrchu tyče plošiny hrdzu a šupinky a naneste naň tenkú vrstvu oleja.
-
Dôkladne vyčistite závity skrutiek.
-
Na skrutky naneste prostriedok proti zachytávaniu a namontujte nôž plošiny na tyč plošiny.

-
2 vonkajšie skrutky utiahnite momentom 1 N∙m.
-
Smerom od stredu noža plošiny uťahujte skrutky momentom 23 až 28 N∙m.

-
Naostrite nôž plošiny.
Príprava kotúča na ostrenie
-
Dbajte na to, aby boli všetky súčasti rezacej jednotky v dobrom stave a pred ostrením odstráňte všetky nedostatky.
-
Pri ostrení rezacieho kotúča postupujte podľa pokynov od výrobcu brúsky kotúča a dodržte nasledujúce špecifikácie.
Špecifikácie ostrenia kotúča Nový priemer kotúča 128,5 mm Servisný limit priemeru kotúča 114,3 mm Uhol podbrúsenia čepele 30° ±5° Šírka plochy čepele 1,0 mm Rozsah šírky plochy čepele 0,76 až 1,27 mm Servisný limit skosenia priemeru kotúča 0,25 mm
Podbrúsenie kotúča
Nový kotúč má šírku plochy 0,76 až 1,27 mm a uhol podbrúsenia 30°.
Ak je šírka plochy väčšia ako 3 mm, vykonajte tieto kroky:
-
Všetky čepele kotúča podbrusujte pod uhlom 30°, kým nebude šírka plochy 1,3 mm (Obrázok 25).

-
Pri ostrení kotúč otáčajte, aby ste dosiahli obrúsenie kotúča < 0,025 mm.
Note: Týmto spôsobom sa šírka plochy o niečo zväčší.
-
Upravte rezaciu jednotku. Pozrite si používateľskú príručku k rezacej jednotke.
Note: Ak chcete predĺžiť životnosť naostrenej hrany kotúča a noža plošiny po naostrení, po pokosení 2 greenov znova skontrolujte kontakt medzi kotúčom a nožom plošiny, či sa odstránili všetky drsné časti. Drsné časti môžu vytvárať nesprávnu vzdialenosť medzi kotúčom a nožom plošiny, čo môže urýchliť opotrebovanie.
Špecifikácie ostrenia noža plošiny

| Štandardný uhol podbrúsenia noža plošiny | Minimálne 3° |
| Predĺžený uhol podbrúsenia noža plošiny | Minimálne 7° |
| Rozsah predného uhla | 13° až 17° |
Kontrola uhla vrchného podbrúsenia
Uhol, pri ktorom ostríte nože plošiny, je veľmi dôležitý.
Na kontrolu uhla brúsky a následnú opravu akýchkoľvek nepresností pri ostrení používajte indikátor uhla (diel č. 131-6828 spoločnosti Toro) a držiak indikátora uhla (diel č. 131-6829 spoločnosti Toro).
-
Indikátor uhla umiestnite na spodnú časť noža plošiny, ako je znázornené na Obrázok 27.

-
Na indikátore uhla stlačte tlačidlo Alt+0.
-
Držiak indikátora uhla umiestnite na hranu noža plošiny tak, aby hrana magnetu lícovala s hranou noža plošiny (Obrázok 28).
Note: Digitálny displej by mal byť pri tomto kroku viditeľný z rovnakej strany ako pri kroku 1.

-
Indikátor uhla umiestnite na držiak, ako je znázornené na Obrázok 28.
Note: Tento uhol vytvára brúska a od odporúčaného uhla vrchného podbrúsenia by sa mal líšiť maximálne o 2 stupne.
Ostrenie rezacej jednotky
Ak chcete naostriť rezaciu jednotku, použite súpravu na ostrenie (model č. 139-4342). Pozrite si prevádzkové pokyny uvedené v pokynoch na montáž súpravy. O túto súpravu požiadajte autorizovaného distribútora spoločnosti Toro.


, ktorý znamená
Pozor, Výstraha alebo Nebezpečenstvo – osobné
bezpečnostné pokyny. Nedodržanie týchto
pokynov môže zapríčiniť zranenie
alebo smrť.


