Parkolja le a gépet sík talajon.
Húzza be a rögzítőféket.
Állítsa le a motort, és vegye ki az indítókulcsot.
Kösse le az akkumulátort; lásd a Kezelői kézikönyvet.
Billentse fel a platót ürítési helyzetbe, és biztosítsa ebben a helyzetben a kitámasztó rúddal.
Ehhez az eljáráshoz szükséges alkatrészek:
| Első tartócső | 2 |
| Peremes fejű csavar (5/16 × 3”) | 2 |
| Távtartó (⅝ × 1”) | 2 |
| Peremes anya (5/16”) | 4 |
| Kapupántcsavar (5/16 × 2”) | 2 |
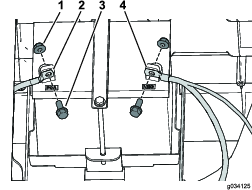
Szerelje fel a 2 első tartócsövet a 2 peremes fejű csavar (5/16 × 3”), 2 távtartó (⅝ × 1”), 4 peremes anya (5/16”) és 2 kapupántcsavar (5/16 × 2”) segítségével a Ábra 3 alapján, de még ne húzza meg a kötőelemeket.

Important: Az eljárás megkezdése előtt ellenőrizze a gépen, hogy a furatok megtalálhatók-e a tető felszereléséhez. Ha nem, folytassa ezzel az eljárással.
Note: Őrizze meg az összes kötőelemet, amelyeket az eljárás során eltávolít.
Távolítsa el az üzemanyagtartályt a tartálytálcához rögzítő peremes fejű csavart (Ábra 4).

Távolítsa el a leszorítót rögzítő csavarokat (Ábra 4).
Kösse le a tartályról a szellőzőtömlőt és az üzemanyag-vezetéket (Ábra 4).
Note: Készüljön fel arra, hogy felfogja és feltakarítsa az üzemanyagot, ami az üzemanyag-vezeték tartályról való lekötésekor esetleg kifolyik.
Az üzemanyag bizonyos feltételek mellett rendkívül gyúlékony és robbanásveszélyes. Az üzemanyag okozta tűz vagy robbanás megégetheti Önt vagy másokat, és anyagi károkat okozhat.
Akkor ürítse le az üzemanyagtartályból az üzemanyagot, amikor a motor hideg. Végezze ezt kültéren, nyitott helyen. Törölje fel a kiömlött üzemanyagot.
Ne dohányozzon, amikor üzemanyaggal foglalkozik, és maradjon távol nyílt lángtól és olyan helyektől, ahol az üzemanyag gőzeit begyújthatják a szikrák.
Távolítsa el az üzemanyagtartályt a tálcáról.
Távolítsa el a tartálytálcát a vázhoz rögzítő 2 db peremes fejű csavart (Ábra 5).

Távolítsa el a bal oldalpanelt az ülés alsó részéhez rögzítő 4 csavart (Ábra 6).

Kösse le az akkumulátorról a negatív (–), majd a pozitív (+) kábelt (Ábra 7).

Távolítsa el az akkumulátortálcát a vázhoz rögzítő 2 db peremes fejű csavart (Ábra 8).

Távolítsa el a jobb oldalpanelt az ülés alsó részéhez rögzítő 4 csavart (Ábra 8).
Important: Az eljárás megkezdése előtt ellenőrizze a gépen, hogy a furatok megtalálhatók-e a tető felszereléséhez. Ha nem, folytassa ezzel az eljárással.
Note: Őrizze meg az összes kötőelemet, amelyeket az eljárás során eltávolít.
Készítsen furatokat a tartókonzolba a Ábra 11 szerinti méretek alapján.
A legfelső furat elkészítésekor ügyeljen rá, hogy a furat áthaladjon a konzol külsején, a vázcsövön és a tűzfalon is.
Elektromos gép esetén készítse el körültekintően a furatokat a váz jobb oldalán.
Ha Ön túl mélyre fúr, károsodhat az akkumulátor vagy más alkatrész.

Rögzítse a jobb oldalpanelt a korábban eltávolított 4 csavarral (Ábra 8).
Rögzítse az akkumulátortálcát a vázhoz a korábban eltávolított 2 peremes fejű csavarral (Ábra 8).
Rögzítse az akkumulátorkábeleket a korábban eltávolított 2 csavar és 2 anya segítségével, és kösse vissza az akkumulátorsarukat (Ábra 7).
Rögzítse a bal oldalpanelt a korábban eltávolított 4 csavarral (Ábra 6).
Rögzítse a tartálytálcát a vázhoz a korábban eltávolított 2 peremes fejű csavarral (Ábra 5).
Helyezze az üzemanyagtartályt a tálcára.
Kösse vissza az üzemanyag-vezetéket és a szellőzőcsövet az üzemanyagtartályra (Ábra 4).
Rögzítse a leszorítót a korábban eltávolított csavarokkal (Ábra 4).
Rögzítse az üzemanyagtartályt a tartálytálcához a korábban eltávolított peremes fejű csavarral (Ábra 4).
Tankolja tele az üzemanyagtartályt; lásd a Kezelői kézikönyvet.
Ehhez az eljáráshoz szükséges alkatrészek:
| Hátsó tartócső | 2 |
| Csőrögzítő keret | 1 |
| Peremes fejű csavar (5/16 × 3”) | 2 |
| Peremes anya (5/16”) | 2 |
| Peremes fejű csavar (⅜ × 1¾”) | 2 |
| Peremes fejű csavar (⅜ × 3½”) | 2 |
| Önbiztosító anya (⅜”) | 4 |
| Élvédő | 1 |
Szerelje fel a 2 hátsó tartócsövet a 2 peremes fejű csavar (⅜ × 3½”), 2 peremes fejű csavar (⅜ × 1¾”) és 4 önbiztosító anya (⅜”) segítségével a Ábra 12 alapján, de még ne húzza meg a kötőelemeket.

Rögzítse a cső rögzítőkeretet a hátsó tartócsövekhez a 2 peremes fejű csavar (5/16 × 3”) és a 2 peremes anya (5/16”) segítségével a Ábra 13 alapján.
Tegye fel az élvédőt a csőrögzítő keretre (Ábra 13).

Húzza meg az 1. lépésben be- és felszerelt kötőelemeket.
Húzza meg az 5/16”-es kötőelemeket 20–25 Nm nyomatékkal.
Húzza meg a ⅜”-es kötőelemeket 37–45 Nm nyomatékkal.
Ehhez az eljáráshoz szükséges alkatrészek:
| Hosszú tetőtartó rúd | 2 |
| Hatlapfejű peremes csavar (5/16 × ¾”) | 8 |
| Élvédő | 2 |
Ehhez az eljáráshoz szükséges alkatrészek:
| Tető | 1 |
| Peremes fejű csavar (¼ × 1¾”) | 4 |
| Tömítőalátét | 4 |
| Önbiztosító anya(¼”) | 4 |
Important: Ha tükörkészletet is felszerel, azt a tető felszerelése előtt tegye.
Rögzítse a tetőt az első és a hátsó tartócsövekhez a 4 peremes fejű csavar (¼ × 1¾”), a 4 tömítőalátét és a 4 önbiztosító anya (¼”) segítségével a Ábra 15 alapján.

Ehhez az eljáráshoz szükséges alkatrészek:
| Tetőtartó rúd | 1 |
| Peremes fejű csavar (¼ × 2¼”) | 2 |
| Önbiztosító anya (¼”) | 2 |
| Tömítőalátét | 2 |
| Élvédő | 1 |
| Távtartó (¼”) | 2 |
Ehhez az eljáráshoz szükséges alkatrészek:
| Tetőtartó cső | 1 |
| Önbiztosító anya (¼”) | 6 |
| Tömítőalátét | 2 |
| Peremes fejű csavar (¼ × 1½") | 2 |
| Szivacspárna | 1 |
| Peremes fejű csavar (¼ × 1¼”) | 4 |
Tegye fel a szivacspárnát a tetőtartó csőre (Ábra 18).

Rögzítse a tetőtartó csövet a hosszú tetőtartó rudakhoz a 4 peremes fejű csavar (¼ × 1¼”) és a 4 önbiztosító anya (¼”) segítségével a Ábra 19 alapján.

A tetőtartó csövet sablonként használva készítsen 2 furatot (6 mm) a tetőbe.
Rögzítse a tetőtartó csövet a tetőhöz a 2 peremes fejű csavar (¼ × 1-½”), a 2 tömítőalátét és a 2 önbiztosító anya (¼”) segítségével a Ábra 20 alapján.
