The GeoLink™ spray system kit is an attachment for a turf spray application vehicle and is intended to be used by professional, hired operators in commercial applications. It is designed primarily for spraying on well-maintained lawns in parks, golf courses, sports fields, and on commercial grounds. Using this product for purposes other than its intended use could prove dangerous to you and bystanders.
Read this information carefully to learn how to operate and maintain your product properly and to avoid injury and product damage. You are responsible for operating the product properly and safely.
Visit www.Toro.com for product safety and operation training materials, accessory information, help finding a dealer, or to register your product.
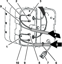
Whenever you need service, genuine Toro parts, or additional information, contact an Authorized Service Dealer or Toro Customer Service and have the model and serial numbers of your product ready. Figure 1 identifies the location of the model and serial numbers on the product. Write the numbers in the space provided.
Important: With your mobile device, you can scan the QR code (if equipped) on the serial number plate to access warranty, parts, and other product information.

This manual identifies potential hazards and has safety messages identified by the safety-alert symbol (Figure 2), which signals a hazard that may cause serious injury or death if you do not follow the recommended precautions.

This manual uses 2 words to highlight information. Important calls attention to special mechanical information and Note emphasizes general information worthy of special attention.
Chemical substances used in the spray system may be hazardous and toxic to you, bystanders, animals, plants, soil, or other property.
Carefully read and follow the chemical warning labels and safety data sheet (SDS) for all chemicals used and protect yourself according to the chemical manufacturer's recommendations. For example, use appropriate personal protective equipment (PPE), including face and eye protection, gloves, or other equipment to guard against personal contact with a chemical.
There may be more than 1 chemical used and information on each chemical; assess each chemical.
Refuse to operate or work on the sprayer if this information is not available.
Before working on a spray system, ensure that the system has been triple rinsed and neutralized according to the recommendations of the chemical manufacturer(s) and that all the valves are cycled 3 times.
Verify that there is an adequate supply of clean water and soap nearby, and immediately wash off any chemicals that contact you.
![]() |
Safety decals and instructions are easily visible to the operator and are located near any area of potential danger. Replace any decal that is damaged or missing. |




Clean the sprayer; refer to Cleaning the Sprayer in the Operator’s Manual for the machine.
Important: Completely empty the sprayer tank before installing the GeoLink Spray System Finishing Kit.
For machines with the optional tank-rinse kit, perform the following:
Pump the water from the rinse tank into the sprayer tank; refer to Operating the Rinse Kit in the Installation Instructions for the Tank-Rinse Kit.
Drain the water from the sprayer tank; refer to Cleaning the Sprayer in the Operator’s Manual for the machine.
Extend the left- and right-spray sections to the horizontal position.
Park the machine on a level surface, engage the parking brake, shut off the engine, and remove the key; refer to the Operator’s Manual.
Important: Park the machine on a level surface before installing the GeoLink kit.
Unlatch the seat by pushing the seat-latch handle rearward (Figure 3).

Rotate the seat and seat plate forward until the end of the prop rod, at the prop-rod bracket, is at the bottom of the slot in the bracket (Figure 3).
Allow the engine to cool completely.
Remove the bolt and nut that secures the terminal of the negative-battery cable to the negative post of the battery.
Incorrect battery cable routing could damage the machine and cables causing sparks. Sparks can cause the battery gasses to explode, resulting in personal injury.
Always disconnect the negative (black) battery cable before disconnecting the positive (red) cable.
Always connect the positive (red) battery cable before connecting the negative (black) cable.
Battery terminals or metal tools could short against metal components causing sparks. Sparks can cause the battery gasses to explode, resulting in personal injury.
When removing or installing the battery, do not allow the battery terminals to touch any metal parts of the machine.
Do not allow metal tools to short between the battery terminals and metal parts of the machine.
Slide back the insulator cover and remove the bolt and nut that secures the terminal of the positive-battery cable to the positive post of the battery. (Figure 4).
Note: Ensure that the terminals of the battery cables do not touch the battery posts.

Remove the 2-socket connector of the machine wire harness that connects to the seat-switch connector (Figure 5).

Remove the hairpin that secures the prop rod to the bracket at the bottom of the seat plate (Figure 6).

Remove the 2 hairpins that secure the pivot fitting of the seat plate to the chassis brackets (Figure 7).


Remove the 2 pivot pins that secure the seat and seat plate to the chassis (Figure 7).
Lift the seat and seat plate up and out of the machine (Figure 8).

Remove the 2 push-in fastener that secure the left, front fender to the lower ROPS channel (Figure 10).
Note: Discard push-in fasteners that you removed.

Remove the 3 bolts (5/16 x 1 inch) and 3 washers (5/16 inch) that secure the fender to the frame of the machine (Figure 11).

Remove the fender from the machine.
Note: Discard push-in fasteners that you removed; retain the fender, bolts, and washers for installation in Installing the Left Front Fender.
Remove the 6 push-in fasteners and 5 washers (9/16 x 1/2 inch) that secure the inner-fender shroud to the frame of the machine (Figure 12).

Remove the inner-fender shroud from the machine (Figure 13).
Note: Discard push-in fasteners that you removed.

Repeat steps 1 through 5 for the fender and inner-fender shroud at the other side of the machine.
Note: If you damage the push-in fasteners removing them, replace the fasteners with Toro Part No. 117-2382.
Remove the 2 capscrews (5/16 x 1 inch) and 2 washers (5/16 inch) that secure the bottom console cover and end console cover to the machine, and remove the covers (Figure 14).


Remove the capscrew (5/16 x 1 inch) and washer (5/16 inch) that secures the right, front fender to the platform floor (Figure 15).

Carefully remove the 2 push-in fasteners that secure the right, front fender to the roll bar mounting channel (Figure 16).


Remove the capscrew (5/16 x 1 inch) and washer (5/16 inch) that secures the right, front fender to the cross-member support (Figure 17).

Remove the right, front fender from the machine.
Remove the 6 push-in fasteners and 5 washers (9/16 x 1/2 inch) that secure the inner-fender shroud to the right, upper and right, lower-frame tubes (Figure 18).

Remove the inner-fender shroud from the machine (Figure 18).
Note: Retain the right, front fender, inner-fender shroud, capscrews, washers, and undamaged push-in fasteners for installation in Installing the Right Front Fender.Replace damaged push-in fasteners with Toro Part No. 117-2382.
Disconnect the 2 electrical connectors (2-socket) of the machine wire harness from the 2-pin connectors of the left and right headlights (Figure 19).

Remove the 9 push-in fasteners that secure the hood to the dash and frame of the machine (Figure 20).
Note: Retain the push-in fasteners for installation in Installing the Hood.

Remove the hood from the machine (Figure 20).
Note: Discard push-in fasteners that you removed.
Parts needed for this procedure:
| Tube assembly—Toro Part No. 114-9553 | 2 |
At the connection panel of the compressor for the foam-marker kit, secure a cable tie around the clear and blue tubing for the right-spray section (Figure 21).


Press in the locking collar (Figure 22).

Pull out the tube from the fitting (Figure 22).
Repeat steps 2 and 3 for the other 3 tubes for the spray sections.
At the connection panel of the compressor for the foam-marker kit, secure a cable tie around the clear and blue tubing for the right-spray section (Figure 23).


Loosen the compression nuts for the 2 clear and 2 blue tubes for the foam nozzles at the left- and right-spray section (Figure 23).
Remove the 4 tubes from the compression fittings for the spray sections (Figure 23).
At the outer-spray section, use a piece of tape to mark the left liquid and air tubes for the left spray section and the right liquid and air tubes for the right spray section.
Move the tubes for the foam nozzles at the left- and right-spray section rearward and through the R-clamp near the pivot point for the spray section (Figure 24).

If your machine has the center boom-extension kit installed, loosely secure the free end of the liquid and air tubes to the outer-spray section. and skip the procedures for Preparing the New Tube Assemblies for the Foam-Marker Nozzles and Installing the New Tube Assembly.
Remove the cable ties that secure the liquid and air tubes of the foam marker kit to the outer-spray section (Figure 25).

At the foam-marker nozzle, loosen the compression nut that secures the blue tube (water) to the blue compression fitting of the foam-marker nozzle (Figure 26).

Loosen the compression nut that secures the clear tube (air) to the white compression fitting of the foam-marker nozzle of the foam-marker nozzle (Figure 26).
Remove the liquid and air tubes from the machine.
Remove the compression nuts at the ends of the tubes (Figure 26).
Note: Retain the compression nuts for installation in step 1 of Installing the New Tube Assembly.
Align the old liquid and air tubes (Figure 27) to the new tube assembly (Toro Part No. 114-9553).

Use a piece of tape to mark the length of the old liquid and air tubes onto the new tube assembly.
At the new tube assembly, add 26 cm (10 inches) length from the mark that you made in step 7, mark the tube assembly, and cut the tubes at the second (longer) mark (Figure 27).
If the old liquid and air tubes are marked with a cable tie, mark the new tube assembly with a cable tie; otherwise skip to step 10.
Note: You no longer need the old liquid and air tubes.
Remove 77 to 102 mm (3 to 4 inches) of the sheathing from around each end of the tube assembly (Figure 27).
Repeat steps 1 through 10 for the liquid and air tubes at the other side of the machine.
Slip the blue compression nut over the ends of blue tube and the white compression nut over the clear tube (Figure 28).

Align the end of the clear tube with the white compression nut to the white fitting of the foam-marker nozzle, and tighten the compression nut by hand (Figure 28).
Align the end of the blue tube with the blue compression nut to the blue fitting of the foam-marker nozzle, and tighten the compression nut by hand (Figure 28).
Route the tube assembly along rear side of the upper support pole of the outer-spray section as shown in Figure 29.
Important: If the tube assembly is installed at the wrong side of the upper support pole, the tubes will be pinched between the cradle and the outer-spray section when the booms are in the transport position.

Secure the tube assembly to the hole in the nozzle support with a cable tie as shown in Figure 30.

Secure the tube assembly to the outer-spray section with cable ties as shown in Figure 29.
Loosely secure the free end of the tube assembly to the outer-spray section.
Repeat steps 1 through 6 for the tube assembly at the other side of the machine.
Disconnect 3-pin connector of the wire harness for the ultra sonic boom leveling kit from the 3-socket connector of the machine wire harness (Figure 31).

Repeat step 1 for the 3-pin connector of the ultra sonic boom wire harness at the other side of the machine.
While supporting the center-section cover (11–nozzle), remove the 4 flange-head bolts (5/16 x 1-1/4 inches) and 2 cover straps that secure the cover to the cover-support bracket (Figure 32).

Remove the center-section cover from the machine (Figure 33).
Note: Retain the cover for assembly, cover straps, and flange-head bolts for installation in steps 1 and 2 of Installing the Center-Section Cover.

Note: If your machine is equipped with an optional spray gun kit, refer to Disconnecting Pressure-Sense Tube and Supply Hose.
Press in the collar for the tube coupler in the 90° elbow of the right spray-section valve (Figure 35).

Pull the pressure-sense tube for the dash gauge out of the tube coupler (Figure 35).
Note: Do not remove the 90° elbow for the shutoff valve for the supply hose of the hose reel from the flange of the right boom-section valve.
Disconnect the 3-socket connector labeled LEFT SPRAY VALVE, CENTER SPRAY VALVE, and RIGHT SPRAY VALVE of the machine wire harness from the 3-pin connectors of the 3 spray-valve actuators (Figure 36).

Disconnect the 4-socket connector of the machine wire harness labeled RATE VALVE from the 4-pin connector of the rate-valve actuator (Figure 37).

Disconnect the 3-socket connector of the machine wire harness labeled MASTER SPRAY VALVE from the 3-pin connector of the master spray-valve actuator (Figure 37).
At the outer spray section, remove the hose clamp that secures the sprayer-section hose to the barbed T-fitting (Figure 38).

Remove the hose from the T-fitting (Figure 38).
Remove the free end of the hose from the R-clamp (Figure 38).
Repeat steps 1 through 3 for the supply hose at the other outer-spray section.
Under the center-spray section, remove the hose clamp that secures the supply hose for the center-spray section to the barbed T-fitting (Figure 39).

Remove the retainers that secure the quick couplers of the left, center, and right supply hoses from the quick couplers if the spray-section valves (Figure 40).
Note: Retain the retainers for installation in Assembling the Hoses to Nozzle Valves 7 through 10.

Remove the left, center, and right section-supply hoses from the quick couplers of the spray-section valves, and remove the hoses from the machine (Figure 40).
Note: You no longer need the hoses for the left, center, and right section-supply hoses.
Remove the hoses from the extend ports of the left and right lift cylinders (Figure 42).


Remove the hoses from the ports of the C2 and C4 of the lift-cylinder manifold (Figure 42).
Remove the hoses from the retract ports of the left and right lift cylinders (Figure 42).
Remove the hoses from the ports of the C1 and C3 of the lift-cylinder manifold (Figure 42).
Note: You no longer need the hoses.
Note: Except where noted, retain all hardware that you remove; you will use the hardware to install the center-boom extension.
Use lifting equipment of the specified capacity to support the outer-spray section.
Remove the hairpin and clevis pin that secure the rod end of the lift cylinder to the pivot bracket (Figure 43).
Note: Retain the clevis pin and hairpin for installation in Assembling the Lift Cylinders.

Remove the flange locknut (5/16 inch) and flange-head bolt (5/16 x 3/4 inch) that secures the pivot pin to the cylinder mount (Figure 44).

Remove the pivot pin and the lift cylinder from the machine (Figure 44).
Perform the steps in Removing the Outer-Spray Sections.
Lift equipment capacity: 46 kg (100 lb)
Note: If your machine is equipped with the optional covered-boom kit, leave the covers installed at the outer-spray sections.
Lifting heavy machines and attachments improperly could result in serious injury or even death.
When lifting heavy machines and attachments, use lifting equipment, such as chains and straps, that is rated for the weight of the equipment.
Note: Except where noted, retain all hardware that you remove; you will use the hardware to install the center-boom extension.
Remove the flange bolt (5/16 x 1 inch) and flange locknut (5/16 inch) securing the pivot pin to the pivot bracket (Figure 45).

Remove the pivot pin from the pivot bracket for the center-spray section and the pivot fitting for the outer-spray section (Figure 45).
Note: Retain the flange bolt, flange nut and pivot pin for installation in Assembling the Outer-Spray Sections to the Machine.
Separate the outer-spray section from the center-spray section and remove outer section from the machine (Figure 45).
Remove the 2 nylon-flange bushings from the pivot fitting of the outer-spray section (Figure 45).
Note: Discard the bushings.
Repeat steps 1 through 3 in Removing the Lift Cylinders for the outer-spray section at the other side of the machine.
Repeat steps 1 through 4 of this section for the outer-spray section at the other side of the machine.
Remove the section-lift manifold from the cylinder mount as follows:
For machines without the optional ultra sonic boom leveling kit: remove the 2 flange locknuts (5/16 inch) and 2 flange-head bolts (5/16 x 1 inch) that secure the support bracket for the section-lift manifold to the cylinder mount, and separate the manifold and bracket from the cylinder mount (Figure 46).

For machines with the optional ultra sonic boom leveling kit: Remove the 2 flange locknuts (5/16 inch) and 2 flange-head bolts (5/16 x 1 inch) that secure the support bracket for the section-lift manifold and the TEC controller bracket to the cylinder mount, and separate the manifold and bracket from the cylinder mount (Figure 47).

Support the section-lift manifold by tying it to the sprayer valve mount bracket with a piece of rope.
Note: Retain the support bracket and lift manifold, bolts, and nuts for installation in Assembling the Lift Cylinder Manifold to the Cylinder Mount.
Lifting-equipment capacity: 41 kg (90 lb)
If your machine is equipped with the optional covered-boom kit, remove the cover from the center-spray sections.
Support the center-spray section with lifting equipment with the specified capacity (Figure 48).

Remove the 4 flange-head bolts (3/8 x 1-1/4 inches) and 4 flange locknuts (3/8 inch) that secure the center spray section to the support brackets (Figure 49).
Note: Note: Retain the bolts and locknuts for installation in Installing the Modified Center-Spray Section.

Lift the center spray section (Figure 49), and remove it from the machine.
Parts needed for this procedure:
| Flange-head bolt (3/8 x 1 inch) | 2 |
| Flange locknuts (3/8 inch) | 2 |
| Center-boom extension | 1 |
| Cylinder mount (wide) | 1 |
| Tie plate (wide) | 1 |
| Carriage bolt (1/2 x 1-1/4 inches) | 4 |
| Flange locknut (1/2 inch) | 4 |
At the center-spray section, remove the flanged locknut that secures the sprayer nozzle to the nozzle mount (Figure 50 and Figure 51).
Note: Retain the locknut for installation in step 6 of Installing the Sprayer Nozzles and Hoses to the Center-Spray Section.


Remove the stainless steel screw (#12 x 1-1/4 inches) that secures the upper clamp half and double or single barbed-hose shank (3/4 inch) to the body of the sprayer nozzle, and separate the barbed-hose shank and hose from the nozzle (Figure 52).
Note: The hex-head bolt (5/16 x 3/4 inch—stainless steel) will separate from the upper clamp half when you open the clamp, retain the bolt for installation.

Remove the nozzle from the center-spray section (Figure 50 and Figure 51).
Repeat steps 1 and 2 for the other 2 sprayer nozzles.
Note: Retain the sprayer nozzles, stainless steel screws, and hex-head bolts for installation in step 6 and 7 of Assembling the Sprayer Nozzles and Hoses for the Center-Spray Section.
Remove the hoses (3/4 inch inside diameter), barbed-hose shanks, clamps and barbed T-fitting from the center-spray section (Figure 50).
Note: You no longer need the hose, hose shanks, clamps, and T-fitting.
Remove the 2 flange head bolts (3/8 x 1 inch) and 2 locknuts (3/8 inch) that secure the vertical flanges of the left and right truss frames (Figure 53).

Remove the 2 carriage bolts (1/2 x 1-1/4 inches) and 2 locknuts (1/2 inch) that secure the narrow cylinder mount, left and right truss frames, and narrow tie plate (Figure 54).

Note: Retain the flange-head bolts, carriage bolts, and locknuts for installation in steps 2 and 7 of Installing the Center-Boom Extension. You no longer need the narrow cylinder mount and narrow tie plate.
Separate the left and right truss frames.
Align the holes in vertical flanges of the center-boom extension with the holes in the truss frame (Figure 55).

Loosely assemble the center-boom extension to the truss frame (Figure 55) with the 2 flange-head bolts (3/8 x 1 inch) and 2 flange locknuts (3/8 inch) that you removed in step 1 of Separating the Center-Spray Section Trusses.
Align the holes in vertical flanges of the center-boom extension with the holes in the other truss frame (Figure 55).
Loosely assemble the center-boom extension to the other truss frame (Figure 55) with the 2 flange-head bolts (3/8 x 1 inch) and 2 flange locknuts (3/8 inch) from the GeoLink spray system finishing kit (Figure 55).
Align the holes in the cylinder mount with the holes at the centerline of the truss frame and center-boom extension (Figure 56).

Insert the tie plate into the truss frame and center-boom extension and align the hole in the tie plate with the holes at the centerline of the trusses and boom extension (Figure 56).
Assemble the cylinder mount, trusses, center-boom extension, and tie plate with the 2 carriage bolt (1/2 x 1-1/4 inches) and 2 flange locknut (1/2 inch) that you removed in step 2 of Separating the Center-Spray Section Trusses, and the 4 carriage bolt (1/2 x 1-1/4 inches) and 4 flange locknut (1/2 inch) from the GeoLink spray system finishing kit (Figure 56).
Torque the 3/8 inch flange head bolts and flange locknuts to 37 to 45 N∙m (27 to 33 ft-lb).
Torque the 1/2 inch flange locknuts to 91 to 113 N∙m (67 to 83 ft-lb).
Parts needed for this procedure:
| Sprayer nozzle | 2 |
| Hose assembly (sprayer valve 5 or 6) | 2 |
| Flange locknut (5/16 inch) | 2 |
Using lifting equipment, raise the new center-spray section to a comfortable working height.
Working with the 2 sprayer nozzle from the GeoLink spray system finishing kit, remove the stainless steel screw that secures the upper clamp half to the saddle (Figure 57).

Locate the hole in the side of single barbed-hose shank at the end of the hose 25 cm (10 inches) of the hose assembly (sprayer valve 5 or 6) for the center-spray section (Figure 57 and Figure 58).

Align the transfer tube in the saddle of a sprayer nozzle (Figure 57) with the hole in the side of the single barbed-hose shank (1/2 inch).
Close the upper clamp half around the barbed-hose shank and secure the clamp half and spray-nozzle body (Figure 57) with the stainless steel screw (#12 x 1-1/4 inches); torque the stainless steel screw to 14 to 18 N∙m (20 to 25 in-lb).
Important: Do not tighten the stainless steel screw more than the torque specification in step 5.
Note: Ensure that the hex-head bolt (5/16 x 3/4 inch) is seated in the recess in the upper clamp half when closing the clamp.
Working with the sprayer nozzle, hex-head bolt, and stainless steel screw that you removed in steps 1 and 2 of Removing the Sprayer Nozzles, repeat steps 3 through 5 to the single barbed-hose shank (Figure 57 and Figure 58) at the end of the other hose 25 cm (10 inches).
Working with the 2 sprayer nozzles that you removed in step 4 of Removing the Sprayer Nozzles, repeat steps 3 through 5 to the single barbed-hose shanks of the other hose assembly (sprayer valve 5 or 6) for the center-spray section (Figure 57 and Figure 58).
Route the hose 13 mm (10 inches) and nozzle assembly between the truss braces of the outer truss (Figure 59).

Route the hose and nozzle above the truss brace and outward to the outboard nozzle mount (Figure 59).
Align the hex-head bolt (5/16 x 3/4 inch) of the sprayer nozzle through the hole in the nozzle mount and loosely secure the nozzle to the mount with a flange locknut (5/16 inch) from the GeoLink spray system finishing kit (Figure 60).

Route the other hose 13 mm (10 inches)and nozzle assembly between the s truss braces of the outer truss (Figure 59).
Route the hose and nozzle above the truss brace and inward to the inboard nozzle mount (Figure 59).
Align the hex-head bolt (5/16 x 3/4 inch) of the sprayer nozzle through the hole in the nozzle mount (Figure 60) and loosely secure the nozzle to the mount with a flange locknut (5/16 inch) that you removed in steps 1 and 4 of Removing the Sprayer Nozzles.
Torque the flange locknut to 1978 to 2542 N∙cm (175 to 225 in-lb).
Route the hose and barbed coupler 13 x 810 mm (1/2 x 32 inches) to the side of the center-spray section with the left and right support brackets (Figure 59).
Repeat steps 1 through 8 for the other hose and nozzle assembly at the other outer truss (Figure 59 and Figure 60).
Parts needed for this procedure:
| Cap (quick coupler) | 3 |
| Retainer | 3 |
Remove the upper end of the bypass hose as follows:
For machines without the optional hand wand kit or optional electric hose reel kit, remove the small retainer that secures the quick-disconnect fitting of the bypass hose to the quick-disconnect fitting of the right section-bypass valve (Figure 61).

For machines with the optional hand wand kit or optional electric hose reel kit, perform the following steps:
Remove the retainer that secures the quick connect fitting of the shutoff valve to the quick-disconnect socket of the right section-bypass valve, and separate the valve from the socket (Figure 62).

Remove the retainer that secures the quick connect fitting of the shutoff valve to the quick-disconnect socket of the 90° barbed fitting, and separate the valve from the socket (Figure 62).
Note: Retain the shutoff valve and retainers for installation in Assembling the Shutoff Valve to the Bypass Hose.
Remove the large retainer that secures the 90° barbed fitting at the lower end of the bypass hose to the bulkhead fitting of the sprayer tank (Figure 63).
Note: Retain the large retainer for installation in Assembling the Bypass Hoses to the Tank.

Remove the bypass hose from the machine.
Note: You no longer need the bypass hose and the small retainer.
Remove the 3 retainers that secure the 3 valve actuators to the left, center, and right section valves (Figure 64).

Remove the valve actuators from the left, center, and right section valves (Figure 64).
Remove the retainer that secures the cap to the quick disconnect fitting of the bypass valve, and remove the cap (Figure 65).
Note: You no longer need the cap.

Remove the 3 retainers that secure the 3 bypass valves to the left, center, and right section valves (Figure 66).

Lift the bypass valves from the section valves (Figure 66).
Rotate the bypass valves 180° and assemble them onto the quick disconnect fittings of the section valves (Figure 66).
Secure the 3 bypass valves to the section valves with the 3 retainers that you removed in step 4 (Figure 66).
Assemble plug into the quick connect socket of the bypass valve (Figure 67).

Secure the plug to the quick connect socket with the retainer that you removed in step 3 (Figure 67).
Assemble the 3 valve actuators onto the left, center, and right section valves (Figure 64) with the retainers that you removed in step 1.
Note: You will add the section valves to the valves for the 10-valve GeoLink sprayer system in Assembling the 3 Section Valves to the Valve Mount.
Remove the 2 flange-head bolts (1/4 x 3/4 inch) and 2 locknuts (1/4 inch) that secure the left boom-section valve to the manifold mount (Figure 68).
Note: You no longer need the 2 flange head bolts and locknuts.

Remove the 2 flange-head bolts (1/4 x 3/4 inch) and 2 locknuts (1/4 inch) that secure the right boom-section valve to the manifold mount (Figure 68).
Remove the flange clamp 40 to 64 mm (1-9/16 to 2-1/2 inches) and gasket 25 x 35 mm (1 x 1-3/8 inches) that secures the flange of the left section valve to the adapter (Figure 68).
Note: Retain the 2 flange-head bolts, 2 locknuts, flange clamp and gasket for installation in Assembling the 3 Section Valves to the Valve Mount.

Remove the 3 section valves from the machine (Figure 69).
Remove the decals from the actuators of the 3 section valves (Figure 70).

Remove the flange clamp 51 mm (2 inches) and gasket 38 mm (1-1/2 inches) that secure the flange of the adapter to the flange of the flow meter (Figure 71).
Note: Retain the flange clamp and gasket for installation in Assembling the Manifold to the Flow Meter.

Parts needed for this procedure:
| Flow meter mount | 1 |
| Support-clamp half | 4 |
| Bolt (1/4 x 4-1/2 inches) | 4 |
| Flange locknuts (1/4 inch) | 4 |
Disconnect the 3-socket connector of the machine wire harness labeled FLOW METER from the 3-pin connector of the flow meter (Figure 72).

Remove the 2 push-in fasteners of the machine wire harness from the bottom flange of the section-valve bracket (Figure 72).
Remove the 4 flange-head screws (5/16 x 3/4 inch) that secure the section-valve bracket from the valve mount, and remove the valve bracket from the machine (Figure 73).
Note: Retain the 4 flange-head screws for installation in Installing the Flow Meter Mount and Clamps; you no longer need the section-valve bracket.

Align the holes in the flow-meter bracket with the holes in the valve mount (Figure 74).

Assemble the flow-meter bracket to the valve mount with the 4 flange-head screws that you removed in step 3 of Removing the Section-Valve Bracket, and torque the screws to 1978 to 2542 N∙cm (175 to 225 in-lb).
Align a 2 support-clamp halves between the flow meter and the flow-meter bracket, and align the holes in the clamp halves with the holes in the bracket (Figure 75).

Align a support clamp half at the rear side of the flow meter with 1 of the clamp halves that you assembled in step 3 (Figure 75).
Assemble the pair of clamp halves to the flow meter bracket (Figure 75) with 2 bolts (1/4 x 4-1/2 inches) and 2 flange locknuts (1/4 inch).
Repeat steps 4 and 5 at the other clam half that you assembled in step 3.
Torque the bolts and nuts to 1017 to 1243 N∙cm (90 to 110 in-lb).
Parts needed for this procedure:
| Kit sprayer harness | 1 |


Locate the 84 cm (33 inch) wire-harness branch, 60 cm (23-1/2 inch) wire-harness branch, and 66 cm (26 inch) wire-harness branch of the kit wire harness (Figure 76 and Figure 77).
Route the 84 cm (33 inch), 60 cm (23-1/2 inch), and 66 cm (26 inch) wire-harness branches of the kit sprayer harness to the left side of the machine along the machine wire harness (Figure 78 and Figure 79).


Route the 84 cm (33 inch), 60 cm (23-1/2 inch), and 66 cm (26 inch) wire-harness branches of the kit sprayer harness forward along the left frame channel (Figure 81 and Figure 82).



Route the 84 cm (33 inch), 60 cm (23-1/2 inch), and 66 cm (26 inch) wire-harness branches of the kit sprayer harness along the machine wire harness, outboard of the parking-brake assembly (Figure 83).

Route the 84 cm (33 inch), 60 cm (23-1/2 inch), and 66 cm (26 inch) wire-harness branches of the kit sprayer harness across the shock-support tube as shown in Figure 84.

Secure the kit sprayer harness to the machine wire harness as shown in Figure 82, Figure 83, and Figure 84.
At the back of the machine, route the 89 cm (35 inch) wire-harness branch forward of the lift manifold, and to the right of the flow meter as shown in Figure 85.

Route the 102 cm (40 inch) wire-harness branch rearward of the lift manifold, and to the right as shown in Figure 85.
Connect the 3-pin connector of the 89 cm (35 inch) kit sprayer-harness branch labeled LEFT SPRAY to the 3-socket connector of the machine wire harness labeled LEFT SPRAY VALVE (Figure 86).

Connect the 3-pin connector kit sprayer harness s labeled CENTER SPRAY to the 3-socket connector of the machine wire harness labeled CENTER SPRAY VALVE (Figure 86).
Connect the 3-pin connector of the kit sprayer harness labeled RIGHT SPRAY to the 3-socket connector of the machine wire harness labeled RIGHT SPRAY VALVE (Figure 86).
Insert the push-in fastener of the kit sprayer harness into the hole in the flange of the flow-meter bracket (Figure 86).
Connect the 3-socket electrical connector of the 89 cm (35 inch) kit sprayer-harness branch labeled FLOW METER into the 3-pin connector of the flow meter (Figure 87).

Connect the 3-pin connector of the 89 cm (35 inch) kit sprayer-harness branch labeled MASTER VALVE into the 3-socket connector of the machine wire harness labeled MASTER SPRAY VALVE (Figure 88).

Connect 3-pin connector of the actuator for the master-spray valve into the 3-socket connector of the 89 cm (35 inch) kit sprayer-harness branch labeled MASTER VALVE (Figure 88).
Connect the 4-pin connector of the actuator for the rate valve into the 4-socket connector of the 89 cm (35 inch) kit sprayer-harness branch labeled RATE VALVE (Figure 89).

Parts needed for this procedure:
| Straight hose barb (1 x 2 inches) | 1 |
| Hose clamp (3/4 to 1-1/2 inches) | 3 |
| Hose (1 x 5-3/4 inches) | 1 |
| Manifold | 1 |
| Hose (1 x 16 inches) | 1 |
Assemble hose (1 x 5-3/4 inches) on to the straight hose barb (1 x 2 inches) with a hose clamp (3/4 to 1-1/2 inches), and tighten the clamp by hand (Figure 90).

Assemble the other end of the hose (1 x 5-3/4 inches) onto the barbed fitting of the manifold with a hose clamp as shown in Figure 90, and tighten the hose clamp by hand.
Assemble the hose (1 x 16 inches) onto the other barbed fitting of the manifold with a hose clamp, and tighten the clamp by hand (Figure 90).
Assemble the straight hose barb (1 x 2 inches) to the flange of the flow meter with the gasket 38 mm (1-1/2 inches) and flange clamp 51 mm (2 inches) that you removed in step 6 of Removing the Section Valves from the Manifold Mount.

Tighten the flange clamp by hand (Figure 91).
Parts needed for this procedure:
| Bypass hose assembly | 1 |
| Shutoff valve | 1 |
As shown in Figure 92, remove the retainer from the 90° quick-connect fitting.

Assemble the shutoff valve into the quick-disconnect fitting socket (Figure 92).
Secure the valve to the fitting with the retainer that you removed in step 1.
Assemble the shutoff valve and retainer that you removed in step 1 of Removing the Section Bypass Hose to the other quick-disconnect fitting socket (Figure 92).
Align the bypass hose assembly to the sprayer tank (Figure 93).


Assemble the 90° barbed fitting to the bulkhead fitting of the sprayer tank and secure the fittings with the retainer that you removed in step 2 of Removing the Section Bypass Hose.
Lifting-equipment capacity: 55 kg (120 lb)
Using lifting equipment with the specified lift capacity, raise the center-spray section and align the spray section with the holes in the support brackets (Figure 94).

Assemble the center-spray section to the support brackets (Figure 94) with the 4 flange-head bolts (3/8 x 1-1/4 inches) and 4 flange locknuts (3/8 inch) that you removed in Removing the Center-Spray Section.
Torque the nuts and bolts to 37 to 45 N-m (27 to 33 ft-lb).
Untie the lift manifold from the valve-mount bracket.
Assemble the section lift manifold to the cylinder mount as follows:
For machines without the optional ultra sonic boom leveling kit:
Align the holes in the support bracket for the section-lift manifold with the holes in the cylinder mount (Figure 95).

Assemble the support bracket to the cylinder mount (Figure 95) with the 2 flange-head bolt (5/16 x 1 inch) and flange locknut (5/16 inch) that you removed in step 1 of Removing the Section-Lift Manifold from the Center-Spray Section.
For machines with the optional ultra sonic boom leveling kit:
Align the holes in the support bracket for the section-lift manifold and the TEC controller bracket with the holes in the cylinder mount.

Assemble the support bracket and TEC bracket to the cylinder mount (Figure 96) with the 2 flange-head bolt (5/16 x 1 inch) and flange locknut (5/16 inch) that you removed in step 1 of Removing the Section-Lift Manifold from the Center-Spray Section.
Torque the bolts and nuts to 1978 to 2542 N∙cm (175 to 225 in-lb).
Parts needed for this procedure:
| Valve mount and sprayer-valve assembly | 1 |
| Bolt (4 x 10 mm) | 3 |
| ASC 10 sprayer controller | 1 |
| Flange locknut (4 mm) | 3 |
| Cap (quick-disconnect fitting) | 2 |
| Flange-head bolts (5/16 x 3/4 inch) | 8 |
| Flange locknuts (5/16 inch) | 8 |
| Hose clamp | 1 |
| Push-in fastener (cable tie) | 1 |
| Push-in fastener (connector anchor) | 3 |
Align the ASC 10 sprayer controller to the forward side of the valve mount with the 4-pin connector outward (Figure 97).

Assemble the sprayer controller to the valve mount (Figure 97) with the 3 bolts (4 x 10 mm) and 3 flange locknuts (4 mm).
Note: Do not use the upper outboard hole in the ASC 10 sprayer controller.
Torque the bolts and nuts to 234 to 286 N∙cm (21 to 25 to in-lb).
Remove the retainers that secure the valve actuators for nozzle valves 1 through 7 (Figure 98).

Remove the valve actuators from nozzle valves 1 through 7 (Figure 98).
Remove the retainers that secures the plugs in the sockets of the quick disconnect fitting at the nozzle valve 5 and nozzle valve 6, and remove the plugs (Figure 99).
Note: You no longer need the plugs; retain the retainers for installation in Installing the Section Bypass Hoses—Machines with the Optional Hand Wand Kit or the Optional Electric Hose Reel Kit.

Remove the retainers that secure the bypass valves to nozzle valves 1 through 7 (Figure 100).

Lift the bypass valves from the nozzle valves 1 through 5 (Figure 100).
Rotate the bypass valves 180° and assemble them onto the quick disconnect fittings of the section valves (Figure 101).

Secure the bypass valves to the section valves with the retainers (Figure 101) that you removed in step 4.
Repeat steps 5 through 7 for the bypass valves of nozzle valve 6 and nozzle valve 7 (Figure 102).

Assemble the caps onto the quick disconnect fittings of the bypass valves for nozzle-valve 5 and nozzle-valve 6 with the retainers provided with the caps (Figure 101).

Assemble the valve actuators onto the nozzle valves 1 thought 7 (Figure 98) with the retainers that you removed in step 1.
Assemble the 3 section valves (Figure 104) that you removed in step 8 of Removing the Section Valves from the Manifold Mount onto the flange of valve 7 of the sprayer valve assemble with the flange clamp and gasket that you removed in step 4 of Removing the Section Valves from the Manifold Mount.
Important: The left, center, and right section valves are identified in the GeoLink sprayer system as follows: left section valve—nozzle valve 8, center section valve—nozzle valve 9, and right section valve—nozzle valve 10.

Secure the socket of the quick-disconnect coupling for bypass valve of nozzle valve 8 to the quick-disconnect coupling for bypass valve of nozzle valve 7 with the retainer that you removed in step 8 of Removing the Section Valves from the Manifold Mount.

Assemble nozzle valve 10 to the valve mount (Figure 106 or Figure 107) the with the 2 flange-head bolt (1/4 x 3/4 inch) and 2 locknuts (1/4 inch) that you removed in step 2 of Removing the Section Valves from the Manifold Mount.


Torque the flange-head bolts and locknuts to 1017 to 1243 N∙m (90 to 120 in-lb).
Lifting-equipment capacity: 23 kg (50 lb)
Using lifting equipment with the specified capacity, lift the valve mount and sprayer valve assembly and align it over the center-spray section (Figure 108).

Align the holes on the mount bracket of the valve mount to the holes on the truss frame of the center sprayer section (Figure 109).

Assemble the valve mount to the truss frame (Figure 109 and Figure 110) with 4 bolts (5/16 x 3/4 inch) and 4 flange locknuts (5/16 inch).

Repeat steps 2 through 3 for the other mount bracket of the valve mount at the other truss frame.
Torque the flange-head bolts and flange locknuts to 1978 to 2542 N∙cm (175 to 225 in-lb).
Assemble the hose (1 x 16 inches) over the 90° flange fitting (1 inch) as shown in Figure 111.

Secure the hose to the flange fitting with a hose clamp (Figure 111).
Assemble the cable tie/push-in fastener into the hole at the top of the valve mount as shown in Figure 111.
Secure the cable tie/push-in fastener (Figure 111) around the hose (1 x 16 inches).
Remove the retainers from the sockets of the quick-connect fittings.
Assemble the quick-connect fitting of the bypass hose to the quick disconnect fitting at the bypass valve at nozzle valve 10 (Figure 112).

Secure the quick disconnect fittings for the bypass hose and the bypass valve with the retainer (Figure 112).
Repeat steps 1 through 3 for the quick disconnect fittings at nozzle valve 1.
Assemble the quick-disconnect fitting of the bypass-shutoff valve with the quick disconnect fitting (socket) of the bypass valve (Figure 113).

Secure the quick disconnect fittings for the bypass-shutoff valve and the bypass valve with the retainer (Figure 113) that you removed in step 3 of Positioning the Bypass Valves—Machines without the Optional Hand Spray Wand Kit or the Optional Electric Hose Reel Kit.
Repeat steps 1 and 2 for the bypass-shutoff valve and the bypass valve at the other side of the machine.
Assemble the push-in fasteners of the valve actuator electrical-connectors into the holes in the valve mount (Figure 114).

Connect 3-socket connector (Figure 115) of the 89 cm (35 inch) kit sprayer-harness branch labeled NOZZLE VALVE 1) into the 3-pin connector of the left most valve actuator (position 1).
Note: The valve actuator positions 1 through 10 are arranged from left to right when standing behind the machine.

Connect 3-socket connector (Figure 115) of the 89 cm (35 inch) kit sprayer-harness branch NOZZLE VALVE 2) into the 3-pin connector of the valve actuator (position 2).
Connect the remaining 3-socket connectors of the 89 cm (35 inch) kit sprayer-harness branch into the 3-pin connector of the valve actuators (Figure 115).
Note: Ensure that the 3-socket connector are connected to the related valve actuator position.
Insert the 3-socket connector 61 cm (24 inch) branch of the kit sprayer harness labeled PRESSURE TRANSDUCER GREEN WEDGE into the 3-pin connector of the pressure transducer (Figure 116).

Insert the 40-socket connector of the 102 cm (40 inch) branch of the kit sprayer harness into the 40-pin connector if the ASC 10 spray controller (Figure 117).

Thread the thumb screw of the 40-socket connector into the ASC 10 connector by hand (Figure 117).
Insert the 4-socket connector of the kit sprayer harness labeled TO ASC 10 into the 4-pin connector of the ASC 10 spray controller (Figure 118).

Parts needed for this procedure:
| Hydraulic hose (1/4 x 24-3/4 inches) | 4 |
Align the fixed end of the lift cylinder that you removed in step 3 of Removing the Lift Cylinders to the 16 mm (5/8 inch) hole in the cylinder mount (Figure 119).
Note: Ensure that the extend and retract ports of the cylinder align up.

Assemble the cylinder to the cylinder mount with the pivot pin, flanged-head bolt, and flange nut (Figure 119).
Torque the bolt and nut to 1978 to 2542 N·cm (175 to 225 in-lb).
Repeat steps 1 through 3 for the other lift cylinder at the other side of the cylinder mount.
Loosely assemble a new hydraulic hose (1/4 x 24-3/4 inches) between the extend port of the left boom-lift cylinder and port C3 of the boom-lift manifold (Figure 120).

Loosely assemble a new hydraulic hose (1/4 x 24-3/4 inches) between the retract port of the left boom-lift cylinder and port C4 of the boom-lift manifold (Figure 120).
Loosely assemble a new hydraulic hose (1/4 x 24-3/4 inches) between the extend port of the right boom-lift cylinder and port C1 of the boom-lift manifold (Figure 121).

Loosely assemble a new hydraulic hose (1/4 x 24-3/4 inches) between the retract port of the right boom-lift cylinder and port C2 of the boom-lift manifold (Figure 121).
Torque the hose fittings at the extend and retract ports of the lift cylinders (Figure 120 and Figure 121) to 21 to 26 N∙m (15 to 19 ft-lb).
Torque the swivel nuts of the hoses at the boom-lift manifold (Figure 120 and Figure 121) to 24 to 30 N∙m (17 to 22 ft-lb).
Parts needed for this procedure:
| Nylon-flange bushing | 4 |
| Supply-hose assembly 188 cm (74 inches) | 1 |
| Supply-hose assembly 234 cm (92 inches) | 1 |
| Supply-hose assembly 279 cm (110 inches) | 1 |
Cut the hose between 2 sprayer nozzles (Figure 122).

Remove the flange locknut (5/16 inch) that secures the sprayer nozzle to the nozzle support (Figure 122).
Repeat steps 2 and 1 for the other 3 nozzles.
Note: Retain the flange locknut and sprayer nozzle for installation in Installing the Sprayer Nozzles at the Outer-Spray Sections.
Note: Discard the hoses, clamps, and T-fitting that you removed from the machine.
Repeat steps 2 through 3 at the other outer-spray section.
Working with the 8 sprayer nozzles that you removed in step 1, remove the stainless steel screws (#12 x 1-1/4 inches) that secures the upper clamp halves and the double or single barbed-hose shanks (3/4 inch) to the body of each of the sprayer nozzle, and remove the barbed-hose shanks (Figure 123).
Note: The hex-head bolt (5/16 x 3/4 inch—stainless steel) will separate from the upper clamp half when you open the clamp, retain the bolt for installation.

Lift equipment capacity: 46 kg (100 lb)
Using lift equipment with the specified capacity, raise the outer boom.
Insert a nylon-flange bushing into the 31.8 mm (1-1/4 inches) hole at each side of the pivot fitting (Figure 124).

Align the bushings in the pivot fitting with the holes in the flanges of the pivot bracket at the end of the center-spray section (Figure 125).

Assemble the pivot fitting to the pivot bracket with the pivot pin, flange bolt (5/16 x 1 inch), and flange locknut (5/16 inch) that you removed in step 2 of Removing the Outer-Spray Sections.
Torque the bolt and nut to 1978 to 2542 N∙cm (175 to 225 in-lb).
Align the rod end of the lift cylinder with the hole 25 mm (1 inch) in the horn of the pivot fitting (Figure 126).

Secure the lift cylinder to the pivot fitting with the clevis pin and hairpin (Figure 126) that you removed in step 2 of Removing the Lift Cylinders.
Repeat steps 1 through 7 at the outer-spray section at the other side of the machine.
Parts needed for this procedure:
| Supply-hose 279 cm (110 inches) | 2 |
| Supply-hose 234 cm (92 inches) | 2 |
| Supply-hose 188 cm (74 inches) | 4 |
| Supply-hose 81 cm (32 inches) | 2 |
Identify the supply hoses by length (Figure 127) for each of the sprayer-nozzle position as follows:
| Sprayer-nozzle positions—left-spray section | Sprayer-nozzle positions—center-spray section | Sprayer-nozzle positions—right-spray section |
|---|---|---|
| Sprayer nozzle 1 (nozzle valve 1)—supply hose 279 cm (110 inches) | Sprayer nozzles 5 and 6 (nozzle valve 5)—supply hose 81 cm (32 inches) with 2 branch hoses | Sprayer nozzle 9 (nozzle valve 7)—supply hose 188 cm (74 inches) |
| Sprayer nozzle 2 (nozzle valve 2)—supply hose 234 cm (92 inches) | Sprayer nozzles 7 and 8 (nozzle valve 6)—supply hose 81 cm (32 inches) with 2 branch hoses | Sprayer nozzle 10 (nozzle valve 8)—supply hose 188 cm (74 inches) |
| Sprayer nozzle 3 (nozzle valve 3)—supply hose 188 cm (74 inches) | Sprayer nozzle 11 (nozzle valve 9)—supply hose 234 cm (92 inches) | |
| Sprayer nozzle 4 (nozzle valve 4)—supply hose 188 cm (74 inches) | Sprayer nozzle 12 (nozzle valve 10)—supply hose 279 cm (110 inches) |
Note: Refer to Figure 128 in Assembling the Hoses to Nozzle Valves 1 through 4, Figure 129 in Assembling the Hoses to Nozzle Valves 5 and 6, and Figure 130 in Assembling the Hoses to Nozzle Valves 7 through 10 for the nozzle-valve positions.

Assemble the straight barbed fitting of a supply-hose 279 cm (110 inches) onto the coupler of nozzle valve 1 (Figure 128).
Note: Ensure that the barbed fitting is fully seated onto the coupler.

Secure the barbed fitting to the coupler with a retainer (Figure 128).
Assemble the straight barbed fitting of a supply-hose 234 cm (92 inches) onto the coupler of nozzle valve 2 (Figure 128).
Note: Ensure that the barbed fitting is fully seated onto the coupler.
Secure the barbed fitting to the coupler with a retainer (Figure 128).
Assemble the straight barbed fitting of a supply-hose 188 cm (74 inches) onto the coupler of nozzle valve 3 (Figure 128).
Note: Ensure that the barbed fitting is fully seated onto the coupler.
Secure the barbed fitting to the coupler with a retainer (Figure 128).
Assemble the straight barbed fitting of a supply-hose 188 cm (74 inches) onto the coupler of nozzle valve 4 (Figure 128).
Note: Ensure that the barbed fitting is fully seated onto the coupler.
Secure the barbed fitting to the coupler with a retainer (Figure 128).
Note: Supply-hose assembly 81 cm (32 inches) has a T-fitting with 2 branch hoses and 2 single barbed-hose shanks.
Assemble the straight barbed fitting of a supply-hose 81 cm (32 inches) onto the coupler of nozzle valve 5 (Figure 129).
Note: Ensure that the barbed fitting is fully seated onto the coupler.

Secure the barbed fitting to the coupler with a retainer (Figure 129).
Assemble the straight barbed fitting of a supply-hose 81 cm (32 inches) onto the coupler of nozzle valve 6 (Figure 129).
Note: Ensure that the barbed fitting is fully seated onto the coupler.
Secure the barbed fitting to the coupler with a retainer (Figure 129).
Assemble the straight barbed fitting of a supply-hose 188 cm (74 inches) onto the coupler of nozzle valve 7 (Figure 130).
Note: Ensure that the barbed fitting is fully seated onto the coupler.

Secure the barbed fitting to the coupler with a retainer (Figure 130).
Assemble the straight barbed fitting of a supply-hose 188 cm (74 inches) onto the coupler of nozzle valve 8 (Figure 130).
Note: Ensure that the barbed fitting is fully seated onto the coupler.
Secure the barbed fitting to the coupler with a retainer (Figure 130).
Assemble the straight barbed fitting of a supply-hose 234 cm (92 inches) onto the coupler of nozzle valve 9 (Figure 130).
Note: Ensure that the barbed fitting is fully seated onto the coupler.
Secure the barbed fitting to the coupler with a retainer (Figure 130).
Assemble the straight barbed fitting of a supply-hose 279 cm (110 inches) onto the coupler of nozzle valve 10 (Figure 130).
Note: Ensure that the barbed fitting is fully seated onto the coupler.
Secure the barbed fitting to the coupler with a retainer (Figure 130).
Route the hoses for sprayer nozzles 1, 2, 3, and 4 through the R-clamp at the left outboard end of the center-spray section (Figure 131 and Figure 132).


Route the hoses for sprayer nozzles 7, 8, 9, and 10 through the R-clamp at the right outboard end of the center-spray section (Figure 131 and Figure 132).
Route the supply hoses 279 cm (110 inches) and barbed-hose shanks (3/4 inch) along the spray section to sprayer nozzles 1 and 10 as shown in (Figure 131 and Figure 132).
Route the supply hoses 234 cm (92 inches) and barbed-hose shanks (3/4 inch) along the spray section to sprayer nozzles 2 and 9 along the spray section as shown in Figure 131 and Figure 132.
Route the supply hoses 188 cm (74 inches) and barbed-hose shanks (3/4 inch) along the spray section to sprayer nozzles 3 and 8 as shown in Figure 131 and Figure 132.
Note: Route the hoses through the lower rear grommets in the tube-frame brackets.
Route the supply hoses 188 cm (74 inches) and barbed-hose shanks (3/4 inch) along the spray section to sprayer nozzles 4 and 7 as shown in Figure 131 and Figure 132.
Note: Route the hoses through the lower rear grommets in the tube-frame brackets.
Bundle the 4 hoses for the sprayer nozzles together with a cable tie as shown in Figure 132.
Align the transfer tube in the saddle of a sprayer nozzle (Figure 133) with the hole in the side of the single barbed-hose shank (1/2 inch).

Close the upper clamp half around the barbed-hose shank and secure the clamp half and spray-nozzle body (Figure 133) with the stainless steel screw (#12 x 1-1/4 inches); torque the stainless steel screw to 14 to 18 N∙m (20 to 25 in-lb).
Note: Ensure that the hex-head bolt (5/16 x 3/4 inch) is seated in the recess in the upper clamp half when closing the clamp.
Assemble the sprayer nozzles to the outer-spray section as follows:
At the nozzle positions 1 and 4, assemble the sprayer nozzle to the nozzle mount (A of Figure 134) with the flange locknut (5/16 inch) that you removed in step 2 of Removing the Sprayer Nozzles from the Outer-Spray Sections.
At the nozzle positions 2 and 3, assemble the sprayer nozzle to the nozzle mount (A and B of Figure 134) with the flange locknut (5/16 inch) that you removed in step 2 of Removing the Sprayer Nozzles from the Outer-Spray Sections.

Torque the flange locknut to 1978 to 2542 N∙cm (175 to 225 in-lb).
Repeat steps 1 through 4 for the other sprayer nozzles for the spray section.
Repeat steps 1 through 5 to the outer-spray section at the other side of the machine.
Assemble the 90° fitting of the shutoff valve for the optional spray wand kit or the electric hose reel kit onto the flange of nozzle valve 10 with the flange clamp and gasket, and tighten the clamp by hand (Figure 136).

Align the end of the pressure-sense tube (plastic) for the pressure gauge in the dash with the locking collar for the tube coupler in the 90° fitting of the shutoff valve of the hand spray wand or the electric hose reel kit (Figure 137).

Insert the sense tube into the locking collar until the tube is fully seated (Figure 137).
Route the tubes for the foam nozzles at the left- and right-spray section, inboard and through the R-clamp near the pivot point for each outer-spray section (Figure 139).


Route the tubes forward along the left side of the sprayer tank (Figure 139).
Secure the tubes for the left and right foam-marker nozzles to the sprayer hoses with 4 cable ties as shown on Figure 139.
Secure the tubes for the left and right foam-marker nozzles to the tubes for the agitation with 2 cable ties as shown in Figure 139.
Route the foam tubes for the right boom as shown in Figure 140.


Insert the clear tube into the air fitting at the side compressor plate (Figure 140 and Figure 141).

Insert the blue tube into the liquid fitting at the side compressor plate (Figure 140 and Figure 141).
Route the foam tubes for the left boom as shown in Figure 140.
Insert the clear tube into the air fitting at the side compressor plate (Figure 140 and Figure 141).
Insert the blue tube into the liquid fitting at the side compressor plate (Figure 140 and Figure 141).
Connect the tubing with the cable tie that you prepared in step 9 of Preparing the New Tube Assemblies for the Foam-Marker Nozzles by aligning the blue tube for the right spray section onto the compression fitting for the right-spray section water circuit (Figure 142).

Assemble the compression nut for the tube onto the fitting and tighten the nut by hand (Figure 142).
Aligning the clear tube for the right-spray section onto the compression fitting for the right-spray section air circuit (Figure 142).
Assemble the compression nut for the tube onto the fitting and tighten the nut by hand (Figure 142).
Connect the unmarked (no cable tie) tubing by aligning the blue tube for the left-spray section onto the compression fitting for the left-spray section water circuit (Figure 143).

Assemble the compression nut for the tube onto the fitting and tighten the nut by hand (Figure 143).
Aligning the clear tube for the left spray section onto the compression fitting for the left-spray section air circuit (Figure 143).
Assemble the compression nut for the tube onto the fitting and tighten the nut by hand (Figure 143).
Secure the foam marker tubing to the sprayer nozzle hoses with 2 cable ties (Figure 139).
Connect the 3-socket connector of the sonic boom wire harness to the 3-pin connector of the cable for the right ultra-sonic sensor (A of Figure 144).

Connect the 3-socket connector of the sonic boom wire harness from the 3-pin connector of the cable for the left ultra-sonic sensor (B of Figure 144).
Parts needed for this procedure:
| Cover extension assembly (12-nozzle—Toro 120-0621) | 1 |
| Pop rivet (Toro Part No. 114439) | 22 |
| Support bracket (center-section cover—Toro Part No. 131-3703-03) | 4 |
| Clip nut (Toro Part No. 94-2413) | 4 |
| Flange-head bolts (3/8 x 1-1/4 inches—Toro Part No. 110-5050) | 16 |
| Flange locknuts (3/8 inch—Toro Part No. 104-8301) | 16 |
| Cover strap (Toro Part No. 120-0629) | 2 |
| Flange-head bolts (5/16 x 1-1/4 inches—Toro Part No. 323-36) | 4 |
Using a drill with a 5 mm (3/16 inch) drill bit, drill the 11 pop-rivets (Figure 145) that secure the reinforcement plate (with a single row of rivets) and rubber cover to the end of the 11-nozzle section cover for the center-spray section that you removed in step 2 of Removing the Center-Section Cover (11-nozzle) of the Optional Covered-Boom Kit.


Remove the reinforcement plate, 11 washers (3/16 inch), and rubber cover from the 11-nozzle boom cover (Figure 145).
Note: Retain the reinforcement plate, washers, and rubber cover for installation in steps 5 and 6.
Align the holes in the reinforcement plate (double row)on the cover extension with the holes in the end of the 11-nozzle boom cover (Figure 146).

Secure the cover extension to the 11-nozzle section cover (Figure 147) with 11 pop rivets (Toro Part No. 114439).

Align the holes in the rubber cover and the reinforcement plate (single row) that you removed in step 2 with the holes in the end of the over extension (Figure 148).

Secure the reinforcement plate and rubber cover to the cover extension with the 11 pop rivets (Toro Part No. 114439) and the 11 washers (3/16 inch) that you removed in step 5.
Note: Align the washers (3/16 inch) against the inside surface of the cover extension.
Install the 4 clip nuts (Toro Part No. 94-2413) onto the 2 support bracket of the center-section cover (Toro Part No. 131-3703-03) as shown in (Figure 149).

At the extension for the center-spray section, locate the 2 pairs of holes in the vertical face of the truss frame with a 25 mm (1 inch) hole spacing (Figure 150).


Align the holes in a support bracket (Toro Part No. 131-3703-03) to the holes in the extension for the center-spray section that you identified in step 2 with the wide flange of the bracket to the left; refer to Figure 150.
Assemble the support bracket to the truss frame (Figure 150) with 4 flange-head bolts (3/8 x 1-1/4 inches—Toro Part No. 110-5050) and 4 flange locknuts (3/8 inch—Toro Part No. 104-8301).
Repeat steps 2 through 4 at the other 2 pairs of holes in the extension for the center-spray section and the other support bracket, flange-head bolts, and flange locknuts.
Torque the nuts and bolts to 37 to 45 N∙m (27 to 33 ft-lb).
Align the holes in the center section cover with the holes in the support brackets for the center-section cover (Figure 151).

Align the holes in 2 of the cover straps that you removed in step 1 ofRemoving the Center-Section Cover (11-nozzle) of the Optional Covered-Boom Kit with the hose in the cover and 2 of the support brackets (Figure 151).
Assemble the cover straps and cover to the support brackets with the 4 flange-head bolts (5/16 x 1-1/4 inches) that you removed in step 1 of Removing the Center-Section Cover (11-nozzle) of the Optional Covered-Boom Kit.
Align the holes in the 2 cover straps (Toro Part No. 120-0629) with the 4 remaining holes in the cover and 4 remaining holes in the support brackets (Figure 151).
Assemble the cover straps and cover to the support brackets (Figure 151) with the 4 flange-head bolts (5/16 x 1-1/4 inches—Toro Part No. 323-36).
Torque the bolts to 1978 to 2542 N·cm (175 to 225 in-lb).
Parts needed for this procedure:
| Navigation-receiver plate | 1 |
| Receiver mount | 1 |
| Bolt (3/8 x 3-1/4 inches) | 1 |
| Lock washer (3/8 inch) | 1 |
| Washer (3/8 x 13/16 inch) | 1 |
| Spacer (3/8 x 1 inch) | 1 |
| Flange locknut (3/8 inch) | 1 |
| Flange-head bolt (5/16 x 3/4 inch) | 1 |
| Flange locknut (5/16 inch) | 1 |
| Flange-head bolt (3/8 x 1-1/2 inches) | 2 |
| Spacer (3/8 x 7/16 inch) | 2 |
| Navigation receiver—GeoLink precision spray system kit (Model 41633 or Model 41634) | 1 |
| Modem antenna bracket | 1 |
| Hex-head bolt (5 x 16 mm) | 3 |
| Washer (5 mm) | 3 |
Align the holes in the navigation-receiver plate, spacer (3/8 x 1 inch), and receiver mount (Figure 152).

Assemble the receiver plate and spacer to the mount with a bolt (3/8 x 3-1/4 inches), lock washer (3/8 inch), washer (3/8 x 13/16 inch), and flange locknut (3/8 inch) as shown in Figure 152.
Assemble the flange-head bolt (5/16 x 3/4 inch) and flange locknut (5/16 inch) through the smaller hole in the receiver mount and the slot in the receiver plate (Figure 152).
Tighten the bolts and nuts so that you can rotate the receiver plate with slight resistance.
Assemble the receiver mount and spacer (3/8 x 7/16 inch) to the roll bar with the flange-head bolt (3/8 x 1-1/2 inches) as shown in Figure 153.

Tighten the bolts so that you can rotate the receiver plate with slight resistance.
Level the receiver plate left to right (Figure 154).

Torque the flange-head bolt (5/16 x 3/4 inch) and flange locknut (5/16 inch) to 1978 to 2542 N∙cm (175 to 225 in-lb).
Level the receiver plate front to back (Figure 154).
Torque the bolt (3/8 x 3-1/4 inches) and flange locknut (3/8 inch) to 37 to 45 N∙m (27 to 33 ft-lb).
Align the 3 threaded flanges in the base of the navigation receiver to the 3 holes in the receiver plate (Figure 155).

Align the hole and slot in the modem-antenna bracket with the holes in the receiver plate (Figure 155).
Assemble the navigation receiver and antenna bracket to the plate (Figure 155) with the 3 hex-head bolts (5 x 16 mm) and 3 washers (5 mm).
Torque the 3 bolts to 576 to 712 N∙cm (51 to 63 in-lb).
Parts needed for this procedure:
| Modem antenna—GeoLink precision spray system kit (Model 41633 or Model 41634) | 1 |
Clean any grease of oil from the surface of the modem-antenna bracket.
Remove the backing from the double sided adhesive liner at the bottom of the modem antenna (Figure 156).

Adhere the modem antenna to the top of the modem-antenna bracket as shown in Figure 156.
Secure the antenna bracket with 3 cable ties as shown in Figure 157.

Secure the wire harness of the modem antenna to the bracket as shown in Figure 157.
Route the modem-antenna harness to the right, along the roll bar (Figure 158).


Route the harness down, and forward as shown in Figure 158.
You will secure the modem-antenna harness to the roll bar in Routing the Navigation-Data and Electrical Harness to the Right Side of the Machine.
Parts needed for this procedure:
| Navigation-data and electrical harness—GeoLink precision-spray-system kit (Model 41633 and 41634) | 1 |

Align the 302 cm (119 inches) branch of the navigation-data and electrical harness along the right ROPS tube with the 12-socket connector (gray) and 12-socket connector (black) up toward the navigation receiver (Figure 160).

Align the 2 keys at the long face of the 12-socket connector of the data harness labeled with the 2 key slots in the bottom, horizontal wall of the left (gray) 12-pin connector of the navigation receiver (Figure 161).
Important: Use caution when connecting wire harness to the navigation receiver; the alignment keys of the harness connectors are unique to the keyways of the pin connectors of the navigation receiver.

Plug the connector of the data harness into the left (gray) 12-pin connector of the navigation receiver until the connector locks snap together securely (Figure 161).
Align the 2 keys at the short side of the 12-socket connector—data harness labeled with the 2 key slots in the left, vertical wall of the right (black) 12-pin connector of the navigation receiver (Figure 161).
Important: Use caution when connecting wire harness to the navigation receiver; the alignment keys of the harness connectors are unique to the keyways of the pin connectors of the navigation receiver.
Plug the connector of the data harness into the right (black) 12-pin connector of the navigation receiver until the connector latch snap together securely (Figure 161).
Route the navigation-data and electrical harness along the right roll bar tube and the modem-antenna harness to the cross member for the seat support (Figure 162).

Secure the harnesses to the roll bar with 5 cable ties as shown in Figure 162.
Note: Ensure that the harness is slack between the 12-socket connectors and the cable tie.
Route the 227 cm (89-1/2 inches) branch of the navigation-data and electrical harness along the bottom of the control console of the machine (Figure 163).

Route the 258 cm (101-1/2 inch) branch of the navigation-data and electrical harness across the shock-support tube and toward the battery (Figure 163).
Parts needed for this procedure:
| Control console—GeoLink precision spray system kit (Model 41633 or Model 41634) | 1 |
| Adhesive strips | 2 |
| Threaded standoff | 1 |
| Display hood | 1 |
Clean the top surface of the X25 sprayer display with rubbing alcohol and a clean rag.
Remove the backing from the 2 adhesive strips.
At the top of the sprayer monitor, align the strips to the sprayer monitor as shown in Figure 165.

Firmly press the adhesive strips to the top of the monitor.
At the back of the control console and with the 2 connectors (26 pin) aligned down, remove the top locknut (5 mm) from the stud for the ball-pivot fitting (A of Figure 166).

Apply a coat of thread-locking compound (wicking—medium-high strength) to the threads for the nut portion of the threaded standoff (Figure 167).

Thread the standoff into the stud for the ball-pivot fitting (B of Figure 166) and torque the standoff to 250 N∙cm (22 in-lb).
Apply a coat of thread-locking compound (wicking—medium-high strength) to the threads for the stud portion of the threaded standoff (Figure 167).
Remove the backing from the 2 adhesive strips that you applied in Applying the Adhesive Strips to the Sprayer Monitor.
Align the hole in the display hood with the stud portion of the threaded standoff (B of Figure 166).
Assemble the hood to the monitor (C of Figure 166) with the locknut (5 mm) that you removed in step 1.
Note: Press down on the areas of the top of the hood with the adhesive strips underneath.
Torque the nut to 250 N∙cm (22 in-lb).
Parts needed for this procedure:
| Monitor mount | 1 |
| Flange-head bolt (6 x 12 mm) | 3 |
| U-bolt (5/16 inch) | 2 |
| Flange-head bolt (5/16 x 3/4 inch) | 4 |
| Flange locknut (5/16 inch) | 8 |
| Ball mount—GeoLink precision spray system kit (Model 41633 or Model 41634) | 1 |
| Monitor Arm—GeoLink precision spray system kit (Model 41633 or Model 41634) | 1 |
Align the monitor mount to the machine as shown in Figure 169.

Assemble the monitor mount to the housing of the steering valve (Figure 170) with the 3 flange-head bolts (6 x 12 mm).

Assemble the plate of the monitor mount to the support tube of the machine chassis (Figure 171) with the 2 U-bolts and 4 flange locknuts (5/16 inch).

Torque the 3 flange-head bolts (6 x 12 mm) at the steering valve to 972 to 1198 N∙cm (86 to 106 in-lb); At the support tube, torque the flange locknuts to 1978 to 2542 N∙cm (175 to 225 in-lb).
Align the tape mark on the steering wheel to the tale mark on the housing of the steering valve (Figure 172).

Assemble the steering wheel onto the shaft of the steering valve (Figure 172) with the washer (5/8 inch) and nut (5/8 inch) that you removed in step 3 of Removing the Steering Wheel.
Torque the nut to 206 to 254 N∙m (152 to 188 ft-lb).
Install the cover that you removed in step 2 of Removing the Steering Wheel onto the steering wheel (Figure 209).
Assemble the ball mount to the bracket for the monitor mount (Figure 173) with the 4 flange-head bolts (5/16 x 3/4 inch) and 4 flange locknuts (5/16 inch).

Torque the bolts and nuts to 1978 to 2542 N∙cm (175 to 225 in-lb).
Assemble the ball fitting of the monitor and the ball mount on the machine to the monitor arm (Figure 174).

Adjust the monitor so that it is viewable from the machine operator’s position and tighten the knob of the monitor arm by hand (Figure 174).
Route the 227 cm (89-1/2 inch) branch of the navigation-data and electrical harness (the branch with the 26-socket connector) up and along the support tube for the control console (Figure 175).

Align the 26-socket connector of the data harness with the 26-pin connector of the control console and press the socket connector into the pin connector until the latch of the connector snaps securely (Figure 176).

Remove the terminating resistor from the 6-socket connector labeled CAN 2 TERMINATOR of the data cable as shown in Figure 177.
Note: You no longer need the terminating resistor.

Parts needed for this procedure:
| Modem data harness—300 cm (118 inches)—GeoLink precision spray system kit (Model 41633 or Model 41634) | 1 |
Align the modem data harness with the RS-232 connector labeled toward the control console (Figure 178).

At the front of the sprayer display, remove the cap from the RJ45 port (Figure 179).

Plug the RJ45 connector of the modem data cable labeled X-CONSOLE into the RJ45 port of the sprayer display (Figure 179).
Assemble the port seal nut over the RJ45 port of the sprayer display, and tighten the seal nut (Figure 179).
Assemble compression nut over port seal nut, and tighten the compression nut (Figure 179).
Route the modem data harness along the data harness for the control console (Figure 180).

Route the modem data harness under the shock-support tube of the machine
Route the modem data harness across the back if the relays and down (Figure 181).

Align the 4-pin connector labeled of the modem data harness near the 4 connectors for the modem-antenna harness as shown in Figure 182.

At the right, upper tube frame, bundle the navigation-data and electrical harness, and the CAN 2 ASC 10 BUS wire harness branch to the kit sprayer harness with 2 cable ties (Figure 183).

Bundle the modem-antenna harness and secure it to the kit sprayer harness bundle with 2 cable ties (Figure 183).
Secure the modem-data harness and the navigation-data and electrical harness to the monitor tube with a cable tie (Figure 184).

Secure the modem-data harness to the navigation-data and electrical harness with a cable tie as shown in Figure 184.
Parts needed for this procedure:
| Modem power harness—GeoLink precision spray system kit (Model 41633 or Model 41634) | 1 |
Align the modem power harness to the machine as shown in Figure 185.

Route the ring terminals of the modem power harness labeled and toward the battery (Figure 186).

Route the 4-pin connector labeled and the 18-socket connector labeled of the modem power harness under the fuse block of the machine.
At the front of the machine, route the 4-pin connector labeled and the 18-socket connector labeled of the modem power harness to the machine as shown in Figure 187.

Plug the terminal of the modem power harness labeled into the socket connector for options power of the fuse block (Figure 187).
Note: If fuse block of your machine does not have an available options-power circuit, install an additional options-fuse block; refer to your authorized Toro distributor.
Near the fuse block bundle the modem power-harness at the 9-pin connector labeled and secure the harness with 2 cable ties as shown in Figure 188.

Bundle the modem power-harness at the negative battery cable, and secure the bundle to the battery cable with a cable tie as shown in Figure 188.
Insert the fuse (10 A) into the fuse-block socket (Figure 189) for the options power circuit that you used in step 5.

Parts needed for this procedure:
| CL-55 modem—GeoLink precision spray system kit (Model 41633 or Model 416344) | 1 |
| Modem bracket—GeoLink precision spray system kit (Model 41633 or Model 41634) | 1 |
| Slotted machine screw (10-24 x 1-1/2 inches)—GeoLink precision spray system kit (Model 41633 or Model 41634) | 2 |
| Spacer—GeoLink precision spray system kit (Model 41633 or Model 41634) | 2 |
| Locknut (10-24 inch)—GeoLink precision spray system kit (Model 41633 or Model 41634) | 2 |
| Capscrew (1/4 x 3/4 inch)—GeoLink precision spray system kit (Model 41633 or Model 41634) | 1 |
| Flange locknut (1/4 inch)—GeoLink precision spray system kit (Model 41633 or Model 41634) | 1 |
Plug the coaxial connector of the modem-antenna harness labeled into the coaxial port of the CL-55 modem marked WIFI/BT, and tighten the coaxial connector (Figure 190).

Plug the blue coaxial push-in connector of the modem-antenna harness labeled into the connector of the CL-55 modem marked , until the connectors latch securely (Figure 190).
Plug the violet coaxial push-in connector of the modem-antenna harness labeled into the connector of the CL-55 modem marked , until the connectors latch securely (Figure 190).
Plug the red coaxial push-in connector of the modem-antenna harness labeled into the connector of the CL-55 modem marked , until the connectors latch securely (Figure 190).
Plug the 4-pin connector of the modem data harness labeled into the 4-socket connector (unmarked) of the CL-55 modem, and tighten the knurled nut of the 4-pin connector (Figure 191).

Plug the 18-socket connector of the modem power harness labeled into the 18-pin connector of the CL-55 modem (Figure 191).
Remove the push-in fastener that secures the wire harness of the machine to the prop-rod bracket (Figure 192).

Remove the capscrew (1/4 x 3/4 inch) and flange locknut (1/4 inch) from the flange of the machine frame as shown in Figure 193.
Note: Retain the capscrew and locknut for installing the modem bracket.

Remove the push-in fastener that secures the wire harness of the flange of the machine frame (Figure 193).
Assemble the modem bracket to the CL-55 modem with 2 slotted machine screws (#10-24 x 1-1/2 inches), 2 spacers (1/4 x 3/4 inch), and 2 locknuts (#10-24) as shown in Figure 194.

Align the modem bracket under the prop-rod bracket and behind the flange of the machine frame as shown in Figure 195.

Insert the lower push-in fastener of the wire harness into the hole in the modem bracket as shown in Figure 195.
Insert the upper push-in fastener of the wire harness into the holes in the modem bracket and prop-rod bracket (Figure 196).

At the inboard side of the control console of the machine, remove the passive terminating resistor from the unlabeled 3-pin connector of the machine wire harness (Figure 197).
Note: Retain the passive terminating resistor for installation in Connecting the Antenna Harness to the Modem.


Parts needed for this procedure:
| ISO-CAN bus harness—302 cm (119 inches)—GeoLink precision spray system kit (Model 41633 or Model 41634) | 1 |
At the front of the control console of the machine, route the connector labeled of the ISO-CAN bus harness into the bottom of the console (Figure 198).

Remove the cap from the 4-socket connector labeled of the navigation-data and electrical harness (Figure 199).

Plug the 4-pin connector labeled of the ISO-CAN bus harness into the 4-socket connector labeled of the navigation-data and electrical harness (Figure 200).

Route the connectors labeled and of the ISO-CAN bus harness toward the fuse block (Figure 201).


At the fuse block, remove the cap from the 3-socket connector labeled of the machine wire harness (Figure 202).

Plug the 3-pin connector labeled of the ISO-CAN bus harness into the 3-socket connector labeled of the machine wire harness (Figure 202).
Important: Do not connect the harness connectors labeled and of the kit sprayer harness.
Bundle the ISO-CAN bus harness and secure it to the navigation-data and electrical harness with a cable tie (Figure 203).

Secure the ISO-CAN bus harness and navigation-data and electrical harness to the right frame tube with a cable tie as shown in Figure 203.
Complete setup procedure 38—Installing the Adapter Harness and Terminating Resistor through setup procedure 56—Performing a Flow Meter Calibration in Form No. 3438-188.
Parts needed for this procedure:
| Adapter harness—13 cm (5 inches)—GeoLink precision spray system kit (Model 41633 or Model 41634) | 1 |
At the satellite receiver, remove the ISO bus terminator for the 6-socket connector of the GeoLink harness (Figure 204).
Note: You no longer need the ISO bus terminator.

Plug the 6-pin connector of the adapter harness—13 cm (5 inches) into the 6-socket connector of the GeoLink harness (Figure 204).
Plug the resistor that you removed in Installing the ISO-CAN Bus Harnessinto the 3-socket connector of the adapter harness (Figure 205).

Secure the adapter harness to the GeoLink harness with a cable tie.
Disconnect the 2-socket connector of the machine wire harness labeled from the 2-pin connector of the pump clutch (Figure 206).

Connect the 2-pin connector of the kit sprayer harness branch—84 cm (33 inches) into the 2-socket connector of the machine wire-harness labeled (Figure 207).

Connect the 2-socket connector of the kit sprayer harness into the 2-pin connector of the pump clutch (Figure 207).
Route the wire-harness branch—84 cm (33 inches) against the engine and spray pump so that the harness clears the alternator belt (Figure 208).

Parts needed for this procedure:
| Battery bracket | 1 |
| Bolt (5/16 x 1-3/4 inches) | 1 |
| Washer (5/16 inch) | 1 |
| Battery (540 A) | 1 |
| Battery retainer | 1 |
| Flange locknut (5/16 inch) | 1 |
| Alternator bracket | 1 |
| Drive pulley 279 mm (11 inch) | 1 |
| Bolt (1/4 x 2-1/4 inches) | 4 |
| Alternator (60 A) | 1 |
| Flange-head bolt (8 x 25 mm) | 1 |
| Flange-head bolt (3/8 x 1-1/2 inches) | 1 |
| V-belt | 1 |
Remove the 2 flange locknuts and hold-down rod from the 2 J-bolts that secure the battery to the battery bracket of the machine (Figure 209).

Remove the battery from the machine (Figure 209).
Note: You no longer need the flange nuts, hold-down rod, and battery (300 A).
Remove the bolts (10-24 x 3/4 inch) and nuts (10-24) that secure the fuse blocks to the battery bracket (Figure 210).
Note: Retain the bolts (10-24 x 3/4 inch) and nuts (10-24) for installation in Installing the Battery Bracket and Battery (540 A).

Remove the 2 flange-head bolts (3/8 x 3/4 inch) that battery bracket to the shock-support tube of the machine (Figure 210).
Note: Retain the flange-head bolt (3/8 x 3/4 inch) for installation in Installing the Battery Bracket and Battery (540 A).
Remove the 2 J-bolts and battery tray from the battery bracket (Figure 211).

Remove the battery bracket from the machine (Figure 212).
Note: You no longer need the J-bolts, battery tray, and battery bracket.

Align the new battery bracket to the shock-support tube of the machine and the fuse blocks (Figure 213).

Assemble the battery bracket to the shock-support tube (Figure 214) with the 2 flange-head bolt (3/8 x 3/4 inch) that you retainer in step 4 of Removing the Battery (300 A) and Battery Bracket.

Torque the flange head bolts to 37 to 45 N∙m (27 to 33 ft-lb).
Secure the fuse blocks to the battery bracket (Figure 214) with the bolt (10–24 x 3/4 inch) and nuts (10-24) that you removed in step 3 of Removing the Battery (300 A) and Battery Bracket.
Assemble the battery to the battery bracket with the bolt (5/16 x 1-3/4 inches), washer (5/16 inch), battery retainer, and flange locknut (5/16 inch) as shown in Figure 215.

Torque the bolt and nut to 1978 to 2542 N∙cm (175 to 225 in-lb).
At the pump head located at 11 o’clock position, loosen the 2 bolts as shown Figure 216 to provide a 7 to 10 mm (1/4 to 3/8 inch) gap between the head of the bolts and the pump.
Note: You do not need to remove the bolts from the spray pump.

Align the alternator bracket between the bolts that you loosened and as shown in step 1 and the pump head Figure 217.

Torque the bolts to 61 to 75 N (45 to 55 ft-lb).
Loosen the nut for the idler-pulley shaft (Figure 218).
Note: Ensure that there is no belt tension.

Rotate the belt-tension bolt to remove all tension from the sprayer-pump belt (Figure 218).
Remove the 4 bolts (1/4 x 1 inch) and 4 lock washers (1/4 inch) that secure the pulley to the sprayer pump (Figure 219).
Important: Do not remove the pulley.
Note: Retain the lock washer for installation in step 5. You no longer need the bolts.

Align the holes in the pulley for the alternator (kit) with the holes in the pulley for the sprayer pump (Figure 220).

Assemble the alternator pulley to the sprayer-pump pulley and sprayer pump with the 4 bolt (1/4 x 2-1/4 inches) and 4 lock washers (1/4 inch).
Torque the bolts to 1017 to 1243 N∙m (90 to 110 in-lb).
Rotate the belt-tension bolt to increase the tension of the belt until you measure belt 9.5 mm (3/8 inch) of belt deflection when you apply 4.5 kg (10 lb) halfway between the engine and spray pump sprockets.

Tighten the nut for the idler-pulley shaft to 37 to 44 N∙m (27 to 33 ft-lb).
Assemble the alternator (60 A) to the threaded boss of the alternator-bracket (Figure 222) with the flange-head bolt (3/8 x 1-1/2 inches).

Assemble the threaded flange of the alternator to the slotted flange of the alternator bracket (Figure 222) with the flange-head bolt (8 x 25 mm).
Assemble the V-belt over the drive pulley 279 mm (11 inch) and the pulley of the alternator (Figure 223).

Rotate the alternator (Figure 224) up to increase tension on the belt until you measure belt 9.5 mm (3/8 inch) of belt deflection when you apply 4.5 kg (10 lb) halfway between the alternator pulley and drive pulley 279 mm (11 inch).

Torque the flange-head bolt (8 x 25 mm) to 23 to 29 N∙m (17 to 21 ft-lb).
Torque the flange-head bolt (3/8 x 1-1/2 inches) to 37 to 45 N∙m (27 to 33 ft-lb).
Parts needed for this procedure:
| Alternator cable (red—6 gauge) | 1 |
| Relay | 1 |
| Push-in fastener | 1 |
| Fuse (15 A) | 1 |
| Fuse (50 A) | 1 |
Connect the 2-socket at the end of the pink wire 57 cm (23-1/2 inches) of the kit sprayer harness (Figure 225) onto the 2-pin connector of the alternator (50 A).

Route the pink sense wire away from the alternator belts and secure the wire with a cable tie.
Remove the nut from the terminal post (Figure 226) of the alternator (50 A).

Assemble the end of the red, 6 gauge alternator cable with the insulator cover onto the terminal post of the alternator (50 A) with the nut (Figure 226).
Route the other end of the alternator cable toward the battery posts, away from the pulley and alternator belt.
Torque the nut to 47 to 57 N∙m (34 to 42 ft-lb).
Slip the insulator cover over the terminal post of the alternator (Figure 226).
Prepare a multi-meter for preforming a continuity test.
At fuse block 3 of the machine, insert the multi-meter probe into contact 4 (the right column) of fuse-socket 2 as shown in Figure 228.

At the front side of the fuse blocks, use the other multi-meter probe to identify the blade connector at the end of the red 10-gauge wire that connects to fuse-socket 2—contact 4.

Use a piece of tape to mark the connector and wire that you identified in step 3 (Figure 229).
Connect the blade connector that you marked in step 4 into the socket connector at the end of the pink wire 51 mm (2 inches) of the kit sprayer harness (Figure 230).

Insert the fuse (15 A) into fuse-socket 2 of fuse block 3 until the fuse is fully seated (Figure 231).

Insert the fuse (50 A) into inline-fuse block of the kit sprayer harness until the fuse is fully seated (Figure 232).

Parts needed for this procedure:
| Quick-connect clamp (red handle) | 1 |
| Quick-connect clamp (black handle) | 1 |
Remove the hex nuts and washers from the red and black handle quick-connect clamps (Figure 233).

Open the latch handle of the quick-connect clamp with the black handle (Figure 234).

Assemble the quick-connect clamp onto the negative battery post, with the threaded post of the clamp aligned toward the center of the battery as shown in Figure 233.
Close the latch handle of the quick-connect clamp (Figure 234).
Note: If you need to adjust the clamping force of the quick-connect clamp, open the handle, rotate the knurled nut to increase or decrease the clamping force, and close the handle for the clamp.
Repeat steps 2 through 4 for the quick-connect clamp with the red handle at the positive battery post.
Incorrect battery cable routing could damage the machine and cables causing sparks. Sparks can cause the battery gasses to explode, resulting in personal injury.
Always disconnect the negative (black) battery cable before disconnecting the positive (red) cable.
Always connect the positive (red) battery cable before connecting the negative (black) cable.
Battery terminals or metal tools could short against metal components causing sparks. Sparks can cause the battery gasses to explode, resulting in personal injury.
When removing or installing the battery, do not allow the battery terminals to touch any metal parts of the machine.
Do not allow metal tools to short between the battery terminals and metal parts of the machine.
Slit the insulator cover of the positive battery cable to the starter as shown in Figure 235.

Assemble the following wire and cable terminals onto the threaded post of the positive battery terminal (Figure 236) in the following order:
Important: Ensure that the battery-cable terminal (positive) to the engine starter is positioned at the top of the stack of terminals on the threaded post.
Ring terminal—165 cm (65 inch) modem power harness branch (labeled
Battery-cable terminal (positive)—to the alternator (50 A)
Ring terminal—258 cm (101-1/2 inch) navigation-data and electrical harness branch (labeled )
Ring terminal—21.6 cm (8-1/2 inch) machine harness branch (labeled )
Ring terminal—24 cm (9-1/2 inch) kit sprayer-harness branch (unlabeled)
Battery-cable terminal (positive)—to the engine starter

Assemble the hex nut (1/4 inch) and washer (1/4 inch) onto the threaded post, and torque the nut to 1017 to 1234 N∙cm (90 to 110 in-lb).
Align the insulator cover of the positive battery cable to the starter over the threaded post (Figure 236).
Assemble the following wire and cable terminals onto the threaded post of the negative battery terminal (Figure 237) in the following order:
Important: Ensure that the battery-cable terminal (negative) to the engine and chassis ground is positioned at the top of the stack of terminals on the threaded post.
Ring terminal—258 cm (101-1/2 inch) navigation-data and electrical harness branch (not labeled—black wire insulation)
Ring terminal—165 cm (65 inch) modem power harness branch (labeled )
Battery-cable terminal (negative)—to the engine and chassis ground

Gather the excess length of the data harness against the right, upper-frame tube (Figure 238).

Align the data harness to the shock-support tube, and secure the harness to the tube with a cable tie (Figure 238).
Align the data-harness bundle to the right, upper-frame tube, and secure the harness bundle to the frame tube with a cable tie (Figure 238).
Ensure that there is clearance between the pulleys and belts and the data harness, battery harness, kit wire harness, and battery cables.
Secure the wire harness and cables with cable ties as needed to provide clearance away from the belts and pulleys.
Parts needed for this procedure:
| Switch plug | 1 |
Remove the 4 flange head screws (1/4 x 1/2 inch) that secure the 3-switch panel to the control console (Figure 239).

Squeeze the lock tabs of the rate-control switch together and push up the switch out of the 3-switch panel (Figure 240).

Disconnect the 8-socket connector of the machine wire harness (labeled Rate Switch) from the 8-pin connector of the switch (Figure 239).
Note: You no longer need the rate switch that you removed from the machine.
Route the branch of the front harness for the rate switch through the opening in the 3-switch panel and secure the wiring branch against an adjacent wire branch with a cable tie.
Assemble the 3-switch panel to the control console (Figure 240) with the 4 flange head screws (1/4 x 1/2 inch) that you removed in step 1.
Align the switch plug to the opening in the 3-switch panel where you removed the rate switch (Figure 239).
Insert the switch plug into the 3-switch panel until the plug snaps into the panel securely (Figure 239).
Parts needed for this procedure:
| Push-in fastener | 13 |
Align the hood holes in the hood with the holes in the dash panel and frame of the machine (Figure 241).

Secure the hood to the dash and frame with 9 push-in fastener (Figure 241).
Connect the 2 electrical connectors (2-socket) of the machine wire harness from the 2-pin connectors of the left and right headlights (Figure 242).

Align the inner-fender shroud to the left, upper- and left, lower-frame tubes (Figure 242).

Secure the inner-fender shroud to the frame tubes with the 6 push-in fasteners (Figure 243).
Align the holes in the fender with the holes in the frame of the machine as shown in Figure 243.

Loosely assemble the fender to the frame (Figure 244) with the 3 bolt (5/16 x 1 inch) and 3 washer (5/16 inch) that you removed in step 2 of Removing the Left Front Fender.
Secure the fender to the frame channel with the 2 push-in fasteners (Figure 245).

Torque the bolt (5/16 x 1 inch) to 1978 to 2542 N∙cm (175 to 225 in-lb).
Repeat steps 1 through 6 for the inner-fender shroud and fender at the other side of the machine.
Align the inner-fender shroud to the right, upper and right, lower-frame tubes (Figure 246).


Secure the inner-fender shroud to the frame tubes (Figure 246) with the 6 push-in fasteners and 5 washers (9/16 x 1/2 inch).
Align the right, front fender to the machine as shown Figure 247, and align the holes in the fender with the holes in the frame.

Secure right, front fender to the clip nut of the cross-member support (Figure 247) with the capscrew (5/16 x 1 inch) and washer (5/16 inch).
Secure the right, front fender to the roll bar mounting channel with 2 push-in fasteners (Figure 248).

Align the hole in the right, front fender with the hole in the platform floor (Figure 249), and secure the fender to the floor with a capscrew (5/16 x 1 inch) and washer (5/16 inch).

Align the hole in the bottom console cover to the hole in the shock-support tube and the hole in the end console cover to the hole in the cross-member tube (Figure 250).

Secure the covers to the tubes (Figure 250) with 2 capscrews (5/16 x 1 inch) and 2 washers (5/16 inch).
Align the seat and seat plate to the chassis of the machine (Figure 252).

Align the holes in the pivot fittings of the seat pan with the holes in the chassis bracket (Figure 253).


Assemble the seat pan to the chassis brackets with the 2 pivot pins (Figure 253).
Secure the pivot pins to the machine with the 2 hairpins (Figure 253).
Assemble the prop rod to the bracket of the seat with the washer and hairpin (Figure 254).

Plug the 2-socket connector of the machine wire harness into the connector for the seat switch until the connectors latch securely (Figure 255).

Rotate the seat forward slightly, remove the prop rod from the detent, rotate the seat down until the seat latches securely.
Insert the key into the key switch and rotate it to the ON position.
The splash screen appears in the InfoCenter display and the indicator light illuminates briefly (Figure 256).
Note: Do not start the engine.

At the Home screen, press the center button on the InfoCenter to access the navigation screen (Figure 257).

Press the center button on the InfoCenter to access the Main Menu (Figure 257).
At the MAIN MENU screen, press the center button to navigate to the SETTING option, and press the right button to select the option (Figure 258).

At the SETTING screen, press the center button to navigate to the PROTECTED SETTINGS option, and press the right button to select the option.

Enter the PIN code as follows:
Press the center button as needed to enter the PIN code number for the left position (Figure 260).

Press the right button to navigate to the next PIN code number position (Figure 260).
Repeat steps 1 and 2 for the 3 other PIN code number positions.
When all the PIN code numbers are entered press the right button (Figure 260) and then press the center button to enter the PIN code (Figure 261).
The indicator light illuminates briefly.

Press the center button to navigate to the GEOLINK option, and press the right button to set the option (Figure 262).

The GeoLink confirmation screen displays in the InfoCenter (Figure 263).

Rotate the ignition switch to the OFF position and then to the ON position.
The GEOLINK splash screen initially appears when you rotate the key switch to the ON position.

Turn the ignition key to the RUN (gasoline) or PREHEAT/RUN (diesel) position.
Verify that the following components indicate that each receives power:
Turn the ignition key to the OFF position.
Verify that power is shut off at the following components:
Control console
Satellite receiver
Automatic section controller
Turn the ignition key to the RUN(gasoline) or PREHEAT/RUN (diesel) position.
Press the ABOUT (Toro) icon at the upper left corner of the control console (Figure 269).

When the software version is correct, the About dialog box displays software version 4.04 or higher.
Note: If the software versions differ, contact the Toro Technical Assistance Center.
Select the units of measure; refer to the Operator’s Manual or Software Guide for your GeoLink system.
Create a new field; refer to the Operator’s Manual or Software Guide for your GeoLink system.
Create a new product and application rate entry; refer to the Operator’s Manual or Software Guide for your GeoLink system.
Balance the nozzle valves by preforming the following procedures:
Selecting the Spray Nozzle-Preparing to Balance the Nozzle Valves; refer to the Operator’s Manual or Software Guide for your GeoLink system.
Selecting the Spray Nozzle-Valve Balancing Wizard-Steps 1 through 3; refer to the Operator’s Manual or Software Guide for your GeoLink system.
Selecting the Spray Nozzle-Valve Balancing Wizard-Steps 4 through 6; refer to the Operator’s Manual or Software Guide for your GeoLink system.
Press the Job Menu and press the CREATE NEW JOB icon (Figure 270).

Use on-screen keyboard to type a name for the generic job, and press the confirm icon (Figure 270).
In the new job dialog box, press the NOZZLE icon (Figure 271).

In the nozzle selection list, press any nozzle icon, and press the confirm icon (Figure 271).
In the new job dialog box, press the confirm icon (Figure 272).

Engage the parking brake.
Add 200 L (50 US gallon) of water into the spray tank; refer to the Operator’s Manual for your machine.
Start the engine and set the engine speed to fast.
On the GeoLink control console, press the SPRAY RATE CONTROLLER icon (Figure 273).

In the spray rate controller dialog box, press the RATE CONTROL MODE icon until manual mode displays (Figure 273).
Use the decrement icon (-) or increment icon (+) to adjust the spray system pressure (Figure 273) to 13.75 bar (200 psi).
On the machine, press the master-section switch to the ON position ( Figure 274).

On the GeoLink control console, press the MASTER SWITCH icon (Figure 275) to the ON (green).

Check all sprayer fittings and components for leaks.
Note: If you find any leaks, shut off the engine and repair the fitting or component.
Engage the parking brake, and start the engine.
Note: Allow the engine and hydraulic system to warm for 10 minutes.
Ensure that the master section switch to the OFF position.
Set the spray-pump switch and the tank agitation switch to the ON position.
Set the left, center, and right section switches to the ON position.
Set the engine speed to fast.
On the GeoLink control console, press the SPRAY RATE CONTROLLER icon.
In the spray rate controller dialog box, press the RATE CONTROL MODE icon until manual mode displays (Figure 276).

Press the decrement icon (-) or increment icon (+) to adjust the spray system pressure (Figure 276) to 6.9 bar (100 psi).
On the machine, set the tank agitation switch to the OFF position.
Observe the spray system pressure. If the spray system pressure is 6.9 bar (100 psi), the agitation valve is correctly adjusted.
If the spray system pressure changed, adjust the agitation bypass valve; refer to Adjusting the Agitation Bypass Valve.
With the tank agitation switch in the OFF position, walk to the back of the machine and locate the agitation bypass valve.

Adjust the agitation-bypass valve (Figure 277) until the gauge indicates 689 kPa (100 psi) sprayer system pressure.
Set the tank agitation switch to the ON position and observe the spray system pressure.
Note: If the spray system-pressure gauge indicates greater than or less than 6.9 bar (100 psi), repeat steps 1 and 2.
Set the tank agitation switch to the OFF position and observe the spray system pressure.
Note: If the spray system-pressure gauge indicates greater than or less than 6.9 bar (100 psi), repeat steps 1 and 2.
Calibrate the flow meter; refer to the Operator’s Manual or Software Guide for your GeoLink system.
Press the SYSTEM INFORMATION icon, and then swipe the FULL SCREEN icon in the upper right corner of the system information window (Figure 278).

In the system information screen, use the scroll bar to navigate to the CL55 icon (Figure 279).

Press the CL55 icon to display the signal strength information.(Figure 279), and verify that the modem signal strength is between -60 dBm and -99 dBm.
Note: If the modem signal is equal to or less than -100 dBm, contact your authorized Toro distributor, Toro NSN at 1-844-GEOLINK (1-844-436-5465), or NSNTech@toro.com for customer service.
Swipe the FULL SCREEN icon to minimize the system information screen.
Perform a compass calibration at the distributor’s location; refer to Calibrating the Compass in the Operator’s Manual or Software Guide for your GeoLink system.
Important: You must erase the nonvolatile RAM at the customer location.
Contact the Toro Technical Assistance Center to request the dealer access level password.
Rotate the ignition key to the ON position.
Press the SETUP icon on the main screen (Figure 280).

In the setup screen, press the USER icon and the ACCESS LEVEL icon(Figure 281).

Press the PASSWORD icon (Figure 281).
Use the on-screen keyboard to enter the password that you received in step 1, and press the confirm icon (Figure 282).

Note: The user access level screen displays the DEALER icon (Figure 283).

In the setup screen, press the SYSTEM icon, GPS icon, and ADVANCED CONFIGURATION icon (Figure 284).

In the GPS Advanced Configuration screen, press the RESET NVRAM icon (Figure 284).
In the GPS receive warning dialog box, press the YES icon (Figure 284).
Note: The receiver disconnected warning (Figure 285) displays briefly.

Wait 2 minutes for the satellite receiver and modem startup.
Press the EXIT SETUP icon

Rotate the ignition switch to the OFF position.
Perform a compass calibration at the customer’s location; refer to Calibrating the Compass in the Operator’s Manual or Software Guide for your GeoLink system.