Mantenimiento
Seguridad en el mantenimiento
-
Antes de ajustar, limpiar o reparar la máquina, siga estos pasos:
-
Aparque la máquina en una superficie nivelada.
-
Desengrane las transmisiones.
-
Apague el motor.
-
Espere a que se detengan todas las piezas en movimiento.
-
Ponga el freno de estacionamiento.
-
Eleve las cuchillas.
-
Desconecte el cable de la bujía.
-
-
Limpie los restos de hierba y residuos de las cuchillas, las transmisiones, el silenciador y el motor para ayudar a prevenir incendios. Limpie cualquier aceite o combustible derramado.
-
Limpie cualquier aceite o combustible derramado.
-
No permita que la máquina la revise o repare personal no debidamente formado.
-
Utilice soportes fijos para apoyar la máquina y/o sus componentes cuando sea necesario.
-
Tenga cuidado al aliviar la presión de componentes que tengan energía almacenada.
-
Retire el cable de la bujía antes de efectuar reparación alguna.
-
Tenga cuidado al comprobar las cuchillas. Envuelva la(s) cuchilla(s) o lleve guantes gruesos y acolchados, y extreme las precauciones al realizar tareas de mantenimiento en ella(s). Solo sustituya las cuchillas, no las enderece ni las suelde.
-
Mantenga las manos y los pies alejados de las piezas en movimiento. Si es posible, no haga ajustes mientras el motor está funcionando.
-
Mantenga todas las piezas en buenas condiciones de funcionamiento, y todos los herrajes bien apretados. Sustituya cualquier pegatina desgastada o deteriorada.
-
No interfiera nunca con la funcionalidad prevista de un dispositivo de seguridad, ni reduzca la protección proporcionada por un dispositivo de seguridad. Compruebe regularmente que funcionan correctamente.
-
Para asegurar un rendimiento óptimo y mantener la certificación de seguridad de la máquina, utilice solamente piezas y accesorios genuinos Toro. Las piezas de repuesto y accesorios de otros fabricantes podrían ser peligrosos, y su uso podría invalidar la garantía del producto.
-
Compruebe frecuentemente el funcionamiento del freno de estacionamiento. Haga cualquier ajuste o mantenimiento que sea necesario.
Calendario recomendado de mantenimiento
| Intervalo de mantenimiento y servicio | Procedimiento de mantenimiento |
|---|---|
| Después de las primeras 5 horas |
|
| Cada vez que se utilice o diariamente |
|
| Cada 25 horas |
|
| Cada 50 horas |
|
| Cada 100 horas |
|
| Cada 200 horas |
|
| Cada año o antes del almacenamiento |
|
Procedimientos previos al mantenimiento
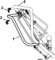
Desconexión del cable de la bujía
Antes de realizar tareas de mantenimiento en el motor, la correa o las cuchillas, desconecte el cable de la bujía (Figura 15).

Lubricación
Lubricación de los cojinetes del eje de las cuchillas
| Intervalo de mantenimiento y servicio | Procedimiento de mantenimiento |
|---|---|
| Cada 25 horas |
|
-
Apague el motor, espere a que se detengan todas las piezas en movimiento, y retire el cable de la bujía.
-
Ponga el freno de estacionamiento.
-
Lubrique los engrasadores (Figura 16) con una o dos aplicaciones de grasa NLGI de propósito general Nº 2.

Mantenimiento del motor
Seguridad del motor
-
Apague el motor antes de comprobar el aceite o añadir aceite al cárter.
-
Mantenga las manos, los pies, la cara, la ropa y otras partes del cuerpo alejados del tubo de escape y de otras superficies calientes.
Mantenimiento del limpiador de aire
| Intervalo de mantenimiento y servicio | Procedimiento de mantenimiento |
|---|---|
| Cada vez que se utilice o diariamente |
|
| Cada 50 horas |
|
| Cada 200 horas |
|
Important: No haga funcionar el motor sin el conjunto de filtro de aire, porque se producirán graves daños al motor.
-
Apague el motor y espere a que se detengan todas las piezas en movimiento; consulte Seguridad en el mantenimiento.
-
Desconecte el cable de la bujía; consulte Desconexión del cable de la bujía.
-
Desenganche el cierre que sujeta la tapa del limpiador de aire ().

-
Retire la tapa del limpiador de aire.
Note: Tenga cuidado de que no caigan suciedad y residuos en la base.
-
Separe cuidadosamente de la base los elementos de espuma y de papel ().
-
Separe el elemento de espuma del elemento de papel ().
-
Inspeccione los elementos de espuma y de papel, y cámbielos si están dañados o excesivamente sucios.
-
Limpie el elemento de papel golpeándolo suavemente para eliminar la suciedad.
Note: Nunca intente eliminar la suciedad del elemento de papel con un cepillo; esto hace que la suciedad penetre en las fibras. Sustituya el elemento si no se elimina la suciedad golpeándolo suavemente.
-
Lave el elemento de espuma con agua templada jabonosa o en un disolvente no inflamable.
Note: No utilice gasolina para limpiar el elemento de espuma porque podría provocar un incendio o una explosión.
-
Enjuague el elemento de espuma y séquelo bien.
-
Pase un paño húmedo para eliminar la suciedad de la base y la tapa.
Note: Tenga cuidado de que no caigan suciedad y residuos en el conducto de aire que va al carburador.
-
Instale los elementos del limpiador de aire y asegúrese de que están orientados correctamente.
-
Coloque la tapa y enganche el cierre para sujetarla.
Mantenimiento del aceite de motor
| Intervalo de mantenimiento y servicio | Procedimiento de mantenimiento |
|---|---|
| Después de las primeras 5 horas |
|
| Cada 50 horas |
|
Su Distribuidor Autorizado Toro dispone de aceite de motor Toro Premium.
Important: Utilice aceite detergente para motores de 4 tiempos que cumpla o supere los requisitos de la categoría de servicio API SJ o superior.
Capacidad del cárter: 1,1 L
Important: Si el nivel de aceite del motor es demasiado bajo o demasiado alto y usted arranca el motor, puede dañar el motor. Este tipo de daño no está cubierto por la garantía.
Note: Utilice aceite SAE 10W-30 para el uso general. Puede utilizar las otras viscosidades indicadas en la tabla si la temperatura media de su zona está dentro del intervalo indicado (Figura 18).

Comprobación del nivel de aceite del motor
| Intervalo de mantenimiento y servicio | Procedimiento de mantenimiento |
|---|---|
| Cada vez que se utilice o diariamente |
|
-
Pare la máquina en una superficie nivelada y asegúrese de que el motor está nivelado.
-
Desengrane las cuchillas, apague el motor, espere a que se detengan todas las piezas en movimiento, y gire el interruptor del motor a la posición de APAGADO.
-
Deje que el motor se enfríe.
-
Limpie alrededor de la varilla (Figura 19) para impedir que caiga suciedad por el orificio de llenado y cause daños en el motor.

-
Retire la varilla de aceite y limpie el extremo.
-
Introduzca la varilla a fondo en el orificio de llenado, pero no la enrosque (Figura 19).
-
Retire la varilla de nuevo e inspeccione el extremo. Si el nivel del aceite del motor es bajo, vierta lentamente en el orificio de llenado sólo la cantidad de aceite suficiente para que el nivel llegue a la marca Full (lleno) de la varilla (Figura 19).
Cambio del aceite del motor
Advertencia
El aceite puede estar caliente cuando el motor ha estado funcionando, y el contacto con aceite caliente puede causar lesiones personales graves.
Evite tocar el aceite caliente al drenarlo.
-
Desengrane las cuchillas, apague el motor, apague el interruptor del motor y espere a que se detengan todas las piezas en movimiento.
-
Desconecte el cable de la bujía.
-
Eleve las ruedas delanteras 5 cm – 8 cm del suelo y coloque un recipiente debajo del tapón de vaciado para recoger el aceite.
-
Retire el tapón de vaciado (Figura 20).

-
Cuando el aceite se haya drenado completamente, baje las ruedas delanteras al suelo, vuelva a colocar el tapón y apriete a 18 N∙m.
Note: Elimine el aceite usado en un centro de reciclaje homologado.
-
Retire la varilla y vierta aceite lentamente por el orificio de llenado hasta que salga aceite del orificio.
-
Asegúrese de que el aceite se encuentra en el nivel correcto en la varilla; consulte Comprobación del nivel de aceite del motor.
-
Vuelva a colocar la varilla y apriétela.
-
Limpie cualquier aceite derramado.
-
Conecte el cable de la bujía.
Mantenimiento de la bujía
| Intervalo de mantenimiento y servicio | Procedimiento de mantenimiento |
|---|---|
| Cada 100 horas |
|
| Cada 200 horas |
|
Especificación de la bujía: Champion RC12YC o equivalente.
-
Apague el motor y espere a que se detengan todas las piezas en movimiento.
-
Desconecte el cable de la bujía.
-
Limpie alrededor de la bujía.
-
Retire la bujía de la culata.
Important: Si la bujía está agrietada o sucia, cámbiela. No limpie los electrodos, porque cualquier arenilla que entre en el cilindro puede dañar el motor.
-
Ajuste la distancia entre los electrodos a 0,76 mm; consulte .

-
Instale la bujía con cuidado a mano (para evitar dañar la rosca) hasta que esté apretada.
-
Apriete la bujía ½ vuelta más si es nueva; si no, apriétela de ⅛ a ¼ vuelta más.
Important: Una bujía que no está correctamente apretada puede calentarse mucho y dañar el motor; si se aprieta demasiado una bujía, pueden dañarse las roscas de la culata.
-
Conecte el cable de la bujía.
Mantenimiento del sistema de combustible
Advertencia
Los componentes del sistema de combustible están sometidos a alta presión. El uso de componentes incorrectos puede dar lugar a fallos del sistema, fugas de combustible y posible explosión.
Utilice únicamente tubos de combustible y filtros de combustible homologados.
Drenaje del depósito de combustible
-
Apague el motor y espere a que se enfríe. Ponga el freno de estacionamiento.
Note: Drene la gasolina solamente cuando el motor está frío.
-
Desconecte el cable de la bujía.
-
Cierre la válvula de cierre de combustible.
-
Desconecte el tubo de combustible aflojando la abrazadera en el carburador.
-
Abra la válvula de combustible moviendo la palanca a la posición de Abierto.
-
Drene completamente la gasolina del depósito y del tubo de combustible en un recipiente de combustible homologado.
-
Cierre la válvula de combustible.
Mantenimiento del sistema de transmisión
Note: La transmisión hidrostática se suministra de fábrica llena y sellada. No necesita mantenimiento. Si es necesario revisarla, póngase en contacto con su Servicio Técnico Autorizado.
Comprobación de la presión de los neumáticos
| Intervalo de mantenimiento y servicio | Procedimiento de mantenimiento |
|---|---|
| Cada vez que se utilice o diariamente |
|
Mantenga la presión especificada de los neumáticos. Para obtener una lectura más precisa, compruebe los neumáticos cuando están fríos.
Presión: 1,65 bar

Ajuste de la transmisión autopropulsada
Si la máquina se desplaza lentamente hacia adelante o hacia atrás cuando el motor está funcionando y la barra de autopropulsión está en punto muerto, complete el procedimiento siguiente:
-
Apague el motor, espere a que se detengan todas las piezas en movimiento, y retire el cable de la bujía.
-
Eleve las cuchillas a la posición más alta.
-
Apriete la barra de autopropulsión contra el manillar hasta que la transmisión llegue al final de su recorrido.
-
Si la barra toca el manillar, suelte la barra. Si la barra no toca el manillar, continúe con el paso 4.
-
Afloje la tuerca de ajuste superior una vuelta y apriete la tuerca de ajuste inferior.
-
Apriete la barra contra el manillar.
-
Repita este paso hasta que haya un espacio de hasta 3,2 mm entre la barra de autopropulsión y el manillar.
-
Cuando obtenga este espacio, continúe con el paso 4.

-
-
Retire el pasador de horquilla y gire el tensor una vuelta en sentido horario.
-
Instale el pasador de horquilla y gire la contratuerca contra el tensor.
-
Arranque el motor y compruebe el ajuste, repitiendo este procedimiento las veces que sean necesarias.
Cambio del fluido de la transmisión hidráulica
| Intervalo de mantenimiento y servicio | Procedimiento de mantenimiento |
|---|---|
| Cada 100 horas |
|
-
Apague el motor, espere a que se detengan todas las piezas en movimiento, y retire el cable de la bujía. Ponga el freno de estacionamiento.
-
Retire la transmisión de la máquina.
-
Limpie cuidadosamente alrededor del depósito de expansión y del orificio de llenado de aceite.
Important: No permita que entre suciedad o contaminación en el sistema hidráulico.
-
Retire y guarde el acoplamiento del orificio de llenado de aceite y posicione la transmisión de manera que el aceite pueda drenarse por completo de la carcasa.
-
Cuando el aceite se haya drenado por completo del transeje, retire y guarde el tornillo autorroscante de 10"–32 x ½" y el cierre de carraca que sujetan el depósito de expansión a la carcasa.
-
Retire el depósito de expansión y drene el aceite.
Note: No retire el tapón de ventilación del depósito.
Note: No retire la manguera o la junta tórica del depósito a menos que sea necesario cambiarlas.
-
Para instalar el depósito de expansión, introduzca primero la manguera en el depósito. Coloque la abertura del depósito sobre la junta tórica y empuje hacia abajo para asegurar un cierre hermético. Instale el tornillo autorroscante de 10"–32 x ½" y apriete a 2,8 N·m.
-
Llene el transeje por el orificio de llenado de aceite hasta que el nivel esté a 13 mm – 32 mm por debajo de la parte superior del orificio de llenado.
Note: Se recomienda utilizar fluido hidráulico Toro Premium. El Mobil 1 15W-50 es una alternativa aceptable.
-
Vuelva a instalar el acoplamiento del orificio de llenado de aceite.
Mantenimiento de las correas
Retirada del protector de la correa
Instalación del protector de la correa
-
Alinee el protector de la correa, los tornillos y los pernos con arandela prensada con los taladros en la placa lateral del bastidor y el soporte del muelle (Figura 25).

-
Monte el protector de la correa a la máquina con los 2 tornillos y los 2 pernos con arandela prensada (Figura 25).
-
Apriete los tornillos y los pernos con arandela prensada a 1378 – 2542 N∙cm.
Comprobación de la condición de las correas
| Intervalo de mantenimiento y servicio | Procedimiento de mantenimiento |
|---|---|
| Cada 25 horas |
|
-
Apague el motor, espere a que se detengan todas las piezas en movimiento, y retire el cable de la bujía. Ponga el freno de estacionamiento.
-
Retire la cubierta de la correa del lado izquierdo de la máquina.
-
Compruebe que las correas no tienen grietas, filos deshilachados, marcas de quemaduras u otros daños.
-
Si la correa está dañada, cámbiela.
-
Compruebe la tensión de las correas de transmisión; consulte Ajuste de la tensión de la correa de la transmisión autopropulsada.
Ajuste de la tensión de la correa de la transmisión autopropulsada
Si la correa de la transmisión autopropulsada chirría durante el uso (es decir, cuando se cambia de punto muerto a avance o retroceso), apriete la correa como se indica a continuación:
-
Apague el motor, espere a que se detengan todas las piezas en movimiento, y retire el cable de la bujía.
-
Eleve las cuchillas a la posición más alta.
-
Retire y guarde los 4 pernos, las arandelas de freno y los 2 espaciadores que sujetan la cubierta de la correa al lado izquierdo de la máquina, y retire la cubierta.
-
Compruebe la tensión de la correa. No debe flexionarse más de 6 mm al aplicar una presión moderada con los dedos al tramo situado justo por encima del bastidor de la máquina (Figura 26).

-
Para apretar la correa, afloje los 4 pernos y tuercas de montaje que sujetan el soporte de las poleas al bastidor, mueva el soporte a la izquierda, apretando la correa, y luego apriete los 4 pernos y tuercas de montaje (Figura 26).
-
Instale la cubierta de la correa usando las fijaciones que retiró en el paso 3.
Mantenimiento de las cuchillas
Comprobación y sustitución de las cuchillas
| Intervalo de mantenimiento y servicio | Procedimiento de mantenimiento |
|---|---|
| Cada vez que se utilice o diariamente |
|
Si las cuchillas están desgastadas y ya no funcionan correctamente, sustitúyalas de la manera indicada a continuación:
Important: Para realizar este procedimiento, el depósito de combustible debe estar vacío o casi vacío.
-
Apague el motor, espere a que se detengan todas las piezas en movimiento, y retire el cable de la bujía. Ponga el freno de estacionamiento.
-
Gire la válvula de combustible a la posición de CERRADO y vacíe el combustible del depósito de combustible; consulte Drenaje del depósito de combustible.
-
Retire los 4 pernos, las arandelas de freno y los 2 espaciadores que sujetan la cubierta de la correa al lado izquierdo de la máquina, y retire la cubierta.
-
Retire la correa de transmisión de las cuchillas de la máquina.
-
Incline la máquina hacia atrás hasta que el manillar superior descanse sobre el suelo, y coloque un gato fijo debajo de la máquina.
Note: Si es necesario, solicite la ayuda de otra persona para inclinar la máquina hacia atrás.
Cuidado
Elevar la máquina y confiar únicamente en gatos mecánicos o hidráulicos podría ser peligroso. Los gatos mecánicos o hidráulicos pueden no proporcionar suficiente apoyo, o pueden fallar y dejar caer la máquina, lo que podría provocar lesiones.
No confíe únicamente en gatos mecánicos o hidráulicos para apoyar la máquina. Utilice soportes fijos u otro medio de sustentación equivalente.
-
Baje las cuchillas a la posición más baja.
-
Haga rotar el conjunto de las cuchillas. Debe rotar libremente. Si rechina y se para, los cojinetes están desgastados; cámbielos cuando cambie las cuchillas.
-
Inspeccione las cuchillas en busca de daños y desgaste, y cámbielas según sea necesario.
Peligro
Una cuchilla desgastada o dañada puede romperse. Un trozo de cuchilla podría ser arrojado a la zona donde está el operador u otra persona, provocando lesiones personales graves o la muerte.
-
Inspeccione periódicamente la cuchilla, para asegurarse de que no está desgastada ni dañada.
-
Sustituya cualquier cuchilla que esté desgastada o dañada.
-
-
Retire los 4 pernos de cuello cuadrado y las contratuercas que sujetan el conjunto de las cuchillas (Figura 27) y retírelo del soporte de montaje de la horquilla.

-
Retire los 2 pernos y las arandelas que sujetan la polea al cojinete. Afloje los tornillos de fijación del cojinete y retire la chaveta del eje (Figura 27). Retire las fijaciones del cojinete del soporte de montaje de la horquilla, y retire el cojinete y la polea.
-
Afloje los 2 tornillos de fijación situados en el cojinete con brida, y retire el cojinete del eje.
-
Afloje y retire la tuerca y el espaciador de la polea del eje de las cuchillas.
-
Retire cuidadosamente las cuchillas y los espaciadores del eje, y sustitúyalos según sea necesario.
-
Invierta el procedimiento para instalar el conjunto.
Note: Gire cada cuchilla ⅙ de vuelta respecto a la cuchilla anterior.
Advertencia
Una instalación incorrecta de las cuchillas o de los componentes utilizados para retener las cuchillas puede ser peligroso. El no utilizar componentes originales y ensamblarlos según se indica podría permitir que una cuchilla o un componente de una cuchilla fuese arrojado desde debajo de la carcasa, causando lesiones personales graves o la muerte.
Instale siempre las cuchillas Toro, los impulsores de las cuchillas, y los pernos de las cuchillas como se indica.
-
Ponga la máquina en su posición normal.
-
Conecte el cable de la bujía.
Mantenimiento de la trampilla de las semillas
Comprobación de la trampilla de las semillas
| Intervalo de mantenimiento y servicio | Procedimiento de mantenimiento |
|---|---|
| Cada vez que se utilice o diariamente |
|
Note: Cualquier residuo atrapado puede impedir que la trampilla se mueva libremente.
-
Apague el motor, espere a que se detengan todas las piezas en movimiento, y retire el cable de la bujía. Ponga el freno de estacionamiento.
-
Compruebe que la trampilla de las semillas se mueve libremente y que no está obstruida.
-
Si la trampilla no se abre hasta el tope cuando la palanca de control de la siembra está en la posición de ABIERTO, limpie el conjunto de la trampilla; consulte Limpieza de la trampilla de las semillas.
Ajuste del cierre de la trampilla de las semillas
Si la trampilla permanece parcialmente abierta cuando la palanca de control de la siembra está en la posición de CERRADO, haga lo siguiente:
-
Apague el motor, espere a que se detengan todas las piezas en movimiento, y retire el cable de la bujía.
-
Eleve las cuchillas a la posición más alta.
-
Ponga la palanca de control de la siembra en la posición de CERRADO.
-
Afloje las tuercas del cable de control de la trampilla de las semillas (ver Figura 28).

-
Mueva el cable a la derecha para cerrar la trampilla, o a la izquierda para abrirla.
Important: No apriete el cable hasta el punto en que la trampilla quede apretado contra el lado derecho con una tensión extrema en el cable, porque esto dañaría la trampilla y el cable. Ajústelo sólo hasta que se obturen los orificios de la parte inferior de la sembradora.
-
Apriete las contratuercas y accione la palanca de control de la sembradora para confirmar que la trampilla se abre y se cierra correctamente.
Limpieza
Cómo lavar la máquina
Lave la máquina cuando sea necesario con agua sola o con detergente suave. Puede utilizar un trapo para lavar la máquina.
Important: No utilice agua salobre o reciclada para limpiar la máquina.
Important: No utilice equipos de lavado a presión para lavar la máquina. Los equipos de lavado a presión pueden hacer que se desprendan pegatinas importantes o eliminar grasa necesaria en los puntos de fricción. Evite el uso excesivo de agua cerca del panel de control y el motor.
Important: No lave la máquina con el motor en marcha. Si se lava la máquina con el motor en marcha, pueden producirse daños internos en el motor.
Limpieza de la zona del motor
| Intervalo de mantenimiento y servicio | Procedimiento de mantenimiento |
|---|---|
| Cada vez que se utilice o diariamente |
|
Cuidado
Una acumulación excesiva de residuos alrededor del motor y de la zona del escape puede hacer que el motor y el sistema de escape se sobrecalienten, lo que puede crear un peligro de incendio.
Elimine cualquier residuo de la zona del motor y del escape.
-
Apague el motor, espere a que se detengan todas las piezas en movimiento, y retire el cable de la bujía.
-
Elimine cualquier residuo de la rejilla de admisión de aire del motor y la zona alrededor del motor.
-
Limpie cualquier exceso de grasa o aceite de alrededor del motor.
Limpieza de los bajos de la máquina
| Intervalo de mantenimiento y servicio | Procedimiento de mantenimiento |
|---|---|
| Cada vez que se utilice o diariamente |
|
-
Apague el motor, espere a que se detengan todas las piezas en movimiento, y retire el cable de la bujía.
-
Para asegurar un rendimiento óptimo, mantenga limpia la parte inferior de la máquina.
Cuidado
La máquina puede soltar material de debajo de la carcasa.
-
Lleve protección ocular.
-
Permanezca en la posición de operación (detrás del manillar).
-
No permita la presencia de otras personas en la zona.
-
-
Gire la válvula de combustible a la posición de CERRADO y vacíe el combustible del depósito de combustible; consulte Drenaje del depósito de combustible.
-
Incline la máquina hacia atrás hasta que el manillar superior descanse sobre el suelo, y coloque un gato fijo debajo de la máquina.
Note: Si es necesario, solicite la ayuda de otra persona para inclinar la máquina hacia atrás.
-
Retire los residuos con un rascador de madera dura o con otro implemento adecuado. Evite tocar rebabas y bordes afilados.
-
Ponga la máquina en su posición normal.
-
Llene el depósito de combustible.
-
Conecte el cable de la bujía.
Limpieza de la zona de debajo de la cubierta de la correa
| Intervalo de mantenimiento y servicio | Procedimiento de mantenimiento |
|---|---|
| Cada 50 horas |
|
-
Apague el motor y espere a que se detengan todas las piezas en movimiento.
-
Desconecte el cable de la bujía.
-
Retire y guarde los 4 pernos, las arandelas de freno y los 2 espaciadores que sujetan la cubierta de la correa al lado izquierdo de la máquina.
-
Retire la cubierta y elimine todos los residuos de alrededor de la zona de la correa con un cepillo.
-
Instale la cubierta de la correa y apriete todas las fijaciones.
-
Conecte el cable de la bujía.
Limpieza de la trampilla de las semillas
-
Apague el motor y espere a que se detengan todas las piezas en movimiento.
-
Desconecte el cable de la bujía.
-
Drene el combustible del depósito de combustible; consulte Drenaje del depósito de combustible.
-
Incline la máquina hacia atrás hasta que el manillar superior descanse sobre el suelo, y coloque un gato fijo debajo de la máquina.
Note: Si es necesario, solicite la ayuda de otra persona para inclinar la máquina hacia atrás.
-
Limpie la zona entre el bastidor y la trampilla de las semillas.
-
Lubrique la superficie deslizante entre el bastidor y la trampilla de las semillas con un lubricante seco.
-
Ponga la máquina en su posición normal.
-
Llene el depósito de combustible.
-
Conecte el cable de la bujía.

























