Onderhoud
Toegang verkrijgen tot de maai-eenheid
Verkrijg als volgt toegang tot het ondermes en de messenkooi voor onderhoud:
-
Met de maai-eenheid verwijderd van de machine, ondersteunt u de achterkant van de maai-eenheid zodat de moeren op het achtereind van de stelschroeven van de snijbalk niet op het werkvlak rusten (Figuur 4).

-
Met de maai-eenheid bevestigd aan de machine, brengt u de handgreep van de tractie-eenheid naar de grond (Figuur 5).

Het smeerpunt van de messenkooiaandrijfas controleren
| Onderhoudsinterval | Onderhoudsprocedure |
|---|---|
| Jaarlijks |
|
-
Verwijder het bevestigingsmateriaal waarmee de aandrijving van de messenkooi aan de zijplaat is bevestigd (Figuur 6).

-
Verwijder de moeren van de binnenkant van de zijplaat (Figuur 6).
-
Controleer of er nog vet zit aan de binnenkant van de aandrijfas van de messenkooi (Figuur 7).
Als u niet voldoende vet ziet, moet u meer vet toevoegen aan de mannelijke en vrouwelijke sleufas.

-
Gebruik de eerder verwijderde inbusschroeven en moeren om de messenkooiaandrijving te bevestigen aan de zijplaat.
-
Monteer de maai-eenheid aan de tractie-eenheid; raadpleeg de Gebruikershandleiding van uw tractie-eenheid.
Instellen van het ondermes op de messenkooi
Dagelijkse instelling van het ondermes
Aan het begin van elke dag, of vaker indien nodig, moet u controleren of het ondermes en de messenkooi goed contact maken. Voer deze procedure uit, ook al is de maaikwaliteit voldoende.
Note: Deze procedure kan worden uitgevoerd wanneer de maai-eenheid gemonteerd is op de tractie-eenheid.
-
Schakel de tractie-eenheid uit.
-
Verkrijg toegang tot de maai-eenheid; zie Toegang verkrijgen tot de maai-eenheid.
-
Draai de messenkooi langzaam in de tegenovergestelde richting en luister of de messenkooi en het ondermes contact maken.
-
Als er geen contact is, stel het ondermes dan als volgt in:
-
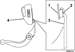
Draai de instelschroeven van de snijbalk rechtsom (Figuur 8), met 1 klik per keer, totdat u een licht contact kunt horen en voelen.
Note: De stelknop heeft klikstappen waarmee de stand van het ondermes telkens met 0,018 mm kan worden veranderd.

-
Plaats een lange strook maai-testpapier (Toro onderdeelnummer 125-5610) tussen de kooi en het ondermes (Figuur 9), en draai de kooi dan langzaam naar voren; de kooi moet het papier afsnijden. Zo niet, herhaal dan stappen 1 en 2 tot het papier wel gesneden wordt.
-
-
Als het contact tussen het ondermes en messenkooi te zwaar wordt, moet u de voorrand van het ondermes vernieuwen of de maai-eenheid slijpen om de scherpe snijranden te krijgen die nodig zijn om met grote precisie te kunnen maaien (zie Toro handleiding Slijpen van maaimachines met messenkooien en roterende messen, documentnr. 09168SL).
Important: Zorg ervoor dat er altijd een licht contact tussen het ondermes en de messenkooi is. Als u niet voor een licht contact zorgt, zullen de randen van het ondermes en de messenkooi zichzelf onvoldoende slijpen en na enig gebruik bot worden. Als het contact te zwaar is zullen het ondermes en messenkooi snel en ongelijkmatig slijten waardoor de maaikwaliteit lager kan worden.
Note: Bij eFlex maai-eenheden heeft het contact tussen messenkooi en ondermes een aanzienlijke invloed op het energieverbruik. Een heel licht contact is het beste voor de maaiprestaties en het accuverbruik.
Note: Als de messen van de messenkooi voortdurend tegen het ondermes aan lopen, zal er op het oppervlak van de voorste snijrand van het ondermes over de gehele lengte een lichte braam ontstaan. Verwijder deze braam af en toe met een vijl die u langs de voorrand haalt. Dit verbetert het maaien. Na langdurig gebruik zal er uiteindelijk aan beide uiteinden van het ondermes een groef ontstaan. Deze groeven moet u afronden of gelijk vijlen met de snijrand van het ondermes ten behoeve van een soepele werking.
-
Het ondermes afstellen na slijpen, wetten of demontage
Volg deze procedure bij de eerste instelling van het maaidek en na het slijpen, wetten of demonteren van de messenkooi. Dit is geen instelling die dagelijks moet worden uitgevoerd.
Note: Deze procedure kan worden uitgevoerd wanneer de maai-eenheid gemonteerd is op de tractie-eenheid.
Note: Bij eFlex maai-eenheden heeft het contact tussen messenkooi en ondermes een aanzienlijke invloed op het energieverbruik. Een heel licht contact is het beste voor de maaiprestaties en het accuverbruik.
-
Schakel de tractie-eenheid uit.
-
Verkrijg toegang tot de maai-eenheid; zie Toegang verkrijgen tot de maai-eenheid.
-
Draai de messenkooi zodanig dat een mes de rand van het ondermes kruist tussen de eerste en de tweede schroefkop van het ondermes aan de rechterkant van de maaieenheid.
-
Breng een merkteken aan op het mes op de plaats waar dit de rand van het ondermes kruist.
Note: Dit maakt latere instellingen eenvoudiger.
-
Plaats een vulplaat of voelermaat van 0,05 mm tussen het mes en de rand van het ondermes op het punt dat in stap 4 gemerkt is.
-
Draai aan de rechterafstelschroef van de snijbalk (Figuur 8) tot u een lichte druk (weerstand) voelt als u de vulplaat heen en weer schuift. Verwijder de vulplaat.
-
Voor de linkerzijde van de maaieenheid draait u de messenkooi langzaam tot het dichtstbijzijnde mes de rand van het ondermes kruist tussen de eerste en de tweede schroefkop.
-
Herhaal stap 4 tot en met 6 voor de linkerzijde van de maaieenheid en de linkerstelschroef van de snijbalk.
-
Herhaal stap 5 en 6 totdat er een lichte druk is bij de contactpunten aan de linker- en rechterkant van het maaidek.
-
Om een licht contact tussen het ondermes en de messenkooi te verkrijgen dient u elk van de stelschroeven van de snijbalk 3 klikstanden rechtsom te draaien.
Note: Elke klikstand van de stelschroef van de snijbalk beweegt het ondermes 0,018 mm. Draai de stelschroeven niet te vast.Stelschroef rechtsom draaien: de rand van het ondermes beweegt naar de messenkooi toe. Stelschroef linksom draaien: de rand van het ondermes beweegt van de messenkooi af.
-
Plaats een lange strook maai-testpapier (Toro onderdeelnummer 125-5610) tussen de messenkooi en het ondermes, haaks op het ondermes (Figuur 9), en draai de messenkooi dan langzaam naar voren; de kooi moet het papier afsnijden. Zo niet, draai elke stelschroef van de snijbalk dan 1 klik rechtsom en herhaal deze stap totdat het papier wel gesneden wordt.

Note: Als het contact tussen het ondermes en de messenkooi te zwaar wordt, kunt u de voorrand van het ondermes wetten of vernieuwen of de maai-eenheid slijpen om de scherpe snijranden te krijgen die nodig zijn om met grote precisie te kunnen maaien; (zie Toro handleiding Slijpen van maaimachines met messenkooien en roterende messen, documentnr. 09168SL).
De maai-eenheid aanpassen aan de gazonomstandigheden
Gebruik de volgende tabel om het juiste ondermes te bepalen voor uw gazonomstandigheden. Neem contact op met uw erkende Toro verdeler om bijkomende ondermessen en rollen aan te schaffen.
Raadpleeg De maaisnelheid afstellen voor instructies bij het instellen van de juiste maaisnelheid voor uw gazon.
| Aanbevolen ondermes/maaihoogtetabel | |
| Ondermes | Maaihoogte |
| Edgemax Micro-cut (standaard) | 1,5 tot 4,7 mm |
| Edgemax Tournament (optioneel) | 3,1 tot 12,7 mm |
| Micro-cut (optioneel) | 1,5 tot 4,7 mm |
| Tournament (optioneel) | 3,1 tot 12,7 mm |
| Extended Micro-cut (optioneel) | 1,5 tot 4,7 mm |
| Extended Tournament (optioneel) | 3,1 tot 12,7 mm |
| Low-cut (optioneel) | 4,7 tot 25,4 mm |
De maaihoogte-instelling uitvoeren
Stel de maaihoogte in op de gewenste maaihoogte met een maaihoogtemeter en zorg ervoor dat uw maai-eenheid is uitgerust met een ondermes dat het best geschikt is voor uw gewenste maaihoogte; zie De maai-eenheid aanpassen aan de gazonomstandigheden.
De hoogte van de achterrol afstellen
Afhankelijk van het gewenste bereik van de maaihoogte dient u de beugels van de achterrol (Figuur 10 of Figuur 11) in de hoge of lage stand in te stellen:
-
Plaats het afstandsstuk boven de montageflens van de zijplaat (fabrieksinstelling) bij maaihoogte-instellingen van 1,5 mm tot 6 mm zoals getoond in Figuur 10.

-
Plaats het afstandsstuk onder de montageflens van de zijplaat bij maaihoogte-instellingen van 3 mm tot 25 mm zoals getoond in Figuur 11.

-
Breng de achterkant van het maaidek omhoog en plaats een blok onder het ondermes.
-
Verwijder de 2 moeren waarmee de beugels van beide rollen en het afstandsstuk zijn bevestigd aan de montageflens van beide snijplaten.
-
Verwijder de rol en de schroeven uit de montageflenzen van de zijplaat en de afstandsstukken.
-
Plaats de afstandsstukken op de schroeven zoals gewenst, onder of boven de rolbeugels (Figuur 10 of Figuur 11).
-
Zet de beugel van de rol en afstandsstukken vast aan de onderkant van de montageflenzen met de schroeven die u eerder hebt verwijderd.
-
Controleer of het contact tussen snijplaat en messenkooi correct is. Kantel de machine zodat u bij de voor- en achterrol en het ondermes kunt komen.
Note: De stand van de achterrol ten opzichte van de messenkooi wordt bepaald door de bewerkingstolerantie van de gemonteerde onderdelen en evenwijdig stellen is niet nodig. U kunt de stand enigszins bijstellen door het maaidek op een vlakke ondergrond te plaatsen en de montagebouten van de zijplaat los te draaien (Figuur 12). Stel de bouten in en draai deze vast als u klaar bent.

Important: Als u de maai-eenheid moet kantelen om bij het ondermes/de messenkooi te kunnen komen, moet u de achterkant van de maai-eenheid ondersteunen zodat de moeren op het achtereind van de stelschroeven van de snijbalk niet op het werkvlak rusten (Figuur 4).
De hoogtelat instellen
Voordat u de maaihoogte instelt moet de hoogtelat worden ingesteld:
-
Draai de moer op de hoogtelat los en draai de stelschroef op de gewenste maaihoogte (Figuur 13).
Note: De afstand tussen de onderkant van de schroefkop en de lat is de maaihoogte.

-
Draai de moer vast.
De maaihoogte instellen
Deze maai-eenheid is standaard uitgerust met het EdgeMax Micro-cut ondermes en standaard snijbalk. De werkelijke maaihoogte is afhankelijk van voorafgaande maaierconfiguraties en gazonomstandigheden (d.w.z. roltype, ondermes achter centrale afstand, zachte of harde greens, seizoensomstandigheden). Stel de oorspronkelijke maaihoogte 0,25 mm tot 0,38 mm hoger in dan de vorige greensmaaierinstelling en stel af naargelang de omstandigheden.
Note: Voor maaihoogten van meer dan 13 mm moet de set voor een grote maaihoogte worden gemonteerd.
Raadpleeg De maai-eenheid aanpassen aan de gazonomstandigheden om te bepalen welk ondermes het best geschikt is voor de gewenste maaihoogte.
-
Draai de borgmoeren los waarmee de maaihoogtearmen zijn bevestigd aan de zijplaten van de maai-eenheid (Figuur 14).

-
Haak de schroefkop van de hoogtelat aan de rechterkant van de snijrand van het ondermes en laat het achteruiteinde van de lat rusten op de achterrol (Figuur 15).

-
Draai aan de stelschroef totdat de rol contact maakt met de voorzijde van de hoogtelat.
-
Herhaal stap 2 en voor de linkerkant.
-
Stel beide uiteinden van de rol af totdat de hele rol evenwijdig aan het ondermes is.
Important: Bij een correcte afstelling zullen de achter- en voorrol contact maken met de hoogtelat en zal de schroef goed tegen het ondermes aan zitten. Hierdoor hebben beide uiteinden van het ondermes dezelfde maaihoogte.
-
Draai de borgmoeren op de maaihoogtearmen aan om de instelling te borgen zodat de ring geen speling meer heeft.
-
Controleer dat de ingestelde maaihoogte correct is; herhaal deze procedure indien nodig.
De maaisnelheid afstellen
De maaisnelheid wordt bepaald door de volgende machine-instellingen:
-
Messenkooitoerental: Het messenkooitoerental kan worden afgesteld naar een hoge of lage stand; raadpleeg de Gebruikershandleiding van uw tractie-eenheid.
-
Stand aandrijfpoelie van messenkooi: De aandrijfpoelies van messenkooi (met 22 tanden en 24 tanden) hebben 2 standen:
Note: De stand van de poelie is in de fabriek ingesteld op de LAGE stand.

Raadpleeg de volgende stappen om de stand van de poelie aan te passen:
-
Verwijder de kap van de riem om bij de riem te kunnen komen (Figuur 17).

-
Maak de bout van de arm van de spanpoelie los en draai de arm van de spanpoelie (Figuur 17) om spanning van de riem te nemen.
-
Verwijder de riem (Figuur 17).
-
Draai de moeren van de poelies los, verwijder de poelies en monteer deze met behulp van de moeren naargelang de gewenste configuratie.

-
Draai de moeren van de poelie vast met een torsie van 37 tot 45 N·m.
-
Monteer de riem en span de riem door de inbusbout van de arm van de spanpoelie aan te draaien met 4 tot 5 N·m (zie afbeelding Figuur 17).
-
Draai de bout van de arm van de spanpoelie vast en monteer de kap van de riem.
De stopbalk afstellen
Stel de stopbalk af om ervoor te zorgen dat het maaisel op behoorlijke wijze wordt afgevoerd uit de omgeving van de messenkooi. Ga als volgt te werk:
Note: De balk kan worden aangepast om veranderingen in de gazonomstandigheden te compenseren. De afstand tussen de balk en de messenkooi moet worden verminderd als het gazon uitzonderlijk droog is. Als het gazon vochtig is, moet de afstand tussen de balk en de messenkooi echter vergroot worden. De balk moet evenwijdig aan de messenkooi zijn om de beste prestaties te verkrijgen. Stel deze af nadat de messenkooi is geslepen op een messenkooislijper.
-
Draai de schroeven los waarmee de bovenste balk (Figuur 19) aan het maaidek is bevestigd.

-
Plaats een voelermaat van 1,5 mm tussen de bovenkant van de messenkooi en de balk en zet de schroeven dan vast.
Important: Zorg ervoor dat de afstand tussen de balk en de messenkooi over de gehele lengte van de messenkooi gelijk is.
Onderhoud van de snijbalk
Om schade aan de messenkooi, snijbalk en snijplaat te voorkomen mag onderhoud aan de snijbalk en snijplaat alleen door een speciaal opgeleide technicus worden uitgevoerd. Het beste is om de maai-eenheid naar een erkende Toro distributeur te brengen voor onderhoud. De Onderhoudshandleiding van uw tractie-eenheid bevat volledige instructie, informatie over speciale gereedschappen en tekeningen voor het onderhoud van het ondermes. Mocht het nodig zijn dat u de snijbalk zelf verwijderd of monteert volg dan de onderstaande aanwijzingen. De specificaties voor het onderhoud van het ondermes zijn daar ook opgenomen.
Important: Volg altijd de aanwijzingen in de Onderhoudshandleiding voor onderhoud van het ondermes. Als het ondermes niet correct wordt gemonteerd of geslepen, kan dit leiden tot schade aan de messenkooi, snijbalk of het ondermes.
De snijbalk verwijderen
-
Draai de stelschroef van de snijbalk linksom om het ondermes weg te trekken van de messenkooi (Figuur 20).

-
Draai de veerspanningsmoer uit totdat de ring niet meer tegen de ondermesbalk is geklemd (Figuur 20).
-
Draai de borgmoer getoond in Figuur 21 los aan beide zijden van de machine.

-
Verwijder beide snijbalkbouten zodat de snijbalk omlaag kan worden getrokken en uit de maai-eenheid kan worden verwijderd (Figuur 21).
Bewaar de 2 plastic ringen en de stalen ring op beide uiteinden van de snijbalk (Figuur 21)
De snijbalk monteren
-
Plaats de snijbalk en zorg ervoor dat de montagelippen zich tussen de onderlegringen en de stelschroef van de snijbalk bevinden (Figuur 20).
-
Zet de snijbalk vast aan beide zijplaten met de snijbalkbouten (moeren op de bouten) en 3 ringen (6 in totaal).
-
Plaats een nylon ring aan elke zijde van de naaf van de zijplaat. Plaats een stalen ring op de buitenkant van beide nylon ringen (Figuur 21).
-
Draai de bouten van het ondermes vast met een torsie van 27 tot 36 N·m.
-
Draai de borgmoeren vast tot de stalen onderlegringen geen speling meer hebben, maar u ze nog wel met de hand kunt ronddraaien. De ringen aan de binnenkant mogen speelruimte hebben.
Important: Draai de borgmoeren niet te hard aan, anders kunnen de zijplaten vervormen.
-
Draai de veerspanningsmoer vast totdat de veer is ingedrukt; draai deze vervolgens een ½ slag terug (Figuur 22).

-
Stel het contact tussen snijplaat en messenkooi af; zie Het ondermes afstellen na slijpen, wetten of demontage.
Onderhoud van het ondermes
Het ondermes monteren
-
Verwijder roest, aanslag en corrosie van het oppervlak van de snijbalk en breng er een laagje olie op aan.
-
Maak de schroefdraad schoon.
-
Breng anti-seizemiddel aan op de schroeven en monteer het ondermes op de snijbalk.

-
Draai de 2 buitenste schroeven vast met een torsie van 1 N·m.
-
Draai de schroeven vast met een torsie van 23 tot 28 N·m; werk van het midden van het ondermes naar buiten toe.

-
Slijp het ondermes.
De messenkooi voorbereiden om te slijpen
-
Zorg ervoor dat alle onderdelen van de maai-eenheid in goede staat zijn en herstel problemen voordat u gaat slijpen.
-
Volg de instructies van de fabrikant van de messenkooislijper om de messenkooi te slijpen volgens de volgende specificaties.
Specificaties voor het slijpen van de messenkooi Nieuwe diameter messenkooi 128,5 mm Onderhoudslimiet diameter messenkooi 114,3 mm Vrijloophoek van mes 30° ± 5° Breedte mesvlak 1,0 mm Bereik van breedte mesvlak 0,76 tot 1,27 mm Onderhoudslimiet versmalling diameter messenkooi 0,25 mm
Hoekslijpen van de messenkooi
De nieuwe messenkooi heeft een platte zijkant van 0,76 tot 1,27 mm en een hoek van 30 graden.
Wanneer de platte zijkant groter dan 3 mm wordt, doe dan het volgende:
-
Slijp alle messen onder een hoek van 30 graden tot de platte zijkant 1,3 mm breed is (Figuur 25).

-
Draaislijp de messenkooi tot de onregelmatigheid van de messen niet meer dan 0,025 mm bedraagt.
Note: Hierdoor wordt de platte zijkant een beetje groter.
-
Stel de maai-eenheid in; raadpleeg de Gebruikershandleiding van uw maai-eenheid.
Note: Om de messenkooi en het ondermes langer scherp te houden – na het slijpen van de messenkooi en/of het ondermes – controleert u het contact tussen de messenkooi en het ondermes opnieuw nadat u 2 greens gemaaid hebt; bramen zullen immers worden verwijderd. Bramen kunnen onjuiste speling tussen de messenkooi en het ondermes tot gevolg hebben, wat de slijtage kan versnellen.
Specificaties voor het slijpen van het ondermes

| Vrijloophoek, standaard snijplaat | 3° minimaal |
| Vrijloophoek, verlengd ondermes | 7° minimaal |
| Bereik van de voorhoek | 13 tot 17° |
De slijphoek aan de bovenkant controleren
De slijphoek voor de ondermessen is zeer belangrijk.
Gebruik de hoekindicator (Toro onderdeelnummer. 131-6828) en de steun van de hoekindicator (Toro onderdeelnummer. 131-6829) om de hoek die uw slijpmachine produceert te controleren en corrigeer vervolgens de onnauwkeurigheid van de slijpmachine.
-
Plaats de hoekindicator op de onderkant van het ondermes, zoals getoond in Figuur 27.

-
Druk op de Alt Zero knop op de hoekindicator.
-
Plaats de steun van de hoekindicator op de rand van het ondermes zodat de rand van de magneet past op de rand van het ondermes (Figuur 28).
Note: Gedurende deze stap moet de digitale uitlezing zichtbaar zijn van dezelfde kant als in stap 1.

-
Plaats de hoekindicator op de steun zoals getoond in Figuur 28.
Note: Dit is de hoek die uw slijpmachine produceert en deze moet binnen twee graden van de aanbevolen slijphoek aan de bovenkant zijn.
Wetten van het maaidek
Gebruik de Toegangswetset (modelnr. 139-4342); raadpleeg de bedieningsinstructies in de Montage-instructies van de set. Neem contact op met uw erkende Toro verdeler om deze set aan te schaffen.


te letten, dat betekent Voorzichtig, Waarschuwing
of Gevaar – instructie voor persoonlijke veiligheid. Niet-naleving
van deze instructies kan leiden tot lichamelijk of dodelijk letsel.


